CN202223755U - 医用多功能三通阀 - Google Patents
医用多功能三通阀 Download PDFInfo
- Publication number
- CN202223755U CN202223755U CN2011203373373U CN201120337337U CN202223755U CN 202223755 U CN202223755 U CN 202223755U CN 2011203373373 U CN2011203373373 U CN 2011203373373U CN 201120337337 U CN201120337337 U CN 201120337337U CN 202223755 U CN202223755 U CN 202223755U
- Authority
- CN
- China
- Prior art keywords
- valve
- valve body
- spool
- way valve
- functional
- Prior art date
- Legal status (The legal status is an assumption and is not a legal conclusion. Google has not performed a legal analysis and makes no representation as to the accuracy of the status listed.)
- Expired - Fee Related
Links
- 230000000903 blocking effect Effects 0.000 claims description 12
- 244000309464 bull Species 0.000 claims description 3
- 238000002347 injection Methods 0.000 abstract description 18
- 239000007924 injection Substances 0.000 abstract description 18
- 239000007788 liquid Substances 0.000 abstract description 14
- 239000003814 drug Substances 0.000 abstract description 8
- 241000521257 Hydrops Species 0.000 abstract description 7
- 206010030113 Oedema Diseases 0.000 abstract description 7
- 206010051986 Pneumatosis Diseases 0.000 abstract description 7
- 208000015181 infectious disease Diseases 0.000 abstract description 4
- 238000001727 in vivo Methods 0.000 abstract 1
- 238000002560 therapeutic procedure Methods 0.000 abstract 1
- 239000012530 fluid Substances 0.000 description 5
- 208000002925 dental caries Diseases 0.000 description 3
- 238000005516 engineering process Methods 0.000 description 3
- 210000004204 blood vessel Anatomy 0.000 description 2
- 239000013065 commercial product Substances 0.000 description 2
- 238000009434 installation Methods 0.000 description 2
- 230000001575 pathological effect Effects 0.000 description 2
- 230000007812 deficiency Effects 0.000 description 1
- 238000001802 infusion Methods 0.000 description 1
- 239000000203 mixture Substances 0.000 description 1
- 238000007789 sealing Methods 0.000 description 1
Images
Landscapes
- External Artificial Organs (AREA)
- Infusion, Injection, And Reservoir Apparatuses (AREA)
Abstract
本实用新型涉及一种医用多功能三通阀,其包括一带三通道的阀体,其中一个通道端口装有一个单向封闭阀,阀体腔体中装有一可转动的阀芯,所述阀芯上设有可与阀体三通道连通的十字形通孔,其中的一个直行通孔两端分别安装有第一单向阀和第二单向阀。所述阀体上的三通道为T型分布,其中直行的两通道端部分别连接有内螺旋接头和外螺旋接头。本实用新型结构简单,既可以连续抽注液体,方便注药,还可以自动引流,安全性强和适用范围广。操作方便,大大降低了操作人员的劳动强度,单人即可独立操作完成。从根本上杜绝因漏液而造成患者感染的可能性,是一种理想的多功能医用三通阀。主要用于人体内积液、积气的穿刺引流治疗。
Description
技术领域
本实用新型涉及一种医用辅助器械,具体的说是一种医用多功能三通阀。
背景技术
我们知道,体内病理性积气、积液是常见的病理表现,治疗时多需抽吸引流,在临床操作中,引流和注射用的器械,一般是将注射器、引流管、穿刺针直接连接使用。在使用中,对于大量的积气、积液的引流,以及药物的注入,需要多人操作协助才能完成,同时使用的注射器和引流管也需要反复多次断开再连接,才能便于排出积气、积液和注入药物,极其容易造成二次污染和感染。
中国专利号ZL032161115公开了一种医用单向阀三通,包括三通阀体,三通阀体内设有三个通道,三个通道分别与注射器连接头、单向输入阀、单向输出阀连接。虽然解决了引流时不用断开连接,可以连续抽吸液体,但是未能解决自动引流和方便注药两个关键操作需要。中国专利号ZL2005200096392公开了一种医用三通阀,包括进药通道、排液检测通道、过液通道彼此相通的三通体,三通体上设置有控制阀,该控制阀是在三通体上设置有与过液通道、进药通道、排液检测通道相通的阀腔,该阀腔由三通体构成,或由三通体与盖体一起围成;阀腔的形状与活动地位于其内的阀芯形状相配合,阀芯相对两侧分别设置有同心阀杆,两个阀杆均穿出三通体,一个阀杆端部设置阀柄,另一个阀杆端部设置有轴向限位件,阀芯上设置一与过液通道、进药通道、排液检测通道的通道口相对应的过流通道。依靠中间的旋转阀来改变液体流向,虽然解决了自动引流和注药两个操作需要,但是未能解决人工引流时不能方便的连续抽吸使用的操作需要,每抽吸一次必须转动两次中间的旋转阀才可完成操作,在实际操作中非常不方便,而且结构复杂。
发明内容
本实用新型所要解决的技术问题是克服上述现有技术的不足,提供一种结构简单,操作方便,既可以连续抽注液体,方便注药,还可以自动引流,安全性强和适用范围广的医用多功能三通阀。
本实用新型解决上述技术问题采用的技术方案是:一种医用多功能三通阀,其包括一带三通道的阀体,其中一个通道端口装有一个单向封闭阀,阀体腔体中装有一可转动的阀芯,其特征在于:所述阀芯上设有可与阀体三通道连通的十字形通孔,其中的一个直行通孔两端分别安装有第一单向阀和第二单向阀。
本实用新型所述阀体上的三通道为T型分布,其中直行的两通道端部分别连接有内螺旋接头和外螺旋接头。内螺旋接头用来连接穿刺针,外螺旋接头用来连接引流袋。
本实用新型所述阀体腔体为圆柱型或圆台型,相应地阀芯为圆柱体或圆台体。
本实用新型所述阀芯上部设有一个十字形转动手柄,转动手柄的转杆上设有对应单向阀控制流向的方向标识。
本实用新型由于三通道的阀体中安装相配合阀芯,阀芯上设有可与阀体三通道连通的十字形通孔,其中的一个直行通孔两端分别安装有第一单向阀和第二单向阀,对照现有技术,本实用新型结构简单,既可以连续抽注液体,在抽注液体时,不用断开连接,就可以连续抽吸,方便注药,还可以自动引流,安全性强和适用范围广。操作方便,大大降低了操作人员的劳动强度,单人即可独立操作完成。从根本上杜绝因漏液而造成患者感染的可能性,是一种理想的医用多功能三通阀。主要用于人体内积液、积气的穿刺引流治疗,也适用于经导管或穿刺针向血管内、体腔内的药物注入治疗。
附图说明
下面结合附图对本实用新型进一步说明。
图1是本实用新型的组成结构示意图。
图2是本实用新型阀芯的结构示意图。
图3是本实用新型阀芯的剖面示意图。
图4是本实用新型抽液状态的示意图。
图5是本实用新型注药状态的示意图。
图6是本实用新型自动引流状态的示意图。
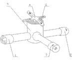
图中的标号是:1.内螺旋接头,2.外螺旋接头,3.带单向封闭阀接头,4.转动手柄,5.阀体,6.阀芯,7.通孔,8.通孔,9.第二单向阀,10.第一单向阀。
具体实施方式
从图1中可以看出,一种医用多功能三通阀,其包括一带三通道的阀体5,所述阀体5上的三通道为T型分布,其中直行的两通道端部分别连接有内螺旋接头1和外螺旋接头2。内螺旋接头1用来连接穿刺针,外螺旋接头2用来连接引流袋等。与直行的两通道垂直的另一个通道端口装有一个单向封闭阀,具体是在该通道设有带单向封闭阀接头3,带单向封闭阀接头3为外螺旋接头,用来连接注射器。接通注射器,该单向封闭阀自动打开,由注射器控制抽、注流通;拔下注射器,该单向封闭阀自动封闭。所述单向封闭阀为市购产品。
本实用新型所述阀体5腔体中装有一可转动的阀芯6,阀芯6与腔体内壁相配合。所述阀体5腔体可为圆柱型,相应地阀芯6为圆柱体;阀体5腔体也可为圆台型,相应地阀芯6为圆台体。如图2、图3所示,所述阀芯6上设有可与阀体5三通道连通的十字形通孔,十字形通孔由相互垂直的通孔7和通孔8十字相交而成。这样,阀芯6上有四个出口。阀芯6相对阀体5可旋转,其中十字形通孔有三个出口与阀体的三个通道相连通,有一个出口被阀体腔体内壁封闭。
本实用新型所述的通孔7在与通孔8十字相交的两端分别安装有第二单向阀9和第一单向阀10。第二单向阀9的安装相对阀芯6是单向输出阀;第一单向阀10的安装相对阀芯6是单向输入阀。第一单向阀10和第二单向阀9为市购产品。通道8为空腔。
所述阀芯6上部设有一个十字形转动手柄4,转动手柄4的转杆上设有对应单向阀控制流向的方向标识。该方向标识可以表明阀芯6控制的各通道的液体流向。
本实用新型使用时,阀体5上带内螺旋接头1通道和外螺旋接头2通道分别连接穿刺针和引流袋,带单向封闭阀接头3连接注射器,注射器自动打开单向封闭阀。当人工操作抽液时,将阀芯6转到第二单向阀9跟外螺旋接头2所在通道连接,第一单向阀10跟内螺旋接头1所在通道连接,如图4所示。图4是本实用新型抽液状态的示意图。液体只能由内螺旋接头1所在通道流向外螺旋接头2所在通道方向。此时,抽吸注射器,第一单向阀10打开,第二单向阀9关闭,抽吸物由穿刺针经第一单向阀10进入注射器;推注注射器,第一单向阀10关闭,第二单向阀9打开,引流物由注射器经第二单向阀9流入引流袋,反复抽推注射器,液体就不停地流入引流袋了。将积液或积气排入引流袋操作完毕。
需要注药时,将阀芯6转动180°,使第二单向阀对应穿刺针,第一单向阀对应引流袋方向,如图5所示,图5是本实用新型注药状态的示意图。阀芯6转到第二单向阀9跟内螺旋接头1所在通道连接,第一单向阀10跟外螺旋接头2所在通道连接,液体只能由外螺旋接头2所在通道流向内螺旋接头1所在通道方向。此时,可以用注射器通过带封闭单向阀接头3所在通道注药了。
图6是本实用新型自动引流状态的示意图。阀芯6转到空腔通孔8跟阀体5直行的两通道连通时,液体可以双方向流通,自动引流。如图6所示,取下注射器,单向封闭阀自动关闭,液体自动流入引流袋。
本实用新型结构简单,操作方便,大大降低了操作人员的劳动强度,单人即可独立操作完成。既可以连续抽注液体,在抽注液体时,不用断开连接,就可以连续抽吸,方便注药,还可以自动引流,安全性强和适用范围广,可以自行选择手动或者自动引流。从根本上杜绝因漏液而造成患者感染的可能性,是一种理想的多功能医用三通阀。主要用于人体内积液、积气的穿刺引流治疗,也适用于经导管或穿刺针向血管内、体腔内的药物注入治疗。
Claims (5)
1.一种医用多功能三通阀,其包括一带三通道的阀体,其中一个通道端口装有一个单向封闭阀,阀体腔体中装有一可转动的阀芯,其特征在于:所述阀芯上设有可与阀体三通道连通的十字形通孔,其中的一个直行通孔两端分别安装有第一单向阀和第二单向阀。
2.根据权利要求1所述的医用多功能三通阀,其特征在于:所述阀体上的三通道为T型分布,其中直行的两通道端部分别连接有内螺旋接头和外螺旋接头。
3.根据权利要求1所述的医用多功能三通阀,其特征在于:所述阀体腔体为圆柱型,相应地阀芯为圆柱体。
4.根据权利要求1所述的医用多功能三通阀,其特征在于:所述阀体腔体为圆台型,相应地阀芯为圆台体。
5.根据权利要求1所述的医用多功能三通阀,其特征在于:所述阀芯上部设有一个十字形转动手柄,转动手柄的转杆上设有对应控制流向的方向标识。
Priority Applications (1)
| Application Number | Priority Date | Filing Date | Title |
|---|---|---|---|
| CN2011203373373U CN202223755U (zh) | 2011-09-09 | 2011-09-09 | 医用多功能三通阀 |
Applications Claiming Priority (1)
| Application Number | Priority Date | Filing Date | Title |
|---|---|---|---|
| CN2011203373373U CN202223755U (zh) | 2011-09-09 | 2011-09-09 | 医用多功能三通阀 |
Publications (1)
| Publication Number | Publication Date |
|---|---|
| CN202223755U true CN202223755U (zh) | 2012-05-23 |
Family
ID=46074366
Family Applications (1)
| Application Number | Title | Priority Date | Filing Date |
|---|---|---|---|
| CN2011203373373U Expired - Fee Related CN202223755U (zh) | 2011-09-09 | 2011-09-09 | 医用多功能三通阀 |
Country Status (1)
| Country | Link |
|---|---|
| CN (1) | CN202223755U (zh) |
Cited By (3)
| Publication number | Priority date | Publication date | Assignee | Title |
|---|---|---|---|---|
| CN110665113A (zh) * | 2019-10-26 | 2020-01-10 | 安徽奥弗医疗设备科技股份有限公司 | 一体式多通道防回流旋塞阀 |
| CN112843356A (zh) * | 2021-03-21 | 2021-05-28 | 哈尔滨医科大学 | 阴道冲洗器 |
| CN115282462A (zh) * | 2022-08-04 | 2022-11-04 | 咸阳市第一人民医院 | 一种多功能三通道医用延长管 |
-
2011
- 2011-09-09 CN CN2011203373373U patent/CN202223755U/zh not_active Expired - Fee Related
Cited By (4)
| Publication number | Priority date | Publication date | Assignee | Title |
|---|---|---|---|---|
| CN110665113A (zh) * | 2019-10-26 | 2020-01-10 | 安徽奥弗医疗设备科技股份有限公司 | 一体式多通道防回流旋塞阀 |
| CN112843356A (zh) * | 2021-03-21 | 2021-05-28 | 哈尔滨医科大学 | 阴道冲洗器 |
| CN115282462A (zh) * | 2022-08-04 | 2022-11-04 | 咸阳市第一人民医院 | 一种多功能三通道医用延长管 |
| CN115282462B (zh) * | 2022-08-04 | 2023-10-20 | 咸阳市第一人民医院 | 一种多功能三通道医用延长管 |
Similar Documents
| Publication | Publication Date | Title |
|---|---|---|
| CN202223755U (zh) | 医用多功能三通阀 | |
| CN205867208U (zh) | 静脉推注药物输液器 | |
| CN107684644A (zh) | 预冲式冲管注射器输注泵组合包 | |
| CN103301524A (zh) | 一次性自动止液自动排气输液器 | |
| CN209270481U (zh) | 输液器 | |
| CN203001687U (zh) | 一次性使用留置导尿管的灌注接头 | |
| CN207429144U (zh) | 一种提高操作安全性的腰椎穿刺针 | |
| CN203989224U (zh) | 医用开关接头 | |
| CN206026783U (zh) | 一种留置中心静脉导管专用封管套装 | |
| CN211024454U (zh) | 膀胱灌注和冲洗的三通装置 | |
| CN201823115U (zh) | 新生儿输液吊桶 | |
| CN203400364U (zh) | 一次性自动止液自动排气输液器 | |
| CN105920718A (zh) | 一种多腔可冲洗引流管路 | |
| CN109010991A (zh) | 输液器与取样方法和冲管方法 | |
| CN214807350U (zh) | 一种双腔输液港植入式给药装置 | |
| CN203777401U (zh) | 双头阀门式三通输液器 | |
| CN209900426U (zh) | 膀胱灌注器 | |
| CN209827704U (zh) | 引流冲洗管及集穿刺、冲洗、引流、给药功能一体化装置 | |
| CN208511713U (zh) | 尿管专用可行负压吸引的三通旋塞 | |
| CN204582260U (zh) | 一种便于给药的导尿管 | |
| CN209378147U (zh) | 一种膀胱灌注装置 | |
| CN206026770U (zh) | 用于膀胱冲洗的装置 | |
| CN206198382U (zh) | 预冲式冲管注射器输注泵组合包 | |
| CN111686330A (zh) | 一种密闭式膀胱冲洗连接管 | |
| CN220110167U (zh) | 一种多通道过滤型引流袋 |
Legal Events
| Date | Code | Title | Description |
|---|---|---|---|
| C14 | Grant of patent or utility model | ||
| GR01 | Patent grant | ||
| C41 | Transfer of patent application or patent right or utility model | ||
| TR01 | Transfer of patent right |
Effective date of registration: 20160720 Address after: The road of Weihai City area 264200 Shandong province No. 213 B block 630 innovation base Patentee after: SHANDONG WRX MEDICAL TECHNOLOGY CO., LTD. Address before: 264200 Shandong Province, Weihai city Huancui District Court No. 15 Zhang Cunming Patentee before: Fan Jichang |
|
| CF01 | Termination of patent right due to non-payment of annual fee |
Granted publication date: 20120523 Termination date: 20180909 |
|
| CF01 | Termination of patent right due to non-payment of annual fee |