CN202223485U - Anorectal operation bed - Google Patents
Anorectal operation bed Download PDFInfo
- Publication number
- CN202223485U CN202223485U CN 201120349485 CN201120349485U CN202223485U CN 202223485 U CN202223485 U CN 202223485U CN 201120349485 CN201120349485 CN 201120349485 CN 201120349485 U CN201120349485 U CN 201120349485U CN 202223485 U CN202223485 U CN 202223485U
- Authority
- CN
- China
- Prior art keywords
- operating
- leg support
- support frame
- bed
- patient
- Prior art date
- Legal status (The legal status is an assumption and is not a legal conclusion. Google has not performed a legal analysis and makes no representation as to the accuracy of the status listed.)
- Expired - Fee Related
Links
- 238000001356 surgical procedure Methods 0.000 claims description 14
- 239000002699 waste material Substances 0.000 claims description 5
- 239000002906 medical waste Substances 0.000 abstract description 5
- 210000003205 muscle Anatomy 0.000 abstract description 4
- 210000002414 leg Anatomy 0.000 description 20
- 210000001217 buttock Anatomy 0.000 description 3
- 229920000742 Cotton Polymers 0.000 description 1
- 235000009161 Espostoa lanata Nutrition 0.000 description 1
- 240000001624 Espostoa lanata Species 0.000 description 1
- 210000001015 abdomen Anatomy 0.000 description 1
- 230000037237 body shape Effects 0.000 description 1
- 230000006835 compression Effects 0.000 description 1
- 238000007906 compression Methods 0.000 description 1
- 238000005286 illumination Methods 0.000 description 1
- 239000002184 metal Substances 0.000 description 1
- 238000000034 method Methods 0.000 description 1
Images
Landscapes
- Accommodation For Nursing Or Treatment Tables (AREA)
Abstract
一种肛肠手术床,床架上设有手术台板,手术台板的一侧设有腿支撑架,手术台板的一端设有蹬脚柱,至少一个污物桶与床架的立柱活动连接。本实用新型提供的一种肛肠手术床,通过设置的带“J”形操作开口的手术台板,便于医生采用坐位为或站位进行手术,设置的两个活动的污物桶可以正好位于操作开口的下方,便于医疗废物及时分类放置。设置的腿支撑架可以将患者的腿部撑高,在采用侧卧位时,患者的一支腿放在腿支撑架的下方,另一只腿放在腿支撑架的上表面,配合高度调节装置,可以达到将患者的臀部肌肉张开的效果。不用时可以将腿支撑架沿销轴翻转,挂在手术台板下方的固定挂钩上。
An anorectal operating bed, the bed frame is provided with an operating table, one side of the operating table is provided with a leg support frame, one end of the operating table is provided with a foot column, and at least one dirt bucket is movably connected with the column of the bed frame . The anorectal operating bed provided by the utility model is provided with an operating table with a "J"-shaped operating opening, which is convenient for doctors to operate in a sitting or standing position, and the two movable dirt buckets can be located just in the operating Below the opening, it is convenient for medical waste to be sorted and placed in time. The set leg support frame can prop up the patient's legs. When the side lying position is adopted, one leg of the patient is placed under the leg support frame, and the other leg is placed on the upper surface of the leg support frame, with height adjustment The device can achieve the effect of opening the patient's hip muscles. When not in use, the leg support frame can be turned over along the pin shaft and hung on the fixed hook under the operating table.
Description
技术领域 technical field
本实用新型涉及一种医用手术床,特别是一种肛肠手术床。 The utility model relates to a medical operating bed, in particular to an anorectal operating bed.
背景技术 Background technique
肛肠科手术在医学手术中是较为常见的手术,手术的总量也较大,虽然在市场上有各种各样的手术床,但却没有肛肠科的专用手术床,肛肠科的医生在做手术时只能借助其他手术床。由于这些手术床不是专用肛肠科手术床,它无法满足肛肠科手术的特殊需要。而且肛肠手术时还要一名特殊助手,专门负责拨开患者的臀部,不但费力,浪费人力,而且也会影响到手术的效果。肛肠科的医生们希望有一种能便于主刀医生独立操作和使用,同时能尽量减轻患者痛苦的多功能床。 Anorectal surgery is a relatively common operation in medical surgery, and the total amount of surgery is relatively large. Although there are various operating beds on the market, there is no special operating bed for anorectal surgery. Doctors in anorectal surgery are doing During the operation, only other operating tables can be used. Since these operating beds are not special-purpose anorectal operating beds, they cannot meet the special needs of anorectal operations. Moreover, a special assistant is needed during anorectal surgery, who is specially responsible for opening the patient's buttocks, which is not only laborious and wastes manpower, but also affects the effect of the operation. Doctors in the department of anorectal hope to have a kind of multifunctional bed which can be convenient for the surgeon to operate and use independently, and can relieve the pain of the patient as much as possible.
发明内容 Contents of the invention
本实用新型所要解决的技术问题是提供一种肛肠手术床,可以为患者提供较为舒适的体位,并方便主刀医生手术操作。 The technical problem to be solved by the utility model is to provide an anorectal operating bed, which can provide a relatively comfortable body position for the patient and facilitate the operation of the surgeon.
为解决上述技术问题,本实用新型所采用的技术方案是:一种肛肠手术床,床架上设有手术台板,手术台板的一侧设有腿支撑架,手术台板的一端设有蹬脚柱,至少一个污物桶与床架的立柱活动连接。 In order to solve the above technical problems, the technical solution adopted by the utility model is: an anorectal operating bed, the bed frame is provided with an operating table, one side of the operating table is provided with a leg support frame, and one end of the operating table is provided with Stepping on the foot column, at least one dirt bucket is movably connected with the column of the bed frame.
所述的手术台板上设有操作开口。 An operating opening is provided on the operating table.
所述的操作开口成“J”形,操作开口的两端长度不同,安装有腿支撑架的一端长度较长。 The operation opening is in a "J" shape, the two ends of the operation opening have different lengths, and the end where the leg support frame is installed is longer.
所述的污物桶可以床架的立柱为圆心旋转,污物桶运动轨迹的局部位于操作开口的下方。 The dirt bucket can be rotated with the column of the bed frame as the center of a circle, and part of the movement track of the dirt bucket is located below the operation opening.
在手术台板的一侧还设有多方向手术灯。 There is also a multi-directional operating light on one side of the operating table.
所述的腿支撑架上设有高度调节装置。 A height adjustment device is provided on the leg support frame.
所述的腿支撑架通过销轴与床架活动连接。 The leg support frame is movably connected with the bed frame through pin shafts.
根据肛肠手术的特殊需求,肛肠手术床需达到如下的要求: According to the special needs of anorectal surgery, the anorectal operating bed should meet the following requirements:
1、患者的体位很重要。患者在手术过程中,可采用仰卧、侧卧和俯卧位,而俯卧位患者常感到胸、腹部有压迫,颈扭曲等不适感。常采用的仰卧和侧卧位。而仰卧位时,患者手术部位暴露不充分,故侧卧位较适宜。 1. The patient's position is very important. During the operation, patients can be placed in supine, side or prone positions, while patients in the prone position often feel chest and abdomen compression, neck twisting and other discomfort. Commonly used supine and lateral positions. In the supine position, the surgical site is not fully exposed, so the lateral position is more suitable.
2、要便于主刀医生操作,可采用坐位、立位和蹲位对患者进行手术。多采用坐位和立位。 2. To facilitate the operation of the surgeon, the patient can be operated on in a sitting, standing or squatting position. Use sitting and standing positions more.
3、手术床要有辅助主刀医生拨开患者臀部肌肉的功能。 3. The operating bed should have the function of assisting the chief surgeon to open the patient's buttock muscles.
4、手术床要有辅助照明的装置。照明灯的安放要根据患者的不同体位,或同一体位不同位置可随意调节。 4. The operating bed must have an auxiliary lighting device. The placement of the illuminating lamp can be adjusted freely according to different positions of the patient, or different positions of the same position.
5、手术床要有医疗污物桶的设置,污物桶放在低位,对手术过程中产生的医疗废物及时分类放置,保证医疗废物的规范处理。 5. The operating bed should be equipped with a medical waste bucket. The waste bucket should be placed at a low position, and the medical waste generated during the operation should be sorted and placed in time to ensure the standardized treatment of medical waste.
本实用新型提供的一种肛肠手术床,通过设置的带“J”形操作开口的手术台板,便于医生采用坐位为或站位进行手术,设置的两个活动的污物桶可以正好位于操作开口的下方,便于医疗废物及时分类放置。设置的腿支撑架可以将患者的腿部撑高,在采用侧卧位时,患者的一支腿放在腿支撑架的下方,另一只腿放在腿支撑架的上表面,配合高度调节装置,可以达到将患者的臀部肌肉张开的效果。不用时可以将腿支撑架沿销轴翻转,挂在手术台板下方的固定挂钩上。设置的多方向手术灯,可满足患者的不同体位,或同一体位不同位置的光线照明,并可随意调节。 The anorectal operating bed provided by the utility model is provided with an operating table with a "J"-shaped operating opening, which is convenient for doctors to operate in a sitting or standing position, and the two movable dirt buckets can be located just in the operating Below the opening, it is convenient for medical waste to be sorted and placed in time. The set leg support frame can prop up the patient's legs. When the side lying position is adopted, one leg of the patient is placed under the leg support frame, and the other leg is placed on the upper surface of the leg support frame, with height adjustment The device can achieve the effect of opening the patient's hip muscles. When not in use, the leg support frame can be turned over along the pin shaft and hung on the fixed hook under the operating table. The multi-directional operating light can meet the different positions of the patient, or the light illumination of different positions in the same position, and can be adjusted at will.
本实用新型针对肛肠手术的特点,解决了取俯卧位带来的不适,提高了肛肠手术的操作效率,减轻了患者的痛苦。 The utility model aims at the characteristics of the anorectal operation, solves the discomfort caused by taking the prone position, improves the operation efficiency of the anorectal operation, and relieves the pain of the patient.
附图说明 Description of drawings
下面结合附图和实施例对本实用新型作进一步说明。 Below in conjunction with accompanying drawing and embodiment the utility model is further described.
图1为本实用新型的主视图。 Fig. 1 is the front view of the utility model.
图2为本实用新型的俯视图。 Fig. 2 is a top view of the utility model.
图3为本实用新型的左视图。 Fig. 3 is a left view of the utility model.
具体实施方式 Detailed ways
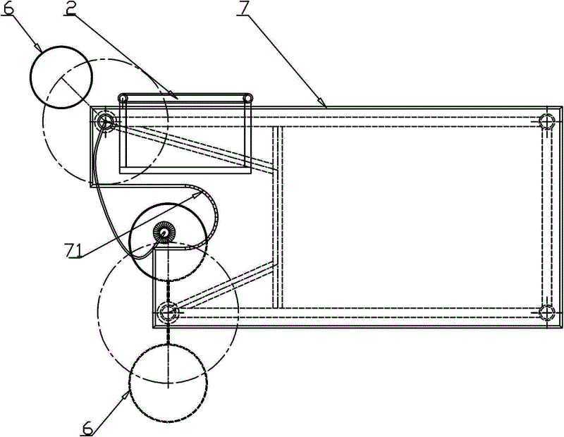
如图1—图3中,一种肛肠手术床,床架5上设有手术台板7,手术台板7的一侧设有腿支撑架2,手术台板7的一端设有蹬脚柱3,至少一个污物桶6与床架5的立柱活动连接。设置的蹬脚柱3便于患者在手术时双脚蹬靠在蹬脚柱3,以固定患者手术体位。采用侧卧位时,患者将下腿置于腿支撑架2的下方,上腿置于腿支撑架2的上表面,从而实现在手术时将臀部肌肉张开的效果。
As shown in Fig. 1-Fig. 3, an anorectal operating bed is provided with an operating table 7 on the
如图2中,所述的手术台板7上设有操作开口71。设置的操作开口71便于医生进行手术操作。 As shown in FIG. 2 , the operating table 7 is provided with an operation opening 71 . The provided operation opening 71 is convenient for doctors to perform operation.
如图2中,所述的操作开口71成“J”形,操作开口71的两端长度不同,安装有腿支撑架2的一端长度较长。而另一端长度较短,这样在患者采用侧卧位时,操作开口71较短的一端不会对医生的操作形成干涉从而提高了手术的效率。
As shown in FIG. 2 , the
如图2中,所述的污物桶6可以床架的立柱为圆心旋转,污物桶6运动轨迹的局部位于操作开口71的下方。便于分别存放手术过程中产生的棉签、纱布、棉球,以及针头、刀片等锐器。 As shown in FIG. 2 , the dirt bucket 6 can be rotated with the column of the bed frame as the center of circle, and part of the movement track of the dirt bucket 6 is located below the operation opening 71 . It is convenient to separately store cotton swabs, gauze, cotton balls, needles, blades and other sharps produced during the operation.
如图1、图3中,在手术台板7的一侧还设有多方向手术灯1。多方向手术灯为带金属软管的灯,可以随意调节灯光的方向,便于在患者的不同体位,或同一体位不同位置的光线照明。 As shown in FIG. 1 and FIG. 3 , a multi-directional operating light 1 is also provided on one side of the operating table 7 . The multi-directional operating light is a light with a metal hose, and the direction of the light can be adjusted at will, which is convenient for lighting in different positions of the patient, or in different positions of the same position.
如图1、图3中,所述的腿支撑架2上设有高度调节装置21。此处的高度调节装置21为采用螺母和螺杆的配合调节腿支撑架2上表面的高度,或者采用螺母锁紧开口套管的方式调节,或者采用活动套管以螺钉紧定的方式调节,或者采用拉紧箍锁紧的方式调节。高度调节装置21的作用在于适应不同患者的体型。
As shown in Fig. 1 and Fig. 3 , the
如图3中,所述的腿支撑架2通过销轴4与床架5活动连接。在腿支撑架2不使用时,可以将腿支撑架2沿销轴4翻转到手术台板7的下方,并以固定挂钩固定。
As shown in FIG. 3 , the
Claims (7)
Priority Applications (1)
| Application Number | Priority Date | Filing Date | Title |
|---|---|---|---|
| CN 201120349485 CN202223485U (en) | 2011-09-19 | 2011-09-19 | Anorectal operation bed |
Applications Claiming Priority (1)
| Application Number | Priority Date | Filing Date | Title |
|---|---|---|---|
| CN 201120349485 CN202223485U (en) | 2011-09-19 | 2011-09-19 | Anorectal operation bed |
Publications (1)
| Publication Number | Publication Date |
|---|---|
| CN202223485U true CN202223485U (en) | 2012-05-23 |
Family
ID=46074096
Family Applications (1)
| Application Number | Title | Priority Date | Filing Date |
|---|---|---|---|
| CN 201120349485 Expired - Fee Related CN202223485U (en) | 2011-09-19 | 2011-09-19 | Anorectal operation bed |
Country Status (1)
| Country | Link |
|---|---|
| CN (1) | CN202223485U (en) |
Cited By (3)
| Publication number | Priority date | Publication date | Assignee | Title |
|---|---|---|---|---|
| CN103431969A (en) * | 2013-08-17 | 2013-12-11 | 刘敬松 | Andrology examination couch |
| CN111449884A (en) * | 2020-05-19 | 2020-07-28 | 党爱林 | Multifunctional anorectal operation bed |
| CN111904771A (en) * | 2020-09-26 | 2020-11-10 | 山东省千佛山医院 | Special bed of anus intestines branch of academic or vocational study lateral position operation |
-
2011
- 2011-09-19 CN CN 201120349485 patent/CN202223485U/en not_active Expired - Fee Related
Cited By (4)
| Publication number | Priority date | Publication date | Assignee | Title |
|---|---|---|---|---|
| CN103431969A (en) * | 2013-08-17 | 2013-12-11 | 刘敬松 | Andrology examination couch |
| CN111449884A (en) * | 2020-05-19 | 2020-07-28 | 党爱林 | Multifunctional anorectal operation bed |
| CN111449884B (en) * | 2020-05-19 | 2024-06-07 | 党爱林 | Multifunctional anorectal operation table |
| CN111904771A (en) * | 2020-09-26 | 2020-11-10 | 山东省千佛山医院 | Special bed of anus intestines branch of academic or vocational study lateral position operation |
Similar Documents
| Publication | Publication Date | Title |
|---|---|---|
| CN202554372U (en) | Nursing support for orthopedics | |
| CN202223485U (en) | Anorectal operation bed | |
| CN203790238U (en) | Positioning examination bed in gynaecological department | |
| CN207837816U (en) | One kind being convenient for fixed surgical bed | |
| CN206261784U (en) | A kind of breech surgery bed special | |
| CN204501449U (en) | A kind of surgical bed for department of ophthalmology | |
| CN212699386U (en) | Anesthesia rehabilitation nursing bed | |
| CN209091785U (en) | A kind of prolapse of lumbar intervertebral disc traction therapeutic device | |
| CN216676299U (en) | A comfortable and safe lithotomy bed | |
| CN205144931U (en) | Patient bed easily for nursing | |
| CN211834758U (en) | Auxiliary support for bone surgery | |
| CN203122925U (en) | Treatment chair for general surgery departments | |
| CN202892325U (en) | Emergency treatment multifunctional operating table | |
| CN210205257U (en) | Gynaecology and obstetrics uses operation support | |
| CN221731384U (en) | Support for dressing change of orthopedics nursing lower limb | |
| CN216496155U (en) | Foldable lower limb telescopic foot bracket | |
| CN209316350U (en) | A support frame for orthopedic leg care | |
| CN206167380U (en) | Acupuncture bed | |
| CN223126824U (en) | Treatment bed for periodontal disease treatment | |
| CN221904574U (en) | Auxiliary dressing change device convenient for posture adjustment | |
| CN219835799U (en) | Body position limiting device | |
| CN210542305U (en) | A neurosurgery surgical hip brace | |
| CN219963359U (en) | A positioning support device | |
| CN209966898U (en) | Outpatient service nursing frame of changing dressings | |
| CN221866454U (en) | Gynecological examination table |
Legal Events
| Date | Code | Title | Description |
|---|---|---|---|
| C14 | Grant of patent or utility model | ||
| GR01 | Patent grant | ||
| C17 | Cessation of patent right | ||
| CF01 | Termination of patent right due to non-payment of annual fee |
Granted publication date: 20120523 Termination date: 20120919 |
