CN202219996U - Automatic bobbin slitting rewinder - Google Patents

Automatic bobbin slitting rewinder Download PDF

Info

Publication number
CN202219996U
CN202219996U CN2011203084778U CN201120308477U CN202219996U CN 202219996 U CN202219996 U CN 202219996U CN 2011203084778 U CN2011203084778 U CN 2011203084778U CN 201120308477 U CN201120308477 U CN 201120308477U CN 202219996 U CN202219996 U CN 202219996U
Authority
CN
China
Prior art keywords
roller
winding
rewinding
roll
refill
Prior art date
Legal status (The legal status is an assumption and is not a legal conclusion. Google has not performed a legal analysis and makes no representation as to the accuracy of the status listed.)
Expired - Fee Related
Application number
CN2011203084778U
Other languages
Chinese (zh)
Inventor
王良忠
Current Assignee (The listed assignees may be inaccurate. Google has not performed a legal analysis and makes no representation or warranty as to the accuracy of the list.)
ZHUHAI ZHONGYA PACKAGE EQUIPMENT CO Ltd
Original Assignee
Individual
Priority date (The priority date is an assumption and is not a legal conclusion. Google has not performed a legal analysis and makes no representation as to the accuracy of the date listed.)
Filing date
Publication date
Application filed by Individual filed Critical Individual
Priority to CN2011203084778U priority Critical patent/CN202219996U/en
Application granted granted Critical
Publication of CN202219996U publication Critical patent/CN202219996U/en
Anticipated expiration legal-status Critical
Expired - Fee Related legal-status Critical Current

Links

Images

Landscapes

  • Replacement Of Web Rolls (AREA)

Abstract

The utility model relates to an automatic bobbin slitting rewinder, which solves the technical problem that the automatic bobbin slitting rewinder is high in automation level without a small shaft in a paper core. The automatic bobbin slitting rewinder comprises an unwinding mechanism, a slitting mechanism, a rewinding mechanism and a gluing mechanism, wherein the mechanisms cooperate together in action under control of a PLC (programmable logic controller). The rewinding mechanism comprises an upper rewinding roll, a front rewinding roll and a rear rewinding roll, wherein the upper rewinding roll is a controllable lifting roll, both the front rewinding roll and the rear rewinding roll are arranged below the upper rewinding roll, the three rewinding rolls are parallel to one another, at least one of the three rewinding rolls is a rubbing roll driven by external force, a smallest clearance between the front rewinding roll and the rear rewinding roll is smaller than or equal to the outer diameter of the paper core, a groove is formed between the front rewinding roll and the rear rewinding roll, and a pair of radially moving rotating ejector cones are arranged on the groove. The automatic bobbin slitting rewinder is applicable to slitting and rewinding of various rolls and bobbins.

Description

Automatic obbbin cutting and rewinding machine
Technical field
The utility model relates to a kind of automatic obbbin cutting and rewinding machine.
Background technology
At present, when known obbbin cutting and rewinding machine uses, need manual work to put on little refill with little axle; Be placed on rewinding mechanism, glue paper with double faced adhesive tape then, then manually push down with heavy iron staff or starting pressure arm; Actuating motor, before the rewinding, the artificial end of reel warning red symbol of on paper slip, stamping.Rewinding is to specifying auto-stop behind the rice number, and the disconnected paper that manually cuts with a knife touch paper with little label again, takes the platform of disembarking to finished product then, extracts little out.Put new refill again, just can restart next circulation.Because the artificial action of participating in is various, directly causes producers' labour intensity excessive, has also increased the business manpower cost; In addition, people's work speed is slow, causes machine stopping time long; Thereby reduced the service efficiency of machine; Reduce production efficiency, because workman's technological ripe paper degree is different, made product quality stability to be guaranteed again.
The utility model content
The technical matters that the utility model will solve is the above-mentioned defective that how to overcome prior art, provides to wear little axle in a kind of refill, and the high automatic obbbin cutting and rewinding machine of degree of automation.
For solving the problems of the technologies described above; Obbbin cutting and rewinding machine comprises unreeling structure, cutting mechanism, rewinding mechanism automatically, paper glue-spraying mechanism and paper feeding core mechanism break for this; Said mechanism concerted action under the control of PLC controller is characterized in that: said rewinding mechanism comprises rewind roll, preceding rewind roll and back rewind roll, and last rewind roll is controlled dance roller; Preceding rewind roll is positioned at the rewind roll below with the back rewind roll; Three rewind roll are parallel, and to have a rewind roll among the three at least be the stranding winding up roller that has external force to drive, the external diameter of the minimum clearance≤refill between preceding rewind roll and the back rewind roll; Form a groove between the two, this groove is provided with a pair of rotation addendum cone that moves radially.
So design, during use, the paper that branch is cut places on the rewind roll of back; Groove presses a plurality of end to end refills between preceding rewind roll and the back rewind roll; Two ends hold out against with the rotation addendum cone, and paper is bonded at or twists on the refill, and controlled dance roller presses down; Coil paper on the refill is tangent with last rewind roll, preceding rewind roll and back rewind roll all the time, starts both rewinding but rub winding up roller with the hands.Again need not wear little axle in the refill, be convenient to realize mechanical automation.
As optimization; It also comprises rolls up mechanism again, said roll up again mechanism comprise again winding up roller, preceding winding up roller again and after winding up roller again, on again the winding up roller two ends be arranged in the vertical chute; Before again winding up roller with after again winding up roller be positioned at again winding up roller below; Three winding up roller is parallel again, and have at least among the three one again winding up roller be the stranding winding up roller that has external force to drive, preceding winding up roller again and after the minimum clearance between the winding up roller≤finished roll external diameter again; Before again winding up roller with after again winding up roller one carrying slide block is set, before this carrying slide block can drive again winding up roller and after again winding up roller at translation between the upstream and downstream (downstream stop be positioned at again winding up roller below);
Said disconnected paper glue-spraying mechanism is arranged on rewinding mechanism and rolls up between the mechanism again, and this disconnected paper glue-spraying mechanism comprises glue-spraying device and disconnected paper cutter, and the nozzle of glue-spraying device points to below, disconnected paper cutter downstream.
The utility model said " upper reaches ", " downstream ", " preceding ", " back " all are that simultaneously, promptly the paper working direction is " preceding ", " downstream " with respect to paper operation side together; The paper source direction is " back ", is " upper reaches ".
So design after the paper roll rewinding is good, moves to earlier and rolls up mechanism again, artificial or press refill automatically after, again by the disconnected paper of disconnected paper glue-spraying mechanism, spray glue, and then roll up mechanical operation, the paper of coil paper is spooled, simultaneously to beginning rewinding paper on the new refill.
As optimization, be provided with supporting plate between said disconnected paper glue-spraying mechanism and the rewinding mechanism, this supporting plate is positioned at the disconnected paper cutter upper reaches, has gas hole in a row on it; Above-mentioned gas hole communicates with controlled source of the gas, said paper feeding core mechanism involving vibrations dish and refill push pedal, and wherein the discharging track of vibrating disk is connected with the refill push pedal of rewinding mechanism oblique upper mutually, and the refill push pedal is furnished with lift cylinder; Refill push pedal the place ahead is provided with a downslide swash plate, and downslide swash plate lower end extends to groove, and downslide swash plate upper end is provided with one and pushes away the refill cylinder; This pushes away refill cylinder front end and is provided with cross bar, is hinged with shifting board on this cross bar, and shifting board is provided with oblique arm; Be that stay cord is arranged on this oblique arm, the stay cord other end is fixed, after last rewind roll rises; It is descending to push away refill cylinder drive shifting board, and during to end of travel, stay cord is tightened; Tear on the shifting board and turn over, refill is placed on the said groove, simultaneously that rewinding is good paper roll is chosen to rolling up in the mechanism again; The last rewind roll upper reaches are provided with a flexible plate, and when extending terminal point under this flexible plate, its front end can insert refill with paper and locate with the point of contact of back rewind roll, and refill push pedal end is provided with the refill feed and ends switch.
When sending core, vibrating disk is end to end with refill, delivers to the refill push pedal along the discharging track, and when refill triggered refill feed termination switch, vibrating disk shut down.Lift cylinder starts, and the refill push pedal is sent into refill between downslide swash plate and the shifting board, pushes away then under the refill cylinder and stretches, and to end of travel, stay cord is tightened, and turns on the shifting board, and refill is placed on the said groove.
Behind the paper of the intact predetermined length of rewinding; Paper advance mechanism sequences new refill more from beginning to end; And be pressed on the paper of forward and backward rewind roll top, simultaneously that rewinding is good paper roll is chosen to forward and backward winding up roller again, and paper will break in mechanism by rolling up again, the paper roll that sprays glue is spooled, cemented.Gas hole on the supporting plate is blown, and the paper that disconnected paper is formed upstream bends, and encases new refill, and then, last rewind roll descends, and pushes down refill, stretches under the flexible plate, paper is inserted refill locate with the point of contact of back rewind roll, can start pickup roller then and carry out rewinding.So design is non-glued between refill and the paper.When as cash register paper, facsimile transmission paper, after paper was used up, refill was easy to separate with paper, and that can not damage facsimile apparatus, cashier's machine drags paper equipment.
As optimization, the discharging track of vibrating disk top is provided with a power-assisted roller, and this power-assisted roller is furnished with drive motor, and its axial line is perpendicular to the discharging track, and its excircle is provided with interior concave ring groove, and refill contacts with this interior concave ring groove.So design can strengthen the thrust to refill by vibrating disk, is convenient to refill and on the discharging track, moves.
As optimization, preceding winding up roller again, after also be provided with the discharging cylinder again between the winding up roller, when the discharging cylinder shrinks; Forward and backward gap between the winding up roller again is less than finished product coil paper external diameter, and when the discharging cylinder stretched, forward and backward gap between the winding up roller again was greater than finished product coil paper external diameter; Forward and backward winding up roller again below is provided with finished product coil paper slideway; The carrying slide block drives forward and backward winding up roller again and moves to finished product coil paper slideway top together with paper roll, and the discharging cylinder stretches then, preceding winding up roller again, after again the gap between the winding up roller strengthen; Finished roll falls in the finished product coil paper slideway, and vanning gets final product then.
As optimization, said disconnected paper glue-spraying mechanism comprises slide rail and slide block, and wherein slide rail is parallel to rewind roll, and slide block is arranged on the slide rail, and is furnished with actuating device, and said glue-spraying device is arranged on the slide block.Said glue-spraying device can be selected the air atomization glue-spraying device for use.So design is simple in structure, and control is convenient.
The automatic obbbin cutting and rewinding of the utility model machine has saved traditional axle that changes to be operated, and paper twists on the refill, and after paper was used up, paper and refill can delamination.And the whole process of production formula does not need people's participation, has improved production efficiency and has improved product quality stability.Be suitable for cutting and rewinding of various coil papers, obbbin (like cash register paper, facsimile transmission paper, ATM coil paper, toiler roll etc.).
Description of drawings
Below in conjunction with accompanying drawing the automatic obbbin cutting and rewinding of the utility model machine is described further:
Fig. 1 is the integral structure scheme drawing (not containing vibrating disk) of this automatic obbbin cutting and rewinding machine;
Fig. 2 is that the position of the forward and backward rewind roll of this automatic obbbin cutting and rewinding machine, refill and rotation addendum cone concerns scheme drawing;
Fig. 3 is the refill push pedal of this automatic obbbin cutting and rewinding machine and the structural representation of lift cylinder thereof;
Fig. 4 is the rewinding mechanism of this automatic obbbin cutting and rewinding machine, rolls up the structural representation of mechanism and part paper feeding core mechanism again;
Fig. 5 is after the rewinding of this automatic obbbin cutting and rewinding machine is accomplished, the scheme drawing before the paper feeding core;
Fig. 6 is the paper feeding core of this automatic obbbin cutting and rewinding machine, and the paper roll that rewinding is good pushes roll up the structural representation of mechanism to again;
Fig. 7 is the scheme drawing before the disconnected paper of this automatic obbbin cutting and rewinding machine, the spray glue;
Fig. 8 is the scheme drawing of the disconnected paper of this automatic obbbin cutting and rewinding machine, spray glue;
Fig. 9 is this automatic obbbin cutting and rewinding machine with paper to blowing down folding, coats the scheme drawing of refill;
Figure 10 is the flexible plate of this automatic obbbin cutting and rewinding machine refill that paper is slotting and the scheme drawing between the rewind roll of back;
The paper roll that it is good with rewinding that Figure 11 is the carrying slide block of this automatic obbbin cutting and rewinding machine moves to the scheme drawing of winding up roller below again;
Figure 12 is after the volume again of this automatic obbbin cutting and rewinding machine is accomplished, the scheme drawing of finished product discharging.
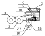
Among the figure: 1 is last rewind roll; 2 is preceding rewind roll; 3 is the back rewind roll; 4 is refill; 5 for rotating addendum cone; 6 is last winding up roller again; 7 is preceding winding up roller again; 8 be after winding up roller again; 9 is vertical chute; 10 is finished roll; 11 are the carrying slide block; 12 is glue-spraying device; 13 are disconnected paper cutter; 14 is supporting plate; 15 is the refill push pedal; 16 is lift cylinder; 17 are the downslide swash plate; 18 for pushing away the refill cylinder; 19 is cross bar; 20 is shifting board; 21 is oblique arm; 22 is stay cord; 23 are flexible plate; 24 is paper; 25 is the power-assisted roller; 26 are the discharging cylinder; 27 is finished product coil paper slideway; 28 is unreeling structure; 29 is cutting mechanism; 30 for driving the carrying cylinder of carrying slide block.
The specific embodiment
Embodiment one: shown in Fig. 1-12; This automatically obbbin cutting and rewinding machine comprise unreeling structure 28, cutting mechanism 29, rewinding mechanism, roll up mechanism, disconnected paper glue-spraying mechanism and paper feeding core mechanism again; Said mechanism concerted action under the control of PLC controller is characterized in that: said rewinding mechanism comprises rewind roll 1, preceding rewind roll 2 and back rewind roll 3, and last rewind roll 1 is controlled dance roller; Preceding rewind roll 2 is positioned at rewind roll 1 below with back rewind roll 3; Three rewind roll are parallel, and to have a rewind roll among the three at least be the stranding winding up roller that has external force to drive, the external diameter of the minimum clearance≤refill 4 between preceding rewind roll 2 and the back rewind roll 3; Form a groove between the two, this groove is provided with a pair of rotation addendum cone 5 that moves radially.
Said roll up again mechanism comprise again winding up roller 6, preceding winding up roller again 7 and after winding up roller 8 again; On again winding up roller 6 two ends be arranged in the vertical chute 9; Before again winding up roller 7 with after again winding up roller 8 be positioned at again winding up roller 6 belows, three winding up roller is parallel again, and have at least among the three one again winding up roller be the stranding winding up roller that has external force to drive; Before again winding up roller 7 and after the external diameter of the minimum clearance≤finished roll between the winding up roller 8 10 again; Before again winding up roller 7 with after again winding up roller 8 a carrying slide block 11 is set, before this carrying slide block 11 can drive again winding up roller 7 and after winding up roller 8 translation between upstream and downstream again, move to again winding up roller 6 times so as to the paper roll that rewinding is good; After volume is accomplished again, finished product is moved to the 27 top dischargings of finished product coil paper slideway.On winding up roller 6 diameters are unsuitable big again, in order to avoid increase carrying slide block moving resistance.
Said disconnected paper glue-spraying mechanism is arranged on rewinding mechanism and rolls up between the mechanism again, and this disconnected paper glue-spraying mechanism comprises glue-spraying device 12 and disconnected paper cutter 13, and the nozzle of glue-spraying device 12 points to below, disconnected paper cutter 13 downstream.
Be provided with supporting plate 14 between said disconnected paper glue-spraying mechanism and the rewinding mechanism, this supporting plate 14 is positioned at disconnected paper cutter 13 upper reaches, has gas hole in a row on it; Above-mentioned gas hole communicates with controlled source of the gas (not shown), said paper feeding core mechanism involving vibrations dish (not shown) and refill push pedal 15, and wherein the discharging track of vibrating disk is connected with the refill push pedal 15 of rewinding mechanism oblique upper mutually; Refill push pedal 15 is furnished with lift cylinder 16, and refill push pedal 15 the place aheads are provided with a downslide swash plate 17, and downslide swash plate 17 lower ends extend to groove; Downslide swash plate 17 upper ends are provided with one and push away refill cylinder 18, and this pushes away refill cylinder 18 front ends and is provided with cross bar 19, are hinged with shifting board 20 on this cross bar 19; Shifting board 20 is provided with oblique arm 21, is that stay cord 22 is arranged on this oblique arm 21, and stay cord 22 other ends are fixed; After last rewind roll 1 rose, it was descending to push away refill cylinder 18 drive shifting boards 20, during to end of travel; Stay cord 22 is tightened; Tear on the shifting board 20 and turn over, refill 4 is placed on the said groove, simultaneously that rewinding is good paper roll is chosen to rolling up in the mechanism again; Last rewind roll 1 upper reaches are provided with a flexible plate 23, and when this flexible plate extended terminal point 23 times, its front end can insert refill 4 with paper 24 and locate with the point of contact of back rewind roll 8, and refill push pedal 15 ends are provided with the refill feed and end the switch (not shown).
The discharging track top of vibrating disk is provided with a power-assisted roller 25, and this power-assisted roller 25 is furnished with drive motor, and its axial line is perpendicular to the discharging track, and its excircle is provided with interior concave ring groove, and refill 4 contacts with this interior concave ring groove.
Before again winding up roller 7, after also be provided with discharging cylinder 26 again between the winding up roller 8; When discharging cylinder 26 shrinks; Forward and backward winding up roller again 7, the gap between 8 be less than the external diameter of finished product coil paper 10, and when discharging cylinder 26 stretched, forward and backward winding up roller again 7, the gap between 8 were greater than the external diameter of finished product coil paper 10; Forward and backward winding up roller again 7,8 belows are provided with finished product coil paper slideway 27, and finished product coil paper slideway 27 cross sections are curved.
Said disconnected paper glue-spraying mechanism comprises slide rail and slide block, and wherein slide rail is parallel to rewind roll, and slide block is arranged on the slide rail, and is furnished with actuating device, and said glue-spraying device 12 is arranged on the slide block with disconnected paper cutter 13.Said glue-spraying device 12 can be selected the air atomization glue-spraying device for use.

Claims (6)

1. an automatic obbbin cutting and rewinding machine comprises unreeling structure, cutting mechanism, rewinding mechanism, disconnected paper glue-spraying mechanism and paper feeding core mechanism, said mechanism concerted action under the control of PLC controller; It is characterized in that: said rewinding mechanism comprises rewind roll, preceding rewind roll and back rewind roll; Last rewind roll is controlled dance roller, and preceding rewind roll is positioned at the rewind roll below with the back rewind roll, and three rewind roll are parallel; And having a rewind roll among the three at least is the stranding winding up roller that has external force to drive; The external diameter of the minimum clearance≤refill between preceding rewind roll and the back rewind roll forms a groove between the two, this groove is provided with a pair of rotation addendum cone that moves radially.
2. automatic obbbin cutting and rewinding machine according to claim 1; It is characterized in that: it also comprises rolls up mechanism again, said roll up again mechanism comprise again winding up roller, preceding winding up roller again and after winding up roller again, on again the winding up roller two ends be arranged in the vertical chute; Before again winding up roller with after again winding up roller be positioned at again winding up roller below; Three winding up roller is parallel again, and have at least among the three one again winding up roller be the stranding winding up roller that has external force to drive, preceding winding up roller again and after the minimum clearance between the winding up roller≤finished roll external diameter again; Before again winding up roller with after again winding up roller be provided with one the carrying slide block, before this carrying slide block can drive again winding up roller and after winding up roller translation between upstream and downstream again;
Said disconnected paper glue-spraying mechanism is arranged on rewinding mechanism and rolls up between the mechanism again, and this disconnected paper glue-spraying mechanism comprises glue-spraying device and disconnected paper cutter, and the nozzle of glue-spraying device points to below, disconnected paper cutter downstream.
3. automatic obbbin cutting and rewinding machine according to claim 2 is characterized in that: be provided with supporting plate between said disconnected paper glue-spraying mechanism and the rewinding mechanism, this supporting plate is positioned at the disconnected paper cutter upper reaches, has gas hole in a row on it; Above-mentioned gas hole communicates with controlled source of the gas, said paper feeding core mechanism involving vibrations dish and refill push pedal, and wherein the discharging track of vibrating disk is connected with the refill push pedal of rewinding mechanism oblique upper mutually, and the refill push pedal is furnished with lift cylinder; Refill push pedal the place ahead is provided with a downslide swash plate, and downslide swash plate lower end extends to groove, and downslide swash plate upper end is provided with one and pushes away the refill cylinder; This pushes away refill cylinder front end and is provided with cross bar, is hinged with shifting board on this cross bar, and shifting board is provided with oblique arm; Be that stay cord is arranged on this oblique arm, the stay cord other end is fixed, after last rewind roll rises; It is descending to push away refill cylinder drive shifting board, and during to end of travel, stay cord is tightened; Tear on the shifting board and turn over, refill is placed on the said groove, simultaneously that rewinding is good paper roll is chosen to forward and backward winding up roller again; The last rewind roll upper reaches are provided with a flexible plate, and when extending terminal point under this flexible plate, its front end can insert refill with paper and locate with the point of contact of back rewind roll, and refill push pedal end is provided with the refill feed and ends switch.
4. automatic obbbin cutting and rewinding machine according to claim 3; It is characterized in that: the discharging track top of vibrating disk is provided with a power-assisted roller, and this power-assisted roller is furnished with drive motor, and its axial line is perpendicular to the discharging track; Its excircle is provided with interior concave ring groove, and refill contacts with this interior concave ring groove.
5. automatic obbbin cutting and rewinding machine according to claim 4; It is characterized in that: preceding winding up roller again, after also be provided with the discharging cylinder again between the winding up roller, when the discharging cylinder shrank, forward and backward gap between the winding up roller again was less than finished product coil paper external diameter; When the discharging cylinder stretches; Forward and backward gap between the winding up roller again is greater than finished product coil paper external diameter, and forward and backward winding up roller again below is provided with finished product coil paper slideway, and finished product coil paper slideway cross section is curved.
6. automatic obbbin cutting and rewinding machine according to claim 5; It is characterized in that: said disconnected paper glue-spraying mechanism comprises slide rail and slide block, and wherein slide rail is parallel to rewind roll, and slide block is arranged on the slide rail; Said glue-spraying device and disconnected paper cutter just are arranged on the slide block, and are furnished with actuating device.
CN2011203084778U 2011-08-23 2011-08-23 Automatic bobbin slitting rewinder Expired - Fee Related CN202219996U (en)

Priority Applications (1)

Application Number Priority Date Filing Date Title
CN2011203084778U CN202219996U (en) 2011-08-23 2011-08-23 Automatic bobbin slitting rewinder

Applications Claiming Priority (1)

Application Number Priority Date Filing Date Title
CN2011203084778U CN202219996U (en) 2011-08-23 2011-08-23 Automatic bobbin slitting rewinder

Publications (1)

Publication Number Publication Date
CN202219996U true CN202219996U (en) 2012-05-16

Family

ID=46042026

Family Applications (1)

Application Number Title Priority Date Filing Date
CN2011203084778U Expired - Fee Related CN202219996U (en) 2011-08-23 2011-08-23 Automatic bobbin slitting rewinder

Country Status (1)

Country Link
CN (1) CN202219996U (en)

Cited By (13)

* Cited by examiner, † Cited by third party
Publication number Priority date Publication date Assignee Title
CN102303787A (en) * 2011-08-23 2012-01-04 王良忠 Automatic bobbin paper slitting and rewinding machine
CN102730459A (en) * 2012-05-28 2012-10-17 岳阳林纸股份有限公司 Method for optimizing electric braking of paper core barrel lifting machine of rewinder
CN103662946A (en) * 2013-12-25 2014-03-26 常熟市高新造纸机械有限公司 Novel rewinder
CN105129470A (en) * 2013-12-31 2015-12-09 黄聪伟 Automatic single raw material strip rewinding production line with automatic full wheel packaging device
CN105965960A (en) * 2016-06-21 2016-09-28 广州九恒条码有限公司 Paper roll slitting and winding device
CN106516826A (en) * 2016-12-16 2017-03-22 常州数控技术研究所 Economical single-drive shaftless surface winding machine
CN108238472A (en) * 2018-02-13 2018-07-03 福建富易天龙智能科技有限公司 It is a kind of to have the method and apparatus that wicking surface batches
CN109051948A (en) * 2018-07-09 2018-12-21 广东辰宇电气有限公司 Electrical control system of rewinding machine
CN109262727A (en) * 2018-11-03 2019-01-25 潍坊恒诚祥精密机械科技有限公司 Full-automatic cutting machine
CN112678572A (en) * 2020-12-20 2021-04-20 苏州圣迪尔机电科技有限公司 Full-automatic surface reeling machine
CN113306216A (en) * 2020-09-03 2021-08-27 汕头市佳宏纸制品有限公司 Rod rolling machine
CN115385150A (en) * 2022-11-01 2022-11-25 扬州阿特兰新材料有限公司 Non-woven fabric processing equipment
CN117142204A (en) * 2023-09-12 2023-12-01 广东包庄科技有限公司 Automatic paper rolling machine and paper rolling method

Cited By (21)

* Cited by examiner, † Cited by third party
Publication number Priority date Publication date Assignee Title
CN102303787A (en) * 2011-08-23 2012-01-04 王良忠 Automatic bobbin paper slitting and rewinding machine
CN102303787B (en) * 2011-08-23 2013-07-31 王良忠 Automatic bobbin paper slitting and rewinding machine
CN102730459A (en) * 2012-05-28 2012-10-17 岳阳林纸股份有限公司 Method for optimizing electric braking of paper core barrel lifting machine of rewinder
CN103662946A (en) * 2013-12-25 2014-03-26 常熟市高新造纸机械有限公司 Novel rewinder
CN105129470A (en) * 2013-12-31 2015-12-09 黄聪伟 Automatic single raw material strip rewinding production line with automatic full wheel packaging device
CN105151871A (en) * 2013-12-31 2015-12-16 黄聪伟 Single-body teflon tape automatic rewinding production line with tape cutting tool rest
CN105173839A (en) * 2013-12-31 2015-12-23 黄聪伟 Monomer raw material strip automatic rewinding production line reliable in winding
CN105173838A (en) * 2013-12-31 2015-12-23 黄聪伟 Monomer raw material strip automatic rewinding production line with idler wheel supplying device
CN105173837A (en) * 2013-12-31 2015-12-23 黄聪伟 Monomer raw material strip automatic rewinding production line with winding tension magnetically controlled
CN105236186A (en) * 2013-12-31 2016-01-13 黄聪伟 Automatic single raw material belt rewinding production line with master belt supplying device
CN105965960A (en) * 2016-06-21 2016-09-28 广州九恒条码有限公司 Paper roll slitting and winding device
CN106516826A (en) * 2016-12-16 2017-03-22 常州数控技术研究所 Economical single-drive shaftless surface winding machine
CN106516826B (en) * 2016-12-16 2018-04-17 常州数控技术研究所 Economical single shaftless surface winder of driving
CN108238472A (en) * 2018-02-13 2018-07-03 福建富易天龙智能科技有限公司 It is a kind of to have the method and apparatus that wicking surface batches
CN109051948A (en) * 2018-07-09 2018-12-21 广东辰宇电气有限公司 Electrical control system of rewinding machine
CN109262727A (en) * 2018-11-03 2019-01-25 潍坊恒诚祥精密机械科技有限公司 Full-automatic cutting machine
CN109262727B (en) * 2018-11-03 2023-11-10 潍坊恒诚祥精密机械科技有限公司 Full-automatic dividing and cutting machine
CN113306216A (en) * 2020-09-03 2021-08-27 汕头市佳宏纸制品有限公司 Rod rolling machine
CN112678572A (en) * 2020-12-20 2021-04-20 苏州圣迪尔机电科技有限公司 Full-automatic surface reeling machine
CN115385150A (en) * 2022-11-01 2022-11-25 扬州阿特兰新材料有限公司 Non-woven fabric processing equipment
CN117142204A (en) * 2023-09-12 2023-12-01 广东包庄科技有限公司 Automatic paper rolling machine and paper rolling method

Similar Documents

Publication Publication Date Title
CN202219996U (en) Automatic bobbin slitting rewinder
CN102303787B (en) Automatic bobbin paper slitting and rewinding machine
CN103043477B (en) A kind of rolling material-receiving device
CN101264835B (en) Winding machine
CN103950779B (en) A kind of capstan head cutting machine
ITFI20100245A1 (en) "REWINDING MACHINE AND WINDING METHOD"
CN112607083B (en) Roll paper film-drawing packaging method
CN102514238A (en) Paper rod manufacture machine
KR20170039163A (en) Rewinding machine and method for producing logs of web material
CN202389998U (en) Novel rewinder
CN201598053U (en) Winding device for film coating rewinder
CN103708261B (en) Ceaseless-conveying type foamed plastic continuous material receiving process and material receiving system
CN201077168Y (en) Full-automatic numerical control random cutting plane-winding paper tube machine
CN209009756U (en) It is a kind of with storing without tailing wrap-up
ITFI20090125A1 (en) SYSTEM AND ANIME EXCHANGE METHOD IN WRAPPING MACHINES
CN201240715Y (en) Winding machine
CN204702266U (en) For the Webbing take-up device of slitting rewinder
CN103350920B (en) Metallic card clothing automatic paper putting machine
CN203529571U (en) Full-automatic flexible graphite slitting machine
CN203064866U (en) Thick paper rolling and receiving device
CN206857058U (en) The envelope paper device of rewinding machine
CN204689197U (en) For the shutoff device of slitting rewinder
CN2895345Y (en) Fracture-even non-stop roll-change automatic rewinding machine
CN203245910U (en) Slitting device of slitting machine
CN210064687U (en) Double-layer multifunctional bobbin cutter

Legal Events

Date Code Title Description
C14 Grant of patent or utility model
GR01 Patent grant
C41 Transfer of patent application or patent right or utility model
TR01 Transfer of patent right

Effective date of registration: 20160918

Address after: Xiangzhou District of Guangdong city in Zhuhai Province before the town 519000 community Chung Industrial Zone No. 5 Shengli Road No. 3 Building 2 layer C

Patentee after: Zhuhai Zhongya Package Equipment Co.,Ltd.

Address before: 519000 Zhongya Packing Equipment Co., Ltd., No. 50, Jinshan Road, Pearl Road, Zhuhai, Guangdong

Patentee before: Wang Liangzhong

CF01 Termination of patent right due to non-payment of annual fee

Granted publication date: 20120516

Termination date: 20200823

CF01 Termination of patent right due to non-payment of annual fee