CN202194380U - 模板加固器 - Google Patents
模板加固器 Download PDFInfo
- Publication number
- CN202194380U CN202194380U CN201120250898XU CN201120250898U CN202194380U CN 202194380 U CN202194380 U CN 202194380U CN 201120250898X U CN201120250898X U CN 201120250898XU CN 201120250898 U CN201120250898 U CN 201120250898U CN 202194380 U CN202194380 U CN 202194380U
- Authority
- CN
- China
- Prior art keywords
- bar
- long straight
- main
- rod
- buckling
- Prior art date
- Legal status (The legal status is an assumption and is not a legal conclusion. Google has not performed a legal analysis and makes no representation as to the accuracy of the status listed.)
- Expired - Lifetime
Links
- 230000003014 reinforcing effect Effects 0.000 title abstract description 5
- 238000009415 formwork Methods 0.000 claims description 15
- 230000002787 reinforcement Effects 0.000 claims description 15
- 238000009987 spinning Methods 0.000 claims description 3
- 238000010276 construction Methods 0.000 abstract description 10
- 229910000831 Steel Inorganic materials 0.000 description 2
- 230000006835 compression Effects 0.000 description 2
- 238000007906 compression Methods 0.000 description 2
- 239000010959 steel Substances 0.000 description 2
- 230000001419 dependent effect Effects 0.000 description 1
- 238000005516 engineering process Methods 0.000 description 1
- 238000000034 method Methods 0.000 description 1
Images
Landscapes
- Forms Removed On Construction Sites Or Auxiliary Members Thereof (AREA)
Abstract
本实用新型是一种模板加固器,属土建施工辅助装置,包括主卡扣杆和主紧扣杆,其特征是:该主卡扣杆的长直杆为六面体,即其横截面呈六边形,且此长直杆的上表面在长度方向呈波浪形,在长条形的主紧扣杆的上端部对应开设六面形的通孔并滑动安装在长直杆上,同时在此主紧扣杆的顶部开设与六面形通孔相通的螺孔并旋装紧定螺栓,此外,在长直杆上位于主紧扣杆的右部滑动套装呈三角形体的也对应开设有六面形通孔的副紧扣板,有效地避免了因振捣和其他原因致使模板加固器的长直杆产生侧向变形及卡扣松脱的现象,提高了施工质量。
Description
技术领域
本实用新型属土建施工辅助装置,尤其是涉及一种模板加固器。
背景技术
现在通用的模板加固器(谷称步步紧),其大多为扁钢制成,即模板加固器的长直杆为扁钢,在实际施工过程中此长直杆容易产生侧向变形和卡扣件松脱等情况,严重影响混凝土浇筑质量及使用安全。
发明内容
本实用新型的目的是提出一种模板加固器,不仅使用方便,易于加工,而且可重复使用,降低施工成本,有效地避免因振捣和其他原因致使加固器产生侧向变形及卡扣松脱的现象,提高施工质量。
本实用新型的目的是这样来实现的:一种模板加固器,包括主卡扣杆和主紧扣杆,该主卡扣杆由互成直角的垂直向下的长条形左卡扣杆和右置的长直杆组成,在长条形的主紧扣杆的上端段上对应开设通孔以滑动安装在长直杆上,其特征是:该主卡扣杆的长直杆为六面体,即长直杆的横截面呈六边形,且此长直杆的上表面在长度方向呈波浪形,在长条形的主紧扣杆的上端部对应开设六面形的通孔并滑动安装在长直杆上,同时在此主紧扣杆的顶部开设与六面形通孔相通的螺孔并旋装紧定螺栓,此外,在主卡扣杆的长直杆上位于主紧扣杆的右部滑动套装呈三角形体的也对应开设有六面形通孔的副紧扣板。
使用时,先拧松紧定螺栓,使主紧扣杆和副紧扣板均在主卡扣杆的长直杆上右移,将主卡扣杆左端的长条形左卡扣杆压定在左侧模板的外表面上,再往左推移主紧扣杆,使主紧扣杆顶住右侧模板的外表面,然后拧紧紧定螺栓,最后往左推移副紧扣板,使之顶住主紧扣杆,就有效地避免了因振捣和其他原因致使模板加固器的长直杆产生侧向变形及卡扣松脱的现象,提高施工质量。
本实用新型所提出的模板加固器,结构简单,使用安全可靠,可重复使用,降低施工成本,有效地避免了因振捣和其他原因致使模板加固器的长直杆产生侧向变形及卡扣松脱的现象,提高了施工质量。
现结合附图和实施例对本实用新型提出的模板加固器作进一步说明。
附图说明
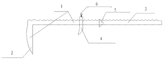
图1是本实用新型所提出的模板加固器的主视示意图。
图2是本实用新型所提出的模板加固器使用时的主视示意图。
图1、图2中:
1、主卡扣杆 2、左卡扣杆 3、长直杆 4、主紧扣杆 5、副紧扣板 6、紧定螺栓。
具体实施方式
从图1、图2可以看出:一种模板加固器,包括主卡扣杆1和主紧扣杆4,该主卡扣杆1由互成直角的垂直向下的长条形左卡扣杆2和右置的长直杆3组成,在长条形的主紧扣杆4的上端段上对应开设通孔以滑动安装在长直杆3上,其特征是:该主卡扣杆1的长直杆3为六面体,即长直杆3的横截面呈六边形,且此长直杆3的上表面在长度方向呈波浪形,在长条形的主紧扣杆4的上端部对应开设六面形的通孔并滑动安装在长直杆3上,同时在此主紧扣杆4的顶部开设与六面形通孔相通的螺孔并旋装紧定螺栓6,此外,在主卡扣杆1的长直杆3上位于主紧扣杆4的右部滑动套装呈三角形体的也对应开设有六面形通孔的副紧扣板5。
使用时,先拧松紧定螺栓6,使主紧扣杆4和副紧扣板5均在主卡扣杆1的长直杆3上右移,将主卡扣杆1左端的长条形左卡扣杆2压定在左侧模板的外表面上,再往左推移主紧扣杆4,使主紧扣杆4顶住右侧模板的外表面,然后拧紧紧定螺栓6,最后往左推移副紧扣板5,使之顶住主紧扣杆4,就有效地避免了因振捣和其他原因致使模板加固器的长直杆3产生侧向变形及卡扣松脱的现象,提高了施工质量。
Claims (1)
1.一种模板加固器,包括主卡扣杆(1)和主紧扣杆(4),其特征是:该主卡扣杆(1)的长直杆(3)为六面体,且此长直杆(3)的上表面在长度方向呈波浪形,在长条形的主紧扣杆(4)的上端部对应开设六面形的通孔并滑动安装在长直杆(3)上,同时在此主紧扣杆(4)的顶部开设与六面形通孔相通的螺孔并旋装紧定螺栓(6),此外,在主卡扣杆(1)的长直杆(3)上位于主紧扣杆(4)的右部滑动套装呈三角形体的也对应开设有六面形通孔的副紧扣板(5)。
Priority Applications (1)
| Application Number | Priority Date | Filing Date | Title |
|---|---|---|---|
| CN201120250898XU CN202194380U (zh) | 2011-07-16 | 2011-07-16 | 模板加固器 |
Applications Claiming Priority (1)
| Application Number | Priority Date | Filing Date | Title |
|---|---|---|---|
| CN201120250898XU CN202194380U (zh) | 2011-07-16 | 2011-07-16 | 模板加固器 |
Publications (1)
| Publication Number | Publication Date |
|---|---|
| CN202194380U true CN202194380U (zh) | 2012-04-18 |
Family
ID=45949297
Family Applications (1)
| Application Number | Title | Priority Date | Filing Date |
|---|---|---|---|
| CN201120250898XU Expired - Lifetime CN202194380U (zh) | 2011-07-16 | 2011-07-16 | 模板加固器 |
Country Status (1)
| Country | Link |
|---|---|
| CN (1) | CN202194380U (zh) |
Cited By (3)
| Publication number | Priority date | Publication date | Assignee | Title |
|---|---|---|---|---|
| CN102926531A (zh) * | 2012-05-22 | 2013-02-13 | 江苏兴厦建筑安装有限公司 | 模板加固夹具 |
| CN103321414A (zh) * | 2013-07-04 | 2013-09-25 | 曹玉升 | 由长方形几何体和滚轮组成的锁扣 |
| CN104314307A (zh) * | 2014-11-04 | 2015-01-28 | 曹玉升 | 浇筑水工混凝土使用的固定模板器材 |
-
2011
- 2011-07-16 CN CN201120250898XU patent/CN202194380U/zh not_active Expired - Lifetime
Cited By (4)
| Publication number | Priority date | Publication date | Assignee | Title |
|---|---|---|---|---|
| CN102926531A (zh) * | 2012-05-22 | 2013-02-13 | 江苏兴厦建筑安装有限公司 | 模板加固夹具 |
| CN103321414A (zh) * | 2013-07-04 | 2013-09-25 | 曹玉升 | 由长方形几何体和滚轮组成的锁扣 |
| CN103321414B (zh) * | 2013-07-04 | 2015-07-01 | 曹玉升 | 由长方形几何体和滚轮组成的浇筑混凝土模板锁扣 |
| CN104314307A (zh) * | 2014-11-04 | 2015-01-28 | 曹玉升 | 浇筑水工混凝土使用的固定模板器材 |
Similar Documents
| Publication | Publication Date | Title |
|---|---|---|
| CN204098231U (zh) | 一种预埋件安装工装 | |
| CN202194380U (zh) | 模板加固器 | |
| CN202430997U (zh) | 一种电梯井或集水坑模板的加固装置 | |
| CN204940860U (zh) | 一种防止模板上浮件 | |
| CN202937005U (zh) | 现浇混凝土梁侧模板加固装置 | |
| CN201483208U (zh) | 柴油机主轴承盖的拆卸工具 | |
| CN203201121U (zh) | 新型抹泥板 | |
| CN201483461U (zh) | 一种双锤头敲击工具 | |
| CN202073091U (zh) | 预应力混凝土管桩端板 | |
| CN202925911U (zh) | 竖向预应力筋张拉辅助工具 | |
| CN204505518U (zh) | 水泥石板立模机的清理装置 | |
| CN205677664U (zh) | 一种柔性模板加固装置 | |
| CN202187550U (zh) | 模板夹紧器 | |
| RU143290U1 (ru) | Клиновой замок | |
| CN203926295U (zh) | 一种绳锯机底座用钉子 | |
| CN203188601U (zh) | 一种脚手板防翘头夹具 | |
| CN206234303U (zh) | 一种复合型螺旋限位弹簧 | |
| CN206319492U (zh) | 一种钢筋分布间距控制器 | |
| CN203875807U (zh) | 轻质隔墙板立模机的长度调节器上用的剖分式扳手 | |
| CN204299177U (zh) | 构件模板的卡具 | |
| CN203284041U (zh) | 更换精锻机锤头滑道吊具 | |
| CN104399560A (zh) | 一种岩石破碎锤 | |
| CN202399236U (zh) | 异质双锤头敲击榔头 | |
| CN102220761A (zh) | 预应力混凝土管桩端板 | |
| CN201544199U (zh) | 一种带榔头的安全锤 |
Legal Events
| Date | Code | Title | Description |
|---|---|---|---|
| C14 | Grant of patent or utility model | ||
| GR01 | Patent grant | ||
| CX01 | Expiry of patent term | ||
| CX01 | Expiry of patent term |
Granted publication date: 20120418 |