CN202172536U - Outdoor floor type equipment comprehensive cabinet - Google Patents
Outdoor floor type equipment comprehensive cabinet Download PDFInfo
- Publication number
- CN202172536U CN202172536U CN2011202446555U CN201120244655U CN202172536U CN 202172536 U CN202172536 U CN 202172536U CN 2011202446555 U CN2011202446555 U CN 2011202446555U CN 201120244655 U CN201120244655 U CN 201120244655U CN 202172536 U CN202172536 U CN 202172536U
- Authority
- CN
- China
- Prior art keywords
- casing
- box
- box body
- rain
- outer edge
- Prior art date
- Legal status (The legal status is an assumption and is not a legal conclusion. Google has not performed a legal analysis and makes no representation as to the accuracy of the status listed.)
- Expired - Lifetime
Links
Images
Classifications
-
- Y—GENERAL TAGGING OF NEW TECHNOLOGICAL DEVELOPMENTS; GENERAL TAGGING OF CROSS-SECTIONAL TECHNOLOGIES SPANNING OVER SEVERAL SECTIONS OF THE IPC; TECHNICAL SUBJECTS COVERED BY FORMER USPC CROSS-REFERENCE ART COLLECTIONS [XRACs] AND DIGESTS
- Y02—TECHNOLOGIES OR APPLICATIONS FOR MITIGATION OR ADAPTATION AGAINST CLIMATE CHANGE
- Y02A—TECHNOLOGIES FOR ADAPTATION TO CLIMATE CHANGE
- Y02A30/00—Adapting or protecting infrastructure or their operation
- Y02A30/14—Extreme weather resilient electric power supply systems, e.g. strengthening power lines or underground power cables
Landscapes
- Casings For Electric Apparatus (AREA)
Abstract
本实用新型涉及一种室外落地式设备综合机箱,是由箱体、箱门,和盖于箱体上端的防雨棚组成。箱体为一端面敞口的空腔体,在其敞口端活络连接有箱门,在箱体和箱门对应处装设有锁扣,在箱体内后壁处固定有温控器。在箱体上端面开有两口,两口内分别装设排气风扇和吸气风扇,温控器与排气风扇和吸气风扇串联。箱体上端面周边向外延伸,形成外沿,外沿上遍布通风孔,四角开有螺孔。外沿上覆盖有防尘网,防尘网上压盖有防雨棚,防雨棚为下端敞口的空腔体,在下端敞口内设有内沿,内沿下端面设有密封条,内沿四角开有螺孔,防雨棚通过螺栓与外沿固定连接。本实用新型在防水的同时,可保持箱内与外界良好的热交换,提供了电子设备在箱体内干燥、温度适中的工作环境,延长了电子设备的使用寿命。
The utility model relates to an outdoor floor-standing equipment comprehensive box, which is composed of a box body, a box door, and a rainproof shed covering the upper end of the box body. The box body is a hollow body with an open end face, and a box door is flexibly connected to the open end, a lock is installed at the corresponding position of the box body and the box door, and a thermostat is fixed at the rear wall of the box body. There are two openings on the upper end surface of the box body, an exhaust fan and an air suction fan are respectively installed in the two openings, and the temperature controller is connected in series with the exhaust fan and the air suction fan. The periphery of the upper end surface of the box body extends outwards to form an outer edge, the outer edge is covered with ventilation holes, and the four corners are provided with screw holes. The outer edge is covered with a dust-proof net, and the dust-proof net is covered with a rain-proof shed. The rain-proof shed is a hollow body with an open lower end. An inner edge is provided in the lower end opening, and a sealing strip is provided on the lower end surface of the inner edge. There are screw holes at the four corners of the inner edge, and the rainproof shed is fixedly connected with the outer edge by bolts. While being waterproof, the utility model can maintain good heat exchange between the box and the outside, provides a dry and moderate temperature working environment for the electronic equipment in the box, and prolongs the service life of the electronic equipment.
Description
一、技术领域:本实用新型涉及一种室外机箱,尤其涉及一种室外落地式设备综合机箱。1. Technical field: The utility model relates to an outdoor cabinet, in particular to an outdoor floor-standing equipment integrated cabinet.
二、背景技术:随着城市信息化、电子化、网络化进程的加快,电子设备在室内和室外均得到了广泛的应用,例如交通路口的电子眼,交通诱导屏,交通信号灯,WiFi等。为保护这些设备,延长其使用寿命,需要在将电子设备放置在保护机箱内。由于室外环境的复杂多变,雨水的腐蚀、太阳的暴晒、风尘的侵扰,故室外机箱的防水、散热性能是决定机箱是否经久耐用,起到保护内部设备的重要性能。通常机箱箱门采用内嵌式,但是内嵌式箱门为保证箱门顺利开关,必须在左右侧面留下足够大的空隙,导致雨水容易流入向内,为加强防水性能,就要求提高防水条的质量和防水效果。如果箱体的防水做的不好,会导致箱体内的设备因受潮或浸水而元器件容易老化、生锈,严重的会使线路短路烧坏设备。防水和散热是一对矛盾关系,为保证箱体的防水效果,尽量不在箱体上留有空隙,但这样使箱体内的空气不流通,而且室外箱体直接受到太阳照射,在炎热天气状况下设备箱内温度会很高,加上电子设备本身发出的热量,所以电子部件容易长期在高温环境下工作,非常容易发生故障和损坏。2. Background technology: With the acceleration of urban informatization, electronicization, and networking, electronic equipment has been widely used indoors and outdoors, such as electronic eyes at traffic intersections, traffic guidance screens, traffic lights, WiFi, etc. In order to protect these devices and prolong their service life, it is necessary to place the electronic devices in a protective case. Due to the complex and changeable outdoor environment, rain corrosion, sun exposure, and wind and dust intrusion, the waterproof and heat dissipation performance of the outdoor chassis is an important performance that determines whether the chassis is durable and protects the internal equipment. Usually, the cabinet door is built-in, but in order to ensure the smooth opening and closing of the door, the built-in door must leave a large enough gap on the left and right sides, so that rainwater can easily flow inward. In order to enhance the waterproof performance, it is required to improve the waterproof strip quality and waterproof effect. If the waterproofing of the box is not done well, it will cause the equipment in the box to be easily aged and rusted due to moisture or water immersion, and in serious cases, the circuit will be short-circuited and the equipment will be burned. Waterproof and heat dissipation are a contradictory relationship. In order to ensure the waterproof effect of the box, try not to leave a gap on the box, but this will prevent the air in the box from circulating, and the outdoor box is directly exposed to the sun. The temperature inside the equipment box will be very high, plus the heat emitted by the electronic equipment itself, so the electronic components are easy to work in a high temperature environment for a long time, and are very prone to failure and damage.
三、发明内容:本实用新型的目的在于提出一种将防水和散热有效结合,互不影响的室外落地式设备综合机箱。3. Summary of the invention: The purpose of this utility model is to propose an outdoor floor-standing equipment integrated chassis that effectively combines waterproof and heat dissipation without affecting each other.
本实用新型的目的是这样实现的:室外落地式设备综合机箱,是由箱体、箱门,和盖于箱体上端的防雨棚组成。箱体为一端面敞口的空腔体,在其敞口端活络连接有箱门,在箱体和箱门对应处装设有锁扣,在箱体内后壁处固定有温控器。在箱体上端面开有两口,两口内分别装设排气风扇和吸气风扇,温控器与排气风扇和吸气风扇串联。箱体的上端面周边向外延伸,形成外沿,在外沿上遍布通风孔,四角开有螺孔。在外沿上覆盖有防尘网,防尘网上压盖有防雨棚,防雨棚为下端敞口的空腔体,在下端敞口内设有内沿,内沿下端面设有密封条,内沿四角开有螺孔,防雨棚通过螺栓与外沿固定连接。The purpose of this utility model is achieved in that the outdoor floor-standing equipment integrated cabinet is made up of a casing, a casing door, and a rainproof shed covered on the casing upper end. The box body is a hollow body with an open end face, and a box door is flexibly connected to the open end, a lock is installed at the corresponding position of the box body and the box door, and a thermostat is fixed at the rear wall of the box body. There are two openings on the upper end surface of the box body, an exhaust fan and an air suction fan are respectively installed in the two openings, and the temperature controller is connected in series with the exhaust fan and the air suction fan. The periphery of the upper end surface of the box body extends outwards to form an outer edge, and ventilation holes are spread all over the outer edge, and screw holes are provided at the four corners. The outer edge is covered with a dust-proof net, and the dust-proof net is covered with a rain-proof shed. The rain-proof shed is a hollow body with an open lower end. An inner edge is provided in the lower end opening, and a sealing strip is provided on the lower end surface of the inner edge. There are screw holes at the four corners of the inner edge, and the rainproof shed is fixedly connected with the outer edge by bolts.
由于实施上述技术方案,本实用新型在防水的同时,可保持箱内与外界良好的热交换,提供了电子设备在箱体内干燥、温度适中的工作环境,延长了电子设备的使用寿命。Due to the implementation of the above technical solution, the utility model can maintain good heat exchange between the box and the outside while being waterproof, provides a dry and moderate temperature working environment for the electronic equipment in the box, and prolongs the service life of the electronic equipment.
四、附图说明:本实用新型的具体结构由以下的附图和实施例给出:Four, accompanying drawing description: the concrete structure of the present utility model is provided by following accompanying drawing and embodiment:
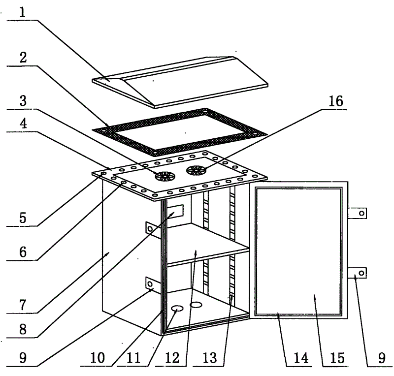
图1是室外落地式设备综合机箱结构示意图。Figure 1 is a schematic structural diagram of an integrated chassis for outdoor floor-standing equipment.
图例:1、防雨棚,2、防尘网,3、排气风扇,4、外沿,5、螺孔,6、通风孔,7、箱体,8、温控器,9、锁扣,10、凸圈,11、穿线孔,12、安装架,13、走线架,14、凹槽,15、箱门,16、吸气风扇。Legend: 1. Rainproof shed, 2. Dustproof net, 3. Exhaust fan, 4. Outer edge, 5. Screw hole, 6. Ventilation hole, 7. Box body, 8. Thermostat, 9. Lock , 10, convex ring, 11, threading hole, 12, mounting frame, 13, wiring frame, 14, groove, 15, box door, 16, suction fan.
五、具体实施方式: 5. Specific implementation methods:
本实用新型不受下述实施例的限制,可根据本实用新型的技术方案与实际情况来确定具体的实施方式。The utility model is not limited by the following examples, and the specific implementation manner can be determined according to the technical scheme of the utility model and actual conditions.
实施例:如图1所示,室外落地式设备综合机箱是由箱体7、箱门15,和盖于箱体7上端的防雨棚1组成。箱体7为一端面敞口的空腔体,在其敞口端活络连接有箱门15,在箱体7和箱门15对应处装设有锁扣9,锁扣9采用强拉式机箱锁。在箱体7内两侧壁处设置有竖向的走线架13,在走线架13间搭接有安装架12。在箱体7内后壁处固定有温控器8。在箱体7上端面开有两口,两口内分别装设排气风扇3和吸气风扇16,温控器8与排气风扇3和吸气风扇16串联,控制两风扇的启动与停止。在箱体7下端面开有两穿线孔11,分别用于进线和出线。为防止老鼠和水通过穿线孔11进入箱体7内,穿线孔11内塞有碗状的橡胶垫。在穿线孔11未使用的情况下,橡胶垫不开孔,只有在穿线时,再做孔穿线,并用腊和面纱做封堵处理。箱体7的上端面周边向外延伸,形成外沿4,在外沿4上遍布通风孔6,四角开有螺孔5。在外沿4上覆盖有防尘网2,防尘网2上压盖有防雨棚1,防雨棚1为下端敞口的空腔体,在下端敞口内设有内沿,内沿下端面设有密封条,内沿四角开有螺孔,防雨棚1通过螺栓与外沿4固定连接。防雨棚1下端敞口的形状、长短与箱体7上端面等大,且将通风孔6、排气风扇3和吸气风扇16覆盖在其空腔范围内。Embodiment: As shown in Figure 1, the outdoor floor-standing equipment integrated cabinet is composed of a
在箱体7敞口端面处设有向外突起的凸圈10,在凸圈10上套有防水密封套,在箱门15内侧面处开有对应的凹槽14。当箱门15关闭时,带有防水密封套的凸圈10插入凹槽14内,此种结构可加强密封效果,杜绝雨水进入箱体。An outwardly protruding
在使用时,将电子设备固定在安装架12上,通过走线架13调节安装架12的高度。温控器8根据箱体7内的温度,当箱体7内温度过高时,启动排气风扇3和吸气风扇16,。排气风扇3将高温气体排入防雨棚1,再由通风孔6排出。同时吸气风扇16将外界低温空气由通风孔6吸入防雨棚1,再吸入箱体7内降温。When in use, the electronic equipment is fixed on the
以上技术特征构成了本实用新型的最佳实施例,其具有较强的适应性和最佳实施效果,可根据实际需要增减非必要技术特征,来满足不同情况的需要。The above technical features constitute the best embodiment of the utility model, which has strong adaptability and best implementation effect, and non-essential technical features can be increased or decreased according to actual needs to meet the needs of different situations.
Claims (5)
Priority Applications (1)
| Application Number | Priority Date | Filing Date | Title |
|---|---|---|---|
| CN2011202446555U CN202172536U (en) | 2011-07-12 | 2011-07-12 | Outdoor floor type equipment comprehensive cabinet |
Applications Claiming Priority (1)
| Application Number | Priority Date | Filing Date | Title |
|---|---|---|---|
| CN2011202446555U CN202172536U (en) | 2011-07-12 | 2011-07-12 | Outdoor floor type equipment comprehensive cabinet |
Publications (1)
| Publication Number | Publication Date |
|---|---|
| CN202172536U true CN202172536U (en) | 2012-03-21 |
Family
ID=45830721
Family Applications (1)
| Application Number | Title | Priority Date | Filing Date |
|---|---|---|---|
| CN2011202446555U Expired - Lifetime CN202172536U (en) | 2011-07-12 | 2011-07-12 | Outdoor floor type equipment comprehensive cabinet |
Country Status (1)
| Country | Link |
|---|---|
| CN (1) | CN202172536U (en) |
Cited By (7)
| Publication number | Priority date | Publication date | Assignee | Title |
|---|---|---|---|---|
| CN103906415A (en) * | 2014-03-31 | 2014-07-02 | 深圳市九洲电器有限公司 | Heat dissipation waterproof structure and set top box thereof |
| CN104082998A (en) * | 2014-07-02 | 2014-10-08 | 苏州博讯仪器有限公司 | Novel instrument cabinet |
| CN104880279A (en) * | 2014-02-28 | 2015-09-02 | 神讯电脑(昆山)有限公司 | Waterproof air exhausting device for notebook computer |
| CN106647967A (en) * | 2016-12-07 | 2017-05-10 | 安庆师范大学 | Waterproof computer case |
| CN106785952A (en) * | 2016-12-15 | 2017-05-31 | 国家电网公司 | A kind of electric power waterproof outdoor use electric power box easy to install |
| CN109638677A (en) * | 2019-01-03 | 2019-04-16 | 邢台职业技术学院 | A kind of distribution box of power equipment of good heat dissipation effect |
| CN110856387A (en) * | 2019-11-19 | 2020-02-28 | 江苏中高俊聪通信科技有限公司 | Dampproofing shock attenuation communication equipment |
-
2011
- 2011-07-12 CN CN2011202446555U patent/CN202172536U/en not_active Expired - Lifetime
Cited By (9)
| Publication number | Priority date | Publication date | Assignee | Title |
|---|---|---|---|---|
| CN104880279A (en) * | 2014-02-28 | 2015-09-02 | 神讯电脑(昆山)有限公司 | Waterproof air exhausting device for notebook computer |
| CN104880279B (en) * | 2014-02-28 | 2017-08-15 | 神讯电脑(昆山)有限公司 | Notebook computer water-proof air extractor |
| CN103906415A (en) * | 2014-03-31 | 2014-07-02 | 深圳市九洲电器有限公司 | Heat dissipation waterproof structure and set top box thereof |
| CN103906415B (en) * | 2014-03-31 | 2016-05-11 | 深圳市九洲电器有限公司 | Waterproof heat dissipation structure and Set Top Box thereof |
| CN104082998A (en) * | 2014-07-02 | 2014-10-08 | 苏州博讯仪器有限公司 | Novel instrument cabinet |
| CN106647967A (en) * | 2016-12-07 | 2017-05-10 | 安庆师范大学 | Waterproof computer case |
| CN106785952A (en) * | 2016-12-15 | 2017-05-31 | 国家电网公司 | A kind of electric power waterproof outdoor use electric power box easy to install |
| CN109638677A (en) * | 2019-01-03 | 2019-04-16 | 邢台职业技术学院 | A kind of distribution box of power equipment of good heat dissipation effect |
| CN110856387A (en) * | 2019-11-19 | 2020-02-28 | 江苏中高俊聪通信科技有限公司 | Dampproofing shock attenuation communication equipment |
Similar Documents
| Publication | Publication Date | Title |
|---|---|---|
| CN202172536U (en) | Outdoor floor type equipment comprehensive cabinet | |
| CN204030518U (en) | The intelligent vent flap of a kind of cable duct of substation | |
| CN209282615U (en) | An outdoor electrical switchgear with a rainproof and moistureproof structure | |
| CN206947806U (en) | A kind of electrical engineering power distribution cabinet for being easy to radiating | |
| CN206558913U (en) | High-voltage distribution box outside a kind of safe moisture proof formula room | |
| CN106532502A (en) | Simple power distribution cabinet | |
| CN206211326U (en) | A kind of distribution box | |
| CN205753013U (en) | A Moisture-proof Switch Cabinet Convenient for Maintenance in Rainy Days | |
| CN106532448A (en) | Power distribution cabinet | |
| CN206041284U (en) | Prefabricated cabin protector | |
| CN104577793A (en) | Energy-saving constant-temperature power distribution cabinet | |
| CN205304041U (en) | Switch board with wind channel structure | |
| CN209594161U (en) | A kind of server in machine room energy-saving cabinet | |
| CN207475312U (en) | A kind of energy saving and environment friendly motor housing | |
| CN206975300U (en) | A kind of fiber cable cross connection box | |
| CN219572181U (en) | Ventilation and dehumidification device for fire pump room | |
| CN204968264U (en) | Novel communication equipment case | |
| CN106532496A (en) | Protection house for electrical equipment | |
| CN211126690U (en) | Switch board that waterproof performance is high | |
| CN204067945U (en) | Outdoor energy-saving power distribution cabinet | |
| CN208849432U (en) | Anti-condensation cable branch box | |
| CN218632848U (en) | Dustproof heat dissipation vent of electric power cabinet | |
| CN205901140U (en) | Outdoor many function synthesis of combination formula block terminal | |
| CN202797686U (en) | Rainproof cooling power distribution cabinet | |
| CN108252937B (en) | A kind of multi-functional lobby fan |
Legal Events
| Date | Code | Title | Description |
|---|---|---|---|
| C14 | Grant of patent or utility model | ||
| GR01 | Patent grant | ||
| C56 | Change in the name or address of the patentee |
Owner name: LEON TECHNOLOGY CO., LTD. Free format text: FORMER NAME: XINJIANG LEON TELECOM TECHNOLOGY CO., LTD. |
|
| CP03 | Change of name, title or address |
Address after: 830011, 21 floor, century Pacific International Center, 416 South Road, Urumqi, the Xinjiang Uygur Autonomous Region, Beijing Patentee after: Leon Technology Co., Ltd. Address before: 830011, Urumqi, Beijing South Road, Diamond City, No. 416, Pacific Century International Center, 21 floor, the Xinjiang Uygur Autonomous Region Patentee before: Xinjiang Leon Telecom Technology Co., Ltd. |
|
| CX01 | Expiry of patent term | ||
| CX01 | Expiry of patent term |
Granted publication date: 20120321 |




