CN202164551U - Hanging basket for suspension pouring arch-type bridge - Google Patents

Hanging basket for suspension pouring arch-type bridge Download PDF

Info

Publication number
CN202164551U
CN202164551U CN2011202076967U CN201120207696U CN202164551U CN 202164551 U CN202164551 U CN 202164551U CN 2011202076967 U CN2011202076967 U CN 2011202076967U CN 201120207696 U CN201120207696 U CN 201120207696U CN 202164551 U CN202164551 U CN 202164551U
Authority
CN
China
Prior art keywords
hanging basket
support
hydraulic jack
arch bridge
piece
Prior art date
Legal status (The legal status is an assumption and is not a legal conclusion. Google has not performed a legal analysis and makes no representation as to the accuracy of the status listed.)
Expired - Lifetime
Application number
CN2011202076967U
Other languages
Chinese (zh)
Inventor
周仲武
Current Assignee (The listed assignees may be inaccurate. Google has not performed a legal analysis and makes no representation or warranty as to the accuracy of the list.)
NRS JIANGSU MACHINERY AND HEAVY INDUSTRY Co Ltd
Original Assignee
NRS JIANGSU MACHINERY AND HEAVY INDUSTRY Co Ltd
Priority date (The priority date is an assumption and is not a legal conclusion. Google has not performed a legal analysis and makes no representation as to the accuracy of the date listed.)
Filing date
Publication date
Application filed by NRS JIANGSU MACHINERY AND HEAVY INDUSTRY Co Ltd filed Critical NRS JIANGSU MACHINERY AND HEAVY INDUSTRY Co Ltd
Priority to CN2011202076967U priority Critical patent/CN202164551U/en
Application granted granted Critical
Publication of CN202164551U publication Critical patent/CN202164551U/en
Anticipated expiration legal-status Critical
Expired - Lifetime legal-status Critical Current

Links

Images

Landscapes

  • Bridges Or Land Bridges (AREA)

Abstract

The utility model relates to a hanging basket for a suspension pouring arched bridge, which comprises a hanging basket rack and a walking mechanism. The hanging basket rack comprises a side truss, a main support beam, an underframe, a bottom template, an inner die support, an inner die, an outer die and a front support. The walking mechanism comprises a propulsion cylinder, a support frame for fixing the propulsion cylinder, and a driving device for the propulsion cylinder. The hanging basket also comprises a hydraulic jack and a triangular support mechanism. The hydraulic jack controls the elevating of a main support beam. The triangular support mechanism comprises a support, a fixing base and a first hydraulic cylinder. The two ends of the first hydraulic cylinder are respectively connected with the support and the fixing base. An arched bridge is divided into a plurality of straight line segments through the hanging basket of the utility model, so that the construction is simplified. Meanwhile, the hydraulic jack is arranged on the main support beam so as to realize the integrally hydraulic demoulding. In addition, the continuous operation is realized due to the arrangement of the walking mechanism. Therefore, the hanging basket ensures the construction of an arched bridge when the arched bridge can not be erected while no prefabricated places are provided.

Description

A kind of Hanging Basket of cantilever arch bridge
Technical field
the utility model belongs to the bridge construction construction field, particularly a kind of Hanging Basket of cantilever arch bridge.
Background technology
are present, and the main design bridge type of mountain area bridge has freely-supported bridge, continuous rigid frame bridge, cable stayed bridge, arch bridge etc.Freely-supported bridge foundation and bridge pier are more, and it is more loaded down with trivial details to construct, and also bigger to the influence of environment, are only applicable to the more shallow and little gully landform of span of ditch depth; Continuous rigid frame bridge and cable stayed bridge can adapt to bigger ditch depth and span; But the position of bridge pier need be considered the cooperation of end bay and arrange; The layout on main pier and basis often is positioned near the ditch heart, needs that generally main pier is carried out erosion control and handles, and also needs simultaneously main pier side slope is done protective treatment; Therefore, the workload of maintenance is bigger; Arch bridge can well overcome the shortcoming of above-mentioned bridge type, is convenient to maintenance, and cost economic is durable in use.Yet at the arch bridge of large-span steel-reinforced concrete, adopt prefabricated, hanging method or adopt the method for full hall formula bow member to build, but do not have prefabricated place when running into deep mountain valleys, in the time of can't setting up bow member again, just can't build.
Chinese patent ZL200620035365.9 discloses a kind of side purlin Hanging Basket of cantilever arch bridge; This Hanging Basket comprises two side truss, rear support, shearing resistance mechanism, reaction wheel and walking mechanism and template system; Through the adjusting of shearing resistance mechanism, under reaction wheel and walking mechanism effect, realize the continuous placing purpose.Yet Hanging Basket in this patent can not reach the whole demoulding, and workload is big, influences the duration of engineering easily.
Summary of the invention
the utility model technical problem to be solved is the deficiency that overcomes prior art, and a kind of Hanging Basket of improved cantilever arch bridge is provided.
For solving above technical problem, the utility model is taked following technical scheme:
A kind of Hanging Basket of cantilever arch bridge; It comprises Hanging Basket frame and the walking mechanism that promotes said Hanging Basket frame; Main brace summer, the underframe that is connected truss bottom, both sides that said Hanging Basket frame comprises the side truss that is positioned at two opposite sides, be fixedly connected with side truss top, both sides, be horizontally set on soffit formwork on the underframe, the internal mold that is arranged on the soffit formwork top supports, by the internal mold of internal mold supported, be positioned at the internal mold periphery and form the preceding support that the external mold of building cavity and two bottoms are vertically set on the side truss leading section of both sides respectively with internal mold; Said external mold is erected on the soffit formwork; Preceding upper end and the internal mold support and connection of supporting; Walking mechanism comprises the propelling oil cylinder that is used to promote the Hanging Basket frame, the bracing frame that is used for fixing said propelling oil cylinder; Particularly; Said Hanging Basket comprises that also being installed in main brace summer bottom is used to control main brace summer hydraulic jack of going up and down and the gusseted mechanism that is used to support main brace summer, and this gusseted mechanism comprises support that vertical setting and upper end and main brace summer be fixedly connected, be horizontally disposed with and first hydraulic jack that the holder of an end and the bottom fixed connection of support and both ends are connected with holder with support respectively;
said internal mold comprises bed die piece that is positioned at both sides are symmetrical and lateral separation is adjustable side form piece, is positioned at the bottom and the backform piece that is positioned at the top; Said side form piece has erection part of vertically extending and the horizontal part that the upper end of this erection part bends inwards and horizontal-extending forms certainly; Formed opening between the horizontal part of the side form piece of both sides; Being arranged so that it and can sealing opening or break away from opening of said backform piece; Between the bottom of said erection part and bed die piece, be provided with the rotation angle mould; Said rotation angle mould rotates with the bottom of erection part and is connected, and when said Hanging Basket is in when building state, constitutes the hollow of sealing between the side form piece of said both sides, backform piece, rotation angle mould and the bed die piece.
According to a preferred aspect of the utility model, the cylinder bar of the propelling oil cylinder of walking mechanism is against on the main brace summer , promotes main brace summer by walking mechanism and realizes steadily moving ahead of whole Hanging Basket frame.Advance oil cylinder can be for example hydraulic jack.
are according to another preferred aspect of the utility model; Said Hanging Basket also comprises second hydraulic jack of two distances between the side form piece that is used to regulate both sides, and the cylinder bar in two second hydraulic jacks is against the inboard of the described erection part of both sides respectively.When the backform piece breaks away from said opening, under the effect of second hydraulic jack, can be relatively between the side form piece near, thereby break away from the sidewall of building arch bridge.
preferably, said Hanging Basket also comprises and is used to drive the 3rd hydraulic jack that said rotation angle mould rotates towards the direction that departs from said bed die piece.
according to a concrete aspect of the utility model, the contiguous block that supports the supporter that comprises vertical setting before said and can move up and down along the length direction of supporter, and the internal mold support and connection are on contiguous block.Described internal mold supports and comprises and being horizontally disposed with and support that leading section is connected with said contiguous block, the 4th hydraulic jack that the upper end is connected with the rear portion of support and be connected and can be anchored at the anchorage of having built on the arch bridge on the 4th hydraulic jack bottom.The fixed-site that is positioned at the external mold outside on the said soffit formwork is provided with Connection Block, and the hoop frame also comprises the 5th hydraulic jack and the 6th hydraulic jack, and wherein the 5th hydraulic jack is obliquely installed, and its bottom is connected with Connection Block, and the upper end is connected with external mold; The 6th hydraulic jack is horizontally disposed with, and the one of which end is connected with Connection Block, and the other end is connected with the bottom of external mold.
preferably also are fixed with on the described main brace summer and can be anchored at the keeper of having built on the arch bridge.
generally speaking, described hydraulic jack and gusseted mechanism all have 2.
Because the enforcement of above technical scheme, the utility model compared with prior art has following advantage:
The Hanging Basket that have the utility model structure; The curve arch bridge is divided into a plurality of straightways constructs, be suitable for building of arch bridge under the various environment, when building; Hydraulic jack will comprise the Hanging Basket frame jack-up of main brace summer; Bridge construction load is delivered on the underframe through inside and outside mould, and the load on the underframe is delivered on the main brace summer through the side truss, is delivered on the bridge floor of having built through hydraulic jack again.After one section bridge was built completion, bottom rotation angle mould was mentioned, and the backform piece on top breaks away from opening; Between the side template of both sides each other near, this moment the hydraulic jack that falls, then whole extension backboard support falls; Concrete bridge deck and template break away from; This moment, the reach of Hanging Basket frame continued building of next section bridge under the promotion of walking mechanism.The utility model has been simplified operation greatly owing to realized the one piece demoulding, in the middle of paragraph by paragraph pouring, do not need the Hanging Basket frame is done any dismounting and assembling, but the continuous placing operation, workload reduces, and builds efficient and improves, and the assurance engineering is accomplished on schedule.
Description of drawings
Below in conjunction with accompanying drawing and concrete embodiment, the utility model is done further detailed explanation:
Fig. 1 is the sectional perspective sketch map according to the Hanging Basket frame of the utility model;
Fig. 2 looks sketch map for the master according to the Hanging Basket frame of the utility model;
Fig. 3 is the local schematic top plan view according to the Hanging Basket of the utility model;
Fig. 4 is the braced structures sketch map according to the main brace summer of the utility model;
Fig. 5 is the partial schematic sectional view (state to be built) according to the Hanging Basket of the utility model;
Fig. 6 is the partial schematic sectional view (having built state) according to the Hanging Basket of the utility model;
Fig. 7 is according to the partial schematic sectional view of the Hanging Basket of the utility model (demoulding state);
Fig. 8 is the structural representation according to the internal mold support of the utility model;
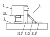
wherein: 1, built arch bridge; 10, walking mechanism; 100, advance oil cylinder; 101, bracing frame; 11, build body of wall; 2, side truss; 20, head rod; 21, second connecting rod; 22, the 3rd connecting rod; 23, connector; 3, main brace summer; 30, hydraulic jack; 31, gusseted mechanism; 310, support; 311, holder; 312, first hydraulic jack; 4, keeper; 5, underframe; 6, soffit formwork; 60, Connection Block; 68, the 5th hydraulic jack; 608, the 6th hydraulic jack; 7, internal mold; 70, internal mold supports; 700, support; 701, the 4th hydraulic jack; 702, anchorage; 71, side template; 710, erection part; 711, horizontal part; 72, backform piece; 73, bed die piece; 74, rotation angle mould; 75, second hydraulic jack; 76, the 3rd hydraulic jack; 8, external mold; 9, preceding support; 90, contiguous block; 91, supporter.
The specific embodiment
are shown in Fig. 1 to 8; Hanging Basket according to present embodiment comprises Hanging Basket frame and the walking mechanism 10 that promotes the Hanging Basket frame; Wherein the Hanging Basket frame comprise the side truss 2 that is positioned at two opposite sides, the main brace summer 3, the underframe 5 that is connected 2 bottoms, purlin, both sides that are fixedly connected with both sides truss 2 tops, be horizontally set on soffit formwork 6 on the underframe 5, the internal mold that is arranged on soffit formwork 6 tops supports 70, by internal mold support 70 support internal mold 7, be positioned at internal mold 7 peripheries and form the preceding support 9 that the external mold 8 of building cavity 11 and two bottoms be vertically set on side truss 2 leading sections of both sides respectively (with the operator that builds bridge to being preceding) with internal mold 7; The segment template of external mold 8 is erected on the soffit formwork 6, and the upper end of preceding support 9 is supported 70 with internal mold and is connected.Said Hanging Basket also comprises the hydraulic jack 30 that is installed in main brace summer 3 bottoms and is used to control main brace summer 3 up-downs, the gusseted mechanism 31 that is used to support main brace summer 3.Do further detailed explanation in the face of each above-mentioned chief component down.
referring to Fig. 1 and Fig. 2, and above-mentioned side truss 2 comprises head rod 20, second connecting rod 21, the 3rd connecting rod 22 and connects fixing connector 23 with upper lever.Side truss 2 monnolithic cases are triangle, and stability better.
referring to Fig. 3 and Fig. 4, above-mentioned gusseted mechanism 31 comprises support 310 that vertical setting and upper end and main brace summer 3 be fixedly connected, be horizontally disposed with and an end with first hydraulic jack 312 that is connected with holder 311 with support 310 respectively of the holder 311 that is fixedly connected of the bottom of support 310 and both ends.On main brace summer 3, also be fixed with simultaneously and can be anchored at the keeper of having built on the arch bridge 14, together support main brace summer 3, prevents the downslide of Hanging Basket frame.
referring to Fig. 2 and Fig. 8, and above-mentioned preceding support 9 comprises the supporter 91 of vertical setting and the contiguous block 90 that can move up and down along the length direction of supporter 91, and internal mold supports 70 and is connected on the contiguous block 90.Internal mold supports 70 and comprises and being horizontally disposed with and support 700 that leading section is connected with contiguous block 90, the 4th hydraulic jack 701 that the upper end is connected with the rear portion of support 700 and be connected and can be anchored at the anchorage of having built on the arch bridge 1 702 on the 4th hydraulic jack 701 bottoms.The bottom of support 700 is against on the bed die piece 73.
referring to Fig. 5 to Fig. 7, and internal mold 7 comprises and is positioned at the side form piece 71 that both sides are symmetrical and lateral separation is adjustable, the bed die piece 73 that is positioned at the bottom, the backform piece 72 that is positioned at the top and rotation angle mould 74.Side form piece 71 has erection part 710 of vertically extending and the horizontal part 711 that the upper end of this erection part 710 bends inwards and horizontal-extending forms certainly; Formed opening 712 between the horizontal part 711 of the side form piece 71 of both sides, backform piece 72 can be sealed opening 712 or break away from opening 712.Rotation angle mould 74 rotates with the bottom of erection part 710 and is connected.When Hanging Basket is in when building state, constitute the hollow of sealing between the side form piece 71 of said both sides, backform piece 72, rotation angle mould 74 and the bed die piece 73.When Hanging Basket was in demoulding state, rotation angle mould 74 was mentioned, and backform piece 72 breaks away from openings 712, between the both sides module 71 near and break away from the arch bridge of having built.In particular, be respectively equipped with one second hydraulic jack 75 in the inboard of the erection part 710 of the side form piece 71 of both sides, through second hydraulic jack 75 be used for driving between the both sides module 71 each other near and break away from the arch bridge sidewall of having built.Inboard at the rotation angle mould 74 of both sides is provided with the 3rd hydraulic jack 76, and the effect driven rotary angle mould 74 through the 3rd hydraulic jack 76 rotates and breaks away from the end of the arch bridge of having built towards the direction that departs from bed die piece 73.
soffit formwork 6 is positioned on the outer fix of external mold 8 and is fixed with Connection Block 60; The Hanging Basket frame also comprises the 5th hydraulic jack 68 and the 6th hydraulic jack 608; Wherein the 5th hydraulic jack 68 is obliquely installed, and its bottom is connected with Connection Block 60, the upper end with external mold 8 be connected; The 6th hydraulic jack 608 is horizontally disposed with, and the one of which end is connected with Connection Block 60, and the other end is connected with the bottom of external mold 8.
walking mechanism 10 comprises the propelling oil cylinder 100 that is used to promote the Hanging Basket frame, is used for fixing the bracing frame 101 that advances oil cylinder 100.Advance oil cylinder to be specially hydraulic jack.A key character of this example is: the cylinder bar of the propelling oil cylinder 100 of walking mechanism is against on the main brace summer 3, during walking, promotes main brace summer 3 by walking mechanism 10 and realizes steadily moving ahead of whole Hanging Basket frame.
above-mentioned Hanging Basket; When building; Hydraulic jack will comprise the Hanging Basket frame jack-up of main brace summer; Bridge construction load is delivered on the underframe through inside and outside mould, and the load on the underframe is delivered on the main brace summer through the side truss, is delivered on the bridge floor of building arch bridge through hydraulic jack again.When building, the whole hollow for sealing of internal mold is after one section bridge is built completion; To rotate angle mould through the 3rd hydraulic jack and mention, and make the backform piece on top break away from opening, between the side template of both sides each other near; Hydraulic jack falls this moment; Then whole extension backboard support falls, and concrete bridge deck and template break away from, and accomplishes the demoulding.This moment, the reach of Hanging Basket frame continued building of next section bridge under the promotion of walking mechanism.
to sum up, the utility model Hanging Basket is divided into a plurality of straightways with the curve arch bridge constructs, and is suitable for building of arch bridge under the various environment.In addition, the utility model Hanging Basket can also be realized the one piece demoulding, has simplified operation greatly, in the middle of paragraph by paragraph pouring, do not need the Hanging Basket frame is done any dismounting and assembling, but the continuous placing operation, workload reduces, and builds efficient and improves, and the assurance engineering is accomplished on schedule.
More than the utility model has been done detailed description; Its purpose is to let the personage that is familiar with this art can understand the content of the utility model and implements; Can not limit the protection domain of the utility model with this; All equivalences of doing according to the spirit of the utility model change or modify, and all should be encompassed in the protection domain of the utility model

Claims (9)

1. the Hanging Basket of a cantilever arch bridge; Described Hanging Basket comprises Hanging Basket frame and the walking mechanism (10) that promotes said Hanging Basket frame; Main brace summer (3), the underframe (5) that is connected two said side truss (2) bottom that described Hanging Basket frame comprises the side truss (2) that is positioned at two opposite sides, be fixedly connected with the said side truss in both sides (2) top, be horizontally set on soffit formwork (6) on the said underframe (5), the internal mold that is arranged on said soffit formwork (6) top support (70), by said internal mold support (70) support internal mold (7), be positioned at said internal mold (7) periphery and form the preceding support (9) that the external mold (8) of building cavity (11) and two bottoms are vertically set on said side truss (2) leading section of both sides respectively with said internal mold (7); Said external mold (8) is erected on the said soffit formwork (6); The said preceding upper end of supporting (9) is supported (70) with said internal mold and is connected; Described walking mechanism (10) comprises the propelling oil cylinder (100) that is used to promote said Hanging Basket frame, the bracing frame (101) that is used for fixing said propelling oil cylinder (100), it is characterized in that:
Said Hanging Basket comprises that also being installed in said main brace summer (3) bottom is used to control said main brace summer (3) hydraulic jack (30) of going up and down and the gusseted mechanism (31) that is used to support said main brace summer (3), said gusseted mechanism (31) comprise vertical setting and upper end and said main brace summer (3) fixed connection support (310), be horizontally disposed with and first hydraulic jack (312) that the holder (311) of an end and the bottom fixed connection of described support (310) and both ends are connected with described holder (311) with described support (310) respectively;
Said internal mold (7) comprises bed die piece (73) that is positioned at both sides are symmetrical and lateral separation is adjustable side form piece (71), is positioned at the bottom and the backform piece (72) that is positioned at the top; Said side form piece (71) has vertically the erection part (710) of extending and bends inwards from the upper end of said erection part (710) and horizontal part (711) that horizontal-extending forms; Formed opening (712) between the horizontal part (711) of the said side form piece (71) of both sides; Being arranged so that it and can sealing described opening (712) or break away from said opening (712) of said backform piece (72); Between the bottom of said erection part (710) and said bed die piece (73), be provided with rotation angle mould (74); Said rotation angle mould (74) rotates with the bottom of said erection part (710) and is connected; When said Hanging Basket is in when building state, constitute the hollow of sealing between the side form piece (71) of said both sides, backform piece (72), rotation angle mould (74) and the said bed die piece (73).
2. the Hanging Basket of cantilever arch bridge according to claim 1 is characterized in that: the cylinder bar of the propelling oil cylinder (100) of said walking mechanism (10) is against on the described main brace summer (3).
3. the Hanging Basket of cantilever arch bridge according to claim 1; It is characterized in that: said Hanging Basket also comprises second hydraulic jack (75) of two distances between the side form piece (71) that is used to regulate said both sides, and the cylinder bar in two second hydraulic jacks (75) is against the inboard of the described erection part (710) of both sides respectively.
4. the Hanging Basket of cantilever arch bridge according to claim 1 is characterized in that: said Hanging Basket also comprises and is used to drive the 3rd hydraulic jack (76) that said rotation angle mould (74) rotates towards the direction that departs from said bed die piece (73).
5. the Hanging Basket of cantilever arch bridge according to claim 1; It is characterized in that: support (9) before said and comprise the supporter (91) of vertical setting and the contiguous block (90) that can move up and down along the length direction of said supporter (91), said internal mold supports (70) and is connected on the said contiguous block (90).
6. the Hanging Basket of cantilever arch bridge according to claim 5 is characterized in that: described internal mold supports (70) and comprises and being horizontally disposed with and support (700) that leading section is connected with said contiguous block (90), the 4th hydraulic jack (701) that the upper end is connected with the rear portion of said support (700) and be connected the anchorage (702) that can be anchored on said the 4th hydraulic jack (701) bottom built on the arch bridge (1).
7. the Hanging Basket of cantilever arch bridge according to claim 1 is characterized in that: be fixed with on the described main brace summer (3) and can be anchored at the keeper of having built on the arch bridge (1) (4).
8. the Hanging Basket of cantilever arch bridge according to claim 1 is characterized in that: described hydraulic jack (30) and said gusseted mechanism (31) all have 2.
9. the Hanging Basket of cantilever arch bridge according to claim 1; It is characterized in that: the fixed-site that is positioned at said external mold (8) outside on the said soffit formwork (6) is provided with Connection Block (60); Said hoop frame also comprises the 5th hydraulic jack (68) and the 6th hydraulic jack (608); Wherein the 5th hydraulic jack (68) is obliquely installed, and its bottom is connected with said Connection Block (60), and the upper end is connected with described external mold (8); Said the 6th hydraulic jack (608) is horizontally disposed with, and the one of which end is connected with said Connection Block (60), and the other end is connected with the bottom of said external mold (8).
CN2011202076967U 2011-06-20 2011-06-20 Hanging basket for suspension pouring arch-type bridge Expired - Lifetime CN202164551U (en)

Priority Applications (1)

Application Number Priority Date Filing Date Title
CN2011202076967U CN202164551U (en) 2011-06-20 2011-06-20 Hanging basket for suspension pouring arch-type bridge

Applications Claiming Priority (1)

Application Number Priority Date Filing Date Title
CN2011202076967U CN202164551U (en) 2011-06-20 2011-06-20 Hanging basket for suspension pouring arch-type bridge

Publications (1)

Publication Number Publication Date
CN202164551U true CN202164551U (en) 2012-03-14

Family

ID=45800390

Family Applications (1)

Application Number Title Priority Date Filing Date
CN2011202076967U Expired - Lifetime CN202164551U (en) 2011-06-20 2011-06-20 Hanging basket for suspension pouring arch-type bridge

Country Status (1)

Country Link
CN (1) CN202164551U (en)

Cited By (4)

* Cited by examiner, † Cited by third party
Publication number Priority date Publication date Assignee Title
CN102268858A (en) * 2011-06-20 2011-12-07 江苏恩纳斯重工机械有限公司 Cradle for suspension pouring of arch-type bridge
CN106272921A (en) * 2016-09-28 2017-01-04 周兆弟 The prefabricated pile mould that energy is steam-cured
CN114717940A (en) * 2022-02-21 2022-07-08 中交路桥华东工程有限公司 Movable U-shaped section beam inner mold support
CN116084293A (en) * 2023-02-17 2023-05-09 湖北省路桥集团有限公司 Cast-in-place concrete main arch ring three-angle steel arch frame formwork system and construction method

Cited By (5)

* Cited by examiner, † Cited by third party
Publication number Priority date Publication date Assignee Title
CN102268858A (en) * 2011-06-20 2011-12-07 江苏恩纳斯重工机械有限公司 Cradle for suspension pouring of arch-type bridge
CN102268858B (en) * 2011-06-20 2013-01-02 江苏恩纳斯重工机械有限公司 Cradle for suspension pouring of arch-type bridge
CN106272921A (en) * 2016-09-28 2017-01-04 周兆弟 The prefabricated pile mould that energy is steam-cured
CN114717940A (en) * 2022-02-21 2022-07-08 中交路桥华东工程有限公司 Movable U-shaped section beam inner mold support
CN116084293A (en) * 2023-02-17 2023-05-09 湖北省路桥集团有限公司 Cast-in-place concrete main arch ring three-angle steel arch frame formwork system and construction method

Similar Documents

Publication Publication Date Title
CN102268858B (en) Cradle for suspension pouring of arch-type bridge
CN106065577B (en) A kind of structure and method of new pile foundation underpinning
CN201196094Y (en) Hydraulic template trolley for rail tunnel liner concrete
CN109403374A (en) Factorial construction method for open trench tunnel integral tunnel lining
CN204151823U (en) Along building the one-sided cantilever hydraulic template trolley of side wall under covered back-digging structural slab
CN105952482A (en) Self-propelled tunnel invert lining trolley
CN104120877B (en) A kind of hydraulic climbing die block system and climbing form method
CN103866693B (en) A kind of mounting method of steel concrete bowstring arch bridge arch rib
CN202596743U (en) Formwork trolley for underground tunnel pull-rod-free side wall construction
CN102953337B (en) Bridge construction method
CN202164551U (en) Hanging basket for suspension pouring arch-type bridge
CN102367653A (en) Support structure for large-span continuous beam construction
CN114481764A (en) From walking side ditch construction formwork system
CN103526697A (en) Self-propelled movable formwork for construction of double-rectangle water conservancy aqueduct
CN206035507U (en) Rectangle box culvert and for tunnel construction platform truck
CN103074871B (en) Arc-shaped slope concrete sliding and lifting template
CN106120584A (en) A kind of box culvert slip form construction device and method
CN205936645U (en) A full liquid die plate system for culvert is pour
CN207004536U (en) A kind of constructing tunnel inverted arch chassis
CN110042743A (en) The hydraulic climbing die block system of twin legged thin wall hollow pier with synchronize climb construction technology
CN206015540U (en) A kind of box culvert slip form construction device
CN212335790U (en) Large cantilever bent cap construction trolley
CN112160247B (en) Construction method of asynchronous hydraulic creeping formwork for hollow high pier of limited space pier group
CN211817955U (en) A side wall formwork trolley without tie rods
CN203821248U (en) Steel pipe arch main arch assembling supporting system

Legal Events

Date Code Title Description
C14 Grant of patent or utility model
GR01 Patent grant
AV01 Patent right actively abandoned

Granted publication date: 20120314

Effective date of abandoning: 20130306

RGAV Abandon patent right to avoid regrant