CN202146712U - 一种均混均流导流的烟气催化还原脱硝装置 - Google Patents
一种均混均流导流的烟气催化还原脱硝装置 Download PDFInfo
- Publication number
- CN202146712U CN202146712U CN201120218740U CN201120218740U CN202146712U CN 202146712 U CN202146712 U CN 202146712U CN 201120218740 U CN201120218740 U CN 201120218740U CN 201120218740 U CN201120218740 U CN 201120218740U CN 202146712 U CN202146712 U CN 202146712U
- Authority
- CN
- China
- Prior art keywords
- flue
- catalytic reduction
- denitration device
- type
- fuel gas
- Prior art date
- Legal status (The legal status is an assumption and is not a legal conclusion. Google has not performed a legal analysis and makes no representation as to the accuracy of the status listed.)
- Expired - Lifetime
Links
- 238000010531 catalytic reduction reaction Methods 0.000 title claims abstract description 17
- 239000000779 smoke Substances 0.000 title abstract description 6
- 238000005452 bending Methods 0.000 claims abstract description 37
- UGFAIRIUMAVXCW-UHFFFAOYSA-N Carbon monoxide Chemical compound [O+]#[C-] UGFAIRIUMAVXCW-UHFFFAOYSA-N 0.000 claims description 25
- 239000003546 flue gas Substances 0.000 claims description 24
- 238000006722 reduction reaction Methods 0.000 claims description 18
- 239000002737 fuel gas Substances 0.000 claims description 15
- 239000003054 catalyst Substances 0.000 claims description 10
- 230000007704 transition Effects 0.000 claims description 8
- 238000005192 partition Methods 0.000 claims description 4
- 238000003466 welding Methods 0.000 claims description 3
- QGZKDVFQNNGYKY-UHFFFAOYSA-N Ammonia Chemical compound N QGZKDVFQNNGYKY-UHFFFAOYSA-N 0.000 abstract description 26
- 229910021529 ammonia Inorganic materials 0.000 abstract description 10
- 239000003638 chemical reducing agent Substances 0.000 abstract description 9
- 230000003197 catalytic effect Effects 0.000 abstract description 3
- 238000006243 chemical reaction Methods 0.000 abstract description 3
- 229910000069 nitrogen hydride Inorganic materials 0.000 abstract 3
- 238000009827 uniform distribution Methods 0.000 abstract 2
- MWUXSHHQAYIFBG-UHFFFAOYSA-N Nitric oxide Chemical compound O=[N] MWUXSHHQAYIFBG-UHFFFAOYSA-N 0.000 description 9
- 239000007789 gas Substances 0.000 description 5
- 230000000694 effects Effects 0.000 description 3
- 229910000831 Steel Inorganic materials 0.000 description 2
- 238000005507 spraying Methods 0.000 description 2
- 239000010959 steel Substances 0.000 description 2
- 108700018263 Brassica oleracea SCR Proteins 0.000 description 1
- 238000010276 construction Methods 0.000 description 1
- 238000009792 diffusion process Methods 0.000 description 1
- 238000005516 engineering process Methods 0.000 description 1
- 230000007613 environmental effect Effects 0.000 description 1
- 238000000034 method Methods 0.000 description 1
- 238000000465 moulding Methods 0.000 description 1
- 239000007921 spray Substances 0.000 description 1
- 230000003068 static effect Effects 0.000 description 1
- XLYOFNOQVPJJNP-UHFFFAOYSA-N water Substances O XLYOFNOQVPJJNP-UHFFFAOYSA-N 0.000 description 1
Images
Landscapes
- Exhaust Gas Treatment By Means Of Catalyst (AREA)
Abstract
本实用新型涉及一种均混均流导流的烟气催化还原脱硝装置,由SCR反应器和烟道组成,烟道由竖直管段和上、下两折弯管组成,上折弯管与SCR反应器相连,烟道的竖直管段的入口端装有烟气均布格栅,烟气均布格栅的上方被烟道分隔板均匀分隔成的多个格状通道,各格状通道内设有X型导流组件;上、下两折弯管分别与竖直管段相连端的转折部内设有上弯头导流板和下弯头导流板;上折弯管为∏型弯管,∏型弯管的中部水平管段内设有均流导流组件,其由间距分布的多个均流导流板组成。本装置使还原剂NH3与烟气均混均流,减小进入SCR反应器的速度偏差及NH3与NO的浓度偏差。使还原剂NH3充分参与脱硝反应,减小氨的逃逸,提高催化脱硝效率。
Description
技术领域
本实用新型涉及一种均混均流导流的烟气催化还原脱硝装置,主要用于火力发电厂选择性催化还原脱除烟气中氮氧化物。
背景技术
目前,火力发电站多采用选择性催化还原(简称SCR)的方法对烟气进行脱硝(即脱除氮氧化物)处理。传统的SCR脱硝装置包括SCR反应器和与SCR反应器入口连接的烟道,烟道一般由矩形截面管成型。从省煤器来的烟气通过烟道的喷氨格栅使氨气与烟气得到一定的混合,进入SCR反应器;SCR反应器是由一层或多层催化剂组成,在催化剂的表面,烟气中的氮氧化物与氨气(NH3)在催化剂的作用下发生还原反应,生成对环境无害的N2和H2O。此过程要求含有还原剂氨气的烟气进入SCR反应器入口时,烟气与氨气的速度分布均匀,入催化剂层时,烟气中的还原剂浓度分布均匀。为此,传统的SCR脱硝装置通常采用涡流静态混合器同时与数个还原剂喷嘴配合的方案,但是涡流式混合器混合效果不理想,常因局部速度过低而导致催化剂层有效利用率降低,氨逃逸率高,且易于集灰。由于脱硝效率低,需要更大的SCR反应器空间,增加建造成本。
发明内容
本实用新型的目的是提供一种均混均流导流的烟气催化还原脱硝装置,它可确保进入SCR反应器的烟气与还原剂均混均流,使还原剂氨充分参与脱硝反应,从而减小氨的逃逸,提高催化脱硝效率。
本实用新型均混均流导流的烟气催化还原脱硝装置由内设催化剂层的SCR反应器和烟道连接而成,所述烟道由竖直管段和上、下两折弯管组成,上折弯管的出口端与SCR反应器的入口端相连,SCR反应器的入口设有整流格栅;其特征是烟道的竖直管段的入口端装有烟气均布格栅,烟气均布格栅的上方被烟道分隔板均匀分隔成的多个格状通道,各格状通道内设有X型导流组件;所述上、下两折弯管分别与竖直管段相连端的转折部内设有上弯头导流板和下弯头导流板;所述上折弯管为∏型弯管,∏型弯管的中部水平管段内设有均流导流组件,其由间距分布的多个均流导流板组成。
所述的烟道是矩形管道,格状通道是由平行于矩形长边的1个纵向分隔板和平行于矩形短边的5-9个横向分隔板纵横交错而形成。
∏型上折弯管的出口端的管径向外侧扩大;∏型上折弯管的中部水平管段内的均流导流组件中,各均流导流板进气侧的间距从上至下依次增大,出气侧的间距从上至下依次减小。
所述各X型导流组件由分别向前、后两侧反向倾斜并交错连接的两对单元板组成,各单元板上分别开有狭长导流孔。
所述X型均混导流组件各单元板上的狭长导流孔的宽度为单元板宽度的1/6~1/8,狭长导流孔的长度为单元板长度的1/4~1/3。
所述X型均混导流组件的高度为烟道分隔板高度的1/3~2/3。
每个X型导流组件以五根支撑杆连接固定,其中,两单元板的上端边分别焊一根支撑杆,两单元板的下端边分别焊接一根支撑杆,两单元板的中部交接处横贯焊接一根支撑杆,各支撑杆的两端焊接固定在所在格状通道对应的隔板或烟道竖直管的侧壁上。
所述烟道的下折弯管包含一段斜向过渡管,所述下弯头导流板是与斜向过渡管斜度一致的钭向板,钭向板两端设有过渡弯弧。
本装置的烟道进口弯头导流板的出口弯头导流板起一定的均混和导流作用;竖直烟道被均分成若干格状通道,每个格状通道内设置X型导流组件,喷入烟道的烟气被格状通道分散,并在X型导流组件的扰流作用下,烟气形成强旋流和扰流,烟气中的氨组分得到了极大的扩散和混合,最后进入上折弯管的水平管段时,均流导流组件通过均流导流板间距的合理设计,烟气的流场速度得到进一步调整,均匀改善, NH3和NO在烟气中的分布更均匀,确保进入SCR烟气脱硝SCR反应器的烟气及还原剂组分均混均流,SCR反应器入口速度偏差小于10%, NH3与NO的浓度偏差小于5%。综上所述,本装置可使还原剂NH3充分参与脱硝反应,减小氨的逃逸,提高烟气催化脱硝效率。
附图说明
图1是均混均流导流的烟气催化还原脱硝装置的结构示意图。
图2是烟道的竖直管段立体结构示意图。
图3 表示X型导流板的连接关系。
图4是∏型上折弯管立体结构示意图。
图5是均流导流组的立体结构示意图。
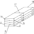
图中,1—烟道入口,2—下弯头导流板,3—下折弯管,4—喷氨格栅,5—X型导流组件,5-1、5-2—单元板,5-3—狭长导流孔,5-41、5-42、5-43—X型导流板的支撑杆,6—横向分隔板,7—纵向分隔板,8— 均流导流组件,9—上弯头导流板,10—整流格栅,11—测试孔,12—催化剂层,13—烟气出口,8-1—各均流导流板,14—竖直管段,15—∏型上折弯管,15-1—斜面,16—SCR反应器,17—支撑件,A~H—格状通道,L1~Ln—均流导流组件进气端的各板间距,L1'~Ln'—均流导流组件出气端的各板间距。
具体实施方式
下面结合附图进一步说明本实用新型装置的实施例。
图1是本实用新型均混均流导流的烟气催化还原脱硝装置的实施例。如图1,本装置由SCR反应器16和烟道组成,SCR反应器16内设有催化剂层12,SCR反应器入口设有整流格栅10。烟道是矩形管(横截面为矩形),由竖直管段14及下折弯管3和上折弯管15组成;图1实施例中,下折弯管3含有一段斜向过渡管,上折弯管15呈∏型弯管(立体形状图4)。竖直管段14内设有烟气均布格栅4,均布格栅4的上方设有纵向烟道分隔板7和横向烟道分隔板6,烟道被均匀分隔成的多个格状通道(参见图2),每个格状通道内设有X型导流组件5;烟道的下折弯管3在斜向过渡管内设有下弯头导流板2;如图4,上折弯管15呈∏型结构,其入口端折弯部内设有上弯头导流板9,其出口端向一侧扩大形成斜面15-1,呈∏型上折弯管15的中部呈水平管,水平管内设有均流导流组件8,由多个间距分布的均流导流板组成。
烟道竖直管段14的立体结构见图2,烟道竖直管段14由一个纵向分隔板7和多个横向分隔板6纵横交错而形成多个格状通道(A~H),每个格状通道内的X型导流组件5是由单元板5-1和5-2互为反向倾斜交错连接组成,每个单元板开有4个狭长导流孔5-3,各单元板的倾斜角α呈30-50°角;如图1和图2,X型均混导流组件5的高度为烟道分隔板6、7高度的1/3~2/3。狭长导流孔5-3的宽度为单元板宽度的1/6~1/8,长度为单元板长度的1/4~1/3。图2各格状通道上方的弧形箭头表示烟气在各格状通道内通过时形成涡旋流,强化了烟气的混合和后续烟道流场的速度均匀分布。
图3表示X型导流组件的连接关系。按照图3所示,每个X型导流组件以五根支撑杆(钢管)连接固定,即两单元板5-1和5-2的上端边分别焊一根支撑杆5-41,两单元板5-1和5-2的下端边分别焊接一根支撑杆5-43,两单元板5-1和5-2的中部交接处用一根支撑杆5-42横贯焊接,各支撑杆的左右两端焊接固定在两分隔板6或一端固定在分隔板6上,另一端固定在烟道竖直管14的侧壁上。
如图4所示,∏型上折弯管15的左端是入口端,中部是水平管段,右端是与SCR反应器16入口连接的出口端,出口端的管径向外侧扩大形成斜面15-1。中部水平管段内设有均流导流组件8,由3-10片均流导流板(耐450℃高温的钢板)8-1组成,各均流导流板8-1的两端焊接固定在烟道的两侧壁面上,当烟道尺寸较大时,为增加刚性,可在中部设有连接件17(如图5)。
均流导流组件8的结构如图5所示,各均流导流板8-1之间为烟气通道,烟气自左向右通过,然后从∏型上折弯管15的出口(由斜面15-1形成的扩口),进入SCR反应器16。图5中,均流导流组件8中,各均流导流板8-1板自下至上间距如下:均流导流组件进气端的各板间距依次表示为L1……Ln,均流导流组件出气端的各板间距依次表示为L1'……Ln';进气端的均流导流板间距依次减小,即L1>L2> ……> Ln,出气端均流导流板间距依次增大,即L1'< L2'<……< Ln'。以上板间距的设计,使均流导流组件8的烟气出口流速下层高于上层,增加了SCR反应器入口断面近端处的烟气量;均流导流组件上层出口流速低,降低了SCR反应器入口远端处的烟气量。从均流导流组件出口流出的烟气经过斜面15-1形成的扩口进入SCR反应器16,经过整流格栅10后,在第一层催化剂层分布均匀。
Claims (9)
1.均混均流导流的烟气催化还原脱硝装置,由内设催化剂层的SCR反应器和烟道组成,所述烟道由竖直管段和上、下两折弯管组成,上折弯管的出口端与SCR反应器的入口端相连,SCR反应器的入口设有整流格栅;其特征是烟道的竖直管段的入口端装有烟气均布格栅,烟气均布格栅的上方被烟道分隔板均匀分隔成的多个格状通道,各格状通道内设有X型导流组件;所述上、下两折弯管分别与竖直管段相连端的转折部内设有上弯头导流板和下弯头导流板;所述上折弯管为∏型弯管,∏型弯管的中部水平管段内设有均流导流组件,其由间距分布的多个均流导流板组成。
2.根据权利要求1所述的均混均流导流的烟气催化还原脱硝装置,其特征是所述的烟道是矩形管道,所述的格状通道是由平行于矩形长边的1个纵向分隔板和平行于矩形短边的5-9个横向分隔板纵横交错而形成。
3.根据权利要求2所述的均混均流导流的烟气催化还原脱硝装置,其特征是∏型上折弯管的出口端的管径向外侧扩大;∏型上折弯管的中部水平管段内的均流导流组件中,各均流导流板进气侧的间距从上至下依次增大,出气侧的间距从上至下依次减小。
4.根据权利要求3所述的均混均流导流的烟气催化还原脱硝装置,其特征是所述各X型导流组件由分别向前、后两侧反向倾斜并交错连接的两对单元板组成,各单元板上分别开有狭长导流孔。
5.根据权利要求4所述的均混均流导流的烟气催化还原脱硝装置,其特征是所述单元板的倾斜角α呈30-50°角。
6.根据权利要求5所述的均混均流导流的烟气催化还原脱硝装置,其特征是X型均混导流组件各单元板上的狭长导流孔的宽度为单元板宽度的1/6~1/8,狭长导流孔的长度为单元板长度的1/4~1/3。
7.根据权利要求6所述的均混均流导流的烟气催化还原脱硝装置,其特征是所述X型均混导流组件的高度为烟道分隔板高度的1/3~2/3。
8. 根据权利要求7所述的均混均流导流的烟气催化还原脱硝装置,其特征是每个X型导流组件以五根支撑杆连接固定,其中,两单元板的上端边分别焊一根支撑杆,两单元板的下端边分别焊接一根支撑杆,两单元板的中部交接处横贯焊接一根支撑杆,各支撑杆的两端焊接固定在所在格状通道对应的隔板或烟道竖直管的侧壁上。
9.根据权利要求1、2、3、4、5、6、7、8中任一项所述的均混均流导流的烟气催化还原脱硝装置,其特征是所述烟道的下折弯管包含一段斜向过渡管,所述下弯头导流板是与斜向过渡管斜度一致的钭向板,钭向板两端设有过渡弯弧。
Priority Applications (1)
| Application Number | Priority Date | Filing Date | Title |
|---|---|---|---|
| CN201120218740U CN202146712U (zh) | 2011-06-27 | 2011-06-27 | 一种均混均流导流的烟气催化还原脱硝装置 |
Applications Claiming Priority (1)
| Application Number | Priority Date | Filing Date | Title |
|---|---|---|---|
| CN201120218740U CN202146712U (zh) | 2011-06-27 | 2011-06-27 | 一种均混均流导流的烟气催化还原脱硝装置 |
Publications (1)
| Publication Number | Publication Date |
|---|---|
| CN202146712U true CN202146712U (zh) | 2012-02-22 |
Family
ID=45587789
Family Applications (1)
| Application Number | Title | Priority Date | Filing Date |
|---|---|---|---|
| CN201120218740U Expired - Lifetime CN202146712U (zh) | 2011-06-27 | 2011-06-27 | 一种均混均流导流的烟气催化还原脱硝装置 |
Country Status (1)
| Country | Link |
|---|---|
| CN (1) | CN202146712U (zh) |
Cited By (19)
| Publication number | Priority date | Publication date | Assignee | Title |
|---|---|---|---|---|
| CN102961965A (zh) * | 2012-12-13 | 2013-03-13 | 华电电力科学研究院 | 新型scr脱硝催化剂反应装置 |
| CN103007749A (zh) * | 2012-12-12 | 2013-04-03 | 盐城工学院 | 一种π型SCR脱硝反应器均布流场的导流装置及方法 |
| CN103397478A (zh) * | 2013-08-23 | 2013-11-20 | 林跃东 | 节能型风巢式热风非织造成型设备 |
| CN104959000A (zh) * | 2015-06-15 | 2015-10-07 | 国电环境保护研究院 | 多功能全负荷范围智能烟气脱硝系统 |
| CN105485705A (zh) * | 2015-06-10 | 2016-04-13 | 无锡华光锅炉股份有限公司 | 一种反应器框架和省煤器护板一体化结构 |
| CN105797583A (zh) * | 2016-03-18 | 2016-07-27 | 东方电气集团东方锅炉股份有限公司 | 一种高效脱硝低氨逃逸的装置 |
| CN106268294A (zh) * | 2016-08-03 | 2017-01-04 | 西安交通大学 | 一种用于scr脱硝系统的纵向涡型喷氨混合装置 |
| CN106390717A (zh) * | 2016-11-30 | 2017-02-15 | 东方电气集团东方锅炉股份有限公司 | 一种用于scr和sncr联合脱硝的脱硝烟道 |
| CN107569979A (zh) * | 2017-09-22 | 2018-01-12 | 中国华能集团公司 | 一种消除吸收塔出口处强烈震动的结构和方法 |
| CN108854522A (zh) * | 2018-07-02 | 2018-11-23 | 浙江宜清环境技术有限公司 | 一种基于内置挡板的全工况脱硝烟气升温和均布装置 |
| CN109395576A (zh) * | 2018-09-14 | 2019-03-01 | 哈尔滨锅炉厂有限责任公司 | Scr脱硝装置的导流装置 |
| CN109884241A (zh) * | 2019-03-05 | 2019-06-14 | 华电电力科学研究院有限公司 | 一种scr脱硝催化剂模拟反应装置及模拟方法 |
| CN110252168A (zh) * | 2019-07-15 | 2019-09-20 | 国电龙源节能技术有限公司 | 短混合距离烟道用喷氨静态混合装置 |
| CN110514569A (zh) * | 2019-07-08 | 2019-11-29 | 佛山市顺德区阿波罗环保器材有限公司 | 油烟滤芯一次过滤性能检测系统的风道组件 |
| KR20200000730A (ko) * | 2018-06-25 | 2020-01-03 | (주)금강씨엔티 | 선택적 촉매 환원 장치 |
| CN110772991A (zh) * | 2019-11-18 | 2020-02-11 | 中冶京诚工程技术有限公司 | 导流装置、气体混合设备和气体处理系统 |
| CN112452147A (zh) * | 2020-10-31 | 2021-03-09 | 上海电力大学 | 一种scr脱硝系统内部结构及其设计方法 |
| CN112717689A (zh) * | 2019-10-28 | 2021-04-30 | 国家电投集团远达环保工程有限公司重庆科技分公司 | 选择性催化还原脱硝设备和方法 |
| CN113083011A (zh) * | 2021-05-14 | 2021-07-09 | 上海天晓环保工程有限公司 | 一种新型工业废液焚烧尾气脱硝反应器 |
-
2011
- 2011-06-27 CN CN201120218740U patent/CN202146712U/zh not_active Expired - Lifetime
Cited By (23)
| Publication number | Priority date | Publication date | Assignee | Title |
|---|---|---|---|---|
| CN103007749A (zh) * | 2012-12-12 | 2013-04-03 | 盐城工学院 | 一种π型SCR脱硝反应器均布流场的导流装置及方法 |
| CN102961965A (zh) * | 2012-12-13 | 2013-03-13 | 华电电力科学研究院 | 新型scr脱硝催化剂反应装置 |
| CN103397478A (zh) * | 2013-08-23 | 2013-11-20 | 林跃东 | 节能型风巢式热风非织造成型设备 |
| CN103397478B (zh) * | 2013-08-23 | 2015-11-18 | 林跃东 | 节能型风巢式热风非织造成型设备 |
| CN105485705A (zh) * | 2015-06-10 | 2016-04-13 | 无锡华光锅炉股份有限公司 | 一种反应器框架和省煤器护板一体化结构 |
| CN105485705B (zh) * | 2015-06-10 | 2017-11-21 | 无锡华光锅炉股份有限公司 | 一种反应器框架和省煤器护板一体化结构 |
| CN104959000A (zh) * | 2015-06-15 | 2015-10-07 | 国电环境保护研究院 | 多功能全负荷范围智能烟气脱硝系统 |
| CN105797583A (zh) * | 2016-03-18 | 2016-07-27 | 东方电气集团东方锅炉股份有限公司 | 一种高效脱硝低氨逃逸的装置 |
| CN106268294B (zh) * | 2016-08-03 | 2019-04-12 | 西安交通大学 | 一种用于scr脱硝系统的纵向涡型喷氨混合装置 |
| CN106268294A (zh) * | 2016-08-03 | 2017-01-04 | 西安交通大学 | 一种用于scr脱硝系统的纵向涡型喷氨混合装置 |
| CN106390717A (zh) * | 2016-11-30 | 2017-02-15 | 东方电气集团东方锅炉股份有限公司 | 一种用于scr和sncr联合脱硝的脱硝烟道 |
| CN107569979A (zh) * | 2017-09-22 | 2018-01-12 | 中国华能集团公司 | 一种消除吸收塔出口处强烈震动的结构和方法 |
| KR20200000730A (ko) * | 2018-06-25 | 2020-01-03 | (주)금강씨엔티 | 선택적 촉매 환원 장치 |
| KR102078746B1 (ko) | 2018-06-25 | 2020-04-08 | (주)금강씨엔티 | 선택적 촉매 환원 장치 |
| CN108854522A (zh) * | 2018-07-02 | 2018-11-23 | 浙江宜清环境技术有限公司 | 一种基于内置挡板的全工况脱硝烟气升温和均布装置 |
| CN109395576A (zh) * | 2018-09-14 | 2019-03-01 | 哈尔滨锅炉厂有限责任公司 | Scr脱硝装置的导流装置 |
| CN109884241A (zh) * | 2019-03-05 | 2019-06-14 | 华电电力科学研究院有限公司 | 一种scr脱硝催化剂模拟反应装置及模拟方法 |
| CN110514569A (zh) * | 2019-07-08 | 2019-11-29 | 佛山市顺德区阿波罗环保器材有限公司 | 油烟滤芯一次过滤性能检测系统的风道组件 |
| CN110252168A (zh) * | 2019-07-15 | 2019-09-20 | 国电龙源节能技术有限公司 | 短混合距离烟道用喷氨静态混合装置 |
| CN112717689A (zh) * | 2019-10-28 | 2021-04-30 | 国家电投集团远达环保工程有限公司重庆科技分公司 | 选择性催化还原脱硝设备和方法 |
| CN110772991A (zh) * | 2019-11-18 | 2020-02-11 | 中冶京诚工程技术有限公司 | 导流装置、气体混合设备和气体处理系统 |
| CN112452147A (zh) * | 2020-10-31 | 2021-03-09 | 上海电力大学 | 一种scr脱硝系统内部结构及其设计方法 |
| CN113083011A (zh) * | 2021-05-14 | 2021-07-09 | 上海天晓环保工程有限公司 | 一种新型工业废液焚烧尾气脱硝反应器 |
Similar Documents
| Publication | Publication Date | Title |
|---|---|---|
| CN202146712U (zh) | 一种均混均流导流的烟气催化还原脱硝装置 | |
| CN202860405U (zh) | 一种均匀混合导流的烟气脱硝装置 | |
| CN102626585B (zh) | 一种用于scr烟气脱硝装置的v型喷氨混合系统 | |
| CN101342462B (zh) | 一种气动流场均匀分布的装置及其方法 | |
| CN202860406U (zh) | 一种用于玻璃窑炉的scr烟气脱硝装置 | |
| CN202909642U (zh) | 一种气体混合元件及含该元件的气体混合装置 | |
| CN214345609U (zh) | 一种省煤器旁路烟道出口高低温烟气混流装置 | |
| CN102698579B (zh) | 烟气脱硝系统的喷氨与涡流混合装置及方法 | |
| CN202844884U (zh) | 烟气脱硝系统的喷氨与涡流混合装置 | |
| CN101306325A (zh) | 用于选择性催化还原反应脱硝反应器的烟气均布装置 | |
| CN112569784A (zh) | 一种省煤器旁路烟道出口高低温烟气混流装置 | |
| CN201244443Y (zh) | 一种气动流场均匀分布的装置 | |
| CN203577639U (zh) | 用于scr烟气脱硝系统的旋流混合装置 | |
| CN203002506U (zh) | 一种喷氨装置和锅炉 | |
| CN202909643U (zh) | 气体混合元件及包括该元件的气体混合装置 | |
| CN105771642A (zh) | 一种卧式scr脱硝反应器 | |
| CN205886603U (zh) | 整流混流式scr脱硝氨喷射系统 | |
| CN211384525U (zh) | 一种scr脱硝系统的入口均流装置 | |
| CN103055734A (zh) | 半柔性柳叶型叶片scr静态混合器 | |
| CN202096879U (zh) | 一种scr脱硝系统的前置二次整流静态混合器 | |
| CN202506301U (zh) | 一种用于scr脱硝装置的逆流喷氨装置 | |
| CN202113779U (zh) | 用于scr脱硝系统的旋流式喷氨装置 | |
| CN209155540U (zh) | 燃煤电厂脱硝喷氨装置流场优化系统 | |
| CN201244444Y (zh) | 一种具有特殊整流元件的烟气脱硝装置 | |
| CN202778237U (zh) | 一种用于scr烟气脱硝装置的v型喷氨混合系统 |
Legal Events
| Date | Code | Title | Description |
|---|---|---|---|
| C14 | Grant of patent or utility model | ||
| GR01 | Patent grant | ||
| CX01 | Expiry of patent term |
Granted publication date: 20120222 |
|
| CX01 | Expiry of patent term |