CN202140068U - 井口自动加药装置 - Google Patents
井口自动加药装置 Download PDFInfo
- Publication number
- CN202140068U CN202140068U CN201120252177U CN201120252177U CN202140068U CN 202140068 U CN202140068 U CN 202140068U CN 201120252177 U CN201120252177 U CN 201120252177U CN 201120252177 U CN201120252177 U CN 201120252177U CN 202140068 U CN202140068 U CN 202140068U
- Authority
- CN
- China
- Prior art keywords
- liquid level
- level sensor
- well head
- drug
- drug feeding
- Prior art date
- Legal status (The legal status is an assumption and is not a legal conclusion. Google has not performed a legal analysis and makes no representation as to the accuracy of the status listed.)
- Expired - Fee Related
Links
- 239000003814 drug Substances 0.000 title claims abstract description 37
- 229940079593 drug Drugs 0.000 title abstract description 18
- 239000007788 liquid Substances 0.000 claims abstract description 19
- 238000010438 heat treatment Methods 0.000 claims abstract description 9
- 239000000126 substance Substances 0.000 claims description 11
- 238000012423 maintenance Methods 0.000 abstract 1
- 101100298222 Caenorhabditis elegans pot-1 gene Proteins 0.000 description 5
- 239000003129 oil well Substances 0.000 description 4
- 230000007613 environmental effect Effects 0.000 description 2
- 239000013043 chemical agent Substances 0.000 description 1
- 230000008021 deposition Effects 0.000 description 1
- 230000000694 effects Effects 0.000 description 1
- 239000012467 final product Substances 0.000 description 1
- 239000012530 fluid Substances 0.000 description 1
- 238000004519 manufacturing process Methods 0.000 description 1
- 238000000034 method Methods 0.000 description 1
- 239000002699 waste material Substances 0.000 description 1
Images
Landscapes
- Feeding, Discharge, Calcimining, Fusing, And Gas-Generation Devices (AREA)
Abstract
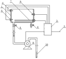
一种井口自动加药装置,包括储药罐、控制装置和加药泵,储药罐下部设有加药管和排空管,加药管通过加药泵与井口管道相连接,加药管和排空管均安装有闸门。所述储药罐内底部设有加热管,储药罐内一侧设有温度传感器,其另一侧底部设有低液位传感器,上部设有高液位传感器;所述加热管、温度传感器、低液位传感器、高液位传感器和加药泵均与控制装置电连接,控制装置与电源线相连接。本实用新型与现有技术相比较,具有结构简单,易维护,灵活性好,效率高,故障率低等优点。
Description
技术领域
本实用新型涉及井口加药技术领域,具体涉及一种井口自动加药装置。
背景技术
油井的井口提油杆处结蜡以及稠油板结是长期困扰油田开发的老问题,部分油井需加各种化学药剂进行防蜡降粘,一旦加药不及时就会造成回压升高,管线、流程、井筒、采油设备等因为负荷过重以及输送都会受到损害,直接影响产量。而就目前情况来看,大部分油井井口无加药装置,若采用普通药剂泵或高压泵车加药不仅加药效果不理想还会消耗大量的电能,并且没有固定加药数据会造成药品的无谓浪费,无法从根本上达到节约。
实用新型内容
本实用新型要解决的问题是:克服目前使用高压泵车加药成本高、维护难、灵活性差,以及放套气加药存在速度慢、有污染、利用率低等难题,提供一种工艺简单、安全、节能、环保且能长期高效运行的一种井口自动节能加药装置。
其技术方案是:包括储药罐、控制装置和加药泵,储药罐下部设有加药管和排空管,加药管通过加药泵与井口管道相连接,加药管和排空管均安装有闸门。所述储药罐内底部设有加热管,储药罐内一侧设有温度传感器,其另一侧底部设有低液位传感器,上部设有高液位传感器;所述加热管、温度传感器、低液位传感器、高液位传感器和加药泵均与控制装置电连接,控制装置与电源线相连接。
其中,所述控制装置为可编程控制器。
本实用新型与现有技术相比较,具有如下优点:1、结构简单,易维护,灵活性好,效率高,故障率低;2、加药量准确,药力发挥作用好,成本低廉;3、可设定时间,根据需要加药;4、井口适应性强,可实现对不同井压油井的加药;5、环境适应性强,可在高低温下可长期有效运行;6、环境污染小,药剂便于更换;7、保护性好,当储液罐的液面达不到要求时自动锁死防止空转烧坏电机。
附图说明
图1是本实用新型一种实施例的结构示意图。
具体实施方式
参照图1,一种井口自动加药装置,包括储药罐1、控制装置2和加药泵9,储药罐1下部设有加药管和排空管,加药管通过加药泵9与井口管道10相连接,加药管和排空管均安装有闸门4。所述储药罐1内底部设有加热管7,储药罐1内一侧设有温度传感器8,其另一侧底部设有低液位传感器5,上部设有高液位传感器6;所述加热管7、温度传感器8、低液位传感器5、高液位传感器6和加药泵9均与控制装置2电连接,控制装置2与电源线3相连接。其中,所述控制装置2为可编程控制器。
制作及使用本装置时,将储药罐1设置在一高位支架上,连接加热管7、温度传感器8、低液位传感器5、高液位传感器6及加药泵9与控制装置2间的电路,并对可编程控制器输入工作程序即可。
Claims (2)
1.一种井口自动加药装置,包括储药罐、控制装置和加药泵,储药罐下部设有加药管和排空管,加药管通过加药泵与井口管道相连接,加药管和排空管均安装有闸门,其特征在于:所述储药罐内底部设有加热管,储药罐内一侧设有温度传感器,其另一侧底部设有低液位传感器,上部设有高液位传感器;所述加热管、温度传感器、低液位传感器、高液位传感器和加药泵均与控制装置电连接,控制装置与电源线相连接。
2.根据权利要求1所述的井口自动加药装置,其特征在于:所述控制装置为可编程控制器。
Priority Applications (1)
| Application Number | Priority Date | Filing Date | Title |
|---|---|---|---|
| CN201120252177U CN202140068U (zh) | 2011-07-18 | 2011-07-18 | 井口自动加药装置 |
Applications Claiming Priority (1)
| Application Number | Priority Date | Filing Date | Title |
|---|---|---|---|
| CN201120252177U CN202140068U (zh) | 2011-07-18 | 2011-07-18 | 井口自动加药装置 |
Publications (1)
| Publication Number | Publication Date |
|---|---|
| CN202140068U true CN202140068U (zh) | 2012-02-08 |
Family
ID=45551129
Family Applications (1)
| Application Number | Title | Priority Date | Filing Date |
|---|---|---|---|
| CN201120252177U Expired - Fee Related CN202140068U (zh) | 2011-07-18 | 2011-07-18 | 井口自动加药装置 |
Country Status (1)
| Country | Link |
|---|---|
| CN (1) | CN202140068U (zh) |
Cited By (3)
| Publication number | Priority date | Publication date | Assignee | Title |
|---|---|---|---|---|
| RU2550615C1 (ru) * | 2014-04-22 | 2015-05-10 | Открытое акционерное общество "Татнефть" имени В.Д. Шашина | Способ предотвращения солеотложения на нефтепромысловом оборудовании |
| CN104790912A (zh) * | 2015-04-10 | 2015-07-22 | 中国石油大学(北京) | 油井井口自动加药装置和加药方法 |
| CN106639997A (zh) * | 2016-12-05 | 2017-05-10 | 泰尔达能源科技(北京)有限公司 | 连续油管高压水射流注剂稠油降粘装置和方法 |
-
2011
- 2011-07-18 CN CN201120252177U patent/CN202140068U/zh not_active Expired - Fee Related
Cited By (4)
| Publication number | Priority date | Publication date | Assignee | Title |
|---|---|---|---|---|
| RU2550615C1 (ru) * | 2014-04-22 | 2015-05-10 | Открытое акционерное общество "Татнефть" имени В.Д. Шашина | Способ предотвращения солеотложения на нефтепромысловом оборудовании |
| CN104790912A (zh) * | 2015-04-10 | 2015-07-22 | 中国石油大学(北京) | 油井井口自动加药装置和加药方法 |
| CN106639997A (zh) * | 2016-12-05 | 2017-05-10 | 泰尔达能源科技(北京)有限公司 | 连续油管高压水射流注剂稠油降粘装置和方法 |
| CN106639997B (zh) * | 2016-12-05 | 2023-01-17 | 泰尔达能源科技(北京)有限公司 | 连续油管高压水射流注剂稠油降粘装置和方法 |
Similar Documents
| Publication | Publication Date | Title |
|---|---|---|
| CN204051535U (zh) | 一种加热加药罐 | |
| CN202140068U (zh) | 井口自动加药装置 | |
| CN216896824U (zh) | 一种长输管道高分子聚合物减阻剂的精密注控装置 | |
| CN203959792U (zh) | 一种桶装水自动抽水装置 | |
| CN204027042U (zh) | 一种高位水箱自动注水控制装置 | |
| CN204023677U (zh) | 一种具有稳流补偿功能的二次供水系统 | |
| CN201901591U (zh) | 一种饮料罐装回流系统 | |
| CN203678351U (zh) | 一种脱硫增效剂的粉末自动加药装置 | |
| CN204023698U (zh) | 一种二次供水稳流补偿系统 | |
| CN204023705U (zh) | 一种稳流补偿型全自动节能叠压供水设备 | |
| CN203132182U (zh) | 太阳能热水器上水装置 | |
| CN202517326U (zh) | 一种润滑油分配装置 | |
| CN203345497U (zh) | 一种储液罐 | |
| CN202360417U (zh) | 一种改进的水环式真空泵供水装置 | |
| CN203440163U (zh) | 自动喷吸式加药装置 | |
| CN204416164U (zh) | 一种多罐体串接式储液池 | |
| CN207523977U (zh) | 一种液体罐装设备 | |
| CN201545686U (zh) | 一种新型液体蚊香的加液机构 | |
| CN201731270U (zh) | 液体充装装置 | |
| CN204023719U (zh) | 一种箱式叠压稳压节能供水系统 | |
| CN203269527U (zh) | 外桶填充式灌装装置 | |
| CN203930451U (zh) | 一种连续作业线生产废水回收控制装置 | |
| CN201031665Y (zh) | 高压井井口无动力加药装置 | |
| CN202065675U (zh) | 一种减水剂输送装置 | |
| CN202700901U (zh) | 一种用于化学清洗清洗设备上的加热装置 |
Legal Events
| Date | Code | Title | Description |
|---|---|---|---|
| C14 | Grant of patent or utility model | ||
| GR01 | Patent grant | ||
| CF01 | Termination of patent right due to non-payment of annual fee |
Granted publication date: 20120208 Termination date: 20140718 |
|
| EXPY | Termination of patent right or utility model |