CN202133048U - Air conditioner air purification device - Google Patents

Air conditioner air purification device Download PDF

Info

Publication number
CN202133048U
CN202133048U CN201120238557U CN201120238557U CN202133048U CN 202133048 U CN202133048 U CN 202133048U CN 201120238557 U CN201120238557 U CN 201120238557U CN 201120238557 U CN201120238557 U CN 201120238557U CN 202133048 U CN202133048 U CN 202133048U
Authority
CN
China
Prior art keywords
air
purification device
air conditioner
shell
air purification
Prior art date
Legal status (The legal status is an assumption and is not a legal conclusion. Google has not performed a legal analysis and makes no representation as to the accuracy of the status listed.)
Expired - Lifetime
Application number
CN201120238557U
Other languages
Chinese (zh)
Inventor
张丽娥
Current Assignee (The listed assignees may be inaccurate. Google has not performed a legal analysis and makes no representation or warranty as to the accuracy of the list.)
SHENZHEN JIMCO ENVIRONMENTAL PROTECTION TECHNOLOGY Co Ltd
Original Assignee
SHENZHEN JIMCO ENVIRONMENTAL PROTECTION TECHNOLOGY Co Ltd
Priority date (The priority date is an assumption and is not a legal conclusion. Google has not performed a legal analysis and makes no representation as to the accuracy of the date listed.)
Filing date
Publication date
Application filed by SHENZHEN JIMCO ENVIRONMENTAL PROTECTION TECHNOLOGY Co Ltd filed Critical SHENZHEN JIMCO ENVIRONMENTAL PROTECTION TECHNOLOGY Co Ltd
Priority to CN201120238557U priority Critical patent/CN202133048U/en
Application granted granted Critical
Publication of CN202133048U publication Critical patent/CN202133048U/en
Anticipated expiration legal-status Critical
Expired - Lifetime legal-status Critical Current

Links

Images

Classifications

    • YGENERAL TAGGING OF NEW TECHNOLOGICAL DEVELOPMENTS; GENERAL TAGGING OF CROSS-SECTIONAL TECHNOLOGIES SPANNING OVER SEVERAL SECTIONS OF THE IPC; TECHNICAL SUBJECTS COVERED BY FORMER USPC CROSS-REFERENCE ART COLLECTIONS [XRACs] AND DIGESTS
    • Y02TECHNOLOGIES OR APPLICATIONS FOR MITIGATION OR ADAPTATION AGAINST CLIMATE CHANGE
    • Y02ATECHNOLOGIES FOR ADAPTATION TO CLIMATE CHANGE
    • Y02A50/00TECHNOLOGIES FOR ADAPTATION TO CLIMATE CHANGE in human health protection, e.g. against extreme weather
    • Y02A50/20Air quality improvement or preservation, e.g. vehicle emission control or emission reduction by using catalytic converters

Landscapes

  • Disinfection, Sterilisation Or Deodorisation Of Air (AREA)
  • Filtering Of Dispersed Particles In Gases (AREA)

Abstract

本实用新型公开了空调空气净化装置,包括联接于空调空气管道中的外壳,还包括设于外壳内的过滤部件和杀菌消毒部件,所述外壳设有用于容置过滤部件和杀菌消毒部件的中心通腔。本实用新型采用的活性炭吸附层能有效的过滤去除空气中有机化合物,微尘等等。再利用紫外线灯管持续照射,杀菌消毒,彻底去除异味。活性炭吸附层具有良好的吸附性,风阻小,对空气有明显过滤净化作用。采用人性化的设计理念,模块化、一体化的结构设计,使用户安装、维修十分方便,具有高效、低成本的特点。能快速高效的杀灭空气中浮游细菌、真菌、病菌以及芽孢等有害细菌。净化效率高,减少了用户维护费用。紫外线及臭氧能消减伤寒菌、结核杆菌、炭疽杆菌等三十多种病毒。

Figure 201120238557

The utility model discloses an air-conditioning air purification device, which comprises a shell connected to the air-conditioning air pipeline, and also includes a filter part and a sterilizing and disinfecting part arranged in the shell. through cavity. The active carbon adsorption layer adopted by the utility model can effectively filter and remove organic compounds, fine dust and the like in the air. Then use the ultraviolet lamp to irradiate continuously, sterilize and disinfect, and completely remove the peculiar smell. The activated carbon adsorption layer has good adsorption, small wind resistance, and has obvious filtering and purifying effect on air. It adopts humanized design concept, modularized and integrated structure design, which makes installation and maintenance very convenient for users, and has the characteristics of high efficiency and low cost. It can quickly and efficiently kill harmful bacteria such as planktonic bacteria, fungi, germs and spores in the air. High purification efficiency reduces user maintenance costs. Ultraviolet light and ozone can reduce more than 30 kinds of viruses such as typhoid, tuberculosis and anthrax.

Figure 201120238557

Description

Air conditioner air purification device
Technical field
The utility model relates to a kind of air cleaning facility, especially a kind of middle air conditioner air purification device of air duct that is installed on air-conditioning.
Background technology
In recent years, because the extensive use of construction material, decoration material and various chemical materials, Cure of Sick Building Syndrome takes place frequently.Especially the crowd of airtight air-conditioned room work life study, ubiquity headache, uncomfortable in chest, unsmooth breath, neurasthenia, feel sick and symptom such as mood agitation, cause the reduction of operating efficiency thus.Research shows, the pollution level of room air than the serious 5-10 of outdoor air doubly can reach 100 times under special circumstances, and this is because have harmful substance such as solid suspension, dust, sulfide in the air and be accompanied by various bacteriums and virus.And people the time of 80-90% is on average arranged is to spend indoor, so IAQ is healthy key.
The central air-conditioning pipe-line system deposit of office block is the main cause that causes room air pollution.The place that central air conditioner system is installed is generally populous, environment relative closure, air-conditioning system that operational management is not good enough not only can not improve IAQ, also becomes the generation source and the spreading tool of pollutant.In the office block populous, that pathogeny is numerous, only only can reduce airborne nuisance concentration through conventional treatment methods such as ventilation, filtration, isolation.
Based on the deficiency of above-mentioned prior art, the inventor designs especially a kind of middle air conditioner air purification device of air duct that is installed on the refrigerating/heating/ventilation of air-conditioning with innovating.
The utility model content
The purpose of the utility model is to overcoming the defective of prior art, and provide a kind of be installed on air-conditioning air duct in the middle of air conditioner air purification device.
For realizing above-mentioned purpose, the utility model adopts following technical scheme:
Air conditioner air purification device comprises being connected in the ducted shell of Air Conditioning, also comprises filter element and the sterilizing parts be located in the shell, and said shell is provided with the center cavity that is used for ccontaining filter element and sterilizing parts.
Its further technical scheme is: described filter element comprises the primary filter net that is fixedly arranged on the shell arrival end.
Its further technical scheme is: described sterilizing parts comprise is located at the middle quartz burner of center cavity.
Its further technical scheme is: described quartz burner is several pipes, and is uniformly distributed in the cavity of center.
Its further technical scheme is: the port of export of said shell also is provided with the cascade filtration net.
Its further technical scheme is: be provided with quartz burner between said primary filter net and the cascade filtration net.
Its further technical scheme is: also be provided with ozone generator between said primary filter net and the cascade filtration net.
Its further technical scheme is: also be provided with anion generator between described primary filter net and the cascade filtration net.
The utility model beneficial effect compared with prior art is: the activated carbon adsorption layer that the utility model adopts (be filter element, adopt the activated carbon filtration web frame) can effectively filter removes organic compound in the air, micronic dust or the like.Utilize quartz burner (preferred lower pressure mercury type) prolonged exposure again, sterilizing is thoroughly removed peculiar smell.Activated carbon adsorption layer has good adsorption property, and windage is little, and air is had obvious filtration, purification effect.Adopt humanized design concept, modularization, incorporate structural design make user's installation, maintenance very convenient, have efficiently, characteristics cheaply.Can rapidly and efficiently kill harmful bacterias such as planktonic bacteria in the air, fungi, germ and gemma.Purification efficiency is high, has reduced user's maintenance cost.Ultraviolet ray and ozone can be subdued typhoid fever bacterium, tubercle bacillus, bacillus anthracis etc. more than 30 and plant virus.
Below in conjunction with accompanying drawing and specific embodiment the utility model is further described.
Description of drawings
Fig. 1 is the schematic perspective view of the specific embodiment of the utility model air conditioner air purification device;
Fig. 2 is installed on the position view of centralized system cold type central air-conditioning for the utility model air conditioner air purification device;
Fig. 3 A is installed on the position view one of fan coil for the utility model air conditioner air purification device;
Fig. 3 B is installed on the position view two of fan coil for the utility model air conditioner air purification device;
Fig. 3 C is installed on the position view three of fan coil for the utility model air conditioner air purification device.
Description of reference numerals
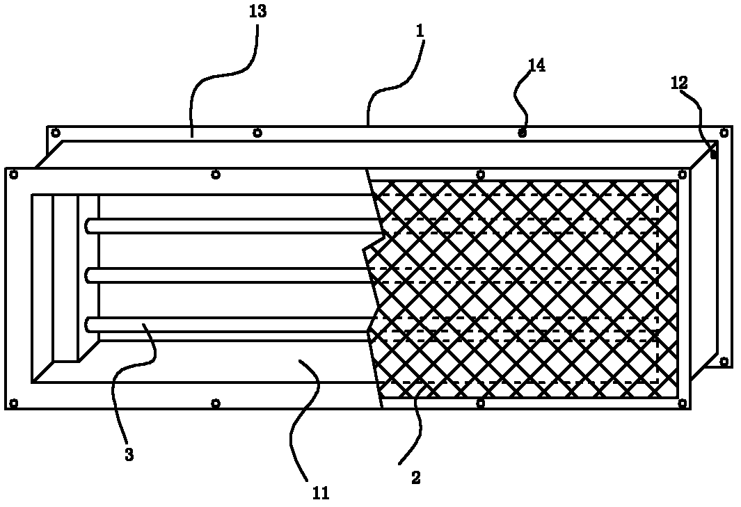
1 shell, 11 center cavities
12 power holes, 13 gusset pieces
14 connection holes
2 primary filter nets, 3 quartz burners
4 refrigeration unit, 41 air inlet places
42 air outlet places, 5 fan coils
51 ajutages, 52 air outlets
53 air-intaking box A air conditioner air purification devices
The specific embodiment
In order more to make much of the technology contents of the utility model, below in conjunction with specific embodiment the technical scheme of the utility model is further introduced and explanation, but be not limited to this.
As shown in Figure 1; The utility model air conditioner air purification device; Comprise being connected in the ducted shell 1 of Air Conditioning that also comprise filter element and the sterilizing parts be located in the shell 1, shell 1 is provided with the center cavity 11 that is used for ccontaining filter element and sterilizing parts.Filter element comprises the primary filter net 2 (preferentially adopt activated charcoal strainer, also can adopt fiber net structure) that is fixedly arranged on shell 1 arrival end.The sterilizing parts comprise the quartz burner of being located in the center cavity 11 3.Quartz burner 3 is several pipes, and is uniformly distributed in the center cavity 11.
As shown in Figure 2, the air conditioner air purification device of the utility model can be installed on the air inlet place 41 or the air outlet place 42 of refrigeration unit 4 of the central air-conditioning of centralized system cold type.Like Fig. 3 A to Fig. 3 C, also can the utility model air conditioner air purification device be installed on respectively at the terminal of central air-conditioning is the different parts of fan coil 5.Being mounted in the ajutage 51 among Fig. 3 A; Among Fig. 3 B is to be installed on air outlet 52, and among Fig. 3 C is to be installed in the air-intaking box 53.
As the further innovation of the utility model, can also be provided with the cascade filtration net at the port of export of shell, and between primary filter net and cascade filtration net, be provided with quartz burner, and ozone generator or anion generator.Make it to have two layers of filtration, and ozone goes the peculiar smell effect, and improve airborne anion concentration, use indoor air to be improved effectively.
Operation principle is: when organic pollution when the filter course, will filter micronic dust, when getting into irradiation area through the air behind filtration, purification, ultraviolet ray can penetrate the nucleus (strand of DNA) in the microbial cell film, makes it lose replication capacity and activity.Therefore cell reproducible not, microorganism will be dead.Can increase the ozone that ozone generator produces trace, be used for eliminating the peculiar smell that from air and air surface, produces.Anion generator can also further be increased, to improve the employed air of air-conditioning.
Go for: institutional settings, bank, office building, meeting room, business hall, hotel, restaurant, public place of entertainment, large, medium and small supermarket, all kinds of market; Pollute circular treatment room, tannery, meat processing combine, food processing factory, icebox cold store; Hospital, pharmacy, the aseptic cleaning shop of electron trade, pure water workshop; Central air conditioner system and building ventilation systems such as (car, ship) hall wait.
In sum, the activated carbon adsorption layer (being filter element) that the utility model adopts can effectively filter and remove organic compound in the air, micronic dust or the like.Utilize quartz burner (preferred lower pressure mercury type) prolonged exposure again, sterilizing is thoroughly removed peculiar smell.Activated carbon adsorption layer has good adsorption property, and windage is little, and air is had obvious filtration, purification effect.Adopt humanized design concept, modularization, incorporate structural design make user's installation, maintenance very convenient, have efficiently, characteristics cheaply.Can rapidly and efficiently kill harmful bacterias such as planktonic bacteria in the air, fungi, germ and gemma.Purification efficiency is high, has reduced user's maintenance cost.Ultraviolet ray and ozone can be subdued typhoid fever bacterium, tubercle bacillus, bacillus anthracis etc. more than 30 and plant virus.
The above only further specifies the technology contents of the utility model with embodiment; So that the reader is more readily understood; But do not represent the embodiment of the utility model to only limit to this, any technology of doing according to the utility model is extended or recreation, all receives the protection of the utility model.The protection domain of the utility model is as the criterion with claims.

Claims (9)

1. air conditioner air purification device comprises being connected in the ducted shell of Air Conditioning, it is characterized in that also comprising filter element and the sterilizing parts be located in the shell, and said shell is provided with the center cavity that is used for ccontaining filter element and sterilizing parts.
2. air conditioner air purification device according to claim 1 is characterized in that described filter element comprises the primary filter net that is fixedly arranged on the shell arrival end.
3. air conditioner air purification device according to claim 2 is characterized in that described sterilizing parts comprise the quartz burner of being located in the cavity of center.
4. air conditioner air purification device according to claim 3 is characterized in that described quartz burner is several pipes, and is uniformly distributed in the cavity of center.
5. air conditioner air purification device according to claim 2 is characterized in that the port of export of said shell also is provided with the cascade filtration net.
6. air conditioner air purification device according to claim 5 is characterized in that being provided with quartz burner between said primary filter net and the cascade filtration net.
7. air conditioner air purification device according to claim 6 is characterized in that also being provided with ozone generator between described primary filter net and the cascade filtration net.
8. air conditioner air purification device according to claim 6 is characterized in that also being provided with anion generator between described primary filter net and the cascade filtration net.
9. according to each described air conditioner air purification device of claim 2 to 8, it is characterized in that described screen pack is an activated charcoal strainer.
CN201120238557U 2011-07-07 2011-07-07 Air conditioner air purification device Expired - Lifetime CN202133048U (en)

Priority Applications (1)

Application Number Priority Date Filing Date Title
CN201120238557U CN202133048U (en) 2011-07-07 2011-07-07 Air conditioner air purification device

Applications Claiming Priority (1)

Application Number Priority Date Filing Date Title
CN201120238557U CN202133048U (en) 2011-07-07 2011-07-07 Air conditioner air purification device

Publications (1)

Publication Number Publication Date
CN202133048U true CN202133048U (en) 2012-02-01

Family

ID=45521815

Family Applications (1)

Application Number Title Priority Date Filing Date
CN201120238557U Expired - Lifetime CN202133048U (en) 2011-07-07 2011-07-07 Air conditioner air purification device

Country Status (1)

Country Link
CN (1) CN202133048U (en)

Cited By (3)

* Cited by examiner, † Cited by third party
Publication number Priority date Publication date Assignee Title
CN105352047A (en) * 2015-12-02 2016-02-24 天津中科绿建节能技术服务有限公司 Energy-saving and environment-friendly central air conditioner
CN111380126A (en) * 2020-04-01 2020-07-07 苏州仁甬得物联科技有限公司 Efficient air conditioner filtering and sterilizing system
CN116792816A (en) * 2023-07-13 2023-09-22 何坤 Hanging air conditioner

Cited By (3)

* Cited by examiner, † Cited by third party
Publication number Priority date Publication date Assignee Title
CN105352047A (en) * 2015-12-02 2016-02-24 天津中科绿建节能技术服务有限公司 Energy-saving and environment-friendly central air conditioner
CN111380126A (en) * 2020-04-01 2020-07-07 苏州仁甬得物联科技有限公司 Efficient air conditioner filtering and sterilizing system
CN116792816A (en) * 2023-07-13 2023-09-22 何坤 Hanging air conditioner

Similar Documents

Publication Publication Date Title
CN201138022Y (en) Air handling unit with purification and disinfection function
CN204593637U (en) Indoor air disinfection purifier
CN201145364Y (en) Circulating air and fresh air purification and disinfection machine
CN106091343B (en) Laminated disc-mounted nano colloidal gel air purifier
CN202133048U (en) Air conditioner air purification device
CN202048629U (en) Blower coil pipe unit with air purification function
CN202126034U (en) Combined sterilization, virus-killing and purifying device at tail end of a central air conditioning system
CN205252140U (en) Wind channel type plasma air purification degassing unit
CN212538198U (en) A vertical air disinfection and purification machine
CN205227617U (en) Novel purify air conditioner
CN202168578U (en) Office table with plasma purifying and sterilizing function
Sung et al. Removal of indoor airborne bacteria by nano-Ag/TiO 2 as photocatalyst: Feasibility study in museum and nursing institutions
CN111237908A (en) Slow-release chlorine dioxide disinfection device and its air replacement equipment
CN205208750U (en) New trend formula plasma air purification device
CN204593616U (en) A kind of air purifier
CN202192928U (en) Pen container with plasma purifying function
CN110410917A (en) A plasma fresh air system
CN202195540U (en) Ceiling type air conditioner with plasma purifier
CN205245405U (en) Central air conditioning plasma purifier
CN202546953U (en) Fan pipe disc type plasma purifying and disinfecting device
CN204100417U (en) Medical treatment air cleaning system
CN203131978U (en) Sterilization and disinfection device inside fresh air handling unit
CN2705737Y (en) Novel sterilizing air conditioner
CN201138021Y (en) fresh air ventilator
CN202171902U (en) Novel plasma air purification globe

Legal Events

Date Code Title Description
C14 Grant of patent or utility model
GR01 Patent grant
CX01 Expiry of patent term
CX01 Expiry of patent term

Granted publication date: 20120201