CN202133037U - An online intelligent control heating system - Google Patents
An online intelligent control heating system Download PDFInfo
- Publication number
- CN202133037U CN202133037U CN201120218736U CN201120218736U CN202133037U CN 202133037 U CN202133037 U CN 202133037U CN 201120218736 U CN201120218736 U CN 201120218736U CN 201120218736 U CN201120218736 U CN 201120218736U CN 202133037 U CN202133037 U CN 202133037U
- Authority
- CN
- China
- Prior art keywords
- steam
- heat exchanger
- regulating valve
- heating system
- electric regulating
- Prior art date
- Legal status (The legal status is an assumption and is not a legal conclusion. Google has not performed a legal analysis and makes no representation as to the accuracy of the status listed.)
- Expired - Lifetime
Links
Landscapes
- Steam Or Hot-Water Central Heating Systems (AREA)
- Domestic Hot-Water Supply Systems And Details Of Heating Systems (AREA)
Abstract
本实用新型公开了一种在线智能控制采暖系统,包括蒸汽管道,蒸汽管道与热交换器连接,热交换器与暖气片通过热水管道连接,暖气片与热交换器之间设置有回水管,所述蒸汽管道上设置有电动调节阀;所述热水管道上设置有温度传感器;温度传感器与电动调节阀通过智能控制器连接。本实用新型通过水温的反馈信号变化来控制电动调节阀来控制蒸汽流量的大小,这样能够更精确的控制使用蒸汽流量的多少,从而达到节约蒸汽的目的。
The utility model discloses an online intelligent control heating system, which comprises a steam pipeline, which is connected to a heat exchanger, the heat exchanger is connected to a radiator through a hot water pipeline, and a return pipe is arranged between the radiator and the heat exchanger. The steam pipe is provided with an electric regulating valve; the hot water pipe is provided with a temperature sensor; the temperature sensor is connected with the electric regulating valve through an intelligent controller. The utility model controls the electric regulating valve to control the size of the steam flow through the change of the feedback signal of the water temperature, so that the amount of the used steam flow can be more accurately controlled, thereby achieving the purpose of saving steam.
Description
技术领域 technical field
本实用新型涉及一种在线智能控制采暖系统。 The utility model relates to an online intelligent control heating system.
背景技术 Background technique
传统的采暖系统主要由蒸汽管道、热交换器、水路管道、暖气片、温度表、蒸汽截止阀、循环水泵等构成。锅炉房输送来的蒸汽经热交换器换热后将热量传递给循环水,循环水供水温度升高,经循环水泵将热量传递给各用户,循环水回水温度降低,操作工根据温度表的显示温度变化,手动调节蒸汽阀门的开度。 The traditional heating system is mainly composed of steam pipes, heat exchangers, water pipes, radiators, thermometers, steam shut-off valves, circulating water pumps, etc. The steam delivered from the boiler room transfers heat to the circulating water after being exchanged by the heat exchanger. The temperature of the circulating water supply increases, and the heat is transferred to the users through the circulating water pump. The return temperature of the circulating water decreases. Display temperature changes, manually adjust the steam valve opening.
因回水水温波动较大,控制精度不高,造成蒸汽能源的浪费,工人在操作过程中需要根据水温变化,手动调节蒸汽阀门的开度,工人的劳动量大;由于经常调节阀门,造成阀门易损坏,阀门的寿命缩短,维修费用增加。 Due to large fluctuations in return water temperature and low control accuracy, steam energy is wasted. During operation, workers need to manually adjust the opening of the steam valve according to changes in water temperature. Easy to damage, the life of the valve is shortened, and the maintenance cost increases.
实用新型内容 Utility model content
本实用新型的目的是提供一种可以自动调节蒸汽使用量的在线智能控制采暖系统,减少工人劳动强度,节约能耗。 The purpose of the utility model is to provide an online intelligent control heating system that can automatically adjust the steam consumption, reduce the labor intensity of workers, and save energy consumption.
为达到上述目的,本实用新型采用的技术方案是: For achieving the above object, the technical scheme that the utility model adopts is:
一种在线智能控制采暖系统,包括蒸汽管道,蒸汽管道与热交换器连接,热交换器与暖气片通过热水管道连接,暖气片与热交换器之间设置有回水管,所述蒸汽管道上设置有电动调节阀;所述热水管道上设置有温度传感器;温度传感器与电动调节阀通过智能控制器连接。 An online intelligent control heating system, including a steam pipeline, the steam pipeline is connected to a heat exchanger, the heat exchanger is connected to the radiator through a hot water pipeline, and a return pipe is arranged between the radiator and the heat exchanger, and the steam pipeline is An electric regulating valve is provided; a temperature sensor is provided on the hot water pipe; the temperature sensor and the electric regulating valve are connected through an intelligent controller.
本实用新型中,在蒸汽管道上安装电动调节阀,在热水管道上安装温度传感器,通过水温反馈过来的信号变化利用智能控制器来控制电动调节阀来控制蒸汽流量的大小,这样能够更精确的控制使用蒸汽流量的多少,从而达到节约蒸汽的目的,不再需要工人来操作,降低工人劳动强度。 In the utility model, an electric regulating valve is installed on the steam pipe, a temperature sensor is installed on the hot water pipe, and the signal change fed back by the water temperature is controlled by an intelligent controller to control the electric regulating valve to control the size of the steam flow, which can be more accurate Control the amount of steam flow to achieve the purpose of saving steam, no longer need workers to operate, and reduce the labor intensity of workers.
附图说明 Description of drawings
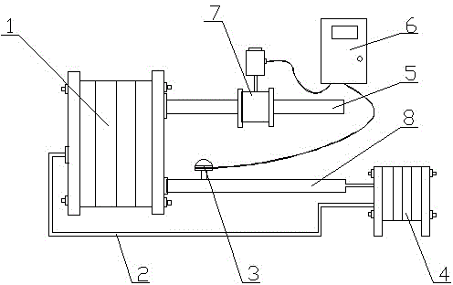
图1是本实用新型结构示意图。 Fig. 1 is the structural representation of the utility model.
具体实施方式 Detailed ways
如图1所示,一种在线智能控制采暖系统,包括蒸汽管道5,蒸汽管道5与热交换器1连接,热交换器1与暖气片4通过热水管道8连接,暖气片4与热交换器1之间设置有回水管2,所述蒸汽管道5上设置有电动调节阀7;所述热水管道8上设置有温度传感器3;温度传感器3与电动调节阀7通过智能控制器6连接。 As shown in Figure 1, an online intelligent control heating system includes a steam pipe 5, the steam pipe 5 is connected to the heat exchanger 1, the heat exchanger 1 is connected to the radiator 4 through a hot water pipe 8, and the radiator 4 is connected to the heat exchange A return pipe 2 is arranged between the devices 1, and an electric regulating valve 7 is arranged on the steam pipe 5; a temperature sensor 3 is arranged on the hot water pipe 8; the temperature sensor 3 and the electric regulating valve 7 are connected through an intelligent controller 6 .
本实用新型通过水温的反馈信号变化来控制电动调节阀来控制蒸汽量的流量大小,这样能够更精确的控制使用蒸汽流量的多少,从而达到节约蒸汽的目的。 The utility model controls the electric regulating valve to control the steam flow rate through the feedback signal change of the water temperature, so that the steam flow rate can be controlled more accurately, thereby achieving the purpose of saving steam.
本实用新型中,温度传感器3可以使用西门子QAE2120.010嵌入式温度传感器,智能控制器6可以使用西门子RWD62通用控制器,但不局限于此。 In the utility model, the temperature sensor 3 can use a Siemens QAE2120.010 embedded temperature sensor, and the intelligent controller 6 can use a Siemens RWD62 universal controller, but not limited thereto.
Claims (1)
Priority Applications (1)
| Application Number | Priority Date | Filing Date | Title |
|---|---|---|---|
| CN201120218736U CN202133037U (en) | 2011-06-27 | 2011-06-27 | An online intelligent control heating system |
Applications Claiming Priority (1)
| Application Number | Priority Date | Filing Date | Title |
|---|---|---|---|
| CN201120218736U CN202133037U (en) | 2011-06-27 | 2011-06-27 | An online intelligent control heating system |
Publications (1)
| Publication Number | Publication Date |
|---|---|
| CN202133037U true CN202133037U (en) | 2012-02-01 |
Family
ID=45521804
Family Applications (1)
| Application Number | Title | Priority Date | Filing Date |
|---|---|---|---|
| CN201120218736U Expired - Lifetime CN202133037U (en) | 2011-06-27 | 2011-06-27 | An online intelligent control heating system |
Country Status (1)
| Country | Link |
|---|---|
| CN (1) | CN202133037U (en) |
Cited By (2)
| Publication number | Priority date | Publication date | Assignee | Title |
|---|---|---|---|---|
| CN105652657A (en) * | 2015-12-30 | 2016-06-08 | 国家电网公司 | Automatic pipe warming method for steam pipeline of thermodynamic system |
| CN114183791A (en) * | 2021-11-04 | 2022-03-15 | 淮北矿业股份有限公司 | Energy-saving heat exchange unit |
-
2011
- 2011-06-27 CN CN201120218736U patent/CN202133037U/en not_active Expired - Lifetime
Cited By (3)
| Publication number | Priority date | Publication date | Assignee | Title |
|---|---|---|---|---|
| CN105652657A (en) * | 2015-12-30 | 2016-06-08 | 国家电网公司 | Automatic pipe warming method for steam pipeline of thermodynamic system |
| CN105652657B (en) * | 2015-12-30 | 2018-09-07 | 国家电网公司 | A kind of automatic heating coil method for therrmodynamic system jet chimney |
| CN114183791A (en) * | 2021-11-04 | 2022-03-15 | 淮北矿业股份有限公司 | Energy-saving heat exchange unit |
Similar Documents
| Publication | Publication Date | Title |
|---|---|---|
| CN203068817U (en) | A solar gas complementary automatic water heater | |
| CN204202200U (en) | A kind of gas heater multi-machine parallel connection straight-flow system | |
| CN202133037U (en) | An online intelligent control heating system | |
| CN206398741U (en) | A high-efficiency gas water heater | |
| CN206311986U (en) | Automatic temperature control apparatus | |
| CN201152584Y (en) | Water-water heating temperature regulator and water heater | |
| CN204880702U (en) | An air source heat pump water heater with intelligent water temperature adjustment | |
| CN208936561U (en) | External hot water storage tank type solid thermal storage electric heating system | |
| CN202947301U (en) | Solar energy gas composite energy source hot water system | |
| CN203454881U (en) | Anticorrosive flue gas waste heat recovery system | |
| CN202853103U (en) | Device with heating water heater multimachine parallel system | |
| CN204006667U (en) | The different poly-state heat utilization system of solar energy that pipeline opening degree is adjustable | |
| CN205137746U (en) | A split integrated energy-saving system for hydraulic central air-conditioning | |
| CN205351803U (en) | Solar energy electrical heating heating shower all -in -one | |
| CN204187803U (en) | A kind of energy-saving solar directly-heated type boiler hot-water system | |
| CN203174081U (en) | Plate type heat exchanger for vinegar making | |
| CN201844554U (en) | Air source heat pump water heater | |
| CN203588092U (en) | Jacket container temperature control system | |
| CN203771514U (en) | Pressure-bearing type solar heat pump | |
| CN206113298U (en) | Energy -conserving hot -water supply device | |
| CN201680497U (en) | Solar energy and air source heat pump combined and complementary heating system device | |
| CN207035311U (en) | A kind of hierarchical control hot-water heating system | |
| CN107327907A (en) | A kind of hierarchical control hot-water heating system | |
| CN202452855U (en) | Cyclic production device of constant-temperature hot water | |
| CN106369813A (en) | Energy-saving hot water supply device |
Legal Events
| Date | Code | Title | Description |
|---|---|---|---|
| C14 | Grant of patent or utility model | ||
| GR01 | Patent grant | ||
| C56 | Change in the name or address of the patentee | ||
| CP02 | Change in the address of a patent holder |
Address after: 450000 Yulin South Road, Henan, Zheng Dong, No. 16 South Road, Zhengzhou Patentee after: China Tobacco Henan Industrial Co., Ltd. Address before: 450000 Zhengzhou agricultural road, Henan, No. 29 Patentee before: China Tobacco Henan Industrial Co., Ltd. |
|
| CX01 | Expiry of patent term | ||
| CX01 | Expiry of patent term |
Granted publication date: 20120201 |
