CN202130304U - 一种新型加油通气管接头及汽车燃油系统 - Google Patents
一种新型加油通气管接头及汽车燃油系统 Download PDFInfo
- Publication number
- CN202130304U CN202130304U CN201120033456U CN201120033456U CN202130304U CN 202130304 U CN202130304 U CN 202130304U CN 201120033456 U CN201120033456 U CN 201120033456U CN 201120033456 U CN201120033456 U CN 201120033456U CN 202130304 U CN202130304 U CN 202130304U
- Authority
- CN
- China
- Prior art keywords
- fuel tank
- breather pipe
- connection
- oiling
- tipping tube
- Prior art date
- Legal status (The legal status is an assumption and is not a legal conclusion. Google has not performed a legal analysis and makes no representation as to the accuracy of the status listed.)
- Expired - Fee Related
Links
- 239000000446 fuel Substances 0.000 title claims abstract description 30
- 239000002828 fuel tank Substances 0.000 claims abstract description 54
- 238000003466 welding Methods 0.000 claims description 3
- 239000007788 liquid Substances 0.000 abstract description 6
- 239000000945 filler Substances 0.000 description 14
- 239000003921 oil Substances 0.000 description 6
- 238000000034 method Methods 0.000 description 5
- 230000008569 process Effects 0.000 description 5
- 239000000295 fuel oil Substances 0.000 description 4
- 238000005516 engineering process Methods 0.000 description 2
- 230000008859 change Effects 0.000 description 1
- 238000010276 construction Methods 0.000 description 1
- 230000008878 coupling Effects 0.000 description 1
- 238000010168 coupling process Methods 0.000 description 1
- 238000005859 coupling reaction Methods 0.000 description 1
- 230000007812 deficiency Effects 0.000 description 1
- 238000012938 design process Methods 0.000 description 1
- 238000006073 displacement reaction Methods 0.000 description 1
- 238000009434 installation Methods 0.000 description 1
- 239000000463 material Substances 0.000 description 1
- 239000007769 metal material Substances 0.000 description 1
- 230000004048 modification Effects 0.000 description 1
- 238000012986 modification Methods 0.000 description 1
Images
Landscapes
- Cooling, Air Intake And Gas Exhaust, And Fuel Tank Arrangements In Propulsion Units (AREA)
Abstract
本实用新型公开了一种用于汽车燃油系统的加油通气管接头,所述加油通气管接头包括倾斜管、与倾斜管连接的连接部,所述倾斜管设置成向水平面上方倾斜。本实用新型的加油通气管接头通过将倾斜管设置成具有向上的倾角,提高了燃油箱可加油液面的高度,从而增加了汽车燃油箱实际可用容积。本实用新型无需更改燃油箱的外型,即可增加燃油箱的实际可用容积,解决了车辆开发过程中面临的燃油箱实际可用容积不够所带来的续航里程不足问题。
Description
技术领域
本实用新型涉及一种汽车燃油系统所应用的加油通气管接头。
背景技术
汽车燃油箱起到接受及存储燃油、按指定的压力和流量输送燃油供给发动机等功能。同时,燃油箱的实际可用容积直接决定了该车型的最大续航里程,影响着客户对车辆整体的满意度。
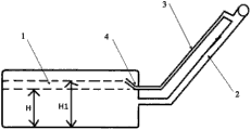
而燃油箱的实际可用容积主要是由燃油箱的理论总容积,及所使用的加油通气管接头的结构决定的。如图1所示,现有燃油系统的结构,包括燃油箱本体1和加油管总成,所述加油管总成包括加油管2和通气管3,其中燃油箱本体1通过加油通气管接头4与通气管3相通。在加油过程中,加油枪插入加油管2中,向燃油箱加油。当燃油箱内油位加至加油通气管接头4的高度H后继续加油时,多余的燃油会通过加油通气管接头4进入通气管3。由于通气管3相对加油管2直径细很多,此时燃油在通气管2内会上涌比较快,直至到达加油口5处后,加油枪上的传感器会感知到燃油液体后自动跳枪,结束加油过程。
从上述过程中可知,要想增加燃油箱的可用容积,一种方案是增加燃油箱本身的理论容积,另一种方案则是提高跳枪液位高度H。
但是,由于乘用车上燃油箱设计易受周围空间布置所限制,无法通过一味地增大整个燃油箱的体积来实现增加燃油箱可用容积的目的。
因此,有必要设计一种新型加油通气管接头,在不修改燃油箱的外部形状的前提下,来提高燃油箱的实际可用容积。
实用新型内容
为了解决现有燃油箱设计无法通过增加燃油箱的容积来增加实际客 户可使用容积的问题,本实用新型提供了一种新型的加油通气管接头及汽车燃油系统,来增加汽车燃油箱的实际可用容积。
本实用新型提供的加油通气管接头包括倾斜管、与倾斜管连接的连接部,所述倾斜管设置成向水平面上方倾斜。
优选地,所述倾斜管和水平面的夹角大于0度且小于90度。
本实用新型还提供了一种汽车燃油系统,所述汽车燃油系统包括:加油通气管接头、油箱本体、通气管,燃油箱本体通过加油通气管接头与通气管相连,所述加油通气管接头包括倾斜管、与倾斜管连接的连接部,所述倾斜管设置成向水平面上方倾斜,加油通气管接头与油箱本体连接。
优选地,加油通气管接头通过连接部与燃油箱固定连接。
优选地,加油通气管接头通过连接部与燃油箱焊接。
优选地,所述倾斜管和水平面的夹角大于0度且小于90度。
本实用新型的汽车加油通气管接头通过将接头设置成具有向上的倾角,提高了燃油箱的可加油液面的高度,从而增加汽车燃油箱实际可用容积。本实用新型无需更改燃油箱的外型,即可提高加油跳枪液位,增大燃油箱可用容积,解决了车辆设计过程中面临的燃油箱实际可用容积不够带来的续航里程不足的问题。
附图说明
图1是现有技术中向燃油箱中加油过程的示意图;
图2是本实用新型的加油通气管接头增加燃油箱可用容积的结构原理示意图;
图3是本实用新型加油通气管的一种实施方式的结构示意图。
具体实施方式
以下结合附图对本实用新型提供的加油通气管接头以及采用该加油通气管接头的汽车燃油系统作进一步详细的描述:
如图3所示,加油通气管接头包括倾斜管42、与倾斜管连接的连接 部41,所述倾斜管42设置成向水平面上方倾斜。
倾斜管42是一段倾斜的直管,在安装位置时,倾斜管42的管口向上,倾斜角大于0度小于90度,倾斜管42可以采用各种适合的材料制成,例如由金属材料制成。倾斜管42的长度决定燃油箱的可加油液面的高度。
连接部41用于为加油通气管接头提供连接端,连接部41可以采用多种适合的结构,优选地,连接部41为图3所示的优选实施例中适于焊接的端部结构。
相应地,本实用新型提供了一种采用了上述特定设计的加油通气管接头的汽车燃油系统。图2是本实用新型的加油通气管接头增加燃油箱可用容积的结构原理示意图。如图所示,该燃油系统包括燃油箱本体1和与油箱本体相连通的加油管总成,加油管总成包括加油管2和通气管3,其中燃油箱本体1通过加油通气管接头4与加油管总成中的通气管3相连。
其中的加油通气管接头4包括倾斜管42、与倾斜管42连接的连接部41,加油通气管接头4通过连接部41与燃油箱本体1连接,倾斜管42设置成具有与水平面呈0-90度向上的倾角。加油通气管接头4如前面加油通气管接头所述,在此不再赘述。
本实用新型通过使加油通气管接头4设置成具有向上的倾角,将燃油箱开始跳枪的液位从H提高至H2,增加了汽车燃油箱实际可用容积。
加油通气管接头与燃油箱本体1固定在一起,优选地,加油通气管接头与燃油箱本体1通过焊接连接在一起。本实用新型的倾斜管42设置成具有与水平面呈大于0度且小于90度的倾角。当选择倾角接近90度时,倾斜管42和水平面几乎垂直,因此此时的加油通气管接头4也称为L形加油管接头,该L形加油管接头将燃油箱的可加油液面的高度提高至最高。
本实用新型的加油通气管接头通过使加油管接头设置成具有向上的倾角,当燃油箱内加油液位加至加油通气管接头的高度时,多余的燃油会通过加油通气管接头进入通气管,继而迅速到达加油口处。本实用新 型的加油管接头由于具有向上倾斜的角度,因此提高了燃油箱开始跳枪的液位,增加汽车燃油箱实际可用容积。
上述实施例仅供说明本实用新型之用,而并非是对本实用新型的限制,有关技术领域的普通技术人员,在不脱离本实用新型范围的情况下,还可以做出各种变化和变型,因此所有等同的技术方案也应属于本实用新型公开的范畴。
Claims (6)
1.一种用于汽车燃油系统的加油通气管接头,其特征是:所述加油通气管接头包括倾斜管、与倾斜管连接的连接部,所述倾斜管设置成向水平面上方倾斜。
2.根据权利要求1所述的加油通气管接头,其特征是:所述倾斜管和水平面的夹角大于0度且小于90度。
3.一种汽车燃油系统,其特征是:所述汽车燃油系统包括:加油通气管接头、油箱本体、通气管,燃油箱本体通过加油通气管接头与通气管相连,所述加油通气管接头包括倾斜管、与倾斜管连接的连接部,所述倾斜管设置成向水平面上方倾斜,加油通气管接头与油箱本体连接。
4.根据权利要求3所述的系统,其特征是:加油通气管接头通过连接部与燃油箱固定连接。
5.根据权利要求4所述的系统,其特征是:加油通气管接头通过连接部与燃油箱焊接。
6.根据权利要求3所述的系统,其特征是:所述倾斜管和水平面的夹角大于0度且小于90度。
Priority Applications (1)
| Application Number | Priority Date | Filing Date | Title |
|---|---|---|---|
| CN201120033456U CN202130304U (zh) | 2011-01-26 | 2011-01-26 | 一种新型加油通气管接头及汽车燃油系统 |
Applications Claiming Priority (1)
| Application Number | Priority Date | Filing Date | Title |
|---|---|---|---|
| CN201120033456U CN202130304U (zh) | 2011-01-26 | 2011-01-26 | 一种新型加油通气管接头及汽车燃油系统 |
Publications (1)
| Publication Number | Publication Date |
|---|---|
| CN202130304U true CN202130304U (zh) | 2012-02-01 |
Family
ID=45519086
Family Applications (1)
| Application Number | Title | Priority Date | Filing Date |
|---|---|---|---|
| CN201120033456U Expired - Fee Related CN202130304U (zh) | 2011-01-26 | 2011-01-26 | 一种新型加油通气管接头及汽车燃油系统 |
Country Status (1)
| Country | Link |
|---|---|
| CN (1) | CN202130304U (zh) |
Cited By (1)
| Publication number | Priority date | Publication date | Assignee | Title |
|---|---|---|---|---|
| CN116950818A (zh) * | 2022-04-20 | 2023-10-27 | 重庆宗申通用动力机械有限公司 | 一种油箱 |
-
2011
- 2011-01-26 CN CN201120033456U patent/CN202130304U/zh not_active Expired - Fee Related
Cited By (1)
| Publication number | Priority date | Publication date | Assignee | Title |
|---|---|---|---|---|
| CN116950818A (zh) * | 2022-04-20 | 2023-10-27 | 重庆宗申通用动力机械有限公司 | 一种油箱 |
Similar Documents
| Publication | Publication Date | Title |
|---|---|---|
| US8038172B2 (en) | Motorcycle | |
| CN103228476A (zh) | 车辆用箱和/或者用于这种箱的加注管 | |
| CN202130304U (zh) | 一种新型加油通气管接头及汽车燃油系统 | |
| CN201941583U (zh) | 一种汽油车加油管 | |
| CN1692221A (zh) | 液态燃料量测量系统和液态燃料量测量方法 | |
| CN104175871B (zh) | 一种汽车燃油箱 | |
| CN101450612A (zh) | 车用燃油箱 | |
| CN209159416U (zh) | 用于汽车油箱上的可以精确调节关闭高度的内置式组合阀 | |
| CN105564226B (zh) | 用于运行机动车燃料箱装置的方法及相应的燃料箱装置 | |
| KR100989814B1 (ko) | 차량용 주유관 | |
| CN107939753A (zh) | 一种挖掘机液压油箱及油量控制方法 | |
| CN204323044U (zh) | 双箱体油箱 | |
| CN204037330U (zh) | 一种汽车燃油箱 | |
| CN203063665U (zh) | 加油通气管、油箱以及其构成的加油系统 | |
| CN206623676U (zh) | 一种左右置燃油箱的加注系统 | |
| CN208247964U (zh) | 一种汽车吸油式油箱 | |
| CN201633531U (zh) | 一种能防止燃油进入通气管的汽车加油管总成 | |
| CN207956502U (zh) | 一种新型防洒瓶盖 | |
| CN1911699A (zh) | 汽车油箱 | |
| CN213442084U (zh) | 一种加油管的管口结构及模具 | |
| CN206086360U (zh) | 联合收割机燃油箱 | |
| KR101776822B1 (ko) | 차량용 연료탱크의 구조 | |
| CN215590487U (zh) | 可提高加油顺畅性的燃油加注管 | |
| CN201143886Y (zh) | 一种汽车油箱 | |
| CN106080180A (zh) | 自卸车燃油箱及其制造方法 |
Legal Events
| Date | Code | Title | Description |
|---|---|---|---|
| C14 | Grant of patent or utility model | ||
| GR01 | Patent grant | ||
| CF01 | Termination of patent right due to non-payment of annual fee | ||
| CF01 | Termination of patent right due to non-payment of annual fee |
Granted publication date: 20120201 Termination date: 20190126 |