CN202127736U - Cabinet type fly trap - Google Patents
Cabinet type fly trap Download PDFInfo
- Publication number
- CN202127736U CN202127736U CN201120245699U CN201120245699U CN202127736U CN 202127736 U CN202127736 U CN 202127736U CN 201120245699 U CN201120245699 U CN 201120245699U CN 201120245699 U CN201120245699 U CN 201120245699U CN 202127736 U CN202127736 U CN 202127736U
- Authority
- CN
- China
- Prior art keywords
- insect
- cabinet
- opening
- area
- flies
- Prior art date
- Legal status (The legal status is an assumption and is not a legal conclusion. Google has not performed a legal analysis and makes no representation as to the accuracy of the status listed.)
- Withdrawn - After Issue
Links
- 241000190070 Sarracenia purpurea Species 0.000 title claims abstract description 11
- 241000238631 Hexapoda Species 0.000 claims abstract description 39
- 238000009423 ventilation Methods 0.000 claims abstract description 24
- 238000005192 partition Methods 0.000 claims abstract description 19
- 239000002184 metal Substances 0.000 claims abstract description 11
- 230000002265 prevention Effects 0.000 claims abstract description 5
- 241000254173 Coleoptera Species 0.000 abstract description 5
- 239000003814 drug Substances 0.000 abstract description 4
- 229940079593 drug Drugs 0.000 abstract description 4
- 239000000126 substance Substances 0.000 abstract description 4
- 230000007547 defect Effects 0.000 abstract description 3
- 238000007605 air drying Methods 0.000 abstract description 2
- 230000000694 effects Effects 0.000 description 3
- 238000012423 maintenance Methods 0.000 description 2
- 239000000463 material Substances 0.000 description 2
- 230000018044 dehydration Effects 0.000 description 1
- 238000006297 dehydration reaction Methods 0.000 description 1
- 230000007613 environmental effect Effects 0.000 description 1
- 238000000034 method Methods 0.000 description 1
- 230000029264 phototaxis Effects 0.000 description 1
- 238000001228 spectrum Methods 0.000 description 1
- 238000005507 spraying Methods 0.000 description 1
Images
Classifications
-
- Y—GENERAL TAGGING OF NEW TECHNOLOGICAL DEVELOPMENTS; GENERAL TAGGING OF CROSS-SECTIONAL TECHNOLOGIES SPANNING OVER SEVERAL SECTIONS OF THE IPC; TECHNICAL SUBJECTS COVERED BY FORMER USPC CROSS-REFERENCE ART COLLECTIONS [XRACs] AND DIGESTS
- Y02—TECHNOLOGIES OR APPLICATIONS FOR MITIGATION OR ADAPTATION AGAINST CLIMATE CHANGE
- Y02A—TECHNOLOGIES FOR ADAPTATION TO CLIMATE CHANGE
- Y02A50/00—TECHNOLOGIES FOR ADAPTATION TO CLIMATE CHANGE in human health protection, e.g. against extreme weather
- Y02A50/30—Against vector-borne diseases, e.g. mosquito-borne, fly-borne, tick-borne or waterborne diseases whose impact is exacerbated by climate change
Landscapes
- Catching Or Destruction (AREA)
Abstract
本实用新型涉及一种捕虫器用具领域,尤其涉及一种柜式蝇虫诱捕器。本实用新型公开了一种柜式蝇虫诱捕器,包括柜体,所述的柜体内设有一隔板,隔板上开设有通风孔,所述的隔板把柜体分成诱捕区和集虫区两部分;所述的诱捕区有一侧面为开口,所述的开口一侧的顶端活动连接有一能遮盖开口的安全栅栏,与开口一侧相对应的另一侧面固定有若干诱虫灯管;所述隔板的通风孔的正上方一侧固定有风机,隔板的通风孔的正下方一侧固定有通风管,所述的通风管内设有防逃装置;所述的集虫区的底部设有与通风管对应的出风口,出风口上设有阻止蝇虫逃逸的金属网;所述的集虫区在与诱捕区开口处同一侧设有柜门。本实用新型通过风机改变气流方向把蝇、蛾、甲虫等飞虫吸入本诱捕器集虫室内,通过风干,脱水的方式来致死苍蝇及虫子,既解决了化学药物的污染问题和短效问题,又避免了使用高压电网和粘虫板的缺陷,达到了高效、安全、环保防治室内外苍蝇和飞虫的目的。
The utility model relates to the field of insect traps, in particular to a cabinet type fly trap. The utility model discloses a cabinet-type fly trap, which comprises a cabinet body, a partition board is arranged in the cabinet body, and ventilation holes are opened on the partition board, and the cabinet body is divided into a trapping area and an insect collection area by the partition board. Two parts of the area; one side of the trapping area is an opening, the top of one side of the opening is movably connected with a safety fence that can cover the opening, and a number of insect trap lamps are fixed on the other side corresponding to the opening side; A fan is fixed on the side directly above the ventilation hole of the partition, and a ventilation pipe is fixed on the side directly below the ventilation hole of the partition, and an anti-escape device is provided in the ventilation pipe; the bottom of the insect collecting area An air outlet corresponding to the ventilation pipe is provided, and a metal mesh is provided on the air outlet to prevent flies from escaping; the insect collecting area is provided with a cabinet door on the same side as the opening of the trapping area. The utility model sucks flies, moths, beetles and other flying insects into the insect-collecting chamber of the trap by changing the direction of the airflow through the fan, and kills the flies and insects by air-drying and dehydrating, which not only solves the pollution and short-term problems of chemical drugs, It also avoids the defects of using high-voltage power grids and insect sticky boards, and achieves the purpose of efficient, safe and environmentally friendly prevention and control of indoor and outdoor flies and flying insects.
Description
技术领域 technical field
本实用新型涉及一种捕虫器用具领域,尤其涉及一种柜式蝇虫诱捕器。 The utility model relates to the field of insect traps, in particular to a cabinet type fly trap.
背景技术 Background technique
苍蝇、蛾子、甲虫等是常见的影响人们生活的室内外飞虫。目前,除喷洒药物进行化学防治外,人们还用电击式诱虫器和粘捕式诱虫器对其种群进行控制。然而,化学药物防治不仅污染环境,对于人体的健康具有一定的损害,而且时效只在短期内有效。电击式诱虫器引诱源单一,不仅防治效果不理想,而且被电击杀的苍蝇尸体和其它飞虫尸体破碎,易散落在诱虫灯周围,造成二次污染和影响食品安全。粘捕式诱虫器则需要经常更换粘虫板,不仅使用成本较高,而且需专人维护。 Flies, moths, beetles, etc. are common indoor and outdoor flying insects that affect people's lives. At present, in addition to spraying drugs for chemical control, people also use electric shock traps and sticky traps to control their populations. However, chemical drug prevention and control not only pollutes the environment, but also has certain damage to human health, and the timeliness is only effective in a short period of time. Electric insect traps have a single source of attraction. Not only is the control effect unsatisfactory, but also the corpses of flies and other flying insects killed by electric shocks are broken and easily scattered around the insect trap lamps, causing secondary pollution and affecting food safety. The sticky insect trap requires frequent replacement of the sticky insect plate, which not only has a high cost of use, but also requires special maintenance.
发明内容 Contents of the invention
本实用新型为了解决上述捕虫器存在的缺陷,提供了一种具有多重引诱源和通过改变气流方向吸入蝇虫的柜式蝇虫诱捕器。 In order to solve the defects of the above-mentioned insect trap, the utility model provides a cabinet-type fly trap which has multiple attracting sources and sucks flies by changing the air flow direction.
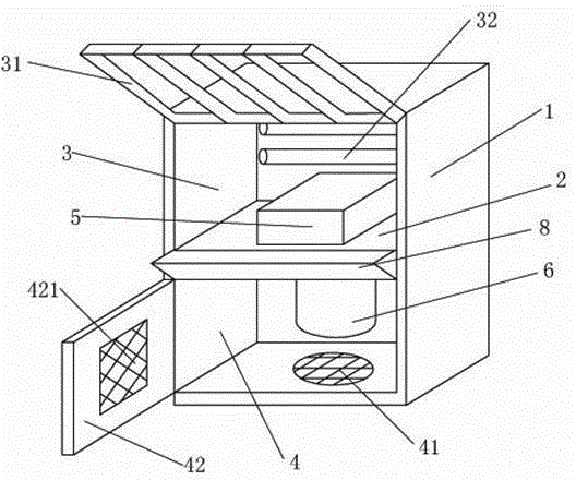
其具体技术方案是:一种柜式蝇虫诱捕器,包括柜体,所述的柜体内设有一隔板,隔板上开设有通风孔,所述的隔板把柜体分成诱捕区和集虫区两部分;所述的诱捕区有一侧面为开口,所述的开口一侧的顶端活动连接有一能遮盖开口的安全栅栏,与开口一侧相对应的另一侧面固定有若干诱虫灯管;所述隔板的通风孔的正上方一侧固定有风机,隔板的通风孔的正下方一侧固定有通风管,所述的通风管内设有防逃装置;所述的集虫区的底部设有与通风管对应的出风口,出风口上设有阻止蝇虫逃逸的金属网;所述的集虫区在与诱捕区开口处同一侧设有柜门。 The specific technical solution is: a cabinet-type fly trap, including a cabinet body, a partition board is provided in the cabinet body, and ventilation holes are provided on the partition board, and the cabinet body is divided into a trapping area and a collection area by the partition board. Two parts of the insect area; one side of the trapping area is an opening, the top of one side of the opening is movably connected with a safety fence that can cover the opening, and a number of insect trap lamps are fixed on the other side corresponding to the opening side A fan is fixed on the side directly above the ventilation hole of the partition, and a ventilation pipe is fixed on the side directly below the ventilation hole of the partition, and an anti-escape device is provided in the ventilation pipe; The bottom is provided with an air outlet corresponding to the ventilation pipe, and the air outlet is provided with a metal net to prevent flies from escaping; the insect collecting area is provided with a cabinet door on the same side as the opening of the trapping area.
优选为,所述的隔板在与诱捕区开口处的同一侧上设有诱饵盒。 Preferably, the partition is provided with a bait box on the same side as the opening of the trapping area.
优选为,所述的防逃装置为一倒置的圆锥台形金属网。 Preferably, the escape prevention device is an inverted truncated conical metal mesh.
优选为,所述的柜门上设有带金属网的窗口。 Preferably, the cabinet door is provided with a window with a metal mesh.
本诱捕器设置了若干诱虫灯管和诱饵盒,是利用光、色彩和食物等多重引诱源来引诱蝇、蛾、甲虫等飞虫。本诱捕器采用了风机,通过风机改变气流方向把蝇、蛾、甲虫等飞虫吸入本诱捕器集虫室内,通过风干,脱水的方式来致死苍蝇及虫子,既解决了化学药物的污染问题和短效问题,又避免了使用高压电网和粘虫板的缺陷,达到了高效、安全、环保防治室内外苍蝇和飞虫的目的。同时采用了防逃装置使得被吸入的蝇虫不能反向逃出。采用了通风管则是主要为了加强风机的吸力,形成一个风力峡谷效应。在柜门上设置金属网窗口,是利用了蝇虫的趋光性,使得被吸入的蝇虫不大量的堵住出风口。 This trap is provided with some lamp tubes for attracting insects and bait boxes, and utilizes multiple attracting sources such as light, color and food to lure flying insects such as flies, moths and beetles. The trap adopts a fan, which changes the air flow direction to suck flies, moths, beetles and other flying insects into the trap's insect collection chamber, and kills the flies and insects by air drying and dehydration, which not only solves the pollution of chemical drugs and The short-term problem avoids the defects of using high-voltage power grid and sticky insect board, and achieves the purpose of efficient, safe, and environmental protection against indoor and outdoor flies and flying insects. At the same time, an anti-escape device is adopted so that the sucked flies cannot escape in reverse. The use of ventilation pipes is mainly to enhance the suction of the fan and form a wind canyon effect. The metal mesh window is set on the cabinet door, which utilizes the phototaxis of flies, so that the sucked flies do not block the air outlet in large quantities.
附图说明 Description of drawings
图1为本实用新型的结构示意图。 Fig. 1 is the structural representation of the utility model.
图2为本实用新型的剖视图。 Fig. 2 is a sectional view of the utility model.
具体实施方式 Detailed ways
实施例 Example
下面结合图1和图2对本实用新型实施例作进一步详细描述。 The embodiment of the utility model will be further described in detail below in conjunction with FIG. 1 and FIG. 2 .
一种柜式蝇虫诱捕器,包括柜体1,所述的柜体1内设有一隔板2,隔板上开设有通风孔21,所述的隔板2把柜体1分成诱捕区3和集虫区4两部分;所述的诱捕区3有一侧面为开口,所述的开口一侧的顶端活动连接有一能遮盖开口的安全栅栏31,与开口一侧相对应的另一侧面固定有若干诱虫灯管32;所述隔板2的通风孔21的正上方一侧固定有风机5,隔板2的通风孔21的正下方一侧固定有通风管6,所述的通风管6内设有防逃装置7;所述的集虫区4的底部设有与通风管6对应的出风口41,出风口41上设有阻止蝇虫逃逸的金属网;所述的集虫区4在与诱捕区3开口处同一侧设有柜门42。
A cabinet type fly trap, comprising a
优选为,所述的隔板在与诱捕区3开口处的同一侧上设有诱饵盒8。
Preferably, the partition is provided with a
优选为,所述的防逃装置为一倒置的圆锥台形金属网。 Preferably, the escape prevention device is an inverted truncated conical metal mesh.
优选为,所述的柜门上设有带金属网的窗口421。
Preferably, the cabinet door is provided with a
所述的防逃装置的材质也可以为塑料等材料,形状也可以为圆桶形等。 The material of the anti-escape device can also be plastic or other materials, and the shape can also be barrel-shaped or the like.
当蝇虫被诱虫灯管和诱饵盒中的食物吸引过来时,通过风机的吸力,把蝇虫吸入集虫区,由于防逃装置的存在和风机吸力的存在,蝇虫逃不出集虫区。本发明具多重引诱源:光谱、引诱食物。诱捕的苍蝇和虫子被风吹干致死,并被收集在集虫室内,虫子处理不影响环境;使用过程中不需要更换像粘虫板一样的配件,可长期使用,免专人维护,使用成本低。而且一器多效,既能捕蝇,还能捕蛾子、甲虫和其它飞虫。 When the flies are attracted by the food in the trap lamp tube and the bait box, the flies are sucked into the insect collection area by the suction of the fan. Due to the existence of the anti-escape device and the suction of the fan, the flies cannot escape from the collection area. district. The present invention has multiple attracting sources: spectrum, attracting food. Trapped flies and insects are dried to death by the wind and collected in the insect collection room. The treatment of insects does not affect the environment; there is no need to replace accessories like the sticky board during use, and it can be used for a long time without special maintenance and low cost of use . And one device has multiple effects, not only can catch flies, but also catch moths, beetles and other flying insects.
Claims (4)
Priority Applications (1)
| Application Number | Priority Date | Filing Date | Title |
|---|---|---|---|
| CN201120245699U CN202127736U (en) | 2011-07-13 | 2011-07-13 | Cabinet type fly trap |
Applications Claiming Priority (1)
| Application Number | Priority Date | Filing Date | Title |
|---|---|---|---|
| CN201120245699U CN202127736U (en) | 2011-07-13 | 2011-07-13 | Cabinet type fly trap |
Publications (1)
| Publication Number | Publication Date |
|---|---|
| CN202127736U true CN202127736U (en) | 2012-02-01 |
Family
ID=45516525
Family Applications (1)
| Application Number | Title | Priority Date | Filing Date |
|---|---|---|---|
| CN201120245699U Withdrawn - After Issue CN202127736U (en) | 2011-07-13 | 2011-07-13 | Cabinet type fly trap |
Country Status (1)
| Country | Link |
|---|---|
| CN (1) | CN202127736U (en) |
Cited By (3)
| Publication number | Priority date | Publication date | Assignee | Title |
|---|---|---|---|---|
| CN102301986A (en) * | 2011-07-13 | 2012-01-04 | 德清科中杰生物科技有限公司 | Cabinet type fly trapper |
| CN102599127A (en) * | 2012-03-14 | 2012-07-25 | 东北林业大学 | Blue cup trapper and trapping method for prevention and control of lasiomma laricicola |
| CN103719060A (en) * | 2014-01-16 | 2014-04-16 | 南京化工职业技术学院 | Cockroach eliminator |
-
2011
- 2011-07-13 CN CN201120245699U patent/CN202127736U/en not_active Withdrawn - After Issue
Cited By (3)
| Publication number | Priority date | Publication date | Assignee | Title |
|---|---|---|---|---|
| CN102301986A (en) * | 2011-07-13 | 2012-01-04 | 德清科中杰生物科技有限公司 | Cabinet type fly trapper |
| CN102599127A (en) * | 2012-03-14 | 2012-07-25 | 东北林业大学 | Blue cup trapper and trapping method for prevention and control of lasiomma laricicola |
| CN103719060A (en) * | 2014-01-16 | 2014-04-16 | 南京化工职业技术学院 | Cockroach eliminator |
Similar Documents
| Publication | Publication Date | Title |
|---|---|---|
| CN204466683U (en) | A kind of illumination of closed pore formula automatically electric insect catching device | |
| CN202566058U (en) | Multi-temptation source winged insect trap | |
| CN105454193A (en) | Insect collecting and capturing device | |
| CN202127736U (en) | Cabinet type fly trap | |
| CN102301986B (en) | Cabinet type fly trapper | |
| CN205357856U (en) | Insect collecting trapping apparatus | |
| CN202635391U (en) | Phosgene fly trap | |
| CN201388459Y (en) | Mosquito Killer for Lawn | |
| CN202664061U (en) | A winged insect trap cabinet | |
| CN102613156B (en) | Environment-friendly fly trapping cage | |
| CN204682288U (en) | One is lured the enemy in formula ultraviolet rays collection insect killing device | |
| CN205196783U (en) | Fly -catching device | |
| CN201609079U (en) | Fly-insect trapping device | |
| CN207491873U (en) | Winged insect killer | |
| CN205756700U (en) | A kind of quiet mosquito killing device | |
| CN207219908U (en) | A kind of control of insect case | |
| CN207940259U (en) | A kind of photo-catalytic sterilization deinsectization lamp | |
| CN202680298U (en) | Winged insect trap | |
| CN115251019B (en) | Insect catcher for garden tree plant protection | |
| CN104585154A (en) | Automatic hole closing type illumination electric insect trap | |
| CN201192042Y (en) | A wall-mounted mosquito trap | |
| CN201167526Y (en) | Multifunctional trapping and killing mosquito device | |
| CN103766310A (en) | Air-flow type mosquito killer | |
| CN203262090U (en) | Sticky trapping type deinsectization lamp | |
| CN202999119U (en) | Suction trapping type insecticidal lamp for solar insect killer |
Legal Events
| Date | Code | Title | Description |
|---|---|---|---|
| C14 | Grant of patent or utility model | ||
| GR01 | Patent grant | ||
| AV01 | Patent right actively abandoned |
Granted publication date: 20120201 Effective date of abandoning: 20130403 |
|
| AV01 | Patent right actively abandoned |
Granted publication date: 20120201 Effective date of abandoning: 20130403 |
|
| RGAV | Abandon patent right to avoid regrant |
