CN202127032U - 全自动铺设台 - Google Patents

全自动铺设台 Download PDF

Info

Publication number
CN202127032U
CN202127032U CN2011201793623U CN201120179362U CN202127032U CN 202127032 U CN202127032 U CN 202127032U CN 2011201793623 U CN2011201793623 U CN 2011201793623U CN 201120179362 U CN201120179362 U CN 201120179362U CN 202127032 U CN202127032 U CN 202127032U
Authority
CN
China
Prior art keywords
battery strings
laying
platform
battery string
placing
Prior art date
Legal status (The legal status is an assumption and is not a legal conclusion. Google has not performed a legal analysis and makes no representation as to the accuracy of the status listed.)
Expired - Lifetime
Application number
CN2011201793623U
Other languages
English (en)
Inventor
冯军智
赵静
尹丽娜
李雅珍
Current Assignee (The listed assignees may be inaccurate. Google has not performed a legal analysis and makes no representation or warranty as to the accuracy of the list.)
Hebei Yi Heng Technology Co., Ltd.
Original Assignee
QINHUANGDAO ORIENT TECHNOLOGY CO LTD
Priority date (The priority date is an assumption and is not a legal conclusion. Google has not performed a legal analysis and makes no representation as to the accuracy of the date listed.)
Filing date
Publication date
Application filed by QINHUANGDAO ORIENT TECHNOLOGY CO LTD filed Critical QINHUANGDAO ORIENT TECHNOLOGY CO LTD
Priority to CN2011201793623U priority Critical patent/CN202127032U/zh
Application granted granted Critical
Publication of CN202127032U publication Critical patent/CN202127032U/zh
Anticipated expiration legal-status Critical
Expired - Lifetime legal-status Critical Current

Links

Images

Classifications

    • YGENERAL TAGGING OF NEW TECHNOLOGICAL DEVELOPMENTS; GENERAL TAGGING OF CROSS-SECTIONAL TECHNOLOGIES SPANNING OVER SEVERAL SECTIONS OF THE IPC; TECHNICAL SUBJECTS COVERED BY FORMER USPC CROSS-REFERENCE ART COLLECTIONS [XRACs] AND DIGESTS
    • Y02TECHNOLOGIES OR APPLICATIONS FOR MITIGATION OR ADAPTATION AGAINST CLIMATE CHANGE
    • Y02PCLIMATE CHANGE MITIGATION TECHNOLOGIES IN THE PRODUCTION OR PROCESSING OF GOODS
    • Y02P70/00Climate change mitigation technologies in the production process for final industrial or consumer products
    • Y02P70/50Manufacturing or production processes characterised by the final manufactured product

Landscapes

  • Manipulator (AREA)

Abstract

本实用新型提供了一种全自动铺设台,包括铺设台机架上依次安装有电池串送料装置、矫正装置及电池串摆放装置,和位于所述电池串送料装置、矫正装置及电池串摆放装置上部安装的水平往复移动的送料、摆放机械手,在所述电池串摆放装置一侧连接有焊接和检测平台,还包括一个摆放玻璃和铺设胶膜移动台与所述电池串摆放装置相互垂直连接。因此,当放置在移动平台上的组件玻璃,同时在组件玻璃上放置单层胶膜后,将移动平台移送到摆放标准电池串装置上,并由送料装置提供标准电池串,通过摆放标准电池串装置将标准电池串运送到组件玻璃指定的精确位置上铺设,在大规模的生产过程中减少工作时间,提高工作及生产效率。

Description

全自动铺设台
技术领域
本实用新型属于太阳能电池组件封装生产线中电池串摆放的一种设备,具体的说是一种全自动铺设台。
背景技术
目前生产线上摆放标准电池串的现状是以手工操作为主,其操作过程中存在电池串间隙不均匀,工作效率低、标准电池串的摆放位置不稳定、产品质量差、生产成本高。
发明内容
鉴于上述现状,本实用新型提供了一种利用PLC控制的全自动铺设台,从根本上解决了标准电池串的摆放位置不稳定的问题。
本实用新型的技术解决方案是:一种全自动铺设台,包括铺设台机架上依次安装有电池串送料装置、矫正装置及电池串摆放装置,和位于所述电池串送料装置、矫正装置及电池串摆放装置上部安装的水平往复移动的送料、摆放机械手,在所述电池串摆放装置一侧连接有焊接和检测平台,还包括一个摆放玻璃和铺设胶膜移动台与所述电池串摆放装置相互垂直连接。
因此,当放置在移动平台上的组件玻璃,同时在组件玻璃上放置单层胶膜后,将移动平台移送到摆放标准电池串装置上,并由送料装置提供标准电池串,通过摆放标准电池串装置将标准电池串运送到组件玻璃指定的精确位置上,完成整个组件的标准电池串的铺设,再输送到组件再次焊接及检测装置上,完成整个铺设过程。
在本新型中,所涉及的电池串送料装置,包括多排标准电池串的槽型盒,在所述的槽型盒内安装有托板,该托板的下部连接电机的电动推杆连接控制托板的升降。
在本新型中,所述矫正装置,包括正位板,该位板两端上部设有两组平行开闭的气爪,位于正位板内设有工作台面,所述的工作台面与垂直移动的电动平移台链接。因此,通过气爪的开闭和直移动的电动平移台实现两端正位板对电池串的水平正位(夹紧)与打开与垂直正位。
在本新型中,所述的摆放标准电池串装置,包括支撑架,通过两侧带有的丝母与安装在机架上的丝杠安装配合,通过丝杠一端的同步带轮与伺服电机连接,在所述的支撑架安装有气爪;还包括位于起升架中间有一输送平台与起升气缸,所述的输送平台安装在两侧设有的导轨上。
在本新型中,所述的送料、摆放机械手,具有一对气缸,和安装在气缸活塞上的吸盘,所述的气缸与伺服电机连接,通过伺服电机的齿轮与安装在机架上的齿条连接配合。
本新型中,所涉及的再次焊接和检测平台包括安装在机体上的多级输送带。
本新型中,所述的玻璃和铺设胶膜移动台上设置左右定位块、前后定位块,在所述的玻璃和铺设胶膜移动台上分布有滑动滚轮。
总之,本实用新型的全自动铺设台,可将标准电池串放置在指定区域的托盘上,通过送料机械手将每排内的电池串放置在矫正(或不矫正)的位置,将所需组件的玻璃(或其他材料)和单层胶膜送入指定位置,通过PLC控制器控制摆放机械手摆放到指定的精确位置,直至最终完成整个组件的电池串铺设。具有在大规模的生产过程中提高了工作及生产效率。
附图说明
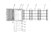
图1是本新型的示意图;
图2是图1的俯视图。
具体实施方式
下面将结合附图实施例对本新型作进一步地说明。
见图1、图2所示的全自动铺设台,包括铺设台机架上依次安装有电池串送料装置A、矫正装置B 及电池串摆放装置C,和位于所述电池串送料装置A和矫正装置B及电池串摆放装置C上部安装的水平往复移动的送料机械手4、摆放机械手5,在所述电池串摆放装置C一侧连接有焊接平台13、14和检测平台15,还包括一个摆放玻璃10和铺设胶膜移动台D与所述电池串摆放装置C相互垂直连接。在本新型中,所述的电池串送料装置A,包括固定设置的多排放置标准电池串的槽型盒33,在所述槽型盒33内安装有托板17,该托板17的下部连接电机16的电动推杆连接控制托板17的升降。同槽型盒33相同排列有一个矫正装置A。所述的矫正装置A,包括正位板29,该位板29两端上部设有两组平行开闭的气爪(图中未标注),位于正位板29内设有工作台面30,所述的工作台面30与垂直移动的电动平移台18链接。因此,通过气爪的开闭和直移动的电动平移台18实现两端正位板29对电池串的水平正位(夹紧)与打开与垂直正位。在所述的电池串送料装置A的区域安装送料机械手。所述的送料机械手4,具有一气缸2,和安装在气缸活塞端的吸盘3组成;该气缸2上设有伺服电机1,通过伺服电机1上的齿轮与安装在机架上的齿条34连接配合。在本新型中,与矫正装置A相邻一侧的区域具有电池串摆放装置C。在所述电池串摆放装置C、矫正装置B区域安装摆放机械手5。所述的摆放机械手5,具有与送料机械手4为同样设计的气缸,和安装在气缸活塞端的吸盘组成;该气缸上设有伺服电机,通过伺服电机上的齿轮34与安装在机架上的齿条连接配合。所述的电池串摆放装置C,具有一个支撑架28,通过两侧带有的丝母29与安装在机架上的丝杠6安装配合,通过丝杠6一端的同步带轮32与伺服电机21连接,在所述的支撑架28安装有气爪7和起升滑轮8;还包括位于支撑架28下部有一起升架27,起升架27两侧和中部分别设有导轨12和起升气缸11,起升架27中间有一输送平台9,通过伺服电机21带动同步带轮32转动,控制输送平台9上的输送带转动用以输送玻璃10送入再次焊接平台13的输送带上。本实施例的支撑架28通过其上的气爪7与输送平台9上的玻璃10吸合,由支撑架28上的丝母29与丝杠6的配合,作用支撑架28带动输送平台9沿导轨12位移到指定位置。本新型的起升气缸11用于控制输送平台9的升降,利用输送平台9将玻璃10上摆好的电池组件传出。本新型中,所涉及的再次焊接平台13、14和检测平台15是由安装在机体上的多级输送带组成。所述的玻璃和铺设胶膜移动台D上设置左右定位块24、前后定位块23,在所述的玻璃和铺设胶膜移动台D上分布有滑动滚轮25。
具体工作过程:
1、首先在工作台的滑动滚轮25上摆放玻璃10,靠在左右定位块24、前后定位块23上,铺放好EVA。
2、托板17是放置电池串的平台,它的运动是靠安装在架体上的电机16电推电推杆托板作用托板17上下运动进行提升或下降动作。定位组是对电池串进行正位的运动。包括水平正位,两端的正位板29连接在两组平行开闭的气爪(图中未标注)上,通过气爪的开闭实现两端正位板对电池串的水平正位(夹紧)与打开。垂直正位:电池串摆放在工作台面30上,工作台面30与电动平移台20连接,实现电池串垂直定位。
3、传输组:包括送料机械手4、摆料机械手5。它是由伺服电机1和气动升降用气缸2和吸盘3组成的传输机构;两个机械手由伺服驱动系统控制的齿轮齿条传递运动的直线运动。送料机械手4将每排内的电池串放置在矫正装置B(或不矫正)的位置上,通过摆料自动机械手5将矫正完成的电池串通过自动化汇编程序运送到指定的精确位置(钢化玻璃),直至最终完成整个组件的电池串铺设。
在起升架27上安装起升气缸11、导轨12、滑轮组8,当气缸11起升下降时,输送平台9沿着导轨12方向起升下降。.
4、在支撑架28上安装抓钢化玻璃10的气爪7,支撑架27安装在丝母29上,其运动靠伺服电机21通过同步轮、同步32带转动带动丝杠6运动转动,安装在丝杆6上的丝母29进行前后运动,其组合为气爪组7和丝杠6组成的自动机械手,将钢化玻璃在起升滑轮组8的表面上拉动到指定位置后,起升滑轮组8回落,钢化玻璃10及EVA平稳的回落到同步带输送平台9上。起升滑轮组8起升时滑轮组8的表面高于同步带输送平台9,起升滑轮组下降时,滑轮组8的表面低于输送平台9。
5、通过自动化输送平台9将组件传出到次焊接平台13的输送带、14和检测平台15的输送带三级进行再次焊接和检测(可人工或自动完成)。

Claims (7)

1.一种全自动铺设台,其特征在于,包括铺设台机架上安装有电池串送料装置(A)和矫正装置(B)及电池串摆放装置(C),和位于所述电池串送料装置和矫正装置(A)及电池串摆放装置(C)上部安装的水平往复移动的送料、摆放机械手,在所述电池串摆放装置(C)一侧连接有焊接(13、14)和检测平台(15),还包括一个摆放玻璃和铺设胶膜移动台(D)与所述电池串摆放装置(C)相互垂直连接。
2.根据权利要求1所述的自动铺设台,其特征在于,所述的电池串送料装置(A),包括多排标准电池串的槽型盒(16),在所述的槽型盒内安装有托板(33),该托板的下部连接电机(17)的电动推杆连接控制托板(33)的升降。
3.根据权利要求1所述的自动铺设台,其特征在于,所述的矫正装置(B),包括正位板(29),该位板两端上部设有两组平行开闭的气爪,位于正位板(29)内设有工作台面(30),所述的工作台面(30)与垂直移动的电动平移台(20)链接。
4.根据权利要求1所述的自动铺设台,其特征在于,所述的摆放标准电池串装置(C),包括支撑架(28),通过两侧带有的丝母(29)与安装在机架上的丝杠(6)安装配合,通过丝杠(6)一端的同步带轮(32)与伺服电机(21)连接,在所述的支撑架(28)安装有气爪(7);还包括位于起升架(27)中间有一输送组(9)与起升气缸(11),所述的输送组(9)安装在两侧设有的导轨(12)上。
5.根据权利要求1所述的自动铺设台,其特征在于,所述的送料机械手(4)、摆放机械手(5),具有一对气缸(2),和安装在气缸活塞上的吸盘(3),所述的气缸(2)与伺服电机(1)连接,通过伺服电机(1)的齿轮与安装在机架上的齿条(34)连接配合。
6.根据权利要求1所述的自动铺设台,其特征在于,所述的所涉及的再次焊接平台(13、14)和检测平台(15)是由安装在机体上的多级输送带组成。
7.根据权利要求1所述的自动铺设台,其特征在于,所述的玻璃和铺  设胶膜移动台(D)上设置左右定位块(24)、前后定位块(23),在所述的玻璃和铺设胶膜移动台(D)上分布有滑动滚轮(25)。 
CN2011201793623U 2011-05-31 2011-05-31 全自动铺设台 Expired - Lifetime CN202127032U (zh)

Priority Applications (1)

Application Number Priority Date Filing Date Title
CN2011201793623U CN202127032U (zh) 2011-05-31 2011-05-31 全自动铺设台

Applications Claiming Priority (1)

Application Number Priority Date Filing Date Title
CN2011201793623U CN202127032U (zh) 2011-05-31 2011-05-31 全自动铺设台

Publications (1)

Publication Number Publication Date
CN202127032U true CN202127032U (zh) 2012-01-25

Family

ID=45490095

Family Applications (1)

Application Number Title Priority Date Filing Date
CN2011201793623U Expired - Lifetime CN202127032U (zh) 2011-05-31 2011-05-31 全自动铺设台

Country Status (1)

Country Link
CN (1) CN202127032U (zh)

Cited By (8)

* Cited by examiner, † Cited by third party
Publication number Priority date Publication date Assignee Title
CN102544242A (zh) * 2012-03-19 2012-07-04 常州天华新能源科技有限公司 晶体硅光伏组件智能化自动生产线
CN102683500A (zh) * 2012-05-31 2012-09-19 苏州晟成新能源科技有限公司 铺板机
CN102683502A (zh) * 2012-05-31 2012-09-19 苏州晟成新能源科技有限公司 一种具有输送滚轮的铺板机
CN102699587A (zh) * 2012-07-02 2012-10-03 深圳市索阳新能源科技有限公司 太阳能电池片的单焊及串焊一体设备
CN104979254A (zh) * 2015-06-15 2015-10-14 无锡先导自动化设备股份有限公司 一种电池串下料装置
CN108550661A (zh) * 2018-06-13 2018-09-18 太仓鸿海精密机械有限公司 一种太阳能电池玻璃板贴反光条设备
CN109148997A (zh) * 2018-09-03 2019-01-04 刘强 一种蓄电池含铅物质自动推出装置
CN113823710A (zh) * 2021-08-12 2021-12-21 孙广鉴 光伏板生产层压前多层依次层叠设备

Cited By (13)

* Cited by examiner, † Cited by third party
Publication number Priority date Publication date Assignee Title
CN102544242A (zh) * 2012-03-19 2012-07-04 常州天华新能源科技有限公司 晶体硅光伏组件智能化自动生产线
CN102683500A (zh) * 2012-05-31 2012-09-19 苏州晟成新能源科技有限公司 铺板机
CN102683502A (zh) * 2012-05-31 2012-09-19 苏州晟成新能源科技有限公司 一种具有输送滚轮的铺板机
CN102699587A (zh) * 2012-07-02 2012-10-03 深圳市索阳新能源科技有限公司 太阳能电池片的单焊及串焊一体设备
CN102699587B (zh) * 2012-07-02 2015-04-22 深圳时代得天自动化设备有限公司 太阳能电池片的单焊及串焊一体设备
CN104979254B (zh) * 2015-06-15 2018-04-10 无锡先导智能装备股份有限公司 一种电池串下料装置
CN104979254A (zh) * 2015-06-15 2015-10-14 无锡先导自动化设备股份有限公司 一种电池串下料装置
CN108550661A (zh) * 2018-06-13 2018-09-18 太仓鸿海精密机械有限公司 一种太阳能电池玻璃板贴反光条设备
CN108550661B (zh) * 2018-06-13 2024-02-23 太仓鸿海精密机械有限公司 一种太阳能电池玻璃板贴反光条设备
CN109148997A (zh) * 2018-09-03 2019-01-04 刘强 一种蓄电池含铅物质自动推出装置
CN109148997B (zh) * 2018-09-03 2024-03-26 刘强 一种蓄电池含铅物质自动推出装置
CN113823710A (zh) * 2021-08-12 2021-12-21 孙广鉴 光伏板生产层压前多层依次层叠设备
CN113823710B (zh) * 2021-08-12 2023-12-01 国网(天津)综合能源服务有限公司 光伏板生产用层叠设备

Similar Documents

Publication Publication Date Title
CN202127032U (zh) 全自动铺设台
CN205290347U (zh) 自动组装机
CN103101725B (zh) 焊网机的钢筋移动输送机构
CN104377154B (zh) 管式pecvd石墨舟装卸片系统及其工艺
CN112382502B (zh) 一种变压器铁芯自动叠装生产线
CN104842157A (zh) 一种多部件组装设备
CN203726479U (zh) 一种全自动背光叠膜机下料机械手机构
CN203094994U (zh) 焊网机的钢筋移动输送装置
CN110465763B (zh) 一种电池板与汇流条焊接设备
CN107394252A (zh) 自动化测厚称重设备、六面零件自动包胶机及包胶方法
CN103879826B (zh) 错位堆码机
CN104827652A (zh) 一种柔性材料组装设备
CN110711983B (zh) 一种机器人焊接工作单元及其操作流程
CN103545562A (zh) 一种蓄电池自动装箱机
CN205972010U (zh) 一种包装机的供袋机构
CN102935471A (zh) 带有全自动板料上料装置的精冲机
CN206921934U (zh) 一种软包锂电池模组移栽堆叠机构
CN110299433A (zh) 一种全自动叠焊机
CN204980364U (zh) 自动变距输送机械手
CN202861245U (zh) 带有全自动板料上料装置的精冲机
CN202861235U (zh) 精冲机全自动板坯上料装置
CN102935470B (zh) 精冲机全自动板坯上料装置
CN204771197U (zh) 一种高压注汽机组的对流段框架预制工作站
CN205650978U (zh) 一种全自动太阳能电池片串焊机
CN105936423A (zh) 一种烧结砖码坯机

Legal Events

Date Code Title Description
C14 Grant of patent or utility model
GR01 Patent grant
C56 Change in the name or address of the patentee

Owner name: HEBEI YIHENG SOLAR ENERGY SCIENCE + TECHNOLOGY CO.

Free format text: FORMER NAME: QINHUANGDAO ORIENT SCIENCE + TECHNOLOGY CO., LTD.

CP01 Change in the name or title of a patent holder

Address after: 066000 Qinhuangdao, Hebei Port District, North Second Ring Road, No. 370

Patentee after: Hebei Yiheng Solar Energy Science & Technology Co., Ltd.

Address before: 066000 Qinhuangdao, Hebei Port District, North Second Ring Road, No. 370

Patentee before: Qinhuangdao Orient Technology Co.,Ltd.

C56 Change in the name or address of the patentee

Owner name: HEBEI YIHENG SCIENCE AND TECHNOLOGY CO., LTD.

Free format text: FORMER NAME: HEBEI YIHENG SOLAR ENERGY SCIENCE + TECHNOLOGY CO., LTD.

CP01 Change in the name or title of a patent holder

Address after: 066000 Qinhuangdao, Hebei Port District, North Second Ring Road, No. 370

Patentee after: Hebei Yi Hang Science and Technology Co., Ltd.

Address before: 066000 Qinhuangdao, Hebei Port District, North Second Ring Road, No. 370

Patentee before: Hebei Yiheng Solar Energy Science & Technology Co., Ltd.

CP01 Change in the name or title of a patent holder
CP01 Change in the name or title of a patent holder

Address after: 066000 Qinhuangdao, Hebei Port District, North Second Ring Road, No. 370

Patentee after: Hebei Yi Heng Technology Co., Ltd.

Address before: 066000 Qinhuangdao, Hebei Port District, North Second Ring Road, No. 370

Patentee before: Hebei Yi Hang Science and Technology Co., Ltd.

CX01 Expiry of patent term
CX01 Expiry of patent term

Granted publication date: 20120125