CN202123121U - Paying-off device - Google Patents
Paying-off device Download PDFInfo
- Publication number
- CN202123121U CN202123121U CN2011201149138U CN201120114913U CN202123121U CN 202123121 U CN202123121 U CN 202123121U CN 2011201149138 U CN2011201149138 U CN 2011201149138U CN 201120114913 U CN201120114913 U CN 201120114913U CN 202123121 U CN202123121 U CN 202123121U
- Authority
- CN
- China
- Prior art keywords
- hole
- pin
- wheel frame
- bearing
- rotating
- Prior art date
- Legal status (The legal status is an assumption and is not a legal conclusion. Google has not performed a legal analysis and makes no representation as to the accuracy of the status listed.)
- Expired - Fee Related
Links
- 241000606750 Actinobacillus Species 0.000 claims description 21
- 238000005491 wire drawing Methods 0.000 description 9
- 238000000034 method Methods 0.000 description 3
- 238000005516 engineering process Methods 0.000 description 2
- 238000004519 manufacturing process Methods 0.000 description 2
- 230000009286 beneficial effect Effects 0.000 description 1
- 238000013016 damping Methods 0.000 description 1
- 230000000694 effects Effects 0.000 description 1
- 238000003780 insertion Methods 0.000 description 1
- 230000037431 insertion Effects 0.000 description 1
- 239000000203 mixture Substances 0.000 description 1
Images
Landscapes
- Pulleys (AREA)
Abstract
The utility model discloses a paying-off device which can be very convenient to load a paying-off disc and requires smaller tensile force. The paying-off device comprises a base, a support and a supporting rod; the support is arranged on the base; one end of the supporting rod is fixed in the support; the supporting rod is arranged horizontally; a guide wheel frame is further movably arranged at the top of the support; a locking mechanism is further arranged between the guide wheel frame and the support; the guide wheel frame is provided with a plurality of wire guiding wheels; the guide wheel frame is further movably provided with a rotating frame which is used for rotating around the supporting rod; and a plurality of paying-off wheels are arranged on the rotating frame. The paying-off device is mainly matched with a drawing mill.
Description
Technical field
The utility model relates to and is used for actinobacillus device, refers more particularly to the actinobacillus device into coordinative composition of equipments such as wire drawing machinees.
Background technology
At present, be used for the actinobacillus device supporting with wire drawing machine, its structure comprises: base be movably arranged on the supporting base on the base, supporting base is provided with column and several guide rollers.During use, at first will the draw drum that is wound with wire rod that be in prone position usually be placed on the supporting base through manual or foot-operated hydraulic lift truck, guide the end of a thread into wire drawing machine through above-mentioned guide roller then, wire drawing machine hauls wire rod and advances along guide roller.The shortcoming of this actinobacillus device is: no matter be through manual work or foot-operated hydraulic lift truck, it is all cumbersome to load draw drum; During wire drawing machine traction wire rod, need bigger pulling force, thereby wire rod is caused bigger damage, and wire drawing machine needs supporting more powerful motor, has increased production cost.
The utility model content
The utility model technical problem to be solved is: a kind of less actinobacillus device of pulling force that draw drum is very convenient and need that loads is provided.
For solving the problems of the technologies described above; The technical scheme that the utility model adopted is: actinobacillus device; The bearing and the end that comprise base, be arranged on the base are fixed on the cramp bar in the bearing, and described cramp bar arranges that in horizontal direction the top of bearing also is movably set with wheel frame; Also be provided with locking mechanism between wheel frame and the bearing; Wheel frame is provided with several guide rollers, also is movably set with the swivel mount that rotates around cramp bar on the wheel frame, and swivel mount is provided with several actinobacillus wheels.
Described swivel mount comprises rotating seat and the turning arm that is arranged on rotating seat one side, and rotating seat is movably arranged on the bolster of wheel frame through the rotating seat bearing.
Be set with belt pulley on the described rotating seat bearing, belt is housed on the belt pulley, described wheel frame is provided with tie rod, and the tie rod bottom is provided with a pair of spring, and this other end to spring links to each other with the two ends of belt respectively.
The opposite side of said rotating seat also is provided with the weight arm that matches with turning arm.
The concrete set-up mode of described wheel frame and bearing is: the top of said bearing offers rotating hole, and wheel frame one side is provided with rotating shaft, and rotating shaft is movably arranged in the rotating hole.
Described locking mechanism comprises stop pin, offers the pin-and-hole that matches with stop pin on the sidewall of described rotating shaft and rotating hole respectively, and stop pin can be passed in the pin-and-hole on the rotating hole sidewall, inserts in the pin-and-hole of rotating shaft.
Described locking mechanism comprises stop pin; The middle part of stop pin is provided with spring base, offers the pin-and-hole that matches with stop pin on the sidewall of described rotating shaft and rotating hole respectively, and described bearing is provided with lock bracket; Lock bracket is provided with the locking seat; One end of locking seat offers the lock hole that matches with spring base, offers the pin-and-hole that matches with the rear portion of stop pin on the diapire of lock hole, and the rear portion of stop pin passes from this pin-and-hole; The rear sleeve of stop pin is equipped with back-moving spring, and the two ends of back-moving spring are pressed on respectively on the diapire of spring base and lock hole.
The rear end of said alignment pin is provided with and conveniently grabs the pin cap of taking.
The beneficial effect of the utility model is: the described actinobacillus device of the utility model, be under the state of opening at wheel frame, and adopt easy foot-operated hydraulic lift truck; Its fork plate is directly stretched in the centre bore of draw drum, after draw drum is risen to proper height, draw drum is sent forward; Make cramp bar stretch in the centre bore of draw drum; By operating personnel draw drum is pushed away inward, draw drum is shelved on the cramp bar, load very convenient; In addition, draw drum is in the unwrapping wire process, and the rotation through swivel mount comes unwrapping wire (draw drum is motionless); Swivel mount is light compared with draw drum; It is much also little to draw the required pulling force of wire rod, thereby has alleviated the damage to wire rod greatly, and; Wire drawing machine needs only the motor of supporting smaller power, has reduced production cost.
Description of drawings
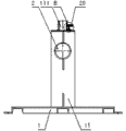
Fig. 1 is the structural representation of the utility model.
Fig. 2 is the partial structurtes sketch map of the left apparent direction of Fig. 1.
Fig. 3 is the structure for amplifying sketch map of A part among Fig. 1.
Fig. 4 is the structure for amplifying sketch map of B part among Fig. 2.
Among Fig. 1 to Fig. 4: 1, base, 2, cramp bar, 3, wheel frame, 31, rotating shaft, 4, guide roller, 5, swivel mount; 50, rotating seat, 51, turning arm, 52, weight arm, 6, actinobacillus wheel, 7, bolster, 8, the rotating seat bearing; 9, belt pulley, 10, belt, 11, bearing, 111, rotating hole, 12, spring, 13, tie rod; 15, backing pin, 16, draw drum, 17, wire rod, 20, stop pin, 21, lock bracket; 22, spring base, 23, locking seat, 231, lock hole, 24, the pin cap, 25, back-moving spring.
The specific embodiment
Below in conjunction with accompanying drawing, describe the specific embodiments of the utility model in detail.
As depicted in figs. 1 and 2, the described actinobacillus device of the utility model comprises: base 1, be arranged on the cramp bar 2 that a bearing 11 and an end on the base 1 is fixed in the bearing 11, horizontal direction is arranged; The end of cramp bar 2 also offers the backing pin hole that is used for plug-in mounting backing pin 15, and the top movable of bearing 11 is provided with wheel frame 3, and its concrete set-up mode is: the top of said bearing 11 offers rotating hole 111; One side of wheel frame 3 is provided with rotating shaft 31; Rotating shaft 31 is movably arranged in the rotating hole 111, also is provided with locking mechanism between wheel frame 3 and the bearing 11, and this locking mechanism comprises: stop pin 20 and the spring base 22 that is arranged on stop pin 20 middle parts; This spring base 22 is separated into front and rear with stop pin 20; Offer the pin-and-hole that matches with the front portion of stop pin 20 respectively on the sidewall of described rotating shaft 31 and rotating hole 111, as shown in Figure 4, described bearing 11 is provided with lock bracket 21; Lock bracket 21 is provided with locking seat 23; One end of locking seat 23 offers the lock hole 231 that matches with spring base 22, offers the pin-and-hole that matches with the rear portion of stop pin 20 on the diapire of lock hole 231, and the rear portion of stop pin 20 passes from this pin-and-hole; The rear sleeve of stop pin 20 is equipped with back-moving spring 25, and the two ends of back-moving spring 25 are pressed on respectively on the diapire of spring base 22 and lock hole 231; Described wheel frame 3 is provided with two guide rollers 4; Also be movably set with the swivel mount 5 that constitutes by rotating seat 50 and turning arm that is symmetricly set on rotating seat 50 both sides 51 and weight arm 52 on the wheel frame 3 around cramp bar 2 rotation; As shown in Figure 3; Rotating seat 50 is movably arranged on through rotating seat bearing 8 on the bolster 7 of wheel frame 3, and turning arm 51 is provided with three actinobacillus wheels 6.In the present embodiment; In order to increase damping for swivel mount 5; Be set with belt pulley 9 on the described rotating seat bearing 8---referring to shown in Figure 3, belt 10 is housed on the belt pulley 9, described wheel frame 3 is provided with tie rod 13; The bottom of tie rod 13 is provided with a pair of spring 12 that matches with the two ends of belt 10, and this other end to spring 12 links to each other with the two ends of belt 10 respectively; The rear end of said alignment pin 20 is provided with and conveniently grabs the pin cap of taking 24.
During actual the use, be under the state of opening, can adopt easy foot-operated hydraulic lift truck at wheel frame 3; Its fork plate is directly stretched in the centre bore of draw drum 16; After draw drum 16 is risen to proper height, draw drum 16 is sent forward, make cramp bar 2 stretch in the centre bore of draw drum 16; By operating personnel draw drum 16 is pushed away inward, make draw drum 16 be shelved on the cramp bar 2.After placing draw drum 16; In the backing pin hole on the backing pin 15 insertion bolsters 2; Rotate wheel frame 3, after putting in place, the anterior pin-and-hole of aiming at just on the rotating shaft 31 of stop pin 20; Stop pin 20 ejects under the effect of back-moving spring 25, makes the front portion of pin rationed marketing 20 stretch in the pin-and-hole on the rotating shaft 31.Then, with the end of a thread guiding wire drawing machine of wire rod 17, wire drawing machine is in drawing process; Drawing wire rod 17 advances; And the driven rotary frame 5 of advancing of wire rod 17 gyrates, and makes at swivel mount 5 in draw drum 16 rotation processes, realizes the purpose of automatic unwrapping wire.
Claims (8)
1. actinobacillus device; Comprise: base, the bearing and the end that are arranged on the base are fixed on the cramp bar in the bearing, and it is characterized in that: described cramp bar arranges that in horizontal direction the top of bearing also is movably set with wheel frame; Also be provided with locking mechanism between wheel frame and the bearing; Wheel frame is provided with several guide rollers, also is movably set with the swivel mount that rotates around cramp bar on the wheel frame, and swivel mount is provided with several actinobacillus wheels.
2. actinobacillus device as claimed in claim 1 is characterized in that: described swivel mount comprises rotating seat and the turning arm that is arranged on rotating seat one side, and rotating seat is movably arranged on the bolster of wheel frame through the rotating seat bearing.
3. actinobacillus device as claimed in claim 2; It is characterized in that: be set with belt pulley on the described rotating seat bearing, belt is housed on the belt pulley, described wheel frame is provided with tie rod; The tie rod bottom is provided with a pair of spring, and this other end to spring links to each other with the two ends of belt respectively.
4. actinobacillus device as claimed in claim 2 is characterized in that: the opposite side of said rotating seat also is provided with the weight arm that matches with turning arm.
5. like each described actinobacillus device in the claim 1 to 4; It is characterized in that: the concrete set-up mode of described wheel frame and bearing is: the top of said bearing offers rotating hole; Wheel frame one side is provided with rotating shaft, and rotating shaft is movably arranged in the rotating hole.
6. actinobacillus device as claimed in claim 5; It is characterized in that: described locking mechanism comprises stop pin; Offer the pin-and-hole that matches with stop pin on the sidewall of described rotating shaft and rotating hole respectively, stop pin can be passed in the pin-and-hole on the rotating hole sidewall, inserts in the pin-and-hole of rotating shaft.
7. actinobacillus device as claimed in claim 5 is characterized in that: described locking mechanism comprises stop pin, and the middle part of stop pin is provided with spring base; Offer the pin-and-hole that matches with stop pin on the sidewall of described rotating shaft and rotating hole respectively; Described bearing is provided with lock bracket, and lock bracket is provided with the locking seat, and an end of locking seat offers the lock hole that matches with spring base; Offer the pin-and-hole that matches with the rear portion of stop pin on the diapire of lock hole; The rear portion of stop pin passes from this pin-and-hole, and the rear sleeve of stop pin is equipped with back-moving spring, and the two ends of back-moving spring are pressed on respectively on the diapire of spring base and lock hole.
8. like claim 6 or 7 described actinobacillus devices, it is characterized in that: the rear end of said alignment pin is provided with and conveniently grabs the pin cap of taking.
Priority Applications (1)
| Application Number | Priority Date | Filing Date | Title |
|---|---|---|---|
| CN2011201149138U CN202123121U (en) | 2011-04-19 | 2011-04-19 | Paying-off device |
Applications Claiming Priority (1)
| Application Number | Priority Date | Filing Date | Title |
|---|---|---|---|
| CN2011201149138U CN202123121U (en) | 2011-04-19 | 2011-04-19 | Paying-off device |
Publications (1)
| Publication Number | Publication Date |
|---|---|
| CN202123121U true CN202123121U (en) | 2012-01-25 |
Family
ID=45486192
Family Applications (1)
| Application Number | Title | Priority Date | Filing Date |
|---|---|---|---|
| CN2011201149138U Expired - Fee Related CN202123121U (en) | 2011-04-19 | 2011-04-19 | Paying-off device |
Country Status (1)
| Country | Link |
|---|---|
| CN (1) | CN202123121U (en) |
Cited By (2)
| Publication number | Priority date | Publication date | Assignee | Title |
|---|---|---|---|---|
| CN102266877A (en) * | 2011-04-19 | 2011-12-07 | 张家港市龙晟机械制造有限公司 | Pay-off device |
| CN104442962A (en) * | 2014-12-31 | 2015-03-25 | 江苏兴达钢帘线股份有限公司 | Spool overturning trolley |
-
2011
- 2011-04-19 CN CN2011201149138U patent/CN202123121U/en not_active Expired - Fee Related
Cited By (3)
| Publication number | Priority date | Publication date | Assignee | Title |
|---|---|---|---|---|
| CN102266877A (en) * | 2011-04-19 | 2011-12-07 | 张家港市龙晟机械制造有限公司 | Pay-off device |
| CN102266877B (en) * | 2011-04-19 | 2012-11-21 | 张家港市龙晟机械制造有限公司 | Pay-off device |
| CN104442962A (en) * | 2014-12-31 | 2015-03-25 | 江苏兴达钢帘线股份有限公司 | Spool overturning trolley |
Similar Documents
| Publication | Publication Date | Title |
|---|---|---|
| CN204247748U (en) | The fortune volume dolly of rotatable coil of strip | |
| CN202575531U (en) | Spooler | |
| CN102266877B (en) | Pay-off device | |
| CN204433887U (en) | The numerical control wrap-up of plastic circular loom | |
| CN202123121U (en) | Paying-off device | |
| CN202702679U (en) | Press machine braking mechanism | |
| CN206828000U (en) | A kind of compressed air hoist rope guide | |
| CN203245340U (en) | Power-driven mould turnover machine | |
| CN101428678B (en) | Transverse bottom draw-in apparatus in boat body plane section product line | |
| CN206827999U (en) | A kind of compressed air hoist automatic cable arranging device | |
| CN202687595U (en) | Repairing coiling and forming device of carpet | |
| CN103240297A (en) | High-speed reeling machine | |
| CN204801233U (en) | A plate loading and unloading overweight plate vehicle | |
| CN203128034U (en) | Electric block as well as electric trolley and trolley drive traction device thereof | |
| CN203112122U (en) | Electric energy meter tote box taking and putting mechanism | |
| CN105966433A (en) | Portable transport and storage unit for textile reels | |
| CN206318666U (en) | A paper roll feeding machine | |
| CN203426204U (en) | Dragging device for straightener | |
| CN203459440U (en) | Chain type copper material drawing machine | |
| CN102641919A (en) | Cylinder bracket for crimping | |
| CN208662193U (en) | Strap rolling-assisting device for 4-roller cold rolling mill | |
| CN209189524U (en) | A kind of auxiliary device for side silk winding | |
| CN201950137U (en) | Steel pipe clamping rotating conveying device | |
| CN201381127Y (en) | Belt winding machine for mining transportation | |
| CN203227696U (en) | High-speed reeling machine |
Legal Events
| Date | Code | Title | Description |
|---|---|---|---|
| C14 | Grant of patent or utility model | ||
| GR01 | Patent grant | ||
| CF01 | Termination of patent right due to non-payment of annual fee |
Granted publication date: 20120125 Termination date: 20150419 |
|
| EXPY | Termination of patent right or utility model |