CN202122993U - 节能高效型粉碎整粒机 - Google Patents
节能高效型粉碎整粒机 Download PDFInfo
- Publication number
- CN202122993U CN202122993U CN2011201339132U CN201120133913U CN202122993U CN 202122993 U CN202122993 U CN 202122993U CN 2011201339132 U CN2011201339132 U CN 2011201339132U CN 201120133913 U CN201120133913 U CN 201120133913U CN 202122993 U CN202122993 U CN 202122993U
- Authority
- CN
- China
- Prior art keywords
- barrel
- shaft
- rotation
- turning cylinder
- motor
- Prior art date
- Legal status (The legal status is an assumption and is not a legal conclusion. Google has not performed a legal analysis and makes no representation as to the accuracy of the status listed.)
- Expired - Lifetime
Links
- 239000004744 fabric Substances 0.000 claims description 20
- 238000005453 pelletization Methods 0.000 claims description 14
- 238000012856 packing Methods 0.000 claims description 8
- 230000008878 coupling Effects 0.000 claims description 5
- 238000010168 coupling process Methods 0.000 claims description 5
- 238000005859 coupling reaction Methods 0.000 claims description 5
- 241000826860 Trapezium Species 0.000 claims description 3
- 238000007789 sealing Methods 0.000 claims description 3
- 239000000463 material Substances 0.000 abstract description 6
- 239000003814 drug Substances 0.000 abstract description 3
- 238000012423 maintenance Methods 0.000 abstract description 3
- 238000004519 manufacturing process Methods 0.000 abstract description 2
- 230000002093 peripheral effect Effects 0.000 abstract 1
- 230000003245 working effect Effects 0.000 abstract 1
- 239000002245 particle Substances 0.000 description 4
- 238000005516 engineering process Methods 0.000 description 3
- 239000002994 raw material Substances 0.000 description 2
- 230000001105 regulatory effect Effects 0.000 description 2
- 230000003746 surface roughness Effects 0.000 description 2
- 230000009286 beneficial effect Effects 0.000 description 1
- 238000009835 boiling Methods 0.000 description 1
- 230000007812 deficiency Effects 0.000 description 1
- 239000000428 dust Substances 0.000 description 1
- 239000008187 granular material Substances 0.000 description 1
- 238000000034 method Methods 0.000 description 1
- 238000010298 pulverizing process Methods 0.000 description 1
Images
Landscapes
- Processing And Handling Of Plastics And Other Materials For Molding In General (AREA)
Abstract
本实用新型公开了一种医药生产用的节能高效型粉碎整粒机,包括有机架、工作料筒、出料筒、电机、回转刀、锥形筛网和转动轴,电机设在机架的顶部,转动轴的一端通过联轴器与电机的输出轴联接,工作料筒设在转动轴的外围,出料筒设在工作料筒的底部,锥形筛网设在工作料筒与出料筒之间,其特征在于:转动轴的另一端螺纹连接有底端封闭的轴套,多个回转刀设在轴套上且沿轴套的周向间隔分布。转动轴的轴肩与轴套之间设有垫圈。由于回转刀与转动轴采用螺纹连接的形式,当刀具磨损后,可以很方便地更换刀具,为维修提供了便利;由于设置了调节间距用的垫圈,可适时地对回转刀与锥形筛网的间距进行调节,使其达到最佳的工作效果,提高了工作效率。
Description
技术领域
本实用新型涉及一种医药生产设备,具体是一种粉碎整粒机。
背景技术
粉碎整粒机的工作原理是原料由料斗进入锥形筛网室,由旋转的回转刀对原料起旋流作用,并以离心力将颗粒甩向筛网面,同时由于回转刀的高速旋转与筛网面产生剪切作用,颗粒在回转刀与筛网间被粉碎成小颗粒并经筛网孔排出,粉碎的颗粒大小由筛网的目数,回转刀与筛网之间的间距以及回转刀转速的快慢来调节,现有的技术中,回转刀与筛网之间的间距调节采用螺杆及螺母,螺母置于回转刀下端来调节间距,此种结构对于用户来说回转刀底部被物料沾染处清洗很麻烦,干净卫生是医药生产的必要条件,清洗不干净,将会影响产品的质量。
另外,传统的粉碎整粒机中的回转刀与转动轴采用一体化设计,更换时需要拆除转动轴与联轴器的连接,更换十分不便,故给日常的维修工作带来一定的麻烦。
发明内容
为了克服上述之不足,本实用新型的目的在于提供一种方便维修、工作效率高的节能高效型粉碎整粒机。
为解决上述技术问题,本实用新型所采用的技术方案是:
节能高效型粉碎整粒机,包括有机架、工作料筒、出料筒、电机、回转刀、锥形筛网和转动轴,电机设在机架的顶部,转动轴的一端通过联轴器与电机的输出轴联接,工作料筒设在转动轴的外围,出料筒设在工作料筒的底部,锥形筛网设在工作料筒与出料筒之间,其特征在于:所述转动轴的另一端螺纹连接有底端封闭的轴套,多个回转刀设在轴套上且沿轴套的周向间隔分布。
所述转动轴的轴肩与轴套之间设有用以调节回转刀与锥形筛网间距的垫圈。
所述回转刀的外侧边的倾斜度与锥形筛网的锥度相同。
所述工作料筒的顶部设有进料斗,所述进料斗上设有盖子。
所述垫圈的纵剖面为梯形结构。
本实用新型的有益效果在于:由于回转刀与转动轴采用螺纹连接的形式,当刀具磨损后,可以很方便地更换刀具,为维修提供了便利;由于设了调节间距用的垫圈,可适时地对回转刀与锥形筛网的间距进行调节,使其达到最佳的工作效果,提高了工作效率;本实用新型还具有低粉尘、低热量、低噪音、易清洗、体积小、颗粒度均匀的特点。
附图说明
下面结合附图和具体实施方式对本实用新型作进一步详细说明:
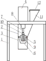
图1为本实用新型结构示意图。
图中:1、机架;2、工作料筒;3、出料筒;4、电机;5、回转刀;6、锥形筛网;7、转动轴;8、联轴器;9、轴套;l0、垫圈;11、进料斗;12、盖子。
具体实施方式
如图1所示,节能高效型粉碎整粒机,包括有机架1、工作料筒2、出料筒3、电机4、回转刀5、锥形筛网6和转动轴7,电机4设在机架1的顶部,转动轴7的一端通过联轴器8与电机4的输出轴联接,工作料筒2设在转动轴7的外围,出料筒3设在工作料筒2的底部,锥形筛网6设在工作料筒2与出料筒3之间,其特征在于:所述转动轴7的另一端螺纹连接有底端封闭的轴套9,多个回转刀5设在轴套9上且沿轴套的周向间隔分布。转动轴7的轴肩与轴套9之间设有用以调节回转刀与锥形筛网间距的垫圈10。回转刀5的外侧边的倾斜度与锥形筛网6的锥度相同。工作料筒2的顶部设有进料斗11,所述进料斗11上设有盖子12。垫圈10的纵剖面为梯形结构。
工作原理:粉碎整粒机主要用于制药工业中将制粒干燥后结团的颗粒,根据工艺要求整理合格的均匀颗粒,给混合机混合及压片机压片。将沸腾制粒机出来结团的的干颗粒通过进料斗加入到粉碎整粒机中,通过回转刀,使物料被撞击、挤压、剪切,通过筛网孔从出料筒流出,本实用新型中筒体的内外表面经高度抛光,内表面粗糙度Ra≤02μm,外表面粗糙度Ra≤0.4μm,故十分便于清洗。
以上所述仅为本实用新型较优的实施方式。但是, 本实用新型的保护范围并不局限于此,任何熟悉本技术领域的技术人员在本实用新型揭露的技术范围内,根据本实用新型的技术方案及其发明构思加以等同替换或改变,都应涵盖在本实用新型的保护范围之内。
Claims (5)
1.一种节能高效型粉碎整粒机,包括有机架(1)、工作料筒(2)、出料筒(3)、电机(4)、回转刀(5)、锥形筛网(6)和转动轴(7),电机(4)设在机架(1)的顶部,转动轴(7)的一端通过联轴器(8)与电机(4)的输出轴联接,工作料筒(2)设在转动轴(7)的外围,出料筒(3)设在工作料筒(2)的底部,锥形筛网(6)设在工作料筒(2)与出料筒(3)之间,其特征在于:所述转动轴(7)的另一端螺纹连接有底端封闭的轴套(9),多个回转刀(5)设在轴套(9)上且沿轴套的周向间隔分布。
2.根据权利要求1所述的节能高效型粉碎整粒机,其特征在于:所述转动轴(7)的轴肩与轴套(9)之间设有用以调节回转刀与锥形筛网间距的垫圈(10)。
3.根据权利要求1所述的节能高效型粉碎整粒机,其特征在于:所述回转刀(5)的外侧边的倾斜度与锥形筛网(6)的锥度相同。
4.根据权利要求1所述的节能高效型粉碎整粒机,其特征在于:所述工作料筒(2)的顶部设有进料斗(11),所述进料斗(11)上设有盖子(12)。
5.根据权利要求2所述的节能高效型粉碎整粒机,其特征在于:所述垫圈(10)的纵剖面为梯形结构。
Priority Applications (1)
| Application Number | Priority Date | Filing Date | Title |
|---|---|---|---|
| CN2011201339132U CN202122993U (zh) | 2011-04-29 | 2011-04-29 | 节能高效型粉碎整粒机 |
Applications Claiming Priority (1)
| Application Number | Priority Date | Filing Date | Title |
|---|---|---|---|
| CN2011201339132U CN202122993U (zh) | 2011-04-29 | 2011-04-29 | 节能高效型粉碎整粒机 |
Publications (1)
| Publication Number | Publication Date |
|---|---|
| CN202122993U true CN202122993U (zh) | 2012-01-25 |
Family
ID=45486064
Family Applications (1)
| Application Number | Title | Priority Date | Filing Date |
|---|---|---|---|
| CN2011201339132U Expired - Lifetime CN202122993U (zh) | 2011-04-29 | 2011-04-29 | 节能高效型粉碎整粒机 |
Country Status (1)
| Country | Link |
|---|---|
| CN (1) | CN202122993U (zh) |
Cited By (12)
| Publication number | Priority date | Publication date | Assignee | Title |
|---|---|---|---|---|
| CN102688795A (zh) * | 2012-06-05 | 2012-09-26 | 张永胜 | 高效湿法整粒机 |
| CN102921515A (zh) * | 2012-11-23 | 2013-02-13 | 苏州大学 | 一种药物粉碎器 |
| CN103372484A (zh) * | 2012-04-24 | 2013-10-30 | 都江堰市春盛中药饮片有限公司 | 下垂式粉碎机 |
| CN103372485A (zh) * | 2012-04-24 | 2013-10-30 | 都江堰市春盛中药饮片有限公司 | 下垂式上下摆粉碎机 |
| CN103381381A (zh) * | 2013-07-31 | 2013-11-06 | 方城县三利热能开发有限公司 | 物料粉碎机 |
| CN103623900A (zh) * | 2013-12-19 | 2014-03-12 | 四川东工电机有限公司 | 一种多功能直带式切碎机 |
| CN104353530A (zh) * | 2014-11-06 | 2015-02-18 | 四川旭华制药有限公司 | 一种自动控制粉碎整粒机 |
| CN107149976A (zh) * | 2017-05-31 | 2017-09-12 | 石林民翊农产品开发有限公司 | 一种自动化干果研磨粉碎设备 |
| CN108283973A (zh) * | 2017-12-29 | 2018-07-17 | 宜春万申制药机械有限公司 | 一种直联式整粒机 |
| CN109201271A (zh) * | 2018-08-15 | 2019-01-15 | 芜湖卓越纳米新材料股份有限公司 | 一种纳米碳酸钙的干燥粉碎装置 |
| CN110328999A (zh) * | 2019-07-15 | 2019-10-15 | 吕华斌 | 一种带有颜料磨砂功能的美术绘画用颜料存放装置 |
| CN110732390A (zh) * | 2019-11-11 | 2020-01-31 | 江苏省农业科学院 | 一种用于有机肥生产的肥料粉碎装置 |
-
2011
- 2011-04-29 CN CN2011201339132U patent/CN202122993U/zh not_active Expired - Lifetime
Cited By (16)
| Publication number | Priority date | Publication date | Assignee | Title |
|---|---|---|---|---|
| CN103372485B (zh) * | 2012-04-24 | 2015-06-24 | 成都市都江堰春盛中药饮片股份有限公司 | 下垂式上下摆粉碎机 |
| CN103372484A (zh) * | 2012-04-24 | 2013-10-30 | 都江堰市春盛中药饮片有限公司 | 下垂式粉碎机 |
| CN103372485A (zh) * | 2012-04-24 | 2013-10-30 | 都江堰市春盛中药饮片有限公司 | 下垂式上下摆粉碎机 |
| CN102688795A (zh) * | 2012-06-05 | 2012-09-26 | 张永胜 | 高效湿法整粒机 |
| CN102921515A (zh) * | 2012-11-23 | 2013-02-13 | 苏州大学 | 一种药物粉碎器 |
| CN103381381A (zh) * | 2013-07-31 | 2013-11-06 | 方城县三利热能开发有限公司 | 物料粉碎机 |
| CN103381381B (zh) * | 2013-07-31 | 2015-06-10 | 方城县三利热能开发有限公司 | 物料粉碎机 |
| CN104826707A (zh) * | 2013-07-31 | 2015-08-12 | 河南行知专利服务有限公司 | 物料粉碎机 |
| CN104826707B (zh) * | 2013-07-31 | 2017-05-31 | 河南行知专利服务有限公司 | 物料粉碎机 |
| CN103623900A (zh) * | 2013-12-19 | 2014-03-12 | 四川东工电机有限公司 | 一种多功能直带式切碎机 |
| CN104353530A (zh) * | 2014-11-06 | 2015-02-18 | 四川旭华制药有限公司 | 一种自动控制粉碎整粒机 |
| CN107149976A (zh) * | 2017-05-31 | 2017-09-12 | 石林民翊农产品开发有限公司 | 一种自动化干果研磨粉碎设备 |
| CN108283973A (zh) * | 2017-12-29 | 2018-07-17 | 宜春万申制药机械有限公司 | 一种直联式整粒机 |
| CN109201271A (zh) * | 2018-08-15 | 2019-01-15 | 芜湖卓越纳米新材料股份有限公司 | 一种纳米碳酸钙的干燥粉碎装置 |
| CN110328999A (zh) * | 2019-07-15 | 2019-10-15 | 吕华斌 | 一种带有颜料磨砂功能的美术绘画用颜料存放装置 |
| CN110732390A (zh) * | 2019-11-11 | 2020-01-31 | 江苏省农业科学院 | 一种用于有机肥生产的肥料粉碎装置 |
Similar Documents
| Publication | Publication Date | Title |
|---|---|---|
| CN202122993U (zh) | 节能高效型粉碎整粒机 | |
| CN203803545U (zh) | 辣椒粉碎筛选一体机 | |
| CN204911632U (zh) | 一种立式粉碎机 | |
| CN207970916U (zh) | 一种干果粉碎装置 | |
| CN205413170U (zh) | 一种辣木叶粉碎机 | |
| CN203648649U (zh) | 用于食品胶体的锥形打浆机 | |
| CN105381644A (zh) | 一种淀粉浆水清杂装置 | |
| CN103567218B (zh) | 配有喷淋功能的双弧筛分式轻物质分离器 | |
| CN102513193A (zh) | 中草药粉碎机 | |
| CN205341023U (zh) | 一种粉碎整粒机 | |
| CN209222285U (zh) | 辣椒磨粉装置 | |
| CN106733078A (zh) | 一种饲料原料微粉碎系统 | |
| CN202377047U (zh) | 木粉粉碎机 | |
| CN202590886U (zh) | 筛面自动清理式饲料粉碎机 | |
| CN204261792U (zh) | 一种立式无筛超微粉碎机 | |
| CN210010002U (zh) | 一种豆制品加工用研磨装置 | |
| CN206793841U (zh) | 高效离心式磨粉机 | |
| CN204544296U (zh) | 一种小麦石磨面粉机 | |
| CN206435314U (zh) | 一种高效磨粉机 | |
| CN205392639U (zh) | 一种改进型可循环颗粒粉碎设备 | |
| CN211725938U (zh) | 一种便于清洁的配料粉碎机 | |
| CN202516637U (zh) | 卧式可拆卸带风式超微粉碎机 | |
| CN204448207U (zh) | 一种小型粉碎机 | |
| CN211303157U (zh) | 一种陶瓷原料粉碎装置 | |
| CN203664349U (zh) | 一种带喷淋结构的轻物质分离器 |
Legal Events
| Date | Code | Title | Description |
|---|---|---|---|
| C14 | Grant of patent or utility model | ||
| GR01 | Patent grant | ||
| C56 | Change in the name or address of the patentee |
Owner name: GUANGDONG EASHU PHARMACEUTICAL CO., LTD. Free format text: FORMER NAME: GUANGDONG YISHU PHARMACEUTICAL CO., LTD. |
|
| CP01 | Change in the name or title of a patent holder |
Address after: 526070 Industrial Zone, Dinghu District, Guangdong, Zhaoqing Patentee after: Guangdong Yi Yi pharmaceutical Limited by Share Ltd Address before: 526070 Industrial Zone, Dinghu District, Guangdong, Zhaoqing Patentee before: Guangdong Eashu Pharmaceutical Co., Ltd. |
|
| CX01 | Expiry of patent term |
Granted publication date: 20120125 |
|
| CX01 | Expiry of patent term |