CN202117302U - Platform frame moving device - Google Patents

Platform frame moving device Download PDF

Info

Publication number
CN202117302U
CN202117302U CN2011201886365U CN201120188636U CN202117302U CN 202117302 U CN202117302 U CN 202117302U CN 2011201886365 U CN2011201886365 U CN 2011201886365U CN 201120188636 U CN201120188636 U CN 201120188636U CN 202117302 U CN202117302 U CN 202117302U
Authority
CN
China
Prior art keywords
guide wheel
rod
adjusting bolt
platform frame
moving device
Prior art date
Legal status (The legal status is an assumption and is not a legal conclusion. Google has not performed a legal analysis and makes no representation as to the accuracy of the status listed.)
Expired - Lifetime
Application number
CN2011201886365U
Other languages
Chinese (zh)
Inventor
吴瑞卿
张元斌
潘伟杰
黄亮忠
方耿珲
方世宏
赖泽荣
吴昊
Current Assignee (The listed assignees may be inaccurate. Google has not performed a legal analysis and makes no representation or warranty as to the accuracy of the list.)
Guangzhou No1 Construction Engineering Co Ltd
Guangzhou Construction Co Ltd
Original Assignee
Guangzhou No1 Construction Engineering Co Ltd
Guangzhou Construction Co Ltd
Priority date (The priority date is an assumption and is not a legal conclusion. Google has not performed a legal analysis and makes no representation as to the accuracy of the date listed.)
Filing date
Publication date
Application filed by Guangzhou No1 Construction Engineering Co Ltd, Guangzhou Construction Co Ltd filed Critical Guangzhou No1 Construction Engineering Co Ltd
Priority to CN2011201886365U priority Critical patent/CN202117302U/en
Application granted granted Critical
Publication of CN202117302U publication Critical patent/CN202117302U/en
Anticipated expiration legal-status Critical
Expired - Lifetime legal-status Critical Current

Links

Images

Landscapes

  • Rehabilitation Tools (AREA)

Abstract

The utility model relates to a platform frame moving device, which comprises a fixing portion, a guide wheel rod and an adjusting bolt, wherein the guide wheel rod is horizontally arranged, and one end of the guide wheel rod provided with a guide wheel faces to the wall surface. When the platform frame moving device is in use, the guide wheel can vertically roll on the wall surface. A rod sleeve is sleeved on the outer portion of part of the guide wheel rod which is not provided with the guide wheel, the adjusting bolt is extended into the rod sleeve, and the end portion of the adjusting bolt abuts against the corresponding end portion of the guide wheel rod. An adjusting end of the adjusting bolt is extended out of the rod sleeve, and the fixing portion is arranged at the top of the rod sleeve. When in use, a platform frame is fixed on the fixing portion. The platform frame moving device can be more labor-saving in top lifting of a platform and is more stable in the top lifting process.

Description

The paralell mobile device
Technical field
The utility model relates to the building machinery field, relates in particular to a kind of paralell mobile device.
Background technology
Paralell especially has crucial effects in the building of body of wall under construction.After the body of wall of a height is built completion, need paralell be moved up; In the prior art, generally directly its top is carried upwards by climbing device, it is bigger that the power that needs in the process is put forward on the top, and the top lifting process is not steady.
For this reason, the paralell mobile device that needs a kind of assistance platform frame to promote.
Summary of the invention
The purpose of the utility model is to provide a kind of paralell mobile device, and it is more laborsaving that it can make that the top of paralell promotes, and the top lifting process is more steady.
For achieving the above object, the utility model adopts following technical scheme:
A kind of paralell mobile device is characterized in that: comprise fixed part, guide wheel rod and adjusting bolt;
Said guide wheel rod horizontal positioned and its are provided with an end of directive wheel towards metope, during use, said directive wheel can be on metope scroll-up/down; The outside of the part that directive wheel is not set of said guide wheel rod is with the bar cover;
Said adjusting bolt stretches in the said bar cover and the respective end of said guide wheel rod is withstood in its end, and stretch out outside the said bar cover adjustable side of said adjusting bolt;
Said fixed part is arranged on the top of said bar cover, and during use, said paralell is fixed on the said fixed part.
The beneficial effect of the utility model is: utilize this paralell mobile device, because directive wheel rolls on body of wall, it is more smooth and easy to make that the top promotes, and the top of platform promotes more laborsaving; Simultaneously, directive wheel provides certain guiding for the top of platform along the slip of metope, thereby makes that the top lifting process of platform is more stable.In addition, regulate the position that bolt can be regulated directive wheel according to actual conditions, make directive wheel remain on to slide on the metope and be unlikely to press too tightly with metope.
Description of drawings
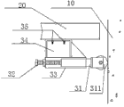
Fig. 1 is the sketch map of an embodiment of the utility model.
Fig. 2 is the right view of Fig. 1.
The specific embodiment
To combine accompanying drawing that the preferred implementation of the utility model is described below.
As depicted in figs. 1 and 2, the paralell mobile device of this embodiment comprises fixed part 34, guide wheel rod 31 and regulates bolt 32; Guide wheel rod 31 comprises directive wheel 311..
Guide wheel rod 31 is flatly placed, and its end that directive wheel 311 is set is towards metope 10, during use, directive wheel 311 can be on metope 10 scroll-up/down; The outside of the part that directive wheel is not set of guide wheel rod 31 (being bar) is with bar cover 33.
The respective end that adjusting bolt 32 stretches in the bar cover 33 and guide wheel rod 31 is withstood in its end is (like Fig. 1; The left end of guide wheel rod); Regulate outside the adjustable side extension bar cover 33 of bolt 32. the adjustable side of rotation adjusting bolt 32, the end (like Fig. 1, right-hand member) of regulating the top guide wheel bar of bolt will left or move right; Thereby make directive wheel to metope away from or draw close, thereby the actual requirement when adapting to construction.
Fixed part 34 is arranged on the top of bar cover 33, and during use, paralell 20 is fixed on the fixed part 34 through set bolt 35, can certainly adopt other fixed forms that are fit in the prior art.
This paralell mobile device is installed in the sidepiece (as shown in Figure 1) of paralell in use; In the process of top lifting platform frame; Directive wheel can be conditioned to such an extent that contact suitably with metope; Thereby make directive wheel roll swimmingly along metope, therefore make that the top lifting process is more laborsaving, the guide effect on vertical plane of directive wheel simultaneously makes that also the top lifting process is more stable.
What more than disclose only is the preferred embodiment of the utility model, can not limit the scope of the utility model certainly with this.To any conversion and the replacement of the utility model technical scheme, all in the protection domain of the utility model.

Claims (1)

1. a paralell mobile device is characterized in that: comprise fixed part, guide wheel rod and adjusting bolt;
Said guide wheel rod horizontal positioned and its are provided with an end of directive wheel towards metope, during use, said directive wheel can be on metope scroll-up/down; The outside of the part that directive wheel is not set of said guide wheel rod is with the bar cover;
Said adjusting bolt stretches in the said bar cover and the respective end of said guide wheel rod is withstood in its end, and stretch out outside the said bar cover adjustable side of said adjusting bolt;
Said fixed part is arranged on the top of said bar cover, and during use, said paralell is fixed on the said fixed part.
CN2011201886365U 2011-06-07 2011-06-07 Platform frame moving device Expired - Lifetime CN202117302U (en)

Priority Applications (1)

Application Number Priority Date Filing Date Title
CN2011201886365U CN202117302U (en) 2011-06-07 2011-06-07 Platform frame moving device

Applications Claiming Priority (1)

Application Number Priority Date Filing Date Title
CN2011201886365U CN202117302U (en) 2011-06-07 2011-06-07 Platform frame moving device

Publications (1)

Publication Number Publication Date
CN202117302U true CN202117302U (en) 2012-01-18

Family

ID=45458376

Family Applications (1)

Application Number Title Priority Date Filing Date
CN2011201886365U Expired - Lifetime CN202117302U (en) 2011-06-07 2011-06-07 Platform frame moving device

Country Status (1)

Country Link
CN (1) CN202117302U (en)

Cited By (4)

* Cited by examiner, † Cited by third party
Publication number Priority date Publication date Assignee Title
CN102777030A (en) * 2012-08-06 2012-11-14 中国建筑第六工程局有限公司 Method for building up formwork construction platform of lift shaft
CN105113780A (en) * 2015-08-17 2015-12-02 中国建筑股份有限公司 Wall-attached support device of hydraulic creeping formwork
CN106917499A (en) * 2017-02-28 2017-07-04 深圳市特辰科技股份有限公司 A kind of self-driving type full-automatic machine people's climbing frame
CN108979114A (en) * 2017-05-31 2018-12-11 深圳市特辰科技股份有限公司 A kind of full-automatic scissor-type robot climbing frame

Cited By (5)

* Cited by examiner, † Cited by third party
Publication number Priority date Publication date Assignee Title
CN102777030A (en) * 2012-08-06 2012-11-14 中国建筑第六工程局有限公司 Method for building up formwork construction platform of lift shaft
CN105113780A (en) * 2015-08-17 2015-12-02 中国建筑股份有限公司 Wall-attached support device of hydraulic creeping formwork
CN106917499A (en) * 2017-02-28 2017-07-04 深圳市特辰科技股份有限公司 A kind of self-driving type full-automatic machine people's climbing frame
CN106917499B (en) * 2017-02-28 2019-06-28 深圳市特辰科技股份有限公司 A kind of self-driving type full-automatic machine people's climbing frame
CN108979114A (en) * 2017-05-31 2018-12-11 深圳市特辰科技股份有限公司 A kind of full-automatic scissor-type robot climbing frame

Similar Documents

Publication Publication Date Title
CN202117302U (en) Platform frame moving device
CN102252082A (en) Lifting regulation device
CN201660323U (en) Bracket special for unrolling rolling plate
CN202129730U (en) Integral shot blasting craft equipment for special-shaped components
CN204675737U (en) One is shaken groove lifting and moving device
CN203470573U (en) Bending diameter adjustment device of plate bending machine
CN203209080U (en) Erector for chemical experiment teaching
CN201597075U (en) Adjusting mechanism for auxiliary saw of electronic saw
CN205887721U (en) Bending machine
CN104909296B (en) One kind is shaken groove lifting and moving device
CN103754749A (en) Thin plate lifting appliance
CN203764682U (en) Internal bracing correcting device of suspension arm
CN206869897U (en) A kind of plasterboard feeding device
CN205687455U (en) A kind of lifting device
CN107876587A (en) A kind of fluid pressure type level(l)ing machine
CN206122403U (en) Fluid pressure type levelling arm
CN204194490U (en) Saw blade straightener
CN202824289U (en) Novel two-roller veneer reeling machine
CN105364813A (en) Tire mould placement device with inclined support
CN204035539U (en) A kind of foundry goods seat of adjustable casting cooling system
CN205085674U (en) Add adjustable machine tool table of elongated
CN203449007U (en) Novel follow rest of lathe
CN203678862U (en) Position adjustment device for flat heads of working rollers
CN204503838U (en) Novel simple rim inspection machine
CN203668771U (en) Base formwork with leveling device for high speed railway ballastless track

Legal Events

Date Code Title Description
C14 Grant of patent or utility model
GR01 Patent grant
CX01 Expiry of patent term

Granted publication date: 20120118

CX01 Expiry of patent term