CN202114283U - An inner hole positioning clamping device - Google Patents
An inner hole positioning clamping device Download PDFInfo
- Publication number
- CN202114283U CN202114283U CN2011200992916U CN201120099291U CN202114283U CN 202114283 U CN202114283 U CN 202114283U CN 2011200992916 U CN2011200992916 U CN 2011200992916U CN 201120099291 U CN201120099291 U CN 201120099291U CN 202114283 U CN202114283 U CN 202114283U
- Authority
- CN
- China
- Prior art keywords
- claws
- clamping device
- alignment pin
- positioning clamping
- inner hole
- Prior art date
- Legal status (The legal status is an assumption and is not a legal conclusion. Google has not performed a legal analysis and makes no representation as to the accuracy of the status listed.)
- Expired - Fee Related
Links
- 210000000078 claw Anatomy 0.000 claims abstract description 20
- 230000014759 maintenance of location Effects 0.000 claims description 3
- 238000004519 manufacturing process Methods 0.000 abstract description 3
- 238000005516 engineering process Methods 0.000 description 2
- 238000003754 machining Methods 0.000 description 2
- 238000000034 method Methods 0.000 description 2
- 208000004350 Strabismus Diseases 0.000 description 1
- 238000010276 construction Methods 0.000 description 1
- 230000007812 deficiency Effects 0.000 description 1
- 238000010438 heat treatment Methods 0.000 description 1
- 238000009434 installation Methods 0.000 description 1
Images
Landscapes
- Jigs For Machine Tools (AREA)
Abstract
The utility model discloses an inner hole positioning clamping device, comprising a positioning pin and four claws. One end of the cylindrical positioning pin is provided with four chutes equally allocated in radial directions; the bottoms of the four claws are provided with sliding rails corresponding to the chutes; tops of the four claws are provided with a stopping device used for preventing the claws from slipping off from the positioning pin; and a shape and a size of the positioning pin are matched with clamped workpieces. The inner hole positioning clamping device is simple in structure, easy to install, use and manufacture, and has strong manufacturability and a long service lifetime.
Description
Technical field
The utility model relates to the Machining Technology field, particularly relates to a kind of endoporus positioning clamping device.
Background technology
In machining, need to confirm the tram of workpiece with respect to cutter, squint to avoid the workpiece work in-process; The equipment of accomplishing this effect promptly is a jig; Location and clamping are the main functions of anchor clamps, and locating surface commonly used has plane, cylindrical, endoporus etc., and it is a kind of installation way of often using that the endoporus location clamps; Generally realize that with centering or centering machine scroll chuck or spring ringfeder are two kinds of the most frequently used forms.
Scroll chuck clamping workpiece (seeing Fig. 1-1 and Fig. 1-2) mainly is applicable to slewing parts processing, and centering precision is good, and shortcoming is a complex structure, needs specialized factory to make, and is difficult in the anchor clamps of processing profiled complex class part, use.
Spring ringfeder clamping workpiece (seeing Fig. 2-1 and Fig. 2-2) both had been suitable for slewing parts processing, also can in processing profiled misconduct part processing, clamp with the endoporus location, and positioning accuracy is high; Shortcoming is that the ringfeder material requirements is high, and heat treatment is complicated, the manufacturing process trouble; Service life is short, and clamping force is little.
Summary of the invention
The purpose of the utility model is to overcome the deficiency of above-mentioned prior art, and a kind of endoporus positioning clamping device is provided.
The technical solution of the utility model is following:
A kind of endoporus positioning clamping device; Be characterized in that this device comprises alignment pin and four claws, described alignment pin is cylindric, and an end of this alignment pin has four chutes of radially dividing equally; The bottom of described four claws is provided with and the corresponding slide rail of this chute; Top at described four claws is provided with retention device, makes claw can not skid off alignment pin, and the shape and size and the caught workpiece of said alignment pin are suitable.
Described alignment pin and described claw can adopt different materials, make respectively.
Compared with prior art, technique effect of the present invention is following:
Because alignment pin and four claws adopt absolute construction, elder generation locatees afterwards and clamps, and simple in structure being convenient to installed and used.Can adopt different materials separately to make good manufacturability, long service life during manufacturing.
Description of drawings
Fig. 1-1, Fig. 1-2 are the structural representations of scroll chuck in the prior art.
Fig. 2-1, Fig. 2-the 2nd, the structural representation that the prior art medi-spring rises.
Fig. 3 is the structural representation of the utility model endoporus positioning clamping device.
Fig. 4 is the front view of the utility model endoporus positioning clamping device.
Fig. 5 is an A-A alignment cutaway view among Fig. 4.
Fig. 6 is the side view among Fig. 4.
The specific embodiment
Below in conjunction with accompanying drawing the utility model is described further, but should limit the protection domain of the utility model with this.
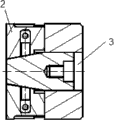
See also Fig. 3, Fig. 3 is the structural representation of the utility model endoporus positioning clamping device.As shown in the figure, a kind of endoporus positioning clamping device, this device comprise alignment pin 1 and four claws 2; Described alignment pin 1 is cylindric; One end of this alignment pin 1 has four chutes of radially dividing equally 5, and the bottom of described four claws is provided with and the corresponding slide rail 4 of this chute, is provided with retention device 3 at the top of described four claws; Make claw 2 can not skid off alignment pin 1, the shape and size and the caught workpiece of said alignment pin 1 are suitable.Described alignment pin and described claw adopt different materials, make respectively.
Show that through using the utility model endoporus positioning clamping device is simple in structure, to be convenient to install and use that positioning accuracy is high, make easy, good manufacturability, long service life.
Claims (2)
1. an endoporus positioning clamping device is characterized in that, this device comprises alignment pin and four claws; Described alignment pin is cylindric; One end of this alignment pin has four chutes of radially dividing equally, and the bottom of described four claws is provided with and the corresponding slide rail of this chute, is provided with retention device at the top of described four claws; Make claw can not skid off alignment pin, the shape and size and the caught workpiece of said alignment pin are suitable.
2. endoporus positioning clamping device according to claim 1 is characterized in that described alignment pin and described claw adopt different materials, make respectively.
Priority Applications (1)
| Application Number | Priority Date | Filing Date | Title |
|---|---|---|---|
| CN2011200992916U CN202114283U (en) | 2011-04-07 | 2011-04-07 | An inner hole positioning clamping device |
Applications Claiming Priority (1)
| Application Number | Priority Date | Filing Date | Title |
|---|---|---|---|
| CN2011200992916U CN202114283U (en) | 2011-04-07 | 2011-04-07 | An inner hole positioning clamping device |
Publications (1)
| Publication Number | Publication Date |
|---|---|
| CN202114283U true CN202114283U (en) | 2012-01-18 |
Family
ID=45455381
Family Applications (1)
| Application Number | Title | Priority Date | Filing Date |
|---|---|---|---|
| CN2011200992916U Expired - Fee Related CN202114283U (en) | 2011-04-07 | 2011-04-07 | An inner hole positioning clamping device |
Country Status (1)
| Country | Link |
|---|---|
| CN (1) | CN202114283U (en) |
Cited By (2)
| Publication number | Priority date | Publication date | Assignee | Title |
|---|---|---|---|---|
| CN104275619A (en) * | 2014-09-16 | 2015-01-14 | 芜湖市华益阀门制造有限公司 | Positioning claw for inner hole positioning clamp |
| CN111800627A (en) * | 2020-08-18 | 2020-10-20 | 珠海市华亚智能科技有限公司 | Automatic focusing machine for camera |
-
2011
- 2011-04-07 CN CN2011200992916U patent/CN202114283U/en not_active Expired - Fee Related
Cited By (2)
| Publication number | Priority date | Publication date | Assignee | Title |
|---|---|---|---|---|
| CN104275619A (en) * | 2014-09-16 | 2015-01-14 | 芜湖市华益阀门制造有限公司 | Positioning claw for inner hole positioning clamp |
| CN111800627A (en) * | 2020-08-18 | 2020-10-20 | 珠海市华亚智能科技有限公司 | Automatic focusing machine for camera |
Similar Documents
| Publication | Publication Date | Title |
|---|---|---|
| CN208961525U (en) | A kind of wheel hub clamping and positioning device | |
| CN102274995A (en) | Multi-angle hole assembly tool for shaft parts | |
| CN202114283U (en) | An inner hole positioning clamping device | |
| CN204160197U (en) | One is applicable to disc-like and straight plate type part tool for drilling fixture | |
| CN205254574U (en) | Beveling machine is fixing device for work | |
| CN208811123U (en) | Swollen positioning device in one kind | |
| CN202726576U (en) | Fixture of milling machine | |
| CN206105450U (en) | Steering gear casing anchor clamps | |
| CN203918531U (en) | A kind of bracket frame modular fixture | |
| CN202592212U (en) | Elbow outer straight end processing clamp | |
| CN206154146U (en) | Return bend typing anchor clamps | |
| CN103639722A (en) | Drilling positioning tooling of soft workpiece | |
| CN202292417U (en) | Trial cutting jig of grinding machine | |
| CN203918532U (en) | The soft claw built-up jig of triadius type | |
| CN203460083U (en) | Aluminum plate detection clamp | |
| CN205342885U (en) | Bumper shock absorber rubberizing special fixture | |
| CN205852304U (en) | A kind of pipe fitting processing tool | |
| CN203236236U (en) | Clamp | |
| CN202877936U (en) | Fixture used for oblique hole punching | |
| CN204075778U (en) | The Working piece positioning device of lathe | |
| JP3198719U (en) | Processing jig for vertical cutting machine | |
| CN204235203U (en) | Cylindrical workpiece addendum cone face punching auxiliary fixing device | |
| CN203460082U (en) | Check tool marking clamp | |
| CN104084615A (en) | Machining method of ring support | |
| CN202278421U (en) | a fixture |
Legal Events
| Date | Code | Title | Description |
|---|---|---|---|
| C14 | Grant of patent or utility model | ||
| GR01 | Patent grant | ||
| CF01 | Termination of patent right due to non-payment of annual fee |
Granted publication date: 20120118 Termination date: 20200407 |
|
| CF01 | Termination of patent right due to non-payment of annual fee |