CN202108089U - 免水式存水弯 - Google Patents
免水式存水弯 Download PDFInfo
- Publication number
- CN202108089U CN202108089U CN2011200395722U CN201120039572U CN202108089U CN 202108089 U CN202108089 U CN 202108089U CN 2011200395722 U CN2011200395722 U CN 2011200395722U CN 201120039572 U CN201120039572 U CN 201120039572U CN 202108089 U CN202108089 U CN 202108089U
- Authority
- CN
- China
- Prior art keywords
- pipe portion
- trap
- water
- fluid
- pipe
- Prior art date
- Legal status (The legal status is an assumption and is not a legal conclusion. Google has not performed a legal analysis and makes no representation as to the accuracy of the status listed.)
- Expired - Fee Related
Links
- 239000012530 fluid Substances 0.000 claims abstract description 36
- 239000007779 soft material Substances 0.000 claims description 4
- 230000009182 swimming Effects 0.000 claims 6
- 230000033001 locomotion Effects 0.000 claims 2
- XLYOFNOQVPJJNP-UHFFFAOYSA-N water Substances O XLYOFNOQVPJJNP-UHFFFAOYSA-N 0.000 abstract description 56
- 241000255925 Diptera Species 0.000 abstract description 9
- 239000007788 liquid Substances 0.000 abstract description 5
- 239000007789 gas Substances 0.000 description 6
- 235000019645 odor Nutrition 0.000 description 6
- 230000007812 deficiency Effects 0.000 description 4
- 230000008020 evaporation Effects 0.000 description 4
- 238000001704 evaporation Methods 0.000 description 4
- 230000009545 invasion Effects 0.000 description 4
- VYPSYNLAJGMNEJ-UHFFFAOYSA-N Silicium dioxide Chemical compound O=[Si]=O VYPSYNLAJGMNEJ-UHFFFAOYSA-N 0.000 description 3
- 239000000741 silica gel Substances 0.000 description 3
- 229910002027 silica gel Inorganic materials 0.000 description 3
- 244000052616 bacterial pathogen Species 0.000 description 2
- 230000000694 effects Effects 0.000 description 2
- 229920001971 elastomer Polymers 0.000 description 2
- 230000005484 gravity Effects 0.000 description 2
- 239000000203 mixture Substances 0.000 description 2
- 230000001151 other effect Effects 0.000 description 2
- 239000005060 rubber Substances 0.000 description 2
- 239000010865 sewage Substances 0.000 description 2
- 239000000126 substance Substances 0.000 description 2
- 239000002351 wastewater Substances 0.000 description 2
- 238000009825 accumulation Methods 0.000 description 1
- 230000009286 beneficial effect Effects 0.000 description 1
- 238000004140 cleaning Methods 0.000 description 1
- 238000004891 communication Methods 0.000 description 1
- 238000013461 design Methods 0.000 description 1
- 238000010586 diagram Methods 0.000 description 1
- 238000009434 installation Methods 0.000 description 1
- 239000000463 material Substances 0.000 description 1
- 238000000034 method Methods 0.000 description 1
- 238000012986 modification Methods 0.000 description 1
- 230000004048 modification Effects 0.000 description 1
- 229920002635 polyurethane Polymers 0.000 description 1
- 239000004814 polyurethane Substances 0.000 description 1
- 229920000915 polyvinyl chloride Polymers 0.000 description 1
- 239000004800 polyvinyl chloride Substances 0.000 description 1
- 238000011160 research Methods 0.000 description 1
- 238000007789 sealing Methods 0.000 description 1
- 239000002912 waste gas Substances 0.000 description 1
Images
Landscapes
- Sink And Installation For Waste Water (AREA)
Abstract
本案在提供一种免水式存水弯,其设置于流通液体的管路上,用以防止废气、蚊虫等经存水弯逆向侵入室内等空间;具有一壳体,于壳体内设置至少一弹性件,呈管套状,一端为开口,另一端为可启/闭的结构;当流体在弹性件内侧流通时,该可启/闭端开启供流体通过,而流体流经之后,该可启/闭端自动闭合;上述构成所形成的存水弯可不必设置积水的水封而自然封闭管路的逆向通路。
Description
技术领域
本案是有关存水弯的结构,尤指一种免用水液即可防止废气、蚊虫等经存水弯逆向侵入室内等空间的免水式存水弯。
背景技术
一般的卫生设备,包括抽水马桶、洗脸盆等的排水管,都设置存水弯的结构,主要是在防止废气、臭气、病菌、蚊虫等逆向透过卫生器具的排水管路,入侵到室内,使得室内成为不卫生的环境。
这种公知的存水弯,主要是利用存水弯特殊的U型或P型等弯道或转折的设计,让流过卫生设备的污废水在弯道或转折处产生积水,形成约50mm-100mm水封(有效水封深度),使积水两侧的管道被积水封闭隔开,因而防止积水弯后侧的臭气、蚊虫等逆向入侵。惟,这种传统的存水弯大致有下列缺失:
1.)虹吸现象:此种存水弯容易因相邻的卫生设备排水所产生的虹吸现象,将存水弯内的水逐渐牵引吸走,使积水深度不足,造成“破封”(水封的有效深度不足,而导致水封失效)的现象。
2.)蒸发现象:不常使用的卫生设备的存水弯的水封,会逐渐因为蒸发现象造成积水深度不足,产生“破封”的现象。
3.)存水弯常常因为异物堆积沉淀而逐渐阻塞构造曲折的水封,会造成水流不顺畅甚至阻塞,虽然部份存水弯的底部设有排除污物的设计,但需要随时清洗,这种情形会造成用户的困扰。
如中国台湾专利第M338939号,其为一种V型双用存水弯头的改良结构,可减少装置空间及能简易地快速且确实地不使用专用工具即可将清洁口盖锁紧或打开的创作;但,此一专利案对于上述所称的三种缺失仍不易避免。又如专利证第216083号存水弯的改良,具有一分叉的弯管,弯管于弯折处形成一储存室,而储存室的底部向下延伸一管体,管体内具有内螺纹,以供螺锁一具外螺纹的封盖,而管体的内螺纹与该储存室相接处环设一凸缘,且封盖的外螺纹顶端环设一嵌部,以供嵌设一防水件,使防水件抵紧于管体内的凸缘底部,以封闭管体的内螺纹与 封盖的外螺纹相互螺接处。上述专利也存在着传统以储存积水为水封的缺失。
由上述两个国内专利的案例可知,以水液作成水封的主体,大都会产生前述传统存水弯的缺失。
申请人为改善这些缺失,潜心精研,创作了本案。
发明内容
本案的主要目的在提供一种不必使用水液为水封的存水弯,具有一壳体以串接流体管道,于壳体内设置一可启闭的通道,该通道可排放流体(以下所称流体包括水液等液体以及处在液体中的各种物质),于不流通时,本案存水弯可自动形成闭合状态;并且当其处在逆向压力时,可启/闭的通道仍呈封闭状态,以防止废气、臭气、病菌、蚊虫逆向进入存水弯的另侧。
本案所称的可启闭的通道,创作一弹性件,利用流通的流体等物质的重力,自然的推开原本闭合的部位形成开启状态,顺利的将污废水等流体排放出去,当流体大致排放完毕,该弹性件即自动回复成闭合状态,以阻绝臭气、蚊虫等的入侵。
本案所称的弹性件,由软质材料制成,其可选自如由橡胶、聚氨酯、聚氯乙烯或硅胶等类材料或其组合,呈套管状,具有一侧为承接流体通过的开口,另一侧则为平时封闭的开口,该开口于流体通过时可自动开启。
本案可进一步的在壳体内部装置复数个弹性件,以达成更加封闭管道的逆向流通的需求。
本案的次一目的在使本案设置于流通气体的管道,其中弹性件的内部受到顺向压力时该启/闭口形成开启状,弹性件的外部受到逆向压力时该启/闭口仍然封闭。
一种免水式存水弯,装置于流体流通管道中,包括:一壳体:为中空管状体,具有顺次相连的第一管部、第二管部及第三管部,其中第一管部承接流通管道输出部,第二管部内部提供弹性件的设置,第三管部续接流通管道;至少一所述弹性件:设置于壳体内部;呈中空管状,具有顺次相连的进口端、管体及一出口端;进口端承接流体进入弹性件内部,管体能够变形或膨胀,出口端在流体经过时开启,流体通过后自动回复呈闭合。
本实用新型达到的有益技术效果在于:
1.整体外表顺畅,不具弯弯曲曲的水封结构,极易由水流排除启/闭端的阻塞。
2.无水封结构的设置,不会因为虹吸、蒸发等作用,造成”破封”现象产生臭气、蚊虫逆向入侵的困扰。
3.本案存水弯极易被设置于流体或气体的管路中。
附图说明
图1本案存水弯的实施例立体图(部份剖视);
图2本案存水弯的实施例的前视图;
图3本案存水弯的实施例的上视图;
图4为图3中A-A剖线视图;
图5为图3中B-B剖线视图;
图6本案存水弯使用状态实施例(一);
图7本案存水弯使用状态实施例(二);
图8本案存水弯的另一实施例;
图9本案存水弯使用状态实施例(三);
图10本案存水弯的另一实施例(二)。
附图标记说明
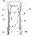
10-壳体;11-第一管部;12-第二管部;13-第三管部;11a、12a、12b、13a-螺牙;20-弹性件;21-进口端;21a-端缘;22-管体;23-出口端;20’、20”-弹性件;30-第一连通管;40-第二连通管;50-水槽;60-流体。
具体实施方式
如图1-5所示,为本案存水弯的实施例结构图,其包括一壳体10及至少一弹性件20,该弹性件20设置于壳体10内。
所称壳体10,是装置在流体流通管道上,呈中空管状体,提供一稳定的结构件;其构成包括顺次相连的第一管部11、第二管部12及第三管部13,其中第一管部11承接第一连通管30(请参照图6、7),第二管部12内部提供弹性件20的设置,第三管部13续接第二连通管40(请参照图6、7)。
所称弹性件20,设置在壳体10内,提供流体的流通,由软质材料(如橡胶、硅胶等)制成的中空构件,其构成包括顺次相连的一进口端21、中空管体22及一出口端23(即前述说明所称的可启/闭端),整体形状由进口端21的开口渐渐至出口端23的闭合;该进口端21的端缘21a可供固定于壳体10内部,进口端21 保持开口,承接由第一连通管30内部流下的流体进入弹性件20界定的内部空间,该管体22可因流体的通过而改变形状或使管体膨胀,使连接的出口端23由闭合状态变成具有开口状态,也即该弹性件20界定的内部空间受到压力时,出口端23于无流体通过时呈闭合状,而流体通过时则被张开。
上述所称进口端21,其可如实施例所示,以具有端缘21a的形式固定设置于壳体10内,其也得以其他方式设置的,例如以粘贴、夹掣等各种形式将的固定,以使弹性件20被设置于壳体10内。
如上所称出口端23,为一可被开启的开口结构,当其在以软质材料制作时该开口呈闭合状态,于管体22内侧受到向外的推力时,该出口端23的开口即被连动张开,略呈管状的开口,形成流体可流通的开口状态。
如图6、7所示,为本案设置于一水槽50下方,以作为存水弯的一种实施例示意图。水槽50下方连接第一连通管30,第一连通管30下方插掣于壳体10的第一管部11内,并夹掣弹性件20,于壳体10的第三管部12插掣第二连通管40;于第一连通管30与第一管部11间、及第二连通管40与第三管部12皆可以硅胶等任何形式予以封闭,以防漏水。于图6中所显示为无流体通过,则存水弯的弹性件20的出口端23呈闭合状态,于此状态下由第二连通管40内的气体、蚊虫等很难逆向进入第一连通管30。于图7中所显示的是有流体60通过弹性件20的状态显示例,流体60因重力因素由弹性件20的内部向外撑开,使弹性件20的管体22产生变形,使出口端23张开,于流体60流过后,由弹性件20内部撑开弹性件20的因素消失,则出口端23即自动闭合,回复成图6所示状态。
如图8所示,为本案的另一个实施例,设置两个弹性件20’、20”于壳体10内,使达成逆向封闭的效果更佳。
如图9所示为本案创作的另一实施例,将本案装置一斜向的流体通道上;则流体流经弹性件20内部时,弹性件20将因流体的重力等因素使其下方的出口端23形成开启状态,使流体自然流通,待流体流通过后,出口端23即可自然闭合。
考量本案的整体存水弯可被拆卸更换或仅只更换弹性件20,本案壳体10的第一管部11或第三管部13可制成可活动的结构;如图10所示,在第一管部11、第三管部13与第二管部12之间设置螺牙11a、12a,12b、13a,由于第一管部11或第三管部13可于第二管部12上相对作上下移动,甚至第一管部11或第三管部13脱离第二管部12,则整体存水弯10可被拆卸,使其可被更换,或仅更换内部的弹性件20。上述以螺旋的方式作拆卸存水弯仅是一实施例,并非局限于此结构,也 即,对本案存水弯的拆卸所作的有关结构设置仅本案的等效手段,皆应属本案的专利范围。
如上述本案的存水弯,其与传统的存水弯的最大区别再于不必设置水封结构。本案因而具有如下优点:
1.整体外表顺畅,不具弯弯曲曲的水封结构,极易由水流排除启/闭端的阻塞。
2.无水封结构的设置,不会因为虹吸、蒸发等作用,造成”破封”现象产生臭气、蚊虫逆向入侵的困扰。
3.本案存水弯极易被设置于流体或气体的管路中。
以上对本实用新型的描述是说明性的,而非限制性的,本专业技术人员理解,在权利要求限定的精神与范围的内可对其进行许多修改、变化或等效,但是它们都将落入本实用新型的保护范围内。
Claims (6)
1.一种免水式存水弯,装置于流体流通管道中,其特征在于,包括:
一壳体:为中空管状体,具有顺次相连的第一管部、第二管部及第三管部,其中第一管部承接流通管道输出部,第二管部内部提供弹性件的设置,第三管部续接流通管道;
至少一所述弹性件:设置于壳体内部;呈中空管状,具有顺次相连的进口端、管体及一出口端;进口端承接流体进入弹性件内部,管体能够变形或膨胀,出口端在流体经过时开启,流体通过后自动回复呈闭合。
2.依权利要求1所示的免水式存水弯,其特征在于,所称壳体的第一管部与第二管部能够相对运动。
3.依权利要求1所示的免水式存水弯,其特征在于,所称壳体的第一管部与第二管部能够脱离。
4.依权利要求1所示的免水式存水弯,其特征在于,所称壳体的第三管部与第二管部能够相对运动。
5.依权利要求1所示的免水式存水弯,其特征在于,所称壳体的第三管部与第二管部能够脱离。
6.依权利要求1所示的免水式存水弯,其特征在于,所称弹性件由软质材料制成。
Priority Applications (1)
| Application Number | Priority Date | Filing Date | Title |
|---|---|---|---|
| CN2011200395722U CN202108089U (zh) | 2011-02-16 | 2011-02-16 | 免水式存水弯 |
Applications Claiming Priority (1)
| Application Number | Priority Date | Filing Date | Title |
|---|---|---|---|
| CN2011200395722U CN202108089U (zh) | 2011-02-16 | 2011-02-16 | 免水式存水弯 |
Publications (1)
| Publication Number | Publication Date |
|---|---|
| CN202108089U true CN202108089U (zh) | 2012-01-11 |
Family
ID=45433527
Family Applications (1)
| Application Number | Title | Priority Date | Filing Date |
|---|---|---|---|
| CN2011200395722U Expired - Fee Related CN202108089U (zh) | 2011-02-16 | 2011-02-16 | 免水式存水弯 |
Country Status (1)
| Country | Link |
|---|---|
| CN (1) | CN202108089U (zh) |
Cited By (5)
| Publication number | Priority date | Publication date | Assignee | Title |
|---|---|---|---|---|
| CN102561480A (zh) * | 2012-02-16 | 2012-07-11 | 全球概念解决方案(澳大利亚)有限公司 | 用于排水系统的隔离装置 |
| CN104153445A (zh) * | 2014-08-04 | 2014-11-19 | 孙燕平 | 直排无味节水便器 |
| CN104818757A (zh) * | 2015-05-08 | 2015-08-05 | 张昭 | 小便免冲水型两用座便器 |
| CN106284543A (zh) * | 2016-10-14 | 2017-01-04 | 贵州大学 | 一种可拼接延长防臭下水管 |
| CN107386388A (zh) * | 2017-07-24 | 2017-11-24 | 浙江伟星新型建材股份有限公司 | 一种下水管密封配件及其专用接头 |
-
2011
- 2011-02-16 CN CN2011200395722U patent/CN202108089U/zh not_active Expired - Fee Related
Cited By (6)
| Publication number | Priority date | Publication date | Assignee | Title |
|---|---|---|---|---|
| CN102561480A (zh) * | 2012-02-16 | 2012-07-11 | 全球概念解决方案(澳大利亚)有限公司 | 用于排水系统的隔离装置 |
| CN104153445A (zh) * | 2014-08-04 | 2014-11-19 | 孙燕平 | 直排无味节水便器 |
| CN104818757A (zh) * | 2015-05-08 | 2015-08-05 | 张昭 | 小便免冲水型两用座便器 |
| CN106284543A (zh) * | 2016-10-14 | 2017-01-04 | 贵州大学 | 一种可拼接延长防臭下水管 |
| CN107386388A (zh) * | 2017-07-24 | 2017-11-24 | 浙江伟星新型建材股份有限公司 | 一种下水管密封配件及其专用接头 |
| CN107386388B (zh) * | 2017-07-24 | 2019-12-24 | 浙江伟星新型建材股份有限公司 | 一种下水管密封配件及其专用接头 |
Similar Documents
| Publication | Publication Date | Title |
|---|---|---|
| CN202108089U (zh) | 免水式存水弯 | |
| CN201111509Y (zh) | 下水管污水杂物分离装置 | |
| CN201817908U (zh) | 整体浴室用地漏 | |
| CN202672325U (zh) | 一种超低结构的同层排水装置 | |
| CN212427387U (zh) | 一种家用清洗盆防臭隔气装置 | |
| CN201047100Y (zh) | 单进单出环保地漏 | |
| JP6194505B2 (ja) | 自封式弁部材及び継ぎ手部材 | |
| EP3400343A1 (en) | Mechanical valve for waterless urinal | |
| CN206418805U (zh) | 建筑物卫生间及其排水系统 | |
| CN201539007U (zh) | 排臭气坐便器 | |
| CN201158849Y (zh) | 多用途除臭地漏 | |
| CN212478006U (zh) | 双盒延长水流深度地漏 | |
| CN2623753Y (zh) | 防非典多用卫生排水地漏 | |
| CN203546841U (zh) | 多功能防臭地漏 | |
| KR20110006553A (ko) | 레두샤 연결용 배관에 장착되는 차단장치 | |
| CN204343415U (zh) | 一种长效全封闭水封防臭存水弯 | |
| CN202672260U (zh) | 一种同层排水装置 | |
| CN206279585U (zh) | 一种防臭的可拆卸的便于疏通的下水装置 | |
| CN209891344U (zh) | 一种阳台预埋地漏 | |
| CN221837678U (zh) | 一种防臭厨卫下水器连接器 | |
| TWM416710U (en) | Water-free house trap | |
| CN219773112U (zh) | 洗涤盆防臭下水装置 | |
| CN205134453U (zh) | 防臭排水管 | |
| JP6097622B2 (ja) | 配管ユニット、配管構造及び排水システム | |
| JP2006291496A (ja) | 水洗トイレ用手洗器の排水構造 |
Legal Events
| Date | Code | Title | Description |
|---|---|---|---|
| C14 | Grant of patent or utility model | ||
| GR01 | Patent grant | ||
| C17 | Cessation of patent right | ||
| CF01 | Termination of patent right due to non-payment of annual fee |
Granted publication date: 20120111 Termination date: 20140216 |