CN202106049U - 分体式小间隙内倒角加工刀具 - Google Patents
分体式小间隙内倒角加工刀具 Download PDFInfo
- Publication number
- CN202106049U CN202106049U CN2011201689460U CN201120168946U CN202106049U CN 202106049 U CN202106049 U CN 202106049U CN 2011201689460 U CN2011201689460 U CN 2011201689460U CN 201120168946 U CN201120168946 U CN 201120168946U CN 202106049 U CN202106049 U CN 202106049U
- Authority
- CN
- China
- Prior art keywords
- connecting rod
- split type
- cutter
- rod
- machining cutter
- Prior art date
- Legal status (The legal status is an assumption and is not a legal conclusion. Google has not performed a legal analysis and makes no representation as to the accuracy of the status listed.)
- Expired - Lifetime
Links
- 238000003754 machining Methods 0.000 title claims abstract description 13
- 238000005520 cutting process Methods 0.000 claims abstract description 23
- 238000004519 manufacturing process Methods 0.000 abstract description 6
- 238000000034 method Methods 0.000 abstract description 3
- 238000005516 engineering process Methods 0.000 description 3
- 238000005299 abrasion Methods 0.000 description 1
- 239000012467 final product Substances 0.000 description 1
Images
Landscapes
- Milling Processes (AREA)
Abstract
本实用新型公开了一种分体式小间隙内倒角加工刀具,包括具有夹角的连接杆和切削杆,连接杆上设有安装孔,切削杆一端设有刀头,所述切削杆的另一端与连接杆的一端可拆卸连接,通过安装孔将连接杆固定在车床刀架上,切削杆与连接杆可拆卸连接,分体式形状简单,易于加工制造,制造成本低,而且结构更加合理,在使用过程中切削杆与连接杆的夹角弯头处不易产生断裂,刀头磨损后,只需更换切削杆即可,不必更换整个刀具,这也节省了成本和费用。切削杆与连接杆通过一个螺钉可拆卸连接,简单易行,易于拆装。
Description
技术领域
本实用新型属于机械加工技术领域,特别涉及一种分体式小间隙内倒角加工刀具。
背景技术
目前,用于加工小间隙内倒角的刀具存在以下两个问题:第一,刀具的采用一体结构制造而成,结构不合理,使用过程中在弯头处容易产生断裂;第二,这种刀具由于一体成型,形状复杂,制造难度大,加工成本高。
实用新型内容
本实用新型为了解决现有技术中的不足之处,提供一种结构合理、易于制造、不易损坏的分体式小间隙内倒角加工刀具。
为解决上述技术问题,本实用新型采用如下技术方案:分体式小间隙内倒角加工刀具,包括具有夹角的连接杆和切削杆,连接杆上设有安装孔,切削杆一端设有刀头,所述切削杆的另一端与连接杆的一端可拆卸连接。
所述切削杆和连接杆的连接端上分别设有对应的一个螺孔,两个螺孔通过一个螺钉可拆卸连接。
采用上述技术方案,通过安装孔将连接杆固定在车床刀架上,切削杆与连接杆可拆卸连接,分体式形状简单,易于加工制造,制造成本低,而且结构更加合理,在使用过程中切削杆与连接杆的夹角弯头处不易产生断裂,刀头磨损后,只需更换切削杆即可,不必更换整个刀具,这也节省了成本和费用。切削杆与连接杆通过一个螺钉可拆卸连接,简单易行,易于拆装。
附图说明
图1是本实用新型的结构示意图;
图2是图1的左视图;
图3是本实用新型在工作状态下的示意图。
具体实施方式
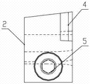
如图1、图2所示,本实用新型的分体式小间隙内倒角加工刀具,包括具有夹角的连接杆1和切削杆2,连接杆1上设有安装孔3,切削杆2一端设有刀头4,切削杆2的另一端与连接杆1的一端上分别设有对应的一个螺孔,两个螺孔通过一个螺钉5可拆卸连接。
工作使用时,如图3所示,使用螺栓通过安装孔3将连接杆1固定在车床6的刀架7上,工件8的内孔固定在夹具9上,夹具9同轴固定于车床6的主轴10上,主轴10与工件8之间具有较小的环状间隙,随着主轴10的转动,切削杆2上的刀头4深入到该环状间隙内对工件8的内孔进行内倒角加工作业。
Claims (2)
1.分体式小间隙内倒角加工刀具,包括具有夹角的连接杆和切削杆,连接杆上设有安装孔,切削杆一端设有刀头,其特征在于:所述切削杆的另一端与连接杆的一端可拆卸连接。
2.根据权利要求1所述的分体式小间隙内倒角加工刀具,其特征在于:所述切削杆和连接杆的连接端上分别设有对应的一个螺孔,两个螺孔通过一个螺钉可拆卸连接。
Priority Applications (1)
| Application Number | Priority Date | Filing Date | Title |
|---|---|---|---|
| CN2011201689460U CN202106049U (zh) | 2011-05-25 | 2011-05-25 | 分体式小间隙内倒角加工刀具 |
Applications Claiming Priority (1)
| Application Number | Priority Date | Filing Date | Title |
|---|---|---|---|
| CN2011201689460U CN202106049U (zh) | 2011-05-25 | 2011-05-25 | 分体式小间隙内倒角加工刀具 |
Publications (1)
| Publication Number | Publication Date |
|---|---|
| CN202106049U true CN202106049U (zh) | 2012-01-11 |
Family
ID=45431498
Family Applications (1)
| Application Number | Title | Priority Date | Filing Date |
|---|---|---|---|
| CN2011201689460U Expired - Lifetime CN202106049U (zh) | 2011-05-25 | 2011-05-25 | 分体式小间隙内倒角加工刀具 |
Country Status (1)
| Country | Link |
|---|---|
| CN (1) | CN202106049U (zh) |
Cited By (1)
| Publication number | Priority date | Publication date | Assignee | Title |
|---|---|---|---|---|
| CN112276127A (zh) * | 2020-10-28 | 2021-01-29 | 奇锋金属科技有限公司 | 一种具有分体式刀杆的火车轮幅板加工专用车刀 |
-
2011
- 2011-05-25 CN CN2011201689460U patent/CN202106049U/zh not_active Expired - Lifetime
Cited By (1)
| Publication number | Priority date | Publication date | Assignee | Title |
|---|---|---|---|---|
| CN112276127A (zh) * | 2020-10-28 | 2021-01-29 | 奇锋金属科技有限公司 | 一种具有分体式刀杆的火车轮幅板加工专用车刀 |
Similar Documents
| Publication | Publication Date | Title |
|---|---|---|
| CN204234833U (zh) | 一种铣刀与钻孔夹具 | |
| CN202106049U (zh) | 分体式小间隙内倒角加工刀具 | |
| CN201684936U (zh) | 一种特制反车车刀 | |
| CN102275018A (zh) | 一种钻攻一体复合丝锥 | |
| CN203649433U (zh) | 一种双头内孔镗刀 | |
| CN202239680U (zh) | 数控机床组合刀具 | |
| CN203330422U (zh) | 组合式镗刀 | |
| CN103706857A (zh) | 一种扩孔铣刀 | |
| CN202428206U (zh) | 一种夹具 | |
| CN201815673U (zh) | 加工双向环槽的刀具结构 | |
| CN204277029U (zh) | 圆轴端面镗铣装置 | |
| CN204277052U (zh) | 镗铣装置的铣刀片固定结构 | |
| CN203649498U (zh) | 一种扩孔铣刀 | |
| CN203124806U (zh) | 刮平面中心钻 | |
| CN203109314U (zh) | 一种带有重心切削结构的机床 | |
| CN203649557U (zh) | 一种多刃铰刀 | |
| CN203460030U (zh) | 一种汽车制动盘用修磨刀具 | |
| CN204639275U (zh) | 一种高效的用于加工汽车转向轴内孔孔壁的刀具 | |
| CN203484718U (zh) | 一种用于精孔加工的新型钻头结构 | |
| CN203109304U (zh) | 分体式划孔钻 | |
| CN206425598U (zh) | 一种高速数控切削铣刀 | |
| CN202155576U (zh) | 一种钻头 | |
| CN202763520U (zh) | 一种连杆加工通用绞刀杆 | |
| CN202062112U (zh) | 卧式铣床加工装置 | |
| CN203610698U (zh) | 一种机械切削刀具 |
Legal Events
| Date | Code | Title | Description |
|---|---|---|---|
| C14 | Grant of patent or utility model | ||
| GR01 | Patent grant | ||
| C56 | Change in the name or address of the patentee |
Owner name: ZHONGYUAN NEIPEI GROUP CO., LTD. Free format text: FORMER NAME: ZHONGYUAN NEIPEI CO., LTD., HENAN PROV. |
|
| CP03 | Change of name, title or address |
Address after: 454750 Huaihe Road, Mengzhou industrial agglomeration area, Henan, China, No. 69, No. Patentee after: Central Plains Nei Pei Group Plc Address before: 454750 No. 146 Han Yu street, Mengzhou, Henan, Jiaozuo Patentee before: Zhongyuan Neipei Co., Ltd., Henan Prov. |
|
| CX01 | Expiry of patent term |
Granted publication date: 20120111 |
|
| CX01 | Expiry of patent term |