CN202095981U - Novel toothpick box - Google Patents
Novel toothpick box Download PDFInfo
- Publication number
- CN202095981U CN202095981U CN2011201816396U CN201120181639U CN202095981U CN 202095981 U CN202095981 U CN 202095981U CN 2011201816396 U CN2011201816396 U CN 2011201816396U CN 201120181639 U CN201120181639 U CN 201120181639U CN 202095981 U CN202095981 U CN 202095981U
- Authority
- CN
- China
- Prior art keywords
- box
- toothpick
- box body
- toothpicks
- utility
- Prior art date
- Legal status (The legal status is an assumption and is not a legal conclusion. Google has not performed a legal analysis and makes no representation as to the accuracy of the status listed.)
- Expired - Fee Related
Links
Images
Landscapes
- Table Equipment (AREA)
Abstract
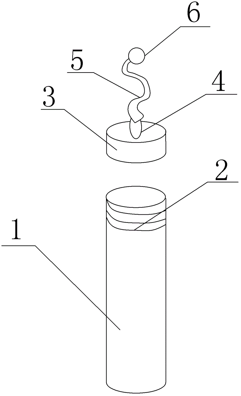
本实用新型公开了一种新型牙签盒子,其包括一柱形盒体,其中,该柱形盒体上端的外侧设置有外螺纹,该柱形盒体上设置有盒盖,该盒盖内壁上设置有与外螺纹相适配的内螺纹,该盒盖上设置有一环体,该环体上设置有链条,该链条的另一端设置有挂环,该柱形盒体内装盛有多根牙签。本实用新型降低了牙签盒子的体积,并且在牙签盒子上设置盒盖,并在盒盖上设置挂环,方便了用户将牙签盒子挂置在钥匙环上,方便了用户携带,而且用户可以单独使用该牙签盒子内的牙签,保证了牙签的卫生性,降低了对牙签的污染。
The utility model discloses a novel toothpick box, which comprises a cylindrical box body, wherein, the outer side of the upper end of the cylindrical box body is provided with external threads, the cylindrical box body is provided with a box cover, and the inner wall of the box cover is An internal thread matching the external thread is provided, a ring body is provided on the box cover, a chain is provided on the ring body, and a hanging ring is provided at the other end of the chain, and a plurality of toothpicks are contained in the cylindrical box body . The utility model reduces the volume of the toothpick box, and sets a box cover on the toothpick box, and sets a hanging ring on the box cover, which facilitates the user to hang the toothpick box on the key ring, which is convenient for the user to carry, and the user can independently The use of the toothpicks in the toothpick box ensures the hygiene of the toothpicks and reduces the pollution to the toothpicks.
Description
技术领域 technical field
本实用新型涉及一种日常生活用品,尤其涉及一种新型牙签盒子。 The utility model relates to a daily necessities, in particular to a novel toothpick box.
背景技术 Background technique
目前,随着人们生活水平的逐步提高,人们的餐饮也越来越丰盛,肉食类食物占大部分,但是人们在吃饭的时候,饭菜、肉丝等非常容易塞入牙缝中,给人们带来各种不适,因此人们需要使用牙签将其剔出来。在餐厅中虽然常备有牙签,一般是多人使用,非常不卫生,增加了对牙签的污染,尤其是当人们在外地进行野炊等活动时,一般不带有牙签,给用户带来诸多不便。 At present, with the gradual improvement of people's living standards, people's meals are becoming more and more abundant, and meat foods account for the majority. All kinds of discomfort, so people need to use a toothpick to pick it out. Although toothpicks are often provided in restaurants, they are generally used by many people, which are very unhygienic and increase the pollution of toothpicks. Especially when people are carrying out activities such as picnics in other places, they generally do not have toothpicks, which brings a lot of inconvenience to users.
由此可见,现有技术有待于更进一步的改进和发展。 This shows that the prior art needs further improvement and development.
实用新型内容 Utility model content
本实用新型为解决上述现有技术中的缺陷提供一种新型牙签盒子,对现有技术中的牙签盒子进行科学合理的改进,以方便用户携带,保证其卫生性。 The utility model provides a novel toothpick box to solve the above-mentioned defects in the prior art, and scientifically and rationally improves the toothpick box in the prior art, so as to be convenient for users to carry and ensure its sanitation.
为解决上述技术问题,本实用新型方案包括: In order to solve the above-mentioned technical problems, the utility model scheme includes:
一种新型牙签盒子,其包括一柱形盒体,其中,该柱形盒体上端的外侧设置有外螺纹,该柱形盒体上设置有盒盖,该盒盖内壁上设置有与外螺纹相适配的内螺纹,该盒盖上设置有一环体,该环体上设置有链条,该链条的另一端设置有挂环,该柱形盒体内装盛有多根牙签。 A new type of toothpick box, which includes a cylindrical box body, wherein, the outer side of the upper end of the cylindrical box body is provided with external threads, the cylindrical box body is provided with a cover, and the inner wall of the box cover is provided with external threads. Matching internal threads, the box cover is provided with a ring body, the ring body is provided with a chain, the other end of the chain is provided with a hanging ring, and a plurality of toothpicks are contained in the cylindrical box body.
所述的新型牙签盒子,其中,上述柱形盒体的长度为三厘米至五厘米。 The novel toothpick box, wherein the length of the above-mentioned cylindrical box body is three centimeters to five centimeters.
本实用新型提供的一种新型牙签盒子,降低了牙签盒子的体积,并且在牙签盒子上设置盒盖,并在盒盖上设置挂环,方便了用户将牙签盒子挂置在钥匙环上,方便了用户携带,而且用户可以单独使用该牙签盒子内的牙签,保证了牙签的卫生性,降低了对牙签的污染。 A new type of toothpick box provided by the utility model reduces the volume of the toothpick box, and a box cover is set on the toothpick box, and a hanging ring is set on the box cover, which is convenient for the user to hang the toothpick box on the key ring, which is convenient The user can carry it, and the user can use the toothpick in the toothpick box alone, which ensures the hygiene of the toothpick and reduces the pollution to the toothpick.
附图说明 Description of drawings
图1是本实用新型中新型牙签盒的爆炸结构简图。 Fig. 1 is the exploded structural diagram of novel toothpick box among the utility model.
具体实施方式 Detailed ways
本实用新型提供了一种新型牙签盒子,为了使本实用新型的目的、技术方案以及优点更清楚、明确,以下将结合附图与实施例,对本实用新型进一步详细说明。 The utility model provides a new toothpick box. In order to make the purpose, technical solution and advantages of the utility model clearer and clearer, the utility model will be further described in detail in conjunction with the accompanying drawings and embodiments below.
本实用新型提供了一种新型牙签盒子,通过吊挂式结构,方便了用户携带,保证了牙签的卫生性,降低了对牙签的污染。如图1所示的,新型牙签盒子包括一柱形盒体1,该柱形盒体1上端的外侧设置有外螺纹2,该柱形盒体1上设置有盒盖3,该盒盖3内壁上设置有与外螺纹2相适配的内螺纹,该盒盖3上设置有一环体4,该环体4上设置有链条5,该链条5的另一端设置有挂环6,该柱形盒体1内装盛有多根牙签。
The utility model provides a novel toothpick box, which is convenient for users to carry through the hanging structure, ensures the sanitation of the toothpicks, and reduces the pollution to the toothpicks. As shown in Figure 1, novel toothpick box comprises a
为了更进一步提高本实用新型的性能,柱形盒体的长度为三厘米至五厘米,方便了用户操作。 In order to further improve the performance of the utility model, the length of the cylindrical box body is three centimeters to five centimeters, which is convenient for users to operate.
当然,上述说明并非是对本实用新型的限制,本实用新型也并不仅限于上述举例,本技术领域的技术人员在本实用新型的实质范围内所做出的变化、改型、添加或替换,也应属于本实用新型的保护范围。 Of course, the above description is not a limitation of the present utility model, and the present utility model is not limited to the above-mentioned examples, and changes, modifications, additions or replacements made by those skilled in the art within the essential scope of the present utility model are also acceptable. Should belong to the protection scope of the present utility model.
Claims (2)
Priority Applications (1)
| Application Number | Priority Date | Filing Date | Title |
|---|---|---|---|
| CN2011201816396U CN202095981U (en) | 2011-06-01 | 2011-06-01 | Novel toothpick box |
Applications Claiming Priority (1)
| Application Number | Priority Date | Filing Date | Title |
|---|---|---|---|
| CN2011201816396U CN202095981U (en) | 2011-06-01 | 2011-06-01 | Novel toothpick box |
Publications (1)
| Publication Number | Publication Date |
|---|---|
| CN202095981U true CN202095981U (en) | 2012-01-04 |
Family
ID=45382022
Family Applications (1)
| Application Number | Title | Priority Date | Filing Date |
|---|---|---|---|
| CN2011201816396U Expired - Fee Related CN202095981U (en) | 2011-06-01 | 2011-06-01 | Novel toothpick box |
Country Status (1)
| Country | Link |
|---|---|
| CN (1) | CN202095981U (en) |
-
2011
- 2011-06-01 CN CN2011201816396U patent/CN202095981U/en not_active Expired - Fee Related
Similar Documents
| Publication | Publication Date | Title |
|---|---|---|
| CN202095981U (en) | Novel toothpick box | |
| CN201734347U (en) | Bowl with chopsticks | |
| CN202618367U (en) | Dining mask | |
| CN201806438U (en) | Multipurpose chopsticks | |
| CN201445278U (en) | Easily-differentiated portable special chopsticks | |
| CN202122537U (en) | Multifunctional tissue box combination | |
| CN201542239U (en) | Bowl with handle | |
| CN201370376Y (en) | Water cup with toothpick box on cup handle | |
| CN202069369U (en) | Extendable chopsticks | |
| CN202553224U (en) | Tableware | |
| CN201899270U (en) | Teacup | |
| CN201986598U (en) | Multifunctional rolling pin | |
| CN202060499U (en) | Novel chopsticks | |
| CN202211524U (en) | Multifunctional chopsticks | |
| CN202492912U (en) | Squatting pot with saliva groove | |
| CN205359065U (en) | Repeatedly usable's environmental protection paper cup | |
| CN204541893U (en) | Grooved toothbrush and toothpaste places integrated cup | |
| CN202386586U (en) | Multi-purpose tooth set cylinder | |
| CN202935713U (en) | Toothpaste | |
| CN201691287U (en) | Portable toothpick wrapper | |
| CN201854995U (en) | Novel bowl | |
| CN201840219U (en) | Portable dining tool | |
| CN202515267U (en) | Novel chopstick frame | |
| CN202588724U (en) | Novel portable toothbrush | |
| CN202020169U (en) | Multipurpose bowl |
Legal Events
| Date | Code | Title | Description |
|---|---|---|---|
| C14 | Grant of patent or utility model | ||
| GR01 | Patent grant | ||
| C17 | Cessation of patent right | ||
| CF01 | Termination of patent right due to non-payment of annual fee |
Granted publication date: 20120104 Termination date: 20120601 |
