CN202087833U - 一种铝灰筛分装置 - Google Patents

一种铝灰筛分装置 Download PDF

Info

Publication number
CN202087833U
CN202087833U CN2011201330570U CN201120133057U CN202087833U CN 202087833 U CN202087833 U CN 202087833U CN 2011201330570 U CN2011201330570 U CN 2011201330570U CN 201120133057 U CN201120133057 U CN 201120133057U CN 202087833 U CN202087833 U CN 202087833U
Authority
CN
China
Prior art keywords
aluminum
vibrating screen
chute
distributor
aluminum ash
Prior art date
Legal status (The legal status is an assumption and is not a legal conclusion. Google has not performed a legal analysis and makes no representation as to the accuracy of the status listed.)
Expired - Fee Related
Application number
CN2011201330570U
Other languages
English (en)
Inventor
李建伟
乔桂玲
周传良
聂小丹
冯之盛
梁伟光
张金光
白玲
Current Assignee (The listed assignees may be inaccurate. Google has not performed a legal analysis and makes no representation or warranty as to the accuracy of the list.)
Jiaozuo Wanfang Aluminum Manufacturing Co Ltd
Original Assignee
Jiaozuo Wanfang Aluminum Manufacturing Co Ltd
Priority date (The priority date is an assumption and is not a legal conclusion. Google has not performed a legal analysis and makes no representation as to the accuracy of the date listed.)
Filing date
Publication date
Application filed by Jiaozuo Wanfang Aluminum Manufacturing Co Ltd filed Critical Jiaozuo Wanfang Aluminum Manufacturing Co Ltd
Priority to CN2011201330570U priority Critical patent/CN202087833U/zh
Application granted granted Critical
Publication of CN202087833U publication Critical patent/CN202087833U/zh
Anticipated expiration legal-status Critical
Expired - Fee Related legal-status Critical Current

Links

Images

Classifications

    • YGENERAL TAGGING OF NEW TECHNOLOGICAL DEVELOPMENTS; GENERAL TAGGING OF CROSS-SECTIONAL TECHNOLOGIES SPANNING OVER SEVERAL SECTIONS OF THE IPC; TECHNICAL SUBJECTS COVERED BY FORMER USPC CROSS-REFERENCE ART COLLECTIONS [XRACs] AND DIGESTS
    • Y02TECHNOLOGIES OR APPLICATIONS FOR MITIGATION OR ADAPTATION AGAINST CLIMATE CHANGE
    • Y02PCLIMATE CHANGE MITIGATION TECHNOLOGIES IN THE PRODUCTION OR PROCESSING OF GOODS
    • Y02P10/00Technologies related to metal processing
    • Y02P10/20Recycling

Landscapes

  • Crushing And Grinding (AREA)

Abstract

本实用新型公开了一种铝灰筛分装置,包括:球磨机、轴座、螺旋出料器、溜槽、振动筛,球磨机由轴座支撑,球磨机的出料端设置有螺旋出料器,螺旋出料器与溜槽相连接,振动筛由机架支撑固定,在振动筛上端固定设置了一个布料器,溜槽的下料口位于布料器内部,布料器由底板、边框、固定法兰构成,底板上均匀开有若干下料螺孔,能够有效防止铝灰堆积,提高筛分效率和铝的回收量。

Description

一种铝灰筛分装置
技术领域
本实用新型属于电解铝液熔炼浮渣粉碎处理回收铝技术领域。
背景技术
铝灰是铝液熔炼过程中产生的一种浮渣,由于铝液熔炼时使用精炼剂、除渣剂等物质,铝灰时常粘结为大小不一的块状,但易于破碎。铝灰中含有大量的铝,需要对铝进行回收。铝的回收是对铝灰进行磨碎与筛分,其过程是把冷铝灰送入球磨机进行磨碎,其中铝被砸成扁粒(含有灰份),氧化铝和氟化盐等被磨成粉末,被球磨机粉磨的铝灰经螺旋出料器进入溜槽,由溜槽直接进入振动筛,由于铝灰不能均匀分布到筛网中,铝和灰份往往堆积在一起,又因铝灰的流动性差,虽然有振动筛的振动,但铝和灰份始终分离不好,筛净能力低,甚至需要再次筛分,降低了产量。
实用新型内容
本实用新型的目的是提供一种能够有效对铝灰进行高效分离处理回收铝的铝灰筛分装置。
为了实现上述目的,本实用新型包括:球磨机、轴座、螺旋出料器、溜槽、振动筛,球磨机由轴座支撑,球磨机的出料端设置有螺旋出料器,螺旋出料器与溜槽相连接,振动筛由机架支撑固定,在振动筛上端固定设置了一个布料器,溜槽的下料口位于布料器内部,布料器由底板、边框、固定法兰构成,底板上均匀开有若干下料螺孔。
这样,在对铝灰进行筛分处理回收铝时,磨细的铝灰由溜槽进入布料器,再由布料器均匀分撒在振动筛筛网中,最后由多层振动筛筛分成铝颗粒与灰粉,实现铝与灰分的高效分离而回收铝。能够有效防止铝灰堆积,提高筛分效率和铝的回收量。
附图说明
下面结合附图对本实用新型作进一步详细说明。
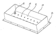
图1为本实用新型的结构示意图。
图2为布料器的结构示意图。
具体实施方式
由图1、图2可知,本实用新型包括:球磨机1、轴座2、螺旋出料器3、溜槽4、振动筛6。球磨机1由轴座2支撑可以转动,轴座底部位于地面上,球磨机1的出料端设置有螺旋出料器3,用于排出粉料。螺旋出料器与溜槽4相连接,振动筛6由机架7支撑固定在地面上,在振动筛6上端固定设置了一个布料器5,溜槽4的下料口位于布料器5内部,在振动筛下端设置有出料口8。布料器由底板11、边框12、固定法兰13构成,形成一个长方形容器状。底板11上均匀开有若干下料螺孔10,固定法兰13用于在振动筛上固定连接时使用。实际使用中,根据振动筛筛分能力选择布料器合适的孔径,计算需要开孔的数量,可以多钻几个下料螺孔,根据球磨机产量的变化,可以用螺栓9堵住部分下料螺孔,以调节布料器的通过量。

Claims (1)

1.一种铝灰筛分装置,包括:球磨机(1)、轴座(2)、螺旋出料器(3)、溜槽(4)、振动筛(6),球磨机(1)由轴座(2)支撑,球磨机(1)的出料端设置有螺旋出料器(3),螺旋出料器与溜槽(4)相连接,振动筛(6)由机架(7)支撑固定,其特征是在振动筛(6)上端固定设置了一个布料器(5),溜槽(4)的下料口位于布料器(5)内部,布料器由底板(11)、边框(12)、固定法兰(13)构成,底板(11)上均匀开有若干下料螺孔(10)。
CN2011201330570U 2011-04-29 2011-04-29 一种铝灰筛分装置 Expired - Fee Related CN202087833U (zh)

Priority Applications (1)

Application Number Priority Date Filing Date Title
CN2011201330570U CN202087833U (zh) 2011-04-29 2011-04-29 一种铝灰筛分装置

Applications Claiming Priority (1)

Application Number Priority Date Filing Date Title
CN2011201330570U CN202087833U (zh) 2011-04-29 2011-04-29 一种铝灰筛分装置

Publications (1)

Publication Number Publication Date
CN202087833U true CN202087833U (zh) 2011-12-28

Family

ID=45362930

Family Applications (1)

Application Number Title Priority Date Filing Date
CN2011201330570U Expired - Fee Related CN202087833U (zh) 2011-04-29 2011-04-29 一种铝灰筛分装置

Country Status (1)

Country Link
CN (1) CN202087833U (zh)

Cited By (3)

* Cited by examiner, † Cited by third party
Publication number Priority date Publication date Assignee Title
CN103322819A (zh) * 2013-06-07 2013-09-25 上海帅翼驰铝合金新材料有限公司 筛选式冷灰桶
CN105886773A (zh) * 2015-07-28 2016-08-24 兰溪市博远金属有限公司 一种铝灰铝渣处理系统
CN109847864A (zh) * 2019-03-12 2019-06-07 洛阳新远大冶金成套设备有限公司 一种箱式一体冷铝灰处理设备

Cited By (4)

* Cited by examiner, † Cited by third party
Publication number Priority date Publication date Assignee Title
CN103322819A (zh) * 2013-06-07 2013-09-25 上海帅翼驰铝合金新材料有限公司 筛选式冷灰桶
CN103322819B (zh) * 2013-06-07 2015-06-10 上海帅翼驰铝合金新材料有限公司 筛选式冷灰桶
CN105886773A (zh) * 2015-07-28 2016-08-24 兰溪市博远金属有限公司 一种铝灰铝渣处理系统
CN109847864A (zh) * 2019-03-12 2019-06-07 洛阳新远大冶金成套设备有限公司 一种箱式一体冷铝灰处理设备

Similar Documents

Publication Publication Date Title
CN108745486A (zh) 一种选矿设备及其选矿方法
CN203044321U (zh) 耐火砖原料筛选装料系统
CN202087833U (zh) 一种铝灰筛分装置
CN204911747U (zh) 一种铝灰专用筛分装置
CN202239480U (zh) 铸造废砂再利用装置
CN204093553U (zh) 一种中药颗粒整粒机
CN203184238U (zh) 废铝块分选装置
CN201154322Y (zh) 一种抛料式破碎振动筛分机
CN102335720A (zh) 铸造废砂再利用工艺及装置
CN210753127U (zh) 一种粮食加工用粉碎装置
CN202366936U (zh) 废印刷电路板回收处理系统
CN204486195U (zh) 一种橡胶硫化促进剂生产用筛粉机
CN212883530U (zh) 一种石粉含量调节装置
CN204912024U (zh) 一种滚筒式筛沙机
CN202877108U (zh) 一种柔性布料的振动筛
CN204051837U (zh) 一种食品粉碎机
CN209465102U (zh) 一种去除锌锭杂质的破碎装置
CN203044160U (zh) 耐火砖原料振动筛
CN217989407U (zh) 一种混凝土加工用废弃混凝土分离设备
CN111359760A (zh) 一种煤样粉碎装置
CN203679173U (zh) 铸造水玻璃旧砂回收用高效精细分选装置
CN207013112U (zh) 石墨生产装置
CN206588010U (zh) 高频振动筛
CN205084984U (zh) 一种筛选破碎装置
CN204027327U (zh) 一种用于大块燃料分离的可调式斜篦板筛分装置

Legal Events

Date Code Title Description
C14 Grant of patent or utility model
GR01 Patent grant
C17 Cessation of patent right
CF01 Termination of patent right due to non-payment of annual fee

Granted publication date: 20111228

Termination date: 20120429