CN202072306U - 垃圾压缩机的翻桶装置 - Google Patents
垃圾压缩机的翻桶装置 Download PDFInfo
- Publication number
- CN202072306U CN202072306U CN2011201072352U CN201120107235U CN202072306U CN 202072306 U CN202072306 U CN 202072306U CN 2011201072352 U CN2011201072352 U CN 2011201072352U CN 201120107235 U CN201120107235 U CN 201120107235U CN 202072306 U CN202072306 U CN 202072306U
- Authority
- CN
- China
- Prior art keywords
- oil hydraulic
- bucket device
- barreled
- casing
- trash compactor
- Prior art date
- Legal status (The legal status is an assumption and is not a legal conclusion. Google has not performed a legal analysis and makes no representation as to the accuracy of the status listed.)
- Expired - Fee Related
Links
- 239000010813 municipal solid waste Substances 0.000 title claims abstract description 51
- 230000000694 effects Effects 0.000 claims description 6
- 238000012423 maintenance Methods 0.000 abstract description 2
- 230000007306 turnover Effects 0.000 abstract description 2
- 239000010865 sewage Substances 0.000 description 13
- 238000004140 cleaning Methods 0.000 description 1
- 238000010276 construction Methods 0.000 description 1
- 230000007812 deficiency Effects 0.000 description 1
- 230000002950 deficient Effects 0.000 description 1
- 238000010586 diagram Methods 0.000 description 1
- 238000005516 engineering process Methods 0.000 description 1
- 230000005183 environmental health Effects 0.000 description 1
- 238000010338 mechanical breakdown Methods 0.000 description 1
- 238000000034 method Methods 0.000 description 1
Images
Landscapes
- Refuse Collection And Transfer (AREA)
Abstract
本实用新型提供一种垃圾压缩机的翻桶装置,包括箱体,该箱体上设有垃圾倾倒口,所述箱体的垃圾倾倒口处设有上桶器,该上桶器活动的枢接于箱体上,该上桶器的两侧分别设有驱动油压缸,该箱体底端设有油压缸座,该驱动油压缸的伸缩杆与上桶器连接,另一端设于该油压缸座内。本实用新型结构简单,维修与保养较为方便,而且驱动油压缸设置在上桶器的下方,直接推动上桶器翻转,具有较大的推力,能清理重量较重的垃圾桶。
Description
技术领域
本实用新型涉及垃圾压缩机,具体的说是一种垃圾压缩机的翻桶装置。
背景技术
随着城市建设的快速发展,环境卫生越来越受到人们的重视,目前,城市街道的垃圾主要是通过环卫工人进行清理,而垃圾桶内的垃圾数量较多,采用人工清理,劳动强度大,效率低,因此一般采用机械清理,如垃圾车、垃圾压缩机等。
垃圾压缩机主要由翻桶装置、箱体组成,传统的翻桶装置采用油压缸、链条、凸轮传动机构,油压缸带动链条将垃圾桶向上拉起。此种设计,结构比较复杂,很容易发生机械故障,而且,油压缸是通过链条拉动垃圾桶,使垃圾桶翻转,产生的拉力较小,在垃圾桶内放有重物时,需人工辅助,才能将垃圾桶内的垃圾倾倒出来,较为不便。
实用新型内容
针对以上现有技术的不足与缺陷,本实用新型的目的在于提供一种垃圾压缩机的翻桶装置。
本实用新型的目的是通过采用以下技术方案来实现的:
一种垃圾压缩机的翻桶装置,包括箱体,该箱体上设有垃圾倾倒口,所述箱体的垃圾倾倒口处设有上桶器,该上桶器活动的枢接于箱体上,该上桶器的两侧分别设有驱动油压缸,该箱体底端设有油压缸座,该驱动油压缸的伸缩杆与上桶器连接,另一端设于该油压缸座内。
作为本实用新型的优选技术方案,所述垃圾倾倒口上设有盖板,该盖板的一端边活动的枢接于箱体。
作为本实用新型的优选技术方案,所述上桶器的两侧分别设有支撑臂,该支撑臂的一端设于上桶器,另一端设于垃圾倾倒口的盖板侧边。
作为本实用新型的优选技术方案,所述上桶器上设有弹簧夹紧机构,该弹簧夹紧机构包括两个对应设置的夹持件,该两夹持件之间设有弹簧。
作为本实用新型的优选技术方案,所述上桶器上设有斜板,该斜板上设有滚轮。
作为本实用新型的优选技术方案,所述箱体的侧面设有小件垃圾丢弃门。
作为本实用新型的优选技术方案,所述小件垃圾丢弃门上设有把手。
与现有技术相比,本实用新型结构简单,维修与保养较为方便,而且驱动油压缸设置在上桶器的下方,直接推动上桶器翻转,具有较大的推力,能清理重量较重的垃圾桶。
附图说明
下面结合附图与具体实施例对本实用新型作进一步说明:
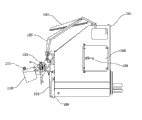
图1为本实用新型垃圾压缩机的翻桶装置的立体结构示意图。
图2为本实用新型垃圾压缩机的翻桶装置的侧面示意图。
图3为图2中a区域的放大示意图。
具体实施方式
请参阅图1与图2,分别为本实用新型垃圾压缩机的翻桶装置的立体结构示意图与侧面示意图。
该翻桶装置设于垃圾压缩机的端部,其包括箱体101,该箱体101上设有一个垃圾倾倒口102与一个小件垃圾丢弃门108,在该垃圾倾倒口102上方设有一盖板107,该盖板107的一端边活动的枢接于箱体101,该小件垃圾丢弃门108上设有用于锁闭与操作者把持的把手109。
该垃圾倾倒口102处设有上桶器103,该上桶器103活动的枢接于箱体101的前面板上,该上桶器103的两侧分别设有驱动油压缸104与支撑臂105,该箱体101底端设有油压缸座106,该驱动油压缸104的伸缩杆与上桶器103连接,另一端设于该油压缸座106内。该支撑臂105的一端设于上桶器103,另一端设于垃圾倾倒口102的盖板107侧边。该上桶器103上还设有一块斜板110,该斜板110上设有滚轮111。
请参阅图3,该上桶器103上设有弹簧夹紧机构,该弹簧夹紧机构包括两个对应设置的夹持件201、202,该两夹持件201、202之间设有弹簧203。
垃圾压缩机在收集垃圾桶内的垃圾时,翻桶装置的上桶器103将垃圾桶(图未示)夹持,弹簧夹紧机构的两夹持件201、202合拢,将垃圾桶的端边夹紧,防止垃圾桶脱落,同时,驱动油压缸104的伸缩杆驱动上桶器103翻转,使垃圾桶倾斜,上桶器103在翻转过程中,通过支撑臂105使垃圾倾倒口102上的盖板107打开,垃圾桶内的垃圾就可自动的倾倒入垃圾压缩机内。
以上所述仅为本实用新型的较佳实施例,并非用来限定本实用新型的实施范围;凡是依本实用新型所作的等效变化与修改,都被本实用新型权利要求书的范围所覆盖。
Claims (7)
1.一种垃圾压缩机的翻桶装置,包括箱体,该箱体上设有垃圾倾倒口,其特征在于:所述箱体的垃圾倾倒口处设有上桶器,该上桶器活动的枢接于箱体上,该上桶器的两侧分别设有驱动油压缸,该箱体底端设有油压缸座,该驱动油压缸的伸缩杆与上桶器连接,另一端设于该油压缸座内。
2.根据权利要求1所述的垃圾压缩机的翻桶装置,其特征在于:所述垃圾倾倒口上设有盖板,该盖板的一端边活动的枢接于箱体。
3.根据权利要求1所述的垃圾压缩机的翻桶装置,其特征在于:所述上桶器的两侧分别设有支撑臂,该支撑臂的一端设于上桶器,另一端设于垃圾倾倒口的盖板侧边。
4.根据权利要求1所述的垃圾压缩机的翻桶装置,其特征在于:所述上桶器上设有弹簧夹紧机构,该弹簧夹紧机构包括两个对应设置的夹持件,该两夹持件之间设有弹簧。
5.根据权利要求1所述的垃圾压缩机的翻桶装置,其特征在于:所述上桶器上设有斜板,该斜板上设有滚轮。
6.根据权利要求1所述的垃圾压缩机的翻桶装置,其特征在于:所述箱体的侧面设有小件垃圾丢弃门。
7.根据权利要求6所述的垃圾压缩机的翻桶装置,其特征在于:所述小件垃圾丢弃门上设有把手。
Priority Applications (1)
| Application Number | Priority Date | Filing Date | Title |
|---|---|---|---|
| CN2011201072352U CN202072306U (zh) | 2011-04-13 | 2011-04-13 | 垃圾压缩机的翻桶装置 |
Applications Claiming Priority (1)
| Application Number | Priority Date | Filing Date | Title |
|---|---|---|---|
| CN2011201072352U CN202072306U (zh) | 2011-04-13 | 2011-04-13 | 垃圾压缩机的翻桶装置 |
Publications (1)
| Publication Number | Publication Date |
|---|---|
| CN202072306U true CN202072306U (zh) | 2011-12-14 |
Family
ID=45110413
Family Applications (1)
| Application Number | Title | Priority Date | Filing Date |
|---|---|---|---|
| CN2011201072352U Expired - Fee Related CN202072306U (zh) | 2011-04-13 | 2011-04-13 | 垃圾压缩机的翻桶装置 |
Country Status (1)
| Country | Link |
|---|---|
| CN (1) | CN202072306U (zh) |
Cited By (3)
| Publication number | Priority date | Publication date | Assignee | Title |
|---|---|---|---|---|
| CN103224207A (zh) * | 2013-03-26 | 2013-07-31 | 广州奥克林餐厨降解设备有限公司 | 一种夹桶装置及应用该夹桶装置的提升设备 |
| CN106957186A (zh) * | 2017-05-25 | 2017-07-18 | 浙江明佳环保科技有限公司 | 一种自动上料的有机垃圾处理装置 |
| CN109019060A (zh) * | 2018-06-29 | 2018-12-18 | 重庆玄康环保机电设备有限公司 | 一种倾倒装置 |
-
2011
- 2011-04-13 CN CN2011201072352U patent/CN202072306U/zh not_active Expired - Fee Related
Cited By (5)
| Publication number | Priority date | Publication date | Assignee | Title |
|---|---|---|---|---|
| CN103224207A (zh) * | 2013-03-26 | 2013-07-31 | 广州奥克林餐厨降解设备有限公司 | 一种夹桶装置及应用该夹桶装置的提升设备 |
| CN103224207B (zh) * | 2013-03-26 | 2015-01-28 | 广州奥克林餐厨降解设备有限公司 | 一种夹桶装置及应用该夹桶装置的提升设备 |
| CN106957186A (zh) * | 2017-05-25 | 2017-07-18 | 浙江明佳环保科技有限公司 | 一种自动上料的有机垃圾处理装置 |
| CN106957186B (zh) * | 2017-05-25 | 2022-10-21 | 浙江明佳环保科技股份有限公司 | 一种自动上料的有机垃圾处理装置 |
| CN109019060A (zh) * | 2018-06-29 | 2018-12-18 | 重庆玄康环保机电设备有限公司 | 一种倾倒装置 |
Similar Documents
| Publication | Publication Date | Title |
|---|---|---|
| CN201849887U (zh) | 装配式标准塑料垃圾桶自动翻转机构 | |
| CN204384187U (zh) | 城镇用压缩式生活垃圾运输车 | |
| CN203781146U (zh) | 用于垃圾清运车的垃圾桶倾倒装置 | |
| CN105195480B (zh) | 一种立式全自动垃圾桶清洗装置 | |
| CN205972588U (zh) | 一种预压缩垃圾中转设备的污水垃圾沉淀处理机构 | |
| CN202072306U (zh) | 垃圾压缩机的翻桶装置 | |
| CN202687242U (zh) | 垃圾箱快速装料装置 | |
| CN203419448U (zh) | 一种翻桶式垃圾收集装置 | |
| CN201249962Y (zh) | 移动式垃圾压缩转运箱 | |
| CN209367021U (zh) | 环卫垃圾桶自动提升翻转机构 | |
| CN205256598U (zh) | 一种河道垃圾清理船 | |
| CN203111904U (zh) | 一种新型电动垃圾清运车 | |
| CN110924342A (zh) | 一种循环自动翻斗扫地车 | |
| CN203006222U (zh) | 一种料桶提升翻转机构 | |
| CN203889433U (zh) | 一种垃圾桶提料装置 | |
| CN201002871Y (zh) | 垃圾车翻斗提桶装置 | |
| CN203753739U (zh) | 自装自卸垃圾清运车 | |
| CN202369022U (zh) | 一种前上料厨余垃圾箱 | |
| CN202642823U (zh) | 分类垃圾桶抱装机械手 | |
| CN204528299U (zh) | 拖拉机垃圾车挂桶式自装卸装置 | |
| CN212798135U (zh) | 一种居民小区生活桶装废弃物压缩机 | |
| CN212333622U (zh) | 一种压缩机器人 | |
| CN206011795U (zh) | 一种多功能垃圾压缩机 | |
| CN205499979U (zh) | 一种纯电动压缩式垃圾车用垃圾收集装置 | |
| CN205150847U (zh) | 一种吊桶垃圾车吊桶固定装置 |
Legal Events
| Date | Code | Title | Description |
|---|---|---|---|
| C14 | Grant of patent or utility model | ||
| GR01 | Patent grant | ||
| C17 | Cessation of patent right | ||
| CF01 | Termination of patent right due to non-payment of annual fee |
Granted publication date: 20111214 Termination date: 20120413 |