CN202062327U - 新型电缆无胶套管加工的专用拉套管工装 - Google Patents

新型电缆无胶套管加工的专用拉套管工装 Download PDF

Info

Publication number
CN202062327U
CN202062327U CN2011200711999U CN201120071199U CN202062327U CN 202062327 U CN202062327 U CN 202062327U CN 2011200711999 U CN2011200711999 U CN 2011200711999U CN 201120071199 U CN201120071199 U CN 201120071199U CN 202062327 U CN202062327 U CN 202062327U
Authority
CN
China
Prior art keywords
groove
guide rail
stop member
cart
workbench
Prior art date
Legal status (The legal status is an assumption and is not a legal conclusion. Google has not performed a legal analysis and makes no representation as to the accuracy of the status listed.)
Expired - Fee Related
Application number
CN2011200711999U
Other languages
English (en)
Inventor
王长青
杨怀军
郭平
Current Assignee (The listed assignees may be inaccurate. Google has not performed a legal analysis and makes no representation or warranty as to the accuracy of the list.)
Shanghai Xin Xian Electronic Technology Co., Ltd.
Original Assignee
SHANGHAI WENRUI INDUSTRIAL Co Ltd
Priority date (The priority date is an assumption and is not a legal conclusion. Google has not performed a legal analysis and makes no representation as to the accuracy of the date listed.)
Filing date
Publication date
Application filed by SHANGHAI WENRUI INDUSTRIAL Co Ltd filed Critical SHANGHAI WENRUI INDUSTRIAL Co Ltd
Priority to CN2011200711999U priority Critical patent/CN202062327U/zh
Application granted granted Critical
Publication of CN202062327U publication Critical patent/CN202062327U/zh
Anticipated expiration legal-status Critical
Expired - Fee Related legal-status Critical Current

Links

Images

Landscapes

  • Handcart (AREA)

Abstract

本实用新型提供新型电缆无胶套管加工的专用拉套管工装,包括工作台,其特征在于,所述工作台上设置有第一阻挡部件、第二阻挡部件、以及转动部件,其中,所述第一阻挡部件的两个第一挡块之间形成第一凹槽,所述第二阻挡部件的两个第二挡块之间形成槽面与所述第一凹槽槽面的延伸面重合的第二凹槽,所述第二阻挡部件上设置有滑竿,所述滑竿位于所述转动部件的转动臂的滑动导轨内,所述第二阻挡部件包括第二滑块,所述第二滑块的一部分位于所述工作台的第一导轨内,所述第二阻挡部件能够在所述第一导轨内自由滑动。根据本实用新型提供的拉套管工装不存在腐蚀性问题,这样产品质量的长期稳定性便多了一层保障,并且还改善了员工的工作环境。

Description

新型电缆无胶套管加工的专用拉套管工装
技术领域
本实用新型涉及拉套管工装,具体地,涉及新型电缆无胶套管加工的专用拉套管工装。
背景技术
在整个制作线式传感器的行业中,都使用孔径尺寸大于电缆线外径尺寸的橡胶套管穿在电缆线上面,然后用胶水将橡胶套管与电缆线粘接在一起。但由于胶水是化学试剂,在采用胶水将橡胶套管进行固定的过程中,胶水对电缆线和橡胶套管具有腐蚀性,这样会加快电缆线和橡胶套管的老化,影响产品的使用寿命;长期使用胶水还影响员工的身体健康。
实用新型内容
针对现有技术中的缺陷,本实用新型的目的是提供一种新型电缆无胶套管加工的专用拉套管工装。
根据本实用新型的一个方面,提供一种新型电缆无胶套管加工的专用拉套管工装,包括工作台,其特征在于,所述工作台上设置有第一阻挡部件、第二阻挡部件、以及转动部件,其中,所述第一阻挡部件的两个第一挡块之间形成第一凹槽,所述第二阻挡部件的两个第二挡块之间形成槽面与所述第一凹槽槽面的延伸面重合的第二凹槽,所述第二阻挡部件上设置有滑竿,所述滑竿位于所述转动部件的转动臂的滑动导轨内,所述第二阻挡部件包括第二滑块,所述第二滑块的一部分位于所述工作台的第一导轨内,所述第二阻挡部件能够在所述第一导轨内自由滑动。
优选地,所述第一阻挡部件包括第一滑块以及第一锁定件,其中,所述第一滑块的一部分位于所述工作台的第一导轨内,当所述第一锁定件处于锁定位置时所述第一阻挡部件与所述第一导轨相对固定,当所述第一锁定件处于解锁位置时所述第一阻挡部件能够在所述第一导轨内自由滑动。
优选地,所述转动部件包括连接在所述工作台上的底座,所述转动臂通过第一转轴连接在所述底座上,所述第一转轴的轴向垂直于所述工作台。
优选地,所述工作台包括第二导轨,所述底座包括底座滑块以及第二锁定件,其中,所述底座滑块位于所述第二导轨内,当所述第二锁定件处于锁定位置时所述底座与所述第二导轨相对固定,当所述第二锁定件处于解锁位置时所述底座能够在所述第二导轨内自由滑动。
优选地,还包括设置在所述工作台上的电缆夹持部件,其中,所述电缆夹持部件包括下夹具部以及上夹具部,所述上夹具部的一端与所述下夹具部的一端通过第二转轴连接,所述第二转轴的轴向平行于所述第一导轨。
优选地,所述上夹具部能够在打开位置和夹持位置之间活动,当所述上夹具部位于所述夹持位置时,其包含的第三凹槽与所述下夹具部包含的第四凹槽形成一通孔,所述通孔的轴向平行与所述第一导轨。
优选地,所述第四凹槽的槽面略高于所述第一凹槽的槽面。
优选地,所述上夹具部的自由端上设置有把手。
优选地,还包括两端分别设置在所述第一凹槽和第二凹槽内的导管,其中,所述导管包括设置在其一端的定位圈,所述定位圈的外径大于两个所述第二挡块之间的最大距离,且所述定位圈与所述第一阻挡部件分别位于所述第二凹槽的两侧。
优选地,还包括导锥,其中,所述导锥包括锥形头以及连接在所述锥形头尾端的插杆,其中,所述插杆的直径略小于所述导管的内径,所述导锥通过所述插杆从所述导管非设置有所述定位圈的一端插入其内。
考虑到电缆线的外径大于橡胶套管的内径,所以不可能直接将橡胶套管穿入电缆线,所以本实用新型采用的方法是:由于橡胶套管是弹性材料,可以使用导管将橡胶套管的孔径胀大,这样橡胶套管就可以穿入电缆线;穿入电缆线后,抽出导管,橡胶套管孔径将会收缩,由于摩擦力的作用,橡胶套管就会固定在电缆线上面。根据本实用新型提供的拉套管工装不存在腐蚀性问题,这样产品质量的长期稳定性便多了一层保障,并且还改善了员工的工作环境。
附图说明
通过阅读参照以下附图对非限制性实施例所作的详细描述,本实用新型的其它特征、目的和优点将会变得更明显:
图1示出根据本实用新型的第一实施例的,新型电缆无胶套管加工的专用拉套管工装的俯视结构图;
图2示出根据本实用新型的第一实施例的,沿图1中新型电缆无胶套管加工的专用拉套管工装的A-A线的剖面结构图;
图3示出根据本实用新型的第二实施例的,新型电缆无胶套管加工的专用拉套管工装的导锥的结构图;
图4示出根据本实用新型的第二实施例的,新型电缆无胶套管加工的专用拉套管工装的导管的结构图;
图5示出根据本实用新型的一个具体实施方式的,新型电缆无胶套管加工的专用拉套管工装的导锥的使用原理图;
图6示出根据本实用新型的一个具体实施方式的,新型电缆无胶套管加工的专用拉套管工装的导管的使用原理图;
图7示出根据本实用新型的另一个具体实施方式的,新型电缆无胶套管加工的专用拉套管工装的使用原理图;
图8示出根据本实用新型的又一个具体实施方式的,新型电缆无胶套管加工的专用拉套管工装的使用原理图;
图9示出根据本实用新型的第一实施例的,沿图1中新型电缆无胶套管加工的专用拉套管工装的B-B线的剖面结构图;
图10示出根据本实用新型的第一实施例的,新型电缆无胶套管加工的专用拉套管工装的电缆夹持部件的结构原理图。
具体实施方式
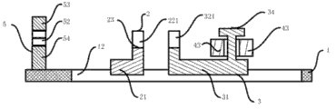
图1示出根据本实用新型的第一实施例的,新型电缆无胶套管加工的专用拉套管工装的俯视结构图。具体地,在本实施例中,所述新型电缆无胶套管加工的专用拉套管工装包括工作台1,其中,所述工作台1上设置有第一阻挡部件2、第二阻挡部件3、以及转动部件4,其中,所述第一阻挡部件2的两个第一挡块221之间形成第一凹槽23,所述第二阻挡部件3的两个第二挡块321之间形成槽面与所述第一凹槽23槽面的延伸面重合的第二凹槽33,所述第二阻挡部件3上设置有滑竿34,所述滑竿34位于所述转动部件4的转动臂43的滑动导轨44内,所述第二阻挡部件3包括第二滑块31,所述第二滑块31的一部分位于所述工作台1的第一导轨12内,所述第二阻挡部件3能够在所述第一导轨12内自由滑动。
优选地,所述第一阻挡部件2包括第一滑块21以及第一锁定件,其中,所述第一滑块21的一部分位于所述工作台1的第一导轨12内,当所述第一锁定件处于锁定位置时所述第一阻挡部件2与所述第一导轨12相对固定,当所述第一锁定件处于解锁位置时所述第一阻挡部件2能够在所述第一导轨12内自由滑动。例如,所述第一锁定件可以是锁定螺丝,当旋紧该锁定螺丝时其处于锁定位置使得所述第一阻挡部件2不能沿所述第一导轨12自由滑动,当旋松该锁定螺丝时其处于解锁位置使得所述第一阻挡部件2能够沿所述第一导轨12自由滑动。
优选地,所述转动部件4包括连接在所述工作台1上的底座41,所述转动臂43通过第一转轴42连接在所述底座41上,所述第一转轴42的轴向垂直于所述工作台1。这样,所述转动臂43可以在平行于所述工作台1的平面内转动,并通过所述滑动导轨44驱使所述滑竿34带动所述第二阻挡部件3沿所述第一导轨12滑动。
优选地,所述工作台1包括第二导轨11,所述底座41包括底座滑块以及第二锁定件,其中,所述底座滑块位于所述第二导轨11内,当所述第二锁定件处于锁定位置时所述底座41与所述第二导轨11相对固定,当所述第二锁定件处于解锁位置时所述底座41能够在所述第二导轨11内自由滑动。例如,所述第二锁定件可以是锁定螺丝,当旋紧该锁定螺丝时其处于锁定位置使得所述底座41不能沿所述第二导轨11自由滑动,当旋松该锁定螺丝时其处于解锁位置使得所述底座41能够沿所述第二导轨11自由滑动。
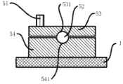
优选地,所述专用拉套管工装还包括设置在所述工作台1上的电缆夹持部件5,其中,如图9所示,所述电缆夹持部件5包括下夹具部54以及上夹具部53,所述上夹具部53的一端与所述下夹具部54的一端通过第二转轴连接,所述第二转轴的轴向平行于所述第一导轨12。进一步地,所述上夹具部53能够在打开位置和夹持位置之间活动,当所述上夹具部53位于所述夹持位置时,如图9所示,其包含的第三凹槽531与所述下夹具部54包含的第四凹槽541形成一通孔52,所述通孔52的轴向平行与所述第一导轨12。优选地,所述第四凹槽541的槽面略高于所述第一凹槽23的槽面。优选地,所述上夹具部53的自由端532上设置有把手51,这便于操作者在右手转动所述转动臂43时左手握持住所述把手51以使所述工作台1不发生位移。
图2示出根据本实用新型的第一实施例的,沿图1中新型电缆无胶套管加工的专用拉套管工装的A-A线的剖面结构图。具体地,在本实施例中,如图2所示,所述第一滑块21的一部分以及所述第二滑块31的一部分位于所第一导轨12内,从而使得所述第一阻挡部件2以及第二阻挡部件3可以沿所述第一导轨12滑动。
接下来通过结合图3、图4、以及图7描述导管以及导锥。具体地,首先如图7所示,所述专用拉套管工装还包括两端分别设置在所述第一凹槽和第二凹槽内的导管6。其中,如图4所示,所述导管6包括设置在其一端的定位圈61,所述定位圈61的外径大于两个所述第二挡块321之间的最大距离,且所述定位圈61与所述第一阻挡部件2分别位于所述第二凹槽的两侧。更为具体地,所述专用拉套管工装还包括导锥7,如图3所示,其中,所述导锥7包括锥形头71以及连接在所述锥形头71尾端的插杆72,其中,所述插杆72的直径略小于所述导管6的内径,所述导锥7通过所述插杆72从所述导管6非设置有所述定位圈的一端插入其内。
下面结合图4至图8描述本实用新型的使用原理。具体地,首先将所述导锥7的插杆72插入到所述导管6的通孔62内,使得所述导锥7的锥形头71的外壁与所述导管6的外壁平滑连接。接下来将橡胶套管8从锥形头71一端开始移动直至套在所述导管6上,本领域技术人员理解,橡胶套管8在自然状态下的内径小于所述套管6的外径,因此通过外径由细到粗的锥形头71使橡胶套管8逐渐膨胀从而套在所述导管6上,如图5所示。接下来使所述导锥7与所述导管6分离,然后将电缆9从所述导管6的通孔62中穿过,如图6所示。接下来将电缆9的一头用所述电缆夹持部件5夹持住,如图7所示。接下来,如图7所示,将所述转动臂43向逆时钟方向转动,这样,所述第二阻挡部件3在所述转动臂43的驱动下朝远离所述第一阻挡部件2的方向沿所述第一导轨12滑动,此时所述第一阻挡部件2与所述第一导轨12相对固定,因此所述第二挡块321紧抵住所述定位圈61,所述第一挡块221紧抵住所述橡胶套管8,从而使所述橡胶套管8从所述导管6上脱离至所述电缆9上,如图8所示。
以上对本实用新型的具体实施例进行了描述。需要理解的是,本实用新型并不局限于上述特定实施方式,本领域技术人员可以在权利要求的范围内做出各种变形或修改,这并不影响本实用新型的实质内容。

Claims (10)

1.一种新型电缆无胶套管加工的专用拉套管工装,包括工作台,其特征在于,所述工作台上设置有第一阻挡部件、第二阻挡部件、以及转动部件,其中,所述第一阻挡部件的两个第一挡块之间形成第一凹槽,所述第二阻挡部件的两个第二挡块之间形成槽面与所述第一凹槽槽面的延伸面重合的第二凹槽,所述第二阻挡部件上设置有滑竿,所述滑竿位于所述转动部件的转动臂的滑动导轨内,所述第二阻挡部件包括第二滑块,所述第二滑块的一部分位于所述工作台的第一导轨内,所述第二阻挡部件能够在所述第一导轨内自由滑动。
2.根据权利要求1所述的专用拉套管工装,其特征在于,所述第一阻挡部件包括第一滑块以及第一锁定件,其中,所述第一滑块的一部分位于所述工作台的第一导轨内,当所述第一锁定件处于锁定位置时所述第一阻挡部件与所述第一导轨相对固定,当所述第一锁定件处于解锁位置时所述第一阻挡部件能够在所述第一导轨内自由滑动。
3.根据权利要求1所述的专用拉套管工装,其特征在于,所述转动部件包括连接在所述工作台上的底座,所述转动臂通过第一转轴连接在所述底座上,所述第一转轴的轴向垂直于所述工作台。
4.根据权利要求3所述的专用拉套管工装,其特征在于,所述工作台包括第二导轨,所述底座包括底座滑块以及第二锁定件,其中,所述底座滑块位于所述第二导轨内,当所述第二锁定件处于锁定位置时所述底座与所述第二导轨相对固定,当所述第二锁定件处于解锁位置时所述底座能够在所述第二导轨内自由滑动。
5.根据权利要求1所述的专用拉套管工装,其特征在于,还包括设置在所述工作台上的电缆夹持部件,其中,所述电缆夹持部件包括下夹具部以及上夹具部,所述上夹具部的一端与所述下夹具部的一端通过第二转轴连接,所述第二转轴的轴向平行于所述第一导轨。
6.根据权利要求5所述的专用拉套管工装,其特征在于,所述上夹具部能够在打开位置和夹持位置之间活动,当所述上夹具部位于所述夹持位置时,其包含的第三凹槽与所述下夹具部包含的第四凹槽形成一通孔,所述通孔的轴向平行与所述第一导轨。
7.根据权利要求6所述的专用拉套管工装,其特征在于,所述第四凹槽的槽面略高于所述第一凹槽的槽面。
8.根据权利要求6所述的专用拉套管工装,其特征在于,所述上夹具部的自由端上设置有把手。
9.根据权利要求1所述的专用拉套管工装,其特征在于,还包括两端分别设置在所述第一凹槽和第二凹槽内的导管,其中,所述导管包括设置在其一端的定位圈,所述定位圈的外径大于两个所述第二挡块之间的最大距离,且所述定位圈与所述第一阻挡部件分别位于所述第二凹槽的两侧。
10.根据权利要求1所述的专用拉套管工装,其特征在于,还包括导锥,其中,所述导锥包括锥形头以及连接在所述锥形头尾端的插杆,其中,所述插杆的直径略小于所述导管的内径,所述导锥通过所述插杆从所述导管非设置有所述定位圈的一端插入其内。
CN2011200711999U 2011-03-17 2011-03-17 新型电缆无胶套管加工的专用拉套管工装 Expired - Fee Related CN202062327U (zh)

Priority Applications (1)

Application Number Priority Date Filing Date Title
CN2011200711999U CN202062327U (zh) 2011-03-17 2011-03-17 新型电缆无胶套管加工的专用拉套管工装

Applications Claiming Priority (1)

Application Number Priority Date Filing Date Title
CN2011200711999U CN202062327U (zh) 2011-03-17 2011-03-17 新型电缆无胶套管加工的专用拉套管工装

Publications (1)

Publication Number Publication Date
CN202062327U true CN202062327U (zh) 2011-12-07

Family

ID=45056205

Family Applications (1)

Application Number Title Priority Date Filing Date
CN2011200711999U Expired - Fee Related CN202062327U (zh) 2011-03-17 2011-03-17 新型电缆无胶套管加工的专用拉套管工装

Country Status (1)

Country Link
CN (1) CN202062327U (zh)

Cited By (2)

* Cited by examiner, † Cited by third party
Publication number Priority date Publication date Assignee Title
CN104114316A (zh) * 2012-02-14 2014-10-22 村田机械株式会社 激光加工机
CN105729352A (zh) * 2016-05-16 2016-07-06 三友(天津)高分子技术有限公司 用于制造汽车高强度结构胶的测试件粘接夹具及使用方法

Cited By (3)

* Cited by examiner, † Cited by third party
Publication number Priority date Publication date Assignee Title
CN104114316A (zh) * 2012-02-14 2014-10-22 村田机械株式会社 激光加工机
CN104114316B (zh) * 2012-02-14 2015-11-25 村田机械株式会社 激光加工机
CN105729352A (zh) * 2016-05-16 2016-07-06 三友(天津)高分子技术有限公司 用于制造汽车高强度结构胶的测试件粘接夹具及使用方法

Similar Documents

Publication Publication Date Title
CN206201071U (zh) 一种超高分子聚乙烯油管切割夹具
CN104215483B (zh) 一种深海沉积物保压取样转移装置及其应用方法
CN103645092B (zh) 一种拉力试验机夹具
CN204514711U (zh) 夹具
CN202062327U (zh) 新型电缆无胶套管加工的专用拉套管工装
CN105817913A (zh) 伞齿轮专用夹具
CN201283449Y (zh) 一种用于管子定长切割的夹紧机构
CN110657292B (zh) 一种煤矿万用型高压注浆管快速连接装置及其使用方法
CN101973006B (zh) 一种仿生工具手
CN204195577U (zh) 电气自动化浮动夹紧装置
CN201856196U (zh) 仿生工具手
CN203125357U (zh) 一种推力弹簧夹紧装置
CN206848322U (zh) 一种电阻测试夹具
CN203824834U (zh) 一种拉力测试仪滑块夹头
CN204314143U (zh) 一种复合材料压缩性能试验夹具装置
CN204725601U (zh) 一种应用于台式钻床的木制品钻孔用压紧机构
CN201645348U (zh) 具有定位装置的镊子
CN201776535U (zh) 一种手动攻丝定垂直器
CN201565810U (zh) 一种加工工程液压导向管斜孔的专用夹具
CN205401949U (zh) 石油测井快速电缆卡
CN205228944U (zh) 一种新型螺钉拉力测试机
CN106514564B (zh) 一种多用夹具钳
CN208505776U (zh) 绳锯串珠固定强度的测试装置
CN207616495U (zh) 一种可调节尺寸的螺栓紧固机构
CN105021454A (zh) 一种微米级尺寸试样拉扭疲劳性能试验用夹具

Legal Events

Date Code Title Description
C14 Grant of patent or utility model
GR01 Patent grant
ASS Succession or assignment of patent right

Owner name: SHANGHAI XINXIAN ELECTRIC TECHNOLOGY CO., LTD.

Free format text: FORMER OWNER: SHANGHAI WENRUI INDUSTRY CO., LTD.

Effective date: 20141216

C41 Transfer of patent application or patent right or utility model
COR Change of bibliographic data

Free format text: CORRECT: ADDRESS; FROM: 201403 FENGXIAN, SHANGHAI TO: 201400 FENGXIAN, SHANGHAI

TR01 Transfer of patent right

Effective date of registration: 20141216

Address after: 201400, Shanghai, Fengxian District Town, 7888-7932 large leaf Highway 5, room 105

Patentee after: Shanghai Xin Xian Electronic Technology Co., Ltd.

Address before: 201403, Shanghai, Fengxian District, Qi Xian, 1 South Road, No.

Patentee before: Shanghai Wenrui Industrial Co., Ltd.

CF01 Termination of patent right due to non-payment of annual fee

Granted publication date: 20111207

Termination date: 20150317

EXPY Termination of patent right or utility model