CN202062200U - Buffer pressing mechanism - Google Patents
Buffer pressing mechanism Download PDFInfo
- Publication number
- CN202062200U CN202062200U CN201120097563.9U CN201120097563U CN202062200U CN 202062200 U CN202062200 U CN 202062200U CN 201120097563 U CN201120097563 U CN 201120097563U CN 202062200 U CN202062200 U CN 202062200U
- Authority
- CN
- China
- Prior art keywords
- cylinder
- plate
- fixed
- slide table
- pressing mechanism
- Prior art date
- Legal status (The legal status is an assumption and is not a legal conclusion. Google has not performed a legal analysis and makes no representation as to the accuracy of the status listed.)
- Expired - Fee Related
Links
- 230000003014 reinforcing effect Effects 0.000 claims description 3
- 238000000034 method Methods 0.000 abstract description 5
- 238000010586 diagram Methods 0.000 description 2
- 230000009286 beneficial effect Effects 0.000 description 1
- 230000006835 compression Effects 0.000 description 1
- 238000007906 compression Methods 0.000 description 1
- 230000000694 effects Effects 0.000 description 1
Images
Classifications
-
- Y—GENERAL TAGGING OF NEW TECHNOLOGICAL DEVELOPMENTS; GENERAL TAGGING OF CROSS-SECTIONAL TECHNOLOGIES SPANNING OVER SEVERAL SECTIONS OF THE IPC; TECHNICAL SUBJECTS COVERED BY FORMER USPC CROSS-REFERENCE ART COLLECTIONS [XRACs] AND DIGESTS
- Y02—TECHNOLOGIES OR APPLICATIONS FOR MITIGATION OR ADAPTATION AGAINST CLIMATE CHANGE
- Y02E—REDUCTION OF GREENHOUSE GAS [GHG] EMISSIONS, RELATED TO ENERGY GENERATION, TRANSMISSION OR DISTRIBUTION
- Y02E60/00—Enabling technologies; Technologies with a potential or indirect contribution to GHG emissions mitigation
- Y02E60/10—Energy storage using batteries
Landscapes
- Vibration Prevention Devices (AREA)
Abstract
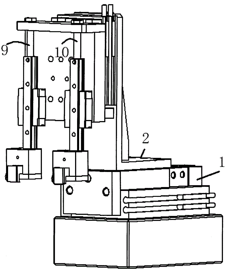
本实用新型公开了一种缓冲压合机构,包括水平滑台气缸、和所述水平滑台气缸的气缸导杆固定连接的支撑板,所述支撑板上固定有一个升降滑台气缸,该升降滑台气缸的气缸导杆上固定有一连接平板,两个相互平行的升降导轨的滑块固定在该连接平板上,两个其上套有弹簧的弹簧销穿过连接平板上的横板固定在所述的两个升降导轨的上端,在两个升降导轨的下端固定有压头。主要功能作用体现于,机构在压合产品时,对产品的压力有一个弹簧缓冲的过程,可以防止因压力过猛而压坏产品。
The utility model discloses a buffer pressing mechanism, which comprises a cylinder of a horizontal slide table and a support plate fixedly connected with a cylinder guide rod of the cylinder of the horizontal slide table. A lift slide cylinder is fixed on the support plate. A connecting plate is fixed on the cylinder guide rod of the slide table cylinder, and the sliders of two parallel lifting guide rails are fixed on the connecting plate, and two spring pins with springs on them pass through the horizontal plate on the connecting plate and are fixed on the connecting plate. The upper ends of the two lifting guide rails are fixed with pressure heads at the lower ends of the two lifting guide rails. The main function is reflected in that when the mechanism is pressing the product, there is a spring buffer process for the pressure of the product, which can prevent the product from being crushed due to excessive pressure.
Description
技术领域: Technical field:
本实用新型涉及一种缓冲压合机构。The utility model relates to a buffer pressing mechanism.
背景技术: Background technique:
笔记本、手机等电子产品在组装过程中,其分开的各个盖子需要压合机进行压合安装,现有的压合机构,在压合过程中产生的冲击比较大,在压合的时候和被压合的工件之间都是硬接触,没有一点缓冲,这样一个是有的时候冲击力过大,会造成被压合工件的损伤,还有就是工件压合后的效果不够理想。During the assembly process of notebooks, mobile phones and other electronic products, the separate covers need to be pressed and installed by a pressing machine. The existing pressing mechanism has a relatively large impact during the pressing process. The pressed workpieces are in hard contact without any cushioning. Sometimes the impact force is too large, which will cause damage to the pressed workpieces, and the effect of the pressed workpieces is not ideal.
实用新型内容: Utility model content:
本实用新型的目的是提供一种具有缓冲功能的压合机构。The purpose of the utility model is to provide a pressing mechanism with buffer function.
本实用新型的技术解决措施如下:The technical solutions of the present utility model are as follows:
缓冲压合机构,包括水平滑台气缸、和所述水平滑台气缸的气缸导杆固定连接的支撑板,所述支撑板上固定有一个升降滑台气缸,该升降滑台气缸的气缸导杆上固定有一连接平板,两个相互平行的升降导轨的滑块固定在该连接平板上,两个其上套有弹簧的弹簧销穿过连接平板上的横板固定在所述的两个升降导轨的上端,在两个升降导轨的下端固定有压头。The buffer pressing mechanism includes a horizontal slide table cylinder and a support plate fixedly connected with the cylinder guide rod of the horizontal slide table cylinder, a lift slide table cylinder is fixed on the support plate, and the cylinder guide rod of the lift slide table cylinder A connecting plate is fixed on the top, and the sliders of two parallel lifting guide rails are fixed on the connecting plate, and two spring pins with springs on them pass through the horizontal plate on the connecting plate and are fixed on the two lifting guide rails. The upper end of the two lifting guide rails is fixed with a pressure head.
所述的缓冲压合机构,套在所述两个弹簧销上的两个弹簧位于所述两个升降导轨的顶端和所述横板之间。In the buffer pressing mechanism, the two springs sleeved on the two spring pins are located between the top ends of the two lifting guide rails and the horizontal plate.
所述的缓冲压合机构,所述的水平滑台气缸固定在气缸底座上。In the buffer pressing mechanism, the cylinder of the horizontal slide table is fixed on the base of the cylinder.
所述的缓冲压合机构,所述的支撑板包括相互垂直的、焊接在一起的底板和竖板,所述底板和水平滑台气缸的气缸导杆固定连接,所述竖板和升降滑台气缸固定连接,在所述底板和所述竖板之间焊接有加强筋。In the buffer pressing mechanism, the support plate includes a bottom plate and a riser that are perpendicular to each other and are welded together. The cylinder is fixedly connected, and a reinforcing rib is welded between the bottom plate and the vertical plate.
本实用新型有益效果在于:The beneficial effects of the utility model are:
本实用新型缓冲压合机构的优点是,使用弹簧缓冲力压合产品表面,防止产品被气缸的瞬间冲力而压坏,而且成本很低,结构也简单。因为气缸的冲击速度很快,而且是固定不变的,是不可控制的,如果直接使用气缸冲压的话,产品表面很容易被压坏。相对于伺服马达机构成本低,如果使用伺服马达机构,冲击速度就可以控制,但是伺服马达的成本相当高,所以此机构成本低廉、结构比较简单。The advantages of the buffer pressing mechanism of the utility model are that the surface of the product is pressed by the buffer force of the spring to prevent the product from being crushed by the instantaneous momentum of the cylinder, and the cost is very low and the structure is simple. Because the impact speed of the cylinder is very fast, and it is fixed and uncontrollable. If the cylinder is directly used for stamping, the surface of the product is easily crushed. Compared with the low cost of the servo motor mechanism, if the servo motor mechanism is used, the impact speed can be controlled, but the cost of the servo motor is quite high, so the cost of this mechanism is low and the structure is relatively simple.
附图说明: Description of drawings:
下面结合附图对本实用新型做进一步的说明:Below in conjunction with accompanying drawing, the utility model is further described:
图1为本实用新型的结构示意图;Fig. 1 is the structural representation of the utility model;
图2为图1的左视图;Fig. 2 is the left view of Fig. 1;
图3本实用新型的立体示意图;Fig. 3 is the three-dimensional schematic view of the utility model;
图4为本实用新型工作时压头和工件相接触时候的示意图,这个时候弹簧并没有受到压缩;Fig. 4 is the schematic diagram when the indenter and the workpiece are in contact when the utility model is working, and the spring is not compressed at this time;
图5为本实用新型工作时,弹簧受到压力时候的示意图。Fig. 5 is a schematic diagram when the spring is under pressure when the utility model is working.
具体实施方式: Detailed ways:
以下所述仅为本实用新型的较佳实施例,并非对本实用新型的范围进行限定。The following descriptions are only preferred embodiments of the present utility model, and are not intended to limit the scope of the present utility model.
实施例,见附图1~5;缓冲压合机构,包括水平滑台气缸1、和所述水平滑台气缸的气缸导杆固定连接的支撑板2,所述支撑板2上固定有一个升降滑台气缸3,该升降滑台气缸的气缸导杆上固定有一连接平板4,两个升降导轨5、6的滑块7、8固定在该连接平板上,升降导轨5、6相互平行,连接平板上焊接有一个与其相互垂直的横板11,横板上有两个通孔,两个其上套有弹簧14、15的弹簧销9、10穿过连接平板上的横板11固定在所述的两个升降导轨的上端,这两个通孔的直径大于弹簧销穿过的部分,这样能够保证弹簧销在其内滑动,两个弹簧销的顶部有两个直径大于该弹簧销的圆台,用来防止在下降过程中,弹簧销从横板的两个圆孔中穿过,在两个升降导轨的下端固定有压头12、13。For the embodiment, see accompanying drawings 1-5; the buffer pressing mechanism includes a horizontal
所述的缓冲压合机构,套在所述两个弹簧销上的两个弹簧位于所述两个升降导轨5、6的顶端和所述横板11之间。当两个升降导轨处于原位静止的时候,这两个弹簧处于自由状态。In the buffer pressing mechanism, the two springs sleeved on the two spring pins are located between the top ends of the two lifting guide rails 5 , 6 and the
所述的缓冲压合机构,所述的水平滑台气缸固定在气缸底座17上。In the buffer pressing mechanism, the cylinder of the horizontal slide table is fixed on the
所述的缓冲压合机构,所述的支撑板2包括相互垂直的、焊接在一起的底板201和竖板202,所述底板和水平滑台气缸的气缸导杆固定连接,所述竖板和升降滑台气缸固定连接,在所述底板和所述竖板之间焊接有加强筋203。In the buffer pressing mechanism, the
工作原理:缓冲压合机构的工作步骤与原理,机构在冲压产品之前的状态如图1所示,压头未接触产品。弹簧销的顶部卡在横板的上部,这个时候两个弹簧处于自然拉伸状态。机构压合产品的工作状态,如图4、图5所示,首先看图4,滑台气缸向下滑出一部份,压头和滑轨同竖板、横板一起向下移动,且滑轨与滑块之间并没有相互滑动,这个时候升降滑台气缸的导向杆已伸长一部份,但还没有全部伸长,此时,压头已接触产品的表面,弹簧还是处于自然拉伸状态,压头与产品表面之间还没有产生压力。接着滑台气缸继续向下滑动,而压头与滑轨部份则停止向下移动,滑轨与滑块之间相对滑动,横板顶部开始缓慢向下压缩弹簧,压缩弹簧产生的弹力就是压头压合产品的力,滑台气缸由短伸长时,弹簧则由长变短,弹力则由小变大,所以就产生缓冲的压力,这就是缓冲压合机构的工作原理。Working principle: The working steps and principle of the buffer pressing mechanism, the state of the mechanism before stamping the product is shown in Figure 1, and the pressure head does not touch the product. The top of the spring pin is stuck on the top of the cross plate, and at this time, the two springs are in a naturally stretched state. The working state of the mechanism pressing product is shown in Figure 4 and Figure 5. First look at Figure 4, the cylinder of the slide table slides out a part, the pressure head and the slide rail move down together with the vertical plate and the horizontal plate, and the slide There is no mutual sliding between the rail and the slider. At this time, the guide rod of the cylinder of the lifting slide has been extended, but not fully extended. At this time, the pressure head has touched the surface of the product, and the spring is still in the natural tension. In the extended state, there is no pressure between the indenter and the product surface. Then the cylinder of the slide table continues to slide downward, while the pressure head and the slide rail part stop moving downward, the slide rail and the slider slide relative to each other, and the top of the horizontal plate begins to slowly compress the spring downward. The elastic force generated by the compressed spring is the compression The force of pressing the product by the head, when the cylinder of the slide table is extended from short to long, the spring will be shortened from long to short, and the elastic force will be changed from small to large, so a buffer pressure is generated, which is the working principle of the buffer press mechanism.
Claims (4)
Priority Applications (1)
| Application Number | Priority Date | Filing Date | Title |
|---|---|---|---|
| CN201120097563.9U CN202062200U (en) | 2011-04-02 | 2011-04-02 | Buffer pressing mechanism |
Applications Claiming Priority (1)
| Application Number | Priority Date | Filing Date | Title |
|---|---|---|---|
| CN201120097563.9U CN202062200U (en) | 2011-04-02 | 2011-04-02 | Buffer pressing mechanism |
Publications (1)
| Publication Number | Publication Date |
|---|---|
| CN202062200U true CN202062200U (en) | 2011-12-07 |
Family
ID=45056078
Family Applications (1)
| Application Number | Title | Priority Date | Filing Date |
|---|---|---|---|
| CN201120097563.9U Expired - Fee Related CN202062200U (en) | 2011-04-02 | 2011-04-02 | Buffer pressing mechanism |
Country Status (1)
| Country | Link |
|---|---|
| CN (1) | CN202062200U (en) |
Cited By (4)
| Publication number | Priority date | Publication date | Assignee | Title |
|---|---|---|---|---|
| CN102303232A (en) * | 2011-04-02 | 2012-01-04 | 吴江市博众精工科技有限公司 | Buffer pressing mechanism |
| CN104907800A (en) * | 2015-06-23 | 2015-09-16 | 吴中区横泾博尔机械厂 | Material pressing device of pressing fit mechanism of fully-automatic electric material pressing fit machine |
| CN110238627A (en) * | 2017-08-22 | 2019-09-17 | 东莞市蓉工自动化科技有限公司 | A kind of pressing wheel mechanism for motor drum in-phase assembling |
| CN110947698A (en) * | 2019-12-19 | 2020-04-03 | 深圳市鹰眼在线电子科技有限公司 | Electronic product surface contamination cleaning device and online optical detector |
-
2011
- 2011-04-02 CN CN201120097563.9U patent/CN202062200U/en not_active Expired - Fee Related
Cited By (6)
| Publication number | Priority date | Publication date | Assignee | Title |
|---|---|---|---|---|
| CN102303232A (en) * | 2011-04-02 | 2012-01-04 | 吴江市博众精工科技有限公司 | Buffer pressing mechanism |
| CN102303232B (en) * | 2011-04-02 | 2014-04-23 | 吴江市博众精工科技有限公司 | Buffer pressing mechanism |
| CN104907800A (en) * | 2015-06-23 | 2015-09-16 | 吴中区横泾博尔机械厂 | Material pressing device of pressing fit mechanism of fully-automatic electric material pressing fit machine |
| CN110238627A (en) * | 2017-08-22 | 2019-09-17 | 东莞市蓉工自动化科技有限公司 | A kind of pressing wheel mechanism for motor drum in-phase assembling |
| CN110238627B (en) * | 2017-08-22 | 2020-07-24 | 浙江富兴服装有限公司 | Pressing wheel mechanism for assembling synchronous wheel of motor |
| CN110947698A (en) * | 2019-12-19 | 2020-04-03 | 深圳市鹰眼在线电子科技有限公司 | Electronic product surface contamination cleaning device and online optical detector |
Similar Documents
| Publication | Publication Date | Title |
|---|---|---|
| CN102303232B (en) | Buffer pressing mechanism | |
| CN204353318U (en) | A kind of automatic ejection mould | |
| CN207915637U (en) | A die-cutting device for a die-cutting machine | |
| CN202062200U (en) | Buffer pressing mechanism | |
| CN202377517U (en) | Sawing fixture applicable to horizontal band sawing machine | |
| CN106142629A (en) | A kind of footwear industry is compacted retracting device with discarded footwear box | |
| CN102310323A (en) | Novel buffer laminating mechanism | |
| CN203611579U (en) | Device for flattening finance and accounting bills | |
| CN103302152B (en) | Double-station bending device of asymmetric U-shaped piece | |
| CN202114451U (en) | Novel buffering press-fit mechanism | |
| CN206677509U (en) | A kind of turntable bearing oil seal pressing frock | |
| CN203993002U (en) | A kind of keycap ejects stitching integrated machine | |
| CN207695673U (en) | A drilling machine for processing hardware accessories with good clamping effect | |
| CN202736731U (en) | Transformer lug plate pressing device | |
| CN205056716U (en) | Simple and convenient bender | |
| CN204903683U (en) | Needle support plate module accredited testing organization | |
| CN205112526U (en) | Packing carton mould pressing setting device | |
| CN203830568U (en) | Brush holder riveting and pressing device | |
| CN203061785U (en) | Spring double-row and double-row vertical positioning device | |
| CN217647958U (en) | Vertical engraver press device | |
| CN203732373U (en) | Notebook computer base life test machine | |
| CN202894704U (en) | Stator automatic reset rivet pressing device | |
| CN203578565U (en) | Stamping mould | |
| CN203764797U (en) | Drawing mould capable of preventing workpiece from corrugating | |
| CN209648050U (en) | A valve assembly machine |
Legal Events
| Date | Code | Title | Description |
|---|---|---|---|
| C14 | Grant of patent or utility model | ||
| GR01 | Patent grant | ||
| C17 | Cessation of patent right | ||
| CF01 | Termination of patent right due to non-payment of annual fee |
Granted publication date: 20111207 Termination date: 20130402 |
