CN202060527U - Portable telescopic clothes rack - Google Patents

Portable telescopic clothes rack Download PDF

Info

Publication number
CN202060527U
CN202060527U CN2011201295331U CN201120129533U CN202060527U CN 202060527 U CN202060527 U CN 202060527U CN 2011201295331 U CN2011201295331 U CN 2011201295331U CN 201120129533 U CN201120129533 U CN 201120129533U CN 202060527 U CN202060527 U CN 202060527U
Authority
CN
China
Prior art keywords
clothes hanger
frame body
utility
model
telescopic
Prior art date
Legal status (The legal status is an assumption and is not a legal conclusion. Google has not performed a legal analysis and makes no representation as to the accuracy of the status listed.)
Expired - Fee Related
Application number
CN2011201295331U
Other languages
Chinese (zh)
Inventor
李旖旎
Current Assignee (The listed assignees may be inaccurate. Google has not performed a legal analysis and makes no representation or warranty as to the accuracy of the list.)
Tongji University
Original Assignee
Tongji University
Priority date (The priority date is an assumption and is not a legal conclusion. Google has not performed a legal analysis and makes no representation as to the accuracy of the date listed.)
Filing date
Publication date
Application filed by Tongji University filed Critical Tongji University
Priority to CN2011201295331U priority Critical patent/CN202060527U/en
Application granted granted Critical
Publication of CN202060527U publication Critical patent/CN202060527U/en
Anticipated expiration legal-status Critical
Expired - Fee Related legal-status Critical Current

Links

Images

Landscapes

  • Holders For Apparel And Elements Relating To Apparel (AREA)

Abstract

本实用新型公开了一种便携式伸缩衣架,所述伸缩式衣架包括架体和挂钩,所述挂钩设置在所述架体上,所述伸缩衣架还包括伸缩杆,所述伸缩杆左右伸缩式安装在所述架体内。所述架体为空心直杆其上开设有调节孔。所述伸缩杆为两个,其上均设置有与调节孔相匹配的弹簧按钮。本实用新型在原有衣架的基础上进行改进,由于架体为空心状,在衣架的架体上开设调节孔,伸缩杆插入所述架体内,然后通过伸缩杆上设置的弹簧按钮进行调节,弹簧按钮起到固定伸缩杆在架体内的作用,在不使用该衣架时,还可以将伸缩杆缩入架体内,大大节省了衣架的占用空间,增加了衣架的实用性。

Figure 201120129533

The utility model discloses a portable telescopic clothes hanger. The telescopic clothes hanger includes a frame body and a hook. The hook is arranged on the frame body. within the frame. The frame body is a hollow straight rod with adjustment holes on it. There are two telescopic rods, all of which are provided with spring buttons matching the adjustment holes. The utility model is improved on the basis of the original clothes hanger. Since the frame body is hollow, an adjustment hole is set on the frame body of the clothes hanger. The button plays the role of fixing the telescopic rod in the frame body. When the clothes hanger is not in use, the telescopic rod can also be retracted into the frame body, which greatly saves the occupied space of the clothes hanger and increases the practicability of the clothes hanger.

Figure 201120129533

Description

The portable stretchable clothes hanger
Technical field:
The utility model relates to a kind of daily necessities, relates in particular to a kind of retracted hanger that can stretch that is convenient for carrying.
Background technology:
Clothes hanger is the shelf that is used for taking the coating shirt, talks about be always or usually as specified two kinds on clothes hanger and colorful clothes frame at " master craftsman of the Spring and Autumn period is through craftsman's mirror ", and outer room is comparatively rare, but clothes hanger at that time is different with present clothes hanger.Modern clothes hanger adopts coupling type or branch V shape mostly, and clothing is many to be hung on the clothes hook with neck neck place.Ancients' clothes hanger comprises Qing Dynasty's clothes hanger, adopts the cross bar form more, and there is column both sides, and bearer pier base is provided with transverse slat or horizontal doorjamb between two up and down, and the column top is equipped with crossbeam, and two ends grow column, and end undercuts dragon and phoenix line or glossy ganoderma or cloud cluster and so on to the greatest extent.Plate in the peace under the cross bar, on have openwork carving to decorate, mainly play firmly acting on, just ride on the cross bar after clothes is taken off.
Clothes hanger is to be named as this workman invention of Albert * Parker person of outstanding talent by one.He was a tame wire of Michigan, United States and the ironsmith that little hand work company makes lampshade at that time, he found offendedly that the clothes-hook in factory cloakroom was by absorb in one day, he is furious takes out one section galvanized wire, curves the shape of overcoat shoulder and has added hook in the above.This invention is had for oneself according to Wood hanger by the photograph album of his old clothes hanger (20) plate and obtains patent, and this is the origin of clothes hanger.  
Clothes hanger is a kind of furniture that China early occurs, and comes into effect gift system the Zhou Dynasty, and the aristocracy attaches great importance to hat and clothes, in order to adapt to this needs, has occurred being used for specially the shelf of suspended garment more for a long time.The clothes hanger form in each dynasty is had nothing in common with each other, and title is also different.The Spring and Autumn Period, the rod of crossbearer is said " purlin " in order to hang clothing, cries " wood is executed " again.In the Song dynasty, the use of clothes hanger is more general than former generation, and the data of image is arranged, the clothes hanger among Yuxian County, Henan Song Mu mural painting dressing figure, and it supports a cross bar by two root posts, and cross bar two grows column, and two is little tilts upward, and makes the flower shape.With stabilizer column, between two posts of cross tube bottom, other adds a horizontal doorjamb with two beam piers in the bottom, to play reinforcement effect.
The timber that the production clothes hanger is used generally all will can be produced below humidity 18 degree, all will dry processing before the use, if fund allows, can hoard timber, does naturally to be best (fund that these need be a large amount of overstocks).Have the timber of small holes caused by worms then will not adopt, the wooden clothes tree outlet according to China's commodity inspection law regulation, all will be carried out plant inspection, could export (according to the requirement of importer, what have then will fumigate processing) after obtaining qualified formality.
When travelling or going on business, will often use clothes hanger, but it is very inconvenient to carry clothes hanger, and existing because people's build concerns that the different sizes of clothes hanger can not satisfy popular demand.
The utility model content:
The purpose of this utility model is to be used for remedying the deficiencies in the prior art, and provides a kind of and be easy to carry, can hang the retracted hanger of various sizes clothes.
To achieve these goals, the technical solution of the utility model is as follows:
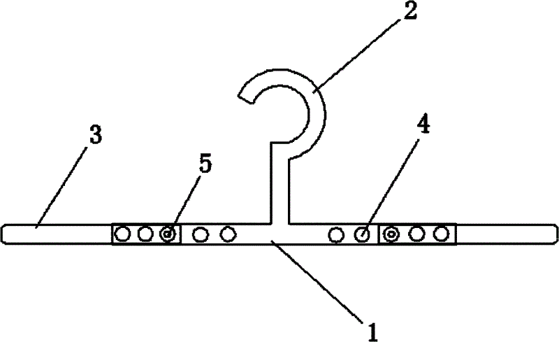
The portable stretchable clothes hanger, described retracted hanger comprises support body and hook, and described hook is arranged on the described support body, and described telescopic clothes rack also comprises expansion link, and the described expansion link left and right sides is telescopic to be installed in the described support body.
Described support body is that hollow straight-bar offers adjustment hole on it.
Described expansion link is two, is provided with the spring button that is complementary with adjustment hole on it.
A kind of portable stretchable clothes hanger of the utility model, on the basis of original clothes hanger, improve, because support body is a hollow shape, offers adjustment hole on the support body of clothes hanger, expansion link inserts in the described support body, regulate by the spring button that is provided with on the expansion link then, spring button plays the fixedly effect of expansion link in support body, when not using this clothes hanger, and can also be with in the expansion link retraction support body, save taking up room of clothes hanger greatly, increased the practicality of clothes hanger.
Description of drawings:
Further specify the utility model below in conjunction with the drawings and specific embodiments.
Fig. 1 is a structural representation of the present utility model;
Fig. 2 is the utility model frame structure figure.
The specific embodiment:
For technological means, creation characteristic that the utility model is realized, reach purpose and effect is easy to understand, below in conjunction with concrete diagram, further set forth the utility model.
With reference to shown in Figure 1:
Portable stretchable clothes hanger, described retracted hanger comprise support body 1 and hook 2, and described hook 2 is arranged on the center of described support body 1, hook 2 suspensions that are used for support body 1, and this telescopic clothes rack also comprises expansion link 3, described expansion link 3 is can the left and right sides telescopic.
Because support body 1 offers adjustment hole 4 as shown in Figure 2 for hollow straight-bar on it, expansion link 3 is two, about insert in the hollow support body 1, expansion link 3 is provided with the spring button 5 that is complementary with adjustment hole, by pressing spring button 5, then expansion link is spurred or pushes, can regulate the position of expansion link 3 in support body 1.
A kind of portable stretchable clothes hanger of the utility model, on the basis of original clothes hanger, improve, because support body is a hollow shape, offers adjustment hole on the support body of clothes hanger, expansion link inserts in the described support body, regulate by the spring button that is provided with on the expansion link then, spring button plays the fixedly effect of expansion link in support body, when not using this clothes hanger, and can also be with in the expansion link retraction support body, save taking up room of clothes hanger greatly, increased the practicality of clothes hanger.
More than show and described basic principle of the present utility model and principal character and advantage of the present utility model.The technical staff of the industry should understand; the utility model is not restricted to the described embodiments; that describes in the foregoing description and the specification just illustrates principle of the present utility model; under the prerequisite that does not break away from the utility model spirit and scope; the utility model also has various changes and modifications, and these changes and improvements all fall in claimed the utility model scope.The claimed scope of the utility model is defined by appending claims and equivalent thereof.

Claims (3)

1.便携式伸缩衣架,所述伸缩式衣架包括架体和挂钩,所述挂钩设置在所述架体上,其特征在于,所述伸缩衣架还包括伸缩杆,所述伸缩杆左右伸缩式安装在所述架体内。 1. Portable telescopic clothes hanger, the telescopic clothes hanger includes a frame body and a hook. Inside the frame. 2.根据权利要求1所述的便携式伸缩衣架,其特征在于,所述架体为空心直杆其上开设有调节孔。 2. The portable telescopic clothes hanger according to claim 1, characterized in that, the frame body is a hollow straight rod on which an adjustment hole is opened. 3.根据权利要求1所述的便携式伸缩衣架,其特征在于,所述伸缩杆为两个,其上均设置有与调节孔相匹配的弹簧按钮。 3. The portable telescopic hanger according to claim 1, characterized in that there are two telescopic rods, each of which is provided with a spring button matching the adjustment hole.
CN2011201295331U 2011-04-28 2011-04-28 Portable telescopic clothes rack Expired - Fee Related CN202060527U (en)

Priority Applications (1)

Application Number Priority Date Filing Date Title
CN2011201295331U CN202060527U (en) 2011-04-28 2011-04-28 Portable telescopic clothes rack

Applications Claiming Priority (1)

Application Number Priority Date Filing Date Title
CN2011201295331U CN202060527U (en) 2011-04-28 2011-04-28 Portable telescopic clothes rack

Publications (1)

Publication Number Publication Date
CN202060527U true CN202060527U (en) 2011-12-07

Family

ID=45054415

Family Applications (1)

Application Number Title Priority Date Filing Date
CN2011201295331U Expired - Fee Related CN202060527U (en) 2011-04-28 2011-04-28 Portable telescopic clothes rack

Country Status (1)

Country Link
CN (1) CN202060527U (en)

Cited By (4)

* Cited by examiner, † Cited by third party
Publication number Priority date Publication date Assignee Title
GB2512133A (en) * 2013-03-22 2014-09-24 Brompton Washscape Ltd A clothes hanger
CN104274045A (en) * 2013-07-03 2015-01-14 程阳 Telescopic clothes rack
CN106073427A (en) * 2016-07-08 2016-11-09 王升 A telescopic clothes hanger
CN108577452A (en) * 2018-04-25 2018-09-28 河南恒华科技有限公司 A kind of clothes horse

Cited By (5)

* Cited by examiner, † Cited by third party
Publication number Priority date Publication date Assignee Title
GB2512133A (en) * 2013-03-22 2014-09-24 Brompton Washscape Ltd A clothes hanger
GB2512133B (en) * 2013-03-22 2018-02-07 Brompton Washscape Ltd A clothes hanger
CN104274045A (en) * 2013-07-03 2015-01-14 程阳 Telescopic clothes rack
CN106073427A (en) * 2016-07-08 2016-11-09 王升 A telescopic clothes hanger
CN108577452A (en) * 2018-04-25 2018-09-28 河南恒华科技有限公司 A kind of clothes horse

Similar Documents

Publication Publication Date Title
CN202060527U (en) Portable telescopic clothes rack
CN201899300U (en) Expansion hanger
CN202060519U (en) Multifunctional clothes rack
CN201939034U (en) Multifunctional clothes hanger
CN201700956U (en) Windproof clothes hanger
CN202287649U (en) Multifunctional drying rack
CN203106696U (en) Multifunctional clothes airing hanger
CN201755095U (en) Flexible clothes hanger
CN208581956U (en) A wardrobe that can rationally use space
CN207707712U (en) A kind of guest-welcoming pine hat rack
CN202020250U (en) Clothes hanger with clamps
CN104026945A (en) Novel multifunctional folding clothes rack
CN204232818U (en) A kind of Multifunctional assembled clothes hanger
CN202355120U (en) Clothes-horse
CN204378795U (en) A kind of can in the vertical direction hang clothes hanger
CN203059272U (en) Coat hanger framework with spiral pieces
CN201641441U (en) Triangular clothes and hat stand with lapping rod and bottom plate
CN201987209U (en) A new type of hanger
CN205347817U (en) Novel rain -proof clothes hanger that dries in air
CN202496939U (en) Environment-friendly clothes hanger
CN202959961U (en) Novel clothes hanger
CN209474325U (en) A kind of Multifunctional clothes tree
CN203041736U (en) Floor clothes rack
CN203000414U (en) Novel fixing coat hanger
CN206607777U (en) Indoor decorative plate

Legal Events

Date Code Title Description
C14 Grant of patent or utility model
GR01 Patent grant
C17 Cessation of patent right
CF01 Termination of patent right due to non-payment of annual fee

Granted publication date: 20111207

Termination date: 20120428