CN202056659U - Combined office energy saving lamp - Google Patents
Combined office energy saving lamp Download PDFInfo
- Publication number
- CN202056659U CN202056659U CN2011200476503U CN201120047650U CN202056659U CN 202056659 U CN202056659 U CN 202056659U CN 2011200476503 U CN2011200476503 U CN 2011200476503U CN 201120047650 U CN201120047650 U CN 201120047650U CN 202056659 U CN202056659 U CN 202056659U
- Authority
- CN
- China
- Prior art keywords
- energy
- saving lamp
- saving
- bulb
- combined type
- Prior art date
- Legal status (The legal status is an assumption and is not a legal conclusion. Google has not performed a legal analysis and makes no representation as to the accuracy of the status listed.)
- Expired - Fee Related
Links
- 239000000428 dust Substances 0.000 claims abstract description 24
- 229910000838 Al alloy Inorganic materials 0.000 claims description 4
- 239000004033 plastic Substances 0.000 claims description 3
- 229920003023 plastic Polymers 0.000 claims description 3
- 239000000956 alloy Substances 0.000 claims description 2
- 230000004438 eyesight Effects 0.000 abstract description 3
- 238000009408 flooring Methods 0.000 abstract description 3
- 230000004313 glare Effects 0.000 abstract description 3
- 230000004907 flux Effects 0.000 abstract description 2
- 230000009466 transformation Effects 0.000 abstract 1
- 230000003670 easy-to-clean Effects 0.000 description 5
- 230000007613 environmental effect Effects 0.000 description 4
- 238000005516 engineering process Methods 0.000 description 3
- 238000004140 cleaning Methods 0.000 description 2
- 238000010586 diagram Methods 0.000 description 2
- 230000006872 improvement Effects 0.000 description 2
- 230000004048 modification Effects 0.000 description 2
- 238000012986 modification Methods 0.000 description 2
- 206010003084 Areflexia Diseases 0.000 description 1
- VYZAMTAEIAYCRO-UHFFFAOYSA-N Chromium Chemical compound [Cr] VYZAMTAEIAYCRO-UHFFFAOYSA-N 0.000 description 1
- 238000005266 casting Methods 0.000 description 1
- 230000008859 change Effects 0.000 description 1
- 238000006243 chemical reaction Methods 0.000 description 1
- 229910052804 chromium Inorganic materials 0.000 description 1
- 239000011651 chromium Substances 0.000 description 1
- 230000006835 compression Effects 0.000 description 1
- 238000007906 compression Methods 0.000 description 1
- 230000007812 deficiency Effects 0.000 description 1
- 230000002950 deficient Effects 0.000 description 1
- 238000004134 energy conservation Methods 0.000 description 1
- 238000005286 illumination Methods 0.000 description 1
- 230000001737 promoting effect Effects 0.000 description 1
- 238000004080 punching Methods 0.000 description 1
- 238000009877 rendering Methods 0.000 description 1
- 238000001771 vacuum deposition Methods 0.000 description 1
- 239000002699 waste material Substances 0.000 description 1
Images
Landscapes
- Non-Portable Lighting Devices Or Systems Thereof (AREA)
Abstract
The utility model relates to a combined office energy saving lamp which comprises a housing, a dust cap and more than one set of light-emitting structures, wherein: the dust cap is transparent, is detachably connected with the housing and form a closed space in which the light-emitting structures is fixed; each set of light-emitting structure comprises an energy saving bulb, a lamp holder seat and a reflector. The energy saving bulb is connected with the lamp holder seat. The reflector and the dust cap are respectively provided at opposite sides of the energy saving bulb. The combined office energy saving lamp can be applied for the occasions such as an office and a classroom with lower flooring. Furthermore the light reflection efficiency of the lamp is above 80%, and an effective light emitting efficiency is correspondingly improved to more than 80%. Furthermore a combined design of a plurality of bulbs allows power transformation according to brightness requirement. The combined office energy saving lamp has the following advantages: stable luminous flux output of the lamp, basically uniform indoor brightness, no glare, no stroboscopic, long service life, better energy-saving and environment-friendly performance, high sanitation and high convenience, attractive appearance, etc. Simultaneously protection for the eyesight of the student or office personnel is facilitated.
Description
Technical field
The utility model relates to a kind of lighting, particularly relates to a kind of combined type office energy-saving lamp.
Background technology
Electricity-saving lamp in the market comprises general energy energy-saving bulb, trichromatic energy saving lamp, electrodeless lamp, LED lamp etc., and it is used widely because of high light efficiency, high-color rendering, energy-saving advantages.The bulb vertical height of general high-power energy-saving lamp is all than higher, uses therefore that height can not be too low when installing, otherwise it is strong to put brightness nearby by light source center, and the distant place then a little less than the brightness, makes light shadow surface uneven luminance; And disperse very much with low-power bulb, and quantity is many, inconvenience is installed.When using electricity-saving lamp, the lower office of flooring or classroom can be restricted like this.And now the reflection shield in the light fixture is simpler, and wherein the basic areflexia of light that upwards penetrates of bulb is had only about 50% effective luminous efficiency of whole light fixture, reach certain irradiation brightness, only adds high-powerly, causes waste of energy.In addition, doing aspect the public illumination power problem the such as generally Grille lamp of Shi Yonging also has the cleaning difficulty, and outward appearance is single, ugly at present.
This shows, above-mentioned existing energy-saving lamp directly is applied in the office space, obviously still have inconvenience and defective, and demand urgently further being improved.How to found a kind of can in office and classroom, the application, and make effective luminous efficiency of light fixture higher, and be more conducive to energy-saving and environmental protection, easy to clean, the combined type office energy-saving lamp of the new structure of good looking appearance, one of real important improvement target that belongs to current industry.
The utility model content
The technical problems to be solved in the utility model provides a kind of combined type office energy-saving lamp, it can be used in office and classroom, and make effective luminous efficiency of light fixture higher, be more conducive to energy-saving and environmental protection, easy to clean, good looking appearance, thus overcome the deficiency of existing energy-saving lamp.
For solving the problems of the technologies described above, a kind of combined type office of the utility model energy-saving lamp comprises shell, dust cap and one group of above ray structure, and wherein: dust cap is transparent, removably connect with shell and form an enclosure space, ray structure all is fixed in this enclosure space; Every group of ray structure comprises energy-saving bulb, bulb socket and reflection shield, and energy-saving bulb is connected with bulb socket, and reflection shield and dust cap lay respectively at the opposite side of energy-saving bulb.
As a kind of improvement of the present utility model, described dust cap is being evenly equipped with a plurality of little convex surfaces on the side of enclosure space.
The bulb socket of described every group of ray structure is all fixing in the enclosure by unified light bed plate.
Described shell comprises outer casing upper cover and shell rim.
Described reflection shield and light bed plate are spirally connected, and light bed plate and outer casing upper cover are spirally connected, and outer casing upper cover and shell rim are spirally connected, and energy-saving bulb and bulb socket are pegged graft or be spirally connected, and dust cap and shell rim are by being connected from Lock buckle.
The side of described outer casing upper cover is provided with louvre.
Described reflection shield is the many mirror reflectors of integral type.
Described reflection shield is plastics or aluminum alloy material, is being provided with the little convex surface of a plurality of circular arcs on the side of energy-saving bulb, and is being coated with highly reflecting films in little convex surface.
Described energy-saving bulb is common energy-saving lamp bubble, trichromatic energy saving lamp, electrodeless lamp or LED lamp.
Described ray structure is more than two groups.
After adopting such structure; the utility model combined type office energy-saving lamp; can be applicable to the lower office of flooring; occasions such as classroom; and the light reflection efficiency of light fixture reaches more than 80%; effectively luminous efficiency is also corresponding is increased to more than 80%; and the knockdown design of its a plurality of bulbs also can be carried out the power conversion according to the brightness needs; the output of light fixture luminous flux is stable; room brilliancy is even substantially, has free from glare; no stroboscopic; plurality of advantages such as long service life are more conducive to energy-conservation; environmental protection; easy to clean; good looking appearance also helps to protect student or clerical workforce's eyesight simultaneously, is more suitable for extensively promoting the use of.
Description of drawings
Above-mentioned only is the general introduction of technical solutions of the utility model, and for can clearer understanding technological means of the present utility model, the utility model is described in further detail below in conjunction with accompanying drawing and the specific embodiment.
Fig. 1 is the structural representation of the utility model combined type office energy-saving lamp.
Fig. 2 is the plan structure schematic diagram of Fig. 1.
Fig. 3 is the structural representation of the A-A section of Fig. 1.
Fig. 4 is the local structure for amplifying schematic diagram of Fig. 3.
The specific embodiment
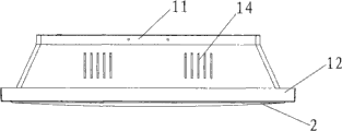
See also shown in Fig. 1-4, the utility model combined type office energy-saving lamp mainly comprises shell 1, dust cap 2 and one group of above ray structure.
Wherein, shell 1 can be assembled by outer casing upper cover 11 and shell rim 12, and the lower end of outer casing upper cover 11 and shell rim 12 be by being connected with screw in the chamber, and in the installing of the inboard of shell rim 12 from Lock buckle 13, in the side of outer casing upper cover 11 louvre 14 is set.
The quantity of ray structure can be preferably more than two groups according to using needs to select, and each is organized ray structure and all is fixed in the enclosure space that shell 1 and dust cap 2 form, and every group of ray structure comprises energy-saving bulb 3, bulb socket 4 and reflection shield 5.
Energy-saving bulb 3 can be selected bulbs such as common energy-saving lamp bubble, trichromatic energy saving lamp, electrodeless lamp, LED lamp for use, is connected with bulb socket 4 by socket or helical structure.
The bulb socket 4 of every group of ray structure is installed on the unified light bed plate 6, and light bed plate 6 and outer casing upper cover 11 are connected by screw, and each bulb socket 4 aligns with the bulb hole of reflection shield 5, and by screw reflection shield 5 is connected with light bed plate 6.
During assembling, earlier bulb socket 4 usefulness set screws are contained on the light bed plate 6, after each bulb socket 4 is inserted in the bulb hole of the many mirror reflectors 5 of integral types, and connect light bed plate 6 and reflection shield 5 with screw, power line unification on each bulb socket 4 is received on the line bank.Alignd with the internal fixation hole of outer casing upper cover 11 in the upper end of light bed plate 6, and connect with screw.Again shell rim 12 is combined in the lower end of outer casing upper cover 11, and four sides are connected and fixed with screw in shell rim 12 chambeies.To insert in the installed inside hole of shell rim 12 from Lock buckle 13, and energy-saving bulb 3 will be screwed into respectively on the bulb socket 4 tighten.Then a side of dust cap 2 is inserted on the cross-drilled hole of shell rim 12, opposite side inserts in Lock buckle 13 fixing voluntarily.
Change energy-saving bulb 3 or cleaning inside as safeguarding, as long as click dust cap 2 sides from Lock buckle 13 belows, dust cap 2 these sides will be ejected automatically, can take down dust cap 2 and carry out work, dismantle very convenient.And after using dust cap 2, the outside is smooth surface, and appearance is easy to clean.
The utility model combined type office energy-saving lamp, assemble by an above energy-saving bulb, the many mirror reflectors of integral type, transparent dust cap and shell, the combination lamp that assembles can be installed in places such as office or classroom as required, and energising can be used.The utility model combined type office energy-saving lamp; effective luminous efficiency of light fixture is increased to more than 80%; room brilliancy is even substantially; have free from glare, long service life; be more conducive to energy-saving and environmental protection, easy to clean; good looking appearance also helps to protect student or clerical workforce's eyesight simultaneously, and the market potential tool is big.
The above; it only is preferred embodiment of the present utility model; be not that the utility model is done any pro forma restriction, those skilled in the art utilize the technology contents of above-mentioned announcement to make a little simple modification, equivalent variations or modification, all drop in the protection domain of the present utility model.
Claims (10)
1. a combined type office energy-saving lamp is characterized in that comprising shell, dust cap and one group of above ray structure, wherein:
Dust cap is transparent, removably connects with shell and forms an enclosure space, and ray structure all is fixed in this enclosure space;
Every group of ray structure comprises energy-saving bulb, bulb socket and reflection shield, and energy-saving bulb is connected with bulb socket, and reflection shield and dust cap lay respectively at the opposite side of energy-saving bulb.
2. combined type office energy-saving lamp according to claim 1 is characterized in that described dust cap is being evenly equipped with a plurality of little convex surfaces on the side of enclosure space.
3. combined type office energy-saving lamp according to claim 1 is characterized in that the bulb socket of described every group of ray structure is all fixing in the enclosure by unified light bed plate.
4. combined type office energy-saving lamp according to claim 3 is characterized in that described shell comprises outer casing upper cover and shell rim.
5. combined type office energy-saving lamp according to claim 4, it is characterized in that described reflection shield and light bed plate are spirally connected, light bed plate and outer casing upper cover are spirally connected, outer casing upper cover and shell rim are spirally connected, energy-saving bulb and bulb socket are pegged graft or are spirally connected, and dust cap and shell rim are by being connected from Lock buckle.
6. combined type office energy-saving lamp according to claim 4 is characterized in that the side of described outer casing upper cover is provided with louvre.
7. combined type office energy-saving lamp according to claim 1 is characterized in that described reflection shield is the many mirror reflectors of integral type.
8. combined type office energy-saving lamp according to claim 7 is characterized in that described reflection shield is plastics or aluminum alloy material, is being provided with the little convex surface of a plurality of circular arcs on the side of energy-saving bulb, and is being coated with highly reflecting films in little convex surface.
9. combined type office energy-saving lamp according to claim 1 is characterized in that described energy-saving bulb is common energy-saving lamp bubble, trichromatic energy saving lamp, electrodeless lamp or LED lamp.
10. according to each described combined type office energy-saving lamp among the claim 1-9, it is characterized in that described ray structure is more than two groups.
Priority Applications (1)
| Application Number | Priority Date | Filing Date | Title |
|---|---|---|---|
| CN2011200476503U CN202056659U (en) | 2011-02-25 | 2011-02-25 | Combined office energy saving lamp |
Applications Claiming Priority (1)
| Application Number | Priority Date | Filing Date | Title |
|---|---|---|---|
| CN2011200476503U CN202056659U (en) | 2011-02-25 | 2011-02-25 | Combined office energy saving lamp |
Publications (1)
| Publication Number | Publication Date |
|---|---|
| CN202056659U true CN202056659U (en) | 2011-11-30 |
Family
ID=45016631
Family Applications (1)
| Application Number | Title | Priority Date | Filing Date |
|---|---|---|---|
| CN2011200476503U Expired - Fee Related CN202056659U (en) | 2011-02-25 | 2011-02-25 | Combined office energy saving lamp |
Country Status (1)
| Country | Link |
|---|---|
| CN (1) | CN202056659U (en) |
Cited By (2)
| Publication number | Priority date | Publication date | Assignee | Title |
|---|---|---|---|---|
| CN103672447A (en) * | 2012-08-31 | 2014-03-26 | 深圳市海洋王照明工程有限公司 | Lamp |
| CN103969932A (en) * | 2013-01-31 | 2014-08-06 | 佛山普立华科技有限公司 | Lamp bulb fixing structure of projector |
-
2011
- 2011-02-25 CN CN2011200476503U patent/CN202056659U/en not_active Expired - Fee Related
Cited By (3)
| Publication number | Priority date | Publication date | Assignee | Title |
|---|---|---|---|---|
| CN103672447A (en) * | 2012-08-31 | 2014-03-26 | 深圳市海洋王照明工程有限公司 | Lamp |
| CN103672447B (en) * | 2012-08-31 | 2018-04-27 | 深圳市海洋王照明工程有限公司 | Lamps and lanterns |
| CN103969932A (en) * | 2013-01-31 | 2014-08-06 | 佛山普立华科技有限公司 | Lamp bulb fixing structure of projector |
Similar Documents
| Publication | Publication Date | Title |
|---|---|---|
| CN201954332U (en) | LED energy-saving lamp | |
| CN201513783U (en) | Lighting lamp panel | |
| CN201066101Y (en) | Ceiling lamp base and large power LED ceiling lamp | |
| CN202056659U (en) | Combined office energy saving lamp | |
| CN202902088U (en) | Light-emitting diode (LED) annular lamp plate | |
| CN201875509U (en) | Removable LED lamps | |
| CN202065866U (en) | LED lamp tube | |
| CN201973485U (en) | LED illuminating lamp | |
| CN201284982Y (en) | Lampshade | |
| CN202056658U (en) | Combined office fluorescent lamp | |
| CN209511741U (en) | A LED ultra-thin ceiling lamp with night light function | |
| CN202484745U (en) | Screw type light emitting diode (LED) spotlight | |
| CN201651837U (en) | LED panel lamp | |
| CN202176942U (en) | High-efficiency energy-saving grille lamp | |
| CN201787378U (en) | New LED Lighting Grille Lights | |
| CN203115747U (en) | High-brightness ultrathin light-emitting diode (LED) ceiling lamp | |
| CN210135514U (en) | Novel multi-functional LED lamp and refrigeration show cupboard of installation this LED lamp | |
| CN202274327U (en) | Light emitting diode (LED) lamp disc | |
| CN202501324U (en) | Light-emitting diode (LED) straight type industrial mining lamp | |
| CN220672169U (en) | Outdoor street lamp pole double-sided lamp box | |
| CN201954414U (en) | Led ceiling lamp | |
| CN200940810Y (en) | Projection lamp | |
| CN202056647U (en) | Combined type electrodeless teaching lamp | |
| CN213542246U (en) | LED down lamp that light efficiency utilization ratio is high | |
| CN208519532U (en) | A kind of LED cylindrical lamp |
Legal Events
| Date | Code | Title | Description |
|---|---|---|---|
| C14 | Grant of patent or utility model | ||
| GR01 | Patent grant | ||
| C17 | Cessation of patent right | ||
| CF01 | Termination of patent right due to non-payment of annual fee |
Granted publication date: 20111130 Termination date: 20140225 |