CN202052725U - Cleaning machine used for cleaning graphite boat - Google Patents

Cleaning machine used for cleaning graphite boat Download PDF

Info

Publication number
CN202052725U
CN202052725U CN2011201380762U CN201120138076U CN202052725U CN 202052725 U CN202052725 U CN 202052725U CN 2011201380762 U CN2011201380762 U CN 2011201380762U CN 201120138076 U CN201120138076 U CN 201120138076U CN 202052725 U CN202052725 U CN 202052725U
Authority
CN
China
Prior art keywords
pipe
graphite boat
major trough
trough body
cleaning machine
Prior art date
Legal status (The legal status is an assumption and is not a legal conclusion. Google has not performed a legal analysis and makes no representation as to the accuracy of the status listed.)
Expired - Fee Related
Application number
CN2011201380762U
Other languages
Chinese (zh)
Inventor
沈凯锋
Current Assignee (The listed assignees may be inaccurate. Google has not performed a legal analysis and makes no representation or warranty as to the accuracy of the list.)
BRIGHT SOLAR ENERGY Co Ltd
Original Assignee
BRIGHT SOLAR ENERGY Co Ltd
Priority date (The priority date is an assumption and is not a legal conclusion. Google has not performed a legal analysis and makes no representation as to the accuracy of the date listed.)
Filing date
Publication date
Application filed by BRIGHT SOLAR ENERGY Co Ltd filed Critical BRIGHT SOLAR ENERGY Co Ltd
Priority to CN2011201380762U priority Critical patent/CN202052725U/en
Application granted granted Critical
Publication of CN202052725U publication Critical patent/CN202052725U/en
Anticipated expiration legal-status Critical
Expired - Fee Related legal-status Critical Current

Links

Images

Classifications

    • YGENERAL TAGGING OF NEW TECHNOLOGICAL DEVELOPMENTS; GENERAL TAGGING OF CROSS-SECTIONAL TECHNOLOGIES SPANNING OVER SEVERAL SECTIONS OF THE IPC; TECHNICAL SUBJECTS COVERED BY FORMER USPC CROSS-REFERENCE ART COLLECTIONS [XRACs] AND DIGESTS
    • Y02TECHNOLOGIES OR APPLICATIONS FOR MITIGATION OR ADAPTATION AGAINST CLIMATE CHANGE
    • Y02PCLIMATE CHANGE MITIGATION TECHNOLOGIES IN THE PRODUCTION OR PROCESSING OF GOODS
    • Y02P70/00Climate change mitigation technologies in the production process for final industrial or consumer products
    • Y02P70/50Manufacturing or production processes characterised by the final manufactured product

Landscapes

  • Cleaning By Liquid Or Steam (AREA)

Abstract

本实用新型提供了一种用于清洗石墨舟的清洗机,其特征在于,包括槽体底角,槽体底角上侧设有主槽体,主槽体底部经由分隔板分为氢氟酸浸泡槽和清水漂洗槽,氢氟酸浸泡槽和清水漂洗槽内各设有一个进水管、一个氮气鼓泡管和一个排废口,进水管连接清水管,氮气鼓泡管连接氮气管,排废口连接排废管,主槽体上部的左右两侧皆设有侧门,主槽体顶部设有抽风管口。本实用新型结构简单、操作方便、清洗效果好。

Figure 201120138076

The utility model provides a cleaning machine for cleaning graphite boats, which is characterized in that it includes a bottom corner of the tank body, a main tank body is arranged on the upper side of the bottom corner of the tank body, and the bottom of the main tank body is divided into hydrogen and fluorine The acid soaking tank and the clean water rinse tank, the hydrofluoric acid soaking tank and the clean water rinse tank are respectively provided with a water inlet pipe, a nitrogen gas bubbling pipe and a waste discharge port, the water inlet pipe is connected to the clean water pipe, and the nitrogen gas bubbling pipe is connected to the nitrogen pipe. The waste outlet is connected to the waste discharge pipe, side doors are provided on the left and right sides of the upper part of the main tank, and the top of the main tank is provided with an exhaust pipe. The utility model has the advantages of simple structure, convenient operation and good cleaning effect.

Figure 201120138076

Description

Be used to clean the cleaning machine of graphite boat
Technical field
The utility model relates to a kind of cleaning machine that is used to clean graphite boat, belongs to the manufacture of solar cells equipment technical field.
Background technology
Cleaning machine is an equipment commonly used in the industrial production.There is no in the prior art and be specifically designed to the cleaning machine that cleans graphite boat, and in the manufacture of solar cells process, it is residual that the graphite boat surface has deposit, when graphite boat is reused, need to clean it earlier, therefore need a kind of simple in structure, easy to operate, cleaning machine that graphite boat is cleaned in good being used to of cleaning performance.
Summary of the invention
The purpose of this utility model provides a kind of simple in structure, easy to operate, cleaning machine that graphite boat is cleaned in good being used to of cleaning performance.
In order to achieve the above object, the utility model provides a kind of cleaning machine that is used to clean graphite boat, it is characterized in that, comprise the cell body base angle, cell body base angle upside is provided with major trough body, the major trough body bottom is divided into hydrofluoric acid dips groove and clear water potcher via demarcation strip, respectively be provided with a water inlet pipe, a nitrogen bubble pipe and a waste discharge mouth in hydrofluoric acid dips groove and the clear water potcher, water inlet pipe connects the clear water pipe, the nitrogen bubble pipe connects nitrogen tube, the waste discharge mouth connects waste pipe, and the left and right sides on major trough body top all is provided with side door, and the major trough body top is provided with the exhausting mouth of pipe.
Preferably, the both sides, front and back on described major trough body top all are provided with two opening and observe door.
Preferably, described demarcation strip is provided with graphite boat and puts platform temporarily.
The utility model provides the carrier of a cleaning for graphite boat, the acid corrosion-resistant environment of the major trough body by the PCV material.Utilize the deposit chemical reaction on hydrofluoric acid solution and graphite boat surface to remove deposit on the graphite boat,, use exhausting that the hydrofluoric acid of volatilization is extracted out by the speed and the uniformity of bubbling accelerated reaction, simple in structure, easy to operate, cleaning performance is good.
Description of drawings
Fig. 1 is the cleaning machine side view that is used to clean graphite boat;
Fig. 2 is the cleaning machine front view that is used to clean graphite boat;
Fig. 3 is the major trough body bottom plan view;
Fig. 4 is the graphite boat side view;
Fig. 5 is the graphite boat vertical view.
The specific embodiment
Specify the utility model below in conjunction with embodiment.
Embodiment
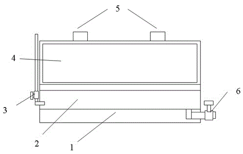
As shown in Figure 1, for being used to clean the cleaning machine side view of graphite boat, the described cleaning machine that is used to clean graphite boat, comprise cell body base angle 1, cell body base angle 1 upside is provided with major trough body 2, major trough body 2 tops are provided with the exhausting mouth of pipe 5, and the left and right sides on major trough body 2 tops all is provided with side door, major trough body 2 rear portions each side be provided with a waste pipe 6.
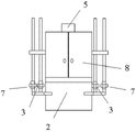
As shown in Figure 2, for being used to clean the cleaning machine front view of graphite boat, major trough body 2 front portions each side be provided with a nitrogen tube 7 and a clear water pipe 3, the both sides, front and back on major trough body 2 tops all are provided with two opening and observe door 8.
As shown in Figure 3, be the major trough body bottom plan view, major trough body 2 bottoms are divided into hydrofluoric acid dips groove and clear water potcher via demarcation strip 12, respectively be provided with a water inlet pipe 10, a nitrogen bubble pipe 9 and a waste discharge mouth 11 in hydrofluoric acid dips groove and the clear water potcher, water inlet pipe 10 connects clear water pipe 3, nitrogen bubble pipe 9 connects nitrogen tube 7, and waste discharge mouth 11 connects waste pipe 6, and demarcation strip 12 is provided with graphite boat and puts platform 13 temporarily.
As shown in Figure 4, be the graphite boat side view; Fig. 5 is its vertical view, when graphite boat 14 is cleaned, at first open side door 4, graphite boat 14 is put into the hydrofluoric acid groove of major trough body 2, open clear water pipe 3 and in hydrofluoric acid groove, add clear water till not having graphite boat 14, add certain density hydrofluoric acid, close side door 4 again, then open nitrogen tube 7 and nitrogen is sent into carry out of rinse bath with accelerated reaction uniformly by bubbling pipe 9, hydrofluoric acid is volatile, need by the exhausting mouth of pipe 5 its extraction, observe the cleaning situations that door 8 is observed graphite boats 14 by two opening, treat to open after graphite boat 14 cleans up side door 4 and graphite boat 14 is placed on graphite boat puts temporarily on the platform 13, open the side door 4 of opposite side again, graphite boat 14 is put into the rinsing of clear water potcher, close side door 4 and open nitrogen tube 7 beginning bubblings, treat that rinsing is clean after, open waste pipe 6, water is discharged, at last graphite boat is taken out.

Claims (3)

1. cleaning machine that is used to clean graphite boat, it is characterized in that, comprise cell body base angle (1), cell body base angle (1) upside is provided with major trough body (2), major trough body (2) bottom is divided into hydrofluoric acid dips groove and clear water potcher via demarcation strip (12), respectively be provided with a water inlet pipe (10) in hydrofluoric acid dips groove and the clear water potcher, a nitrogen bubble pipe (9) and a waste discharge mouth (11), water inlet pipe (10) connects clear water pipe (3), nitrogen bubble pipe (9) connects nitrogen tube (7), waste discharge mouth (11) connects waste pipe (6), the left and right sides on major trough body (2) top all is provided with side door, and major trough body (2) top is provided with the exhausting mouth of pipe (5).
2. the cleaning machine that is used to clean graphite boat as claimed in claim 1 is characterized in that, the both sides, front and back on described major trough body (2) top all are provided with two opening and observe door (8).
3. the cleaning machine that is used to clean graphite boat as claimed in claim 1 is characterized in that, described demarcation strip (12) is provided with graphite boat and puts platform (13) temporarily.
CN2011201380762U 2011-05-04 2011-05-04 Cleaning machine used for cleaning graphite boat Expired - Fee Related CN202052725U (en)

Priority Applications (1)

Application Number Priority Date Filing Date Title
CN2011201380762U CN202052725U (en) 2011-05-04 2011-05-04 Cleaning machine used for cleaning graphite boat

Applications Claiming Priority (1)

Application Number Priority Date Filing Date Title
CN2011201380762U CN202052725U (en) 2011-05-04 2011-05-04 Cleaning machine used for cleaning graphite boat

Publications (1)

Publication Number Publication Date
CN202052725U true CN202052725U (en) 2011-11-30

Family

ID=45012712

Family Applications (1)

Application Number Title Priority Date Filing Date
CN2011201380762U Expired - Fee Related CN202052725U (en) 2011-05-04 2011-05-04 Cleaning machine used for cleaning graphite boat

Country Status (1)

Country Link
CN (1) CN202052725U (en)

Cited By (5)

* Cited by examiner, † Cited by third party
Publication number Priority date Publication date Assignee Title
CN103521473A (en) * 2013-10-29 2014-01-22 宁夏银星能源股份有限公司 Graphite boat cleaning process
CN104043605A (en) * 2013-03-13 2014-09-17 北京北方微电子基地设备工艺研究中心有限责任公司 Carrier cleaning device and carrier cleaning method
CN105195469A (en) * 2015-07-31 2015-12-30 横店集团东磁股份有限公司 Method for cleaning graphite boat and technological sticking points by virtue of ultrasonic wave
CN105537186A (en) * 2016-02-26 2016-05-04 天津英利新能源有限公司 Automatic cleaning device and method for graphite boat
CN107297346A (en) * 2017-06-20 2017-10-27 浙江晶科能源有限公司 Washing machine for photovoltaic cell manufacturing

Cited By (5)

* Cited by examiner, † Cited by third party
Publication number Priority date Publication date Assignee Title
CN104043605A (en) * 2013-03-13 2014-09-17 北京北方微电子基地设备工艺研究中心有限责任公司 Carrier cleaning device and carrier cleaning method
CN103521473A (en) * 2013-10-29 2014-01-22 宁夏银星能源股份有限公司 Graphite boat cleaning process
CN105195469A (en) * 2015-07-31 2015-12-30 横店集团东磁股份有限公司 Method for cleaning graphite boat and technological sticking points by virtue of ultrasonic wave
CN105537186A (en) * 2016-02-26 2016-05-04 天津英利新能源有限公司 Automatic cleaning device and method for graphite boat
CN107297346A (en) * 2017-06-20 2017-10-27 浙江晶科能源有限公司 Washing machine for photovoltaic cell manufacturing

Similar Documents

Publication Publication Date Title
CN202052725U (en) Cleaning machine used for cleaning graphite boat
CN206003748U (en) Multi-functional silicon material cleaning machine
CN203768462U (en) Closed acid mist recycling device
CN203750926U (en) Large automatic cleaning device for aluminum fins
CN102315318B (en) Water-saving washing device of solar battery silicon wafer
CN215613630U (en) Graphite boat cleaning system
CN203916420U (en) A kind of acid mist purifying device
CN203960382U (en) Apparatus for treating exhaust gases, including acid mist, from sources that form acid mist
CN204448678U (en) Graphite boat cleaning device
CN202474005U (en) Silicon chip cleaning device for solar cell
CN207204736U (en) Solar silicon wafers cleaning device
CN202461054U (en) Graphite boat dry type cleaning machine
CN202105819U (en) Cleaning device of cauliflower-shaped polysilicon material with oxide attached to surface
CN211012362U (en) Workpiece drying device and workpiece processing production line with same
CN206259320U (en) A kind of thin-film solar cells chip substandard products retracting device
CN201394556Y (en) Graphite carrier plate cleaning device
CN102836843A (en) Electrolytic degreasing ultrasonic cleaner
CN202155331U (en) Silicon material rinser
CN212091650U (en) A kind of treatment equipment for aluminum workpiece polishing acid mist waste gas
CN203812898U (en) Internal circulation type graphite boat cleaning device
CN203409020U (en) Steel pipe derusting device
CN202438486U (en) Rinsing device of storage battery electrode plate
CN202162174U (en) Manual silicon slice cleaning machine
CN202323064U (en) A device for removing metal impurities in chrome plating solution
CN110804758B (en) A stent polishing device in electrochemical polishing

Legal Events

Date Code Title Description
C14 Grant of patent or utility model
GR01 Patent grant
CF01 Termination of patent right due to non-payment of annual fee
CF01 Termination of patent right due to non-payment of annual fee

Granted publication date: 20111130

Termination date: 20200504