CN202021830U - Compound-driving mechanical servo press machine - Google Patents

Compound-driving mechanical servo press machine Download PDF

Info

Publication number
CN202021830U
CN202021830U CN2010206729506U CN201020672950U CN202021830U CN 202021830 U CN202021830 U CN 202021830U CN 2010206729506 U CN2010206729506 U CN 2010206729506U CN 201020672950 U CN201020672950 U CN 201020672950U CN 202021830 U CN202021830 U CN 202021830U
Authority
CN
China
Prior art keywords
connecting rod
crank
hammer
power
block
Prior art date
Legal status (The legal status is an assumption and is not a legal conclusion. Google has not performed a legal analysis and makes no representation as to the accuracy of the status listed.)
Expired - Fee Related
Application number
CN2010206729506U
Other languages
Chinese (zh)
Inventor
陈修龙
邓昱
Current Assignee (The listed assignees may be inaccurate. Google has not performed a legal analysis and makes no representation or warranty as to the accuracy of the list.)
Shandong University of Science and Technology
Original Assignee
Shandong University of Science and Technology
Priority date (The priority date is an assumption and is not a legal conclusion. Google has not performed a legal analysis and makes no representation as to the accuracy of the date listed.)
Filing date
Publication date
Application filed by Shandong University of Science and Technology filed Critical Shandong University of Science and Technology
Priority to CN2010206729506U priority Critical patent/CN202021830U/en
Application granted granted Critical
Publication of CN202021830U publication Critical patent/CN202021830U/en
Anticipated expiration legal-status Critical
Expired - Fee Related legal-status Critical Current

Links

Images

Landscapes

  • Press Drives And Press Lines (AREA)

Abstract

本实用新型涉及一种复合驱动机械式伺服压力机,所述的压力机包括机架、曲柄、连杆、伺服电机、滚珠丝杠、在滑轨内的滑块、三副构件、冲锤连杆和冲锤,曲柄与机架通过转动副相连接;曲柄与大功率定转速电机相连接;所述的伺服电机与滑块之间通过滚珠丝杠相连接;三副构件的三个节点分别与连杆、冲锤连杆、在滑轨内的滑块连接,连杆与曲柄通过转动副相连接,冲锤连杆的末端通过转动副与冲锤相连接,冲锤处于固定导轨之内。利用大功率定速普通电机和小功率伺服电机的配合,可以精确的控制冲锤的冲压速度以及冲压位置,解决大功率机械式伺服压力机制造成本过高的难题,而且三副构件的加入,也能够使冲锤的压力工作曲线更为多样化,满足各种冲压作业的要求。

Figure 201020672950

The utility model relates to a composite drive mechanical servo press, the press includes a frame, a crank, a connecting rod, a servo motor, a ball screw, a slide block in a slide rail, three auxiliary components, a hammer connection Rod and impact hammer, the crank and the frame are connected through a rotating pair; the crank is connected with a high-power fixed-speed motor; the servo motor and the slider are connected through a ball screw; the three nodes of the three sub-components are respectively It is connected with the connecting rod, the hammer connecting rod, and the slider in the slide rail. The connecting rod and the crank are connected through a rotating pair. The end of the hammer connecting rod is connected with the hammer through a rotating pair. . Using the combination of a high-power fixed-speed ordinary motor and a low-power servo motor, the punching speed and punching position of the hammer can be precisely controlled to solve the problem of high manufacturing costs of high-power mechanical servo presses, and the addition of three components, It can also make the pressure working curve of the ram more diversified to meet the requirements of various stamping operations.

Figure 201020672950

Description

Compound driving device formula servo-pressing machine
Technical field
The utility model relates to the metal forming process equipment that does not have cutting, specifically, relates to a kind of servo-pressing machine.
Background technology
At the metal forming manufacture field, hydraulic press machine and mechanical press are two kinds of main equipments.Hydraulic press machine production efficiency is low, hydraulic system maintenance is difficult and cost is high.Traditional mechanical press lacks " flexibility ", can not obtain the pressure working curve of user according to different processing technology needs, is difficult to satisfy the modern market product diversification, changes requirement fast, that batch is little.In recent years, the mechanical press that servomotor directly drives has appearred, as the wild company of day Home Network link lever press, Japan Xiao Song HF series forcing press, Ohio, USA university duplex bar forcing press, Qiqihar second lathe group forcing press, this press structure form and standard machinery forcing press are basic identical, only change common electric machine into servomotor, can improve the speed characteristics and the dynamic performance of slide block by the input of regulating servomotor, this forcing press is not owing to use flywheel, energy is all provided by servomotor during punching press, if when needing large tonnage pressing machine, then need to use powerful servomotor, but high-power servomotor price is very expensive, and therefore the manufacturing cost of this forcing press is very high.
The utility model content
The purpose of this utility model is at existing metal forming is low, difficult in maintenance with the production efficiency that forcing press exists, cost is high and above-mentioned deficiency such as " flexibility " difference, the utility model provides a kind of compound driving device formula servo-pressing machine, this forcing press is decided the rotating speed motor and the small-power servomotor drives jointly by high-power, high-power constant-seed motor provides the punching press work done, the small-power servomotor is realized the adjustment of block stamp position and speed, this forcing press can be according to different pressure processing crafts, complicated motion output rule is provided, satisfies the requirement of various stamping press.
The technical solution of the utility model is: a kind of compound driving device formula servo-pressing machine, described forcing press comprises frame, crank, connecting rod, servomotor, ball-screw, the slide block in slide rail, three submembers, block stamp connecting rod and block stamp, and crank is connected by revolute pair with frame; Crank is decided the rotating speed motor and is connected with high-power, and high-powerly decides the rotation of rotating speed driven by motor crank by this; Be connected by ball-screw between small-power servomotor and the slide block, the rotation of servomotor drives ball-screw and rotates, and then the slide block that is connected on the ball-screw nut is moved; Three nodes of three submembers are connected with connecting rod, block stamp connecting rod, slide block in slide rail respectively, and connecting rod is connected by revolute pair with crank, and the end of block stamp connecting rod is connected with block stamp by revolute pair, and block stamp is within the fixed guide.
The beneficial effects of the utility model are: the utility model utilizes high-power constant speed common electric machine and small-power servomotor, can control the drawing velocity and the stamping position of block stamp accurately, solve the too high difficult problem of high-power machinery formula servo-pressing machine manufacturing cost, and the adding of three submembers, can make the pressure working curve of block stamp more diversified, finish stamping-out, blanking, bending, moulding, draw and technologies such as pressure-sizing.
Description of drawings
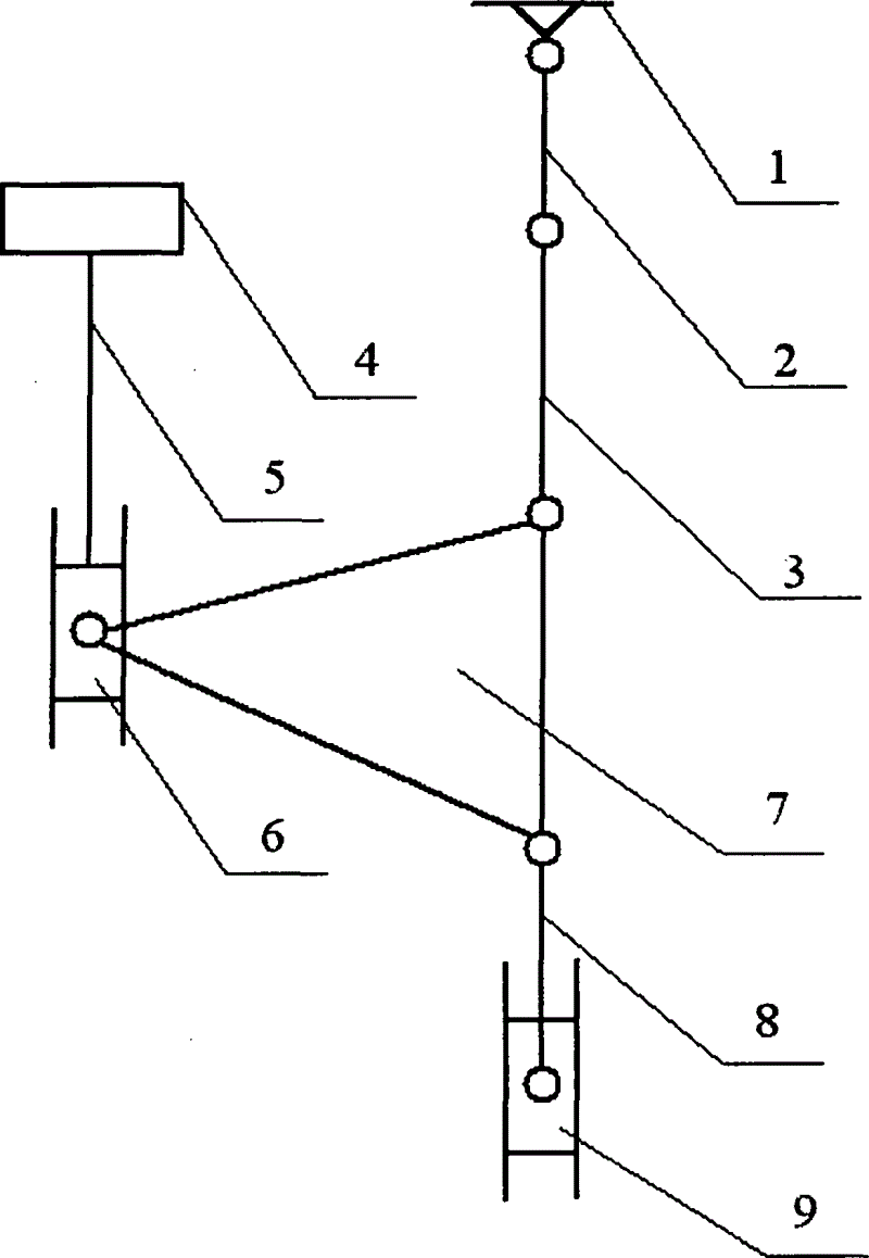
Fig. 1 is the structural representation of the utility model specific embodiment.
The specific embodiment
Specific embodiment of the utility model as shown in Figure 1, a kind of compound driving device formula servo-pressing machine, described forcing press comprises frame 1, crank 2, connecting rod 3, servomotor 4, ball-screw 5, the slide block in slide rail 6, three submembers 7, block stamp connecting rod 8 and block stamp 9, and crank 2 and frame 1 are connected by revolute pair; Crank 2 is decided the rotating speed motor and is connected with high-power, and high-powerly decides 2 rotations of rotating speed driven by motor crank by this; Be connected by ball-screw 5 between small-power servomotor 4 and the slide block 6, the rotation of servomotor 4 drives ball-screw 5 and rotates, and then the slide block 6 that is connected on ball-screw 5 nuts is moved; Three nodes of three submembers 7 are connected with connecting rod 3, block stamp connecting rod 8, slide block 6 in slide rail respectively, and connecting rod 3 and crank 2 are connected by revolute pair, and the end of block stamp connecting rod 8 is connected with block stamp 9 by revolute pair, and block stamp 9 is within the fixed guide.
During work, crank 2 rotates under the high-power drive of deciding the rotating speed motor, for forcing press provides main kinetic energy, utilize ball screw assembly, 5 that rotatablely moving of servomotor 4 is converted to rectilinear motion, thereby driving slide block 6 beginnings moves in slide rail, realize the adjustment of block stamp 9 positions and speed, under crank 2 and slide block 6 associated movement effects, connecting rod 3 and three submembers 7 are according to complex track setting in motion comparatively, in this process, block stamp 9 also setting in motion under the effect of block stamp connecting rod 8 is because it is spacing to be subjected to the horizontal direction of guide rail, and block stamp connecting rod 8 is hinged again with block stamp 9, so block stamp 9 can only punching press up and down in guide rail.

Claims (1)

1. compound driving device formula servo-pressing machine, it is characterized in that: described forcing press comprises frame (1), crank (2), connecting rod (3), servomotor (4), ball-screw (5), the slide block in slide rail (6), three submembers (7), block stamp connecting rod (8) and block stamp (9), and crank (2) is connected by revolute pair with frame (1); Crank (2) is decided the rotating speed motor and is connected with high-power, and high-powerly decides rotating speed driven by motor crank (2) rotation by this; Be connected by ball-screw (5) between small-power servomotor (4) and the slide block (6), the rotation of servomotor (4) drives ball-screw (5) and rotates, and then the slide block (6) that is connected on ball-screw (5) nut is moved; Three nodes of three submembers (7) are connected with connecting rod (3), block stamp connecting rod (8), slide block (6) in slide rail respectively, connecting rod (3) is connected by revolute pair with crank (2), the end of block stamp connecting rod (8) is connected with block stamp (9) by revolute pair, and block stamp (9) is within the fixed guide.
CN2010206729506U 2010-12-14 2010-12-14 Compound-driving mechanical servo press machine Expired - Fee Related CN202021830U (en)

Priority Applications (1)

Application Number Priority Date Filing Date Title
CN2010206729506U CN202021830U (en) 2010-12-14 2010-12-14 Compound-driving mechanical servo press machine

Applications Claiming Priority (1)

Application Number Priority Date Filing Date Title
CN2010206729506U CN202021830U (en) 2010-12-14 2010-12-14 Compound-driving mechanical servo press machine

Publications (1)

Publication Number Publication Date
CN202021830U true CN202021830U (en) 2011-11-02

Family

ID=44846798

Family Applications (1)

Application Number Title Priority Date Filing Date
CN2010206729506U Expired - Fee Related CN202021830U (en) 2010-12-14 2010-12-14 Compound-driving mechanical servo press machine

Country Status (1)

Country Link
CN (1) CN202021830U (en)

Cited By (1)

* Cited by examiner, † Cited by third party
Publication number Priority date Publication date Assignee Title
CN102173076A (en) * 2010-12-14 2011-09-07 山东科技大学 Compound drive mechanical servo press

Cited By (1)

* Cited by examiner, † Cited by third party
Publication number Priority date Publication date Assignee Title
CN102173076A (en) * 2010-12-14 2011-09-07 山东科技大学 Compound drive mechanical servo press

Similar Documents

Publication Publication Date Title
CN101396876B (en) Double-motor mechanical coordination in-phase slider driven eight-bar servo pressure device
CN203438560U (en) Servo screw press
CN201092120Y (en) Crank-connecting rod and punch press main drive unit with multi-rod drive structure
CN102632629A (en) Miniature table press of ball screw driven by AC servo direct drive motor
CN101474877B (en) Mechanical type numerical control press machine
CN103991235A (en) Crank connecting rod type double-station punching machine with linear motor
CN102555254A (en) Main transmission mechanism for high-speed press
CN103991230A (en) Transmission type double-station punching machine with crank connecting rod structure
CN201456435U (en) Connecting rod force increasing mechanism of servo press machine
CN101863132A (en) A mechanical servo drive main transmission device for CNC turret punch press
CN102173076A (en) Compound drive mechanical servo press
CN102173075A (en) Mechanical servo press
CN201941173U (en) Combined drive mechanical servo press with two degrees of freedom
CN204172414U (en) Automatic punching machine
CN202146944U (en) High-speed stamping machine tool press slider bottom dead center position compensation adjustment device
CN103991234A (en) Transmission type double-station punching machine
CN202021830U (en) Compound-driving mechanical servo press machine
CN201669902U (en) Mechanical CNC press
CN102717018A (en) Connecting rod press machine with swinging guide rod
CN101011866A (en) Screw precision pressing machine
CN206483863U (en) A high-speed punch
CN201033469Y (en) Energy-saving real-time controlled dragging and punching mechanism for the driving of linear electric motor
CN101863131B (en) Redundant driving main transmission device of mechanical servo numerical control turret punching machine
CN103071723B (en) Main transmission device of mechanical servo numerical-control turret punching machine
CN202088492U (en) Six-bar servo press machine with triangular swing link

Legal Events

Date Code Title Description
C14 Grant of patent or utility model
GR01 Patent grant
C17 Cessation of patent right
CF01 Termination of patent right due to non-payment of annual fee

Granted publication date: 20111102

Termination date: 20121214