CN202011775U - 一种悬浮填料接触氧化池 - Google Patents

一种悬浮填料接触氧化池 Download PDF

Info

Publication number
CN202011775U
CN202011775U CN201120067234XU CN201120067234U CN202011775U CN 202011775 U CN202011775 U CN 202011775U CN 201120067234X U CN201120067234X U CN 201120067234XU CN 201120067234 U CN201120067234 U CN 201120067234U CN 202011775 U CN202011775 U CN 202011775U
Authority
CN
China
Prior art keywords
reaction zone
water
filler
floating stuffing
contact oxidation
Prior art date
Legal status (The legal status is an assumption and is not a legal conclusion. Google has not performed a legal analysis and makes no representation as to the accuracy of the status listed.)
Expired - Fee Related
Application number
CN201120067234XU
Other languages
English (en)
Inventor
卢峰
王国华
许欢
张辰
邹伟国
张宁
陈嫣
Current Assignee (The listed assignees may be inaccurate. Google has not performed a legal analysis and makes no representation or warranty as to the accuracy of the list.)
SHANGHAI SHUANGJUN ENVIRONMENTAL PROTECTION ENGINEERING DESIGN CONSULTING CO LTD
Shanghai Municipal Engineering Design Insitute Group Co Ltd
Original Assignee
SHANGHAI SHUANGJUN ENVIRONMENTAL PROTECTION ENGINEERING DESIGN CONSULTING CO LTD
Shanghai Municipal Engineering Design Insitute Group Co Ltd
Priority date (The priority date is an assumption and is not a legal conclusion. Google has not performed a legal analysis and makes no representation as to the accuracy of the date listed.)
Filing date
Publication date
Application filed by SHANGHAI SHUANGJUN ENVIRONMENTAL PROTECTION ENGINEERING DESIGN CONSULTING CO LTD, Shanghai Municipal Engineering Design Insitute Group Co Ltd filed Critical SHANGHAI SHUANGJUN ENVIRONMENTAL PROTECTION ENGINEERING DESIGN CONSULTING CO LTD
Priority to CN201120067234XU priority Critical patent/CN202011775U/zh
Application granted granted Critical
Publication of CN202011775U publication Critical patent/CN202011775U/zh
Anticipated expiration legal-status Critical
Expired - Fee Related legal-status Critical Current

Links

Images

Classifications

    • YGENERAL TAGGING OF NEW TECHNOLOGICAL DEVELOPMENTS; GENERAL TAGGING OF CROSS-SECTIONAL TECHNOLOGIES SPANNING OVER SEVERAL SECTIONS OF THE IPC; TECHNICAL SUBJECTS COVERED BY FORMER USPC CROSS-REFERENCE ART COLLECTIONS [XRACs] AND DIGESTS
    • Y02TECHNOLOGIES OR APPLICATIONS FOR MITIGATION OR ADAPTATION AGAINST CLIMATE CHANGE
    • Y02WCLIMATE CHANGE MITIGATION TECHNOLOGIES RELATED TO WASTEWATER TREATMENT OR WASTE MANAGEMENT
    • Y02W10/00Technologies for wastewater treatment
    • Y02W10/10Biological treatment of water, waste water, or sewage

Landscapes

  • Biological Treatment Of Waste Water (AREA)

Abstract

本实用新型涉及一种悬浮填料接触氧化池,池体内设有反应区,其特征在于在该反应区的进水端和出水端分别设有栅网,反应区内装填悬浮填料,反应区出水端设填料回流装置与反应区进水端连通。该悬浮填料接触氧化池主要用来处理微污染原水和富营养化景观水体,有效去除水中的氮营养物。本实用新型与现有技术相比,具有以下优点:1.填料在池中为流化状态,安装和维修简便。2.控制简单,管理方便。3.污泥产量小,基本不需要排泥。4.无需反冲洗,节省水资源。

Description

一种悬浮填料接触氧化池
技术领域
本实用新型涉及微污染原水、富营养化景观水体常规及应急处理的技术领域,具体地说是一种主要去除水体中氮营养物的悬浮填料接触氧化池。
背景技术
目前,微污染原水、富营养化景观水体氮营养物处理通常采用曝气生物滤池和普通接触氧化技术。曝气生物滤池技术处理效果好,但存在自控设备较多,操作管理复杂,维修困难等缺点;普通接触氧化池存在安装和检修工作量大,填料容易板结等缺点。
发明内容
本实用新型的目的在于提供一种悬浮填料接触氧化池,有效去除微污染原水、富营养化景观水体中的氮营养物,可代替各种曝气生物滤池和接触氧化池。
为了实现这一目的,本实用新型的技术方案为:一种悬浮填料接触氧化池,池体内设有反应区,其特征在于在该反应区的进水端和出水端分别设有栅网,反应区内装填悬浮填料,反应区出水端设填料回流装置与反应区进水端连通。根据本实用新型的一个实施例,该填料回流装置为气提泵。
该悬浮填料接触氧化池可应用在微污染原水自来水厂的改造及城市富营养化景观水体的净化工程中,有效去除水中的氮营养物,提高出水水质。本实用新型与现有技术相比,具有以下优点:1.填料在池中为流化状态,安装和维修简便。2.控制简单,管理方便。3.污泥产量小,基本不需要排泥。4.无需反冲洗,节省水资源。
附图说明
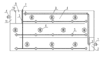
图1为本实用新型的结构示意图。
图2为图1的俯视图。
具体实施方式
下面结合附图和实施例对本实用新型作详细说明。
一种悬浮填料接触氧化池,包括池体,该池体内设有反应区4,反应区4一端为进水端,另一端为出水端,进水端外侧为进水区2,进水区2设有进水管1,出水端外侧为稳流区9,稳流区9通过溢流堰10与出水区11连接,出水区11设有出水管12,反应区的进水端和出水端均设有栅网3,反应区4内装填有空心圆柱形悬浮填料6,反应区4底部设有曝气器5,曝气器5通过空气管7与供气装置连接,反应区出水端的栅网内侧设有气提泵8,气体泵8的输出端位于反应区进水端的栅网内侧。
该悬浮填料接触氧化池作为氮营养物去除的主要构筑物,一般设在自来水厂絮凝沉淀池之前,或景观水体处理各构筑物之前。原水重力提升经进水管1进入进水区2,通过栅网3进入反应区4,由反应区内悬浮填料上附着生长的生物膜对水中的氮营养物进行去除,处理水经栅网3流入稳流区9,经溢流堰10溢流至出水区11,再经出水管12进入下一处理单元。悬浮填料在稳流区9之前被栅网3拦截,由气提泵回流至反应区4前端,使反应区填料保持均化状态。反应区底部设曝气器5,由空气管7供气提供生物膜生长所需的氧气。
本实用新型在水池的进、出水端设拦截栅网,防止填料流失。水池为推流式,出水端的填料经气提泵提升回流至进水端,均化池内填料,防止局部壅堵。该悬浮填料接触氧化池主要用来处理微污染原水和富营养化景观水体,有效去除水中的氮营养物。
根据本实用新型的一个实施例,设在进出水端的栅网3为平板式或滚筒式拦截栅网,栅网间距为1~3cm。悬浮填料直径为2~5cm,比重为0.96~0.98g/cm3,投配率为15~60%。

Claims (5)

1.一种悬浮填料接触氧化池,池体内设有反应区,其特征在于在该反应区的进水端和出水端分别设有栅网,反应区内装填悬浮填料,反应区出水端设填料回流装置与反应区进水端连通。
2.根据权利要求1所述的悬浮填料接触氧化池,其特征在于该填料回流装置为气提泵。
3.根据权利要求2所述的悬浮填料接触氧化池,其特征在于反应区一端为进水端,另一端为出水端,进水端外侧为进水区,进水区设有进水管,出水端外侧为稳流区,稳流区通过溢流堰与出水区连接,出水区设有出水管,反应区底部设有曝气器,反应区出水端的栅网内侧设有气提泵,气体泵的输出端位于反应区进水端的栅网内侧。
4.根据权利要求3所述的悬浮填料接触氧化池,其特征在于进出水端设有平板式或滚筒式拦截栅网,栅网间距为1~3cm。
5.根据权利要求4所述的悬浮填料接触氧化池,其特征是悬浮填料直径为2~5cm,比重为0.96~0.98g/cm3
CN201120067234XU 2011-03-15 2011-03-15 一种悬浮填料接触氧化池 Expired - Fee Related CN202011775U (zh)

Priority Applications (1)

Application Number Priority Date Filing Date Title
CN201120067234XU CN202011775U (zh) 2011-03-15 2011-03-15 一种悬浮填料接触氧化池

Applications Claiming Priority (1)

Application Number Priority Date Filing Date Title
CN201120067234XU CN202011775U (zh) 2011-03-15 2011-03-15 一种悬浮填料接触氧化池

Publications (1)

Publication Number Publication Date
CN202011775U true CN202011775U (zh) 2011-10-19

Family

ID=44782389

Family Applications (1)

Application Number Title Priority Date Filing Date
CN201120067234XU Expired - Fee Related CN202011775U (zh) 2011-03-15 2011-03-15 一种悬浮填料接触氧化池

Country Status (1)

Country Link
CN (1) CN202011775U (zh)

Cited By (2)

* Cited by examiner, † Cited by third party
Publication number Priority date Publication date Assignee Title
CN103332781A (zh) * 2013-07-11 2013-10-02 集美大学 一种水产养殖用移动床生物膜反应器
CN108423827A (zh) * 2018-04-20 2018-08-21 成都利尔环保技术开发有限公司 黑臭水体处理一体化净化设备

Cited By (3)

* Cited by examiner, † Cited by third party
Publication number Priority date Publication date Assignee Title
CN103332781A (zh) * 2013-07-11 2013-10-02 集美大学 一种水产养殖用移动床生物膜反应器
CN108423827A (zh) * 2018-04-20 2018-08-21 成都利尔环保技术开发有限公司 黑臭水体处理一体化净化设备
CN108423827B (zh) * 2018-04-20 2024-04-23 成都利尔环保技术开发有限公司 黑臭水体处理一体化净化设备

Similar Documents

Publication Publication Date Title
CN103979706B (zh) 一种外循环式加压溶气气浮-膜分离水处理方法及装置
CN205115173U (zh) 海水淡化水矿化装备系统
CN203613071U (zh) 一种污水处理装置
CN108249691B (zh) 一体化低能耗分散式村镇生活污水处理系统
CN201292263Y (zh) 竖流式好气浮滤池
CN204151131U (zh) 一种防堵塞曝气生物滤池
CN202379848U (zh) 再生纸废水处理系统
CN204873956U (zh) 一种改进型处理高浓度难降解有机废水的铁碳微电解设备
CN202610021U (zh) 一种外置式厌氧膜生物反应器
CN202379803U (zh) 一种错流式曝气沉淀过滤装置
CN205347131U (zh) 一种餐饮废水的处理再生利用系统
CN203794724U (zh) 一种外循环式加压溶气气浮-膜分离水处理装置
CN202011775U (zh) 一种悬浮填料接触氧化池
CN201882972U (zh) 一种格网式曝气池
CN204752494U (zh) 一种医院污水处理系统
CN101891300B (zh) 一种光生物污水处理设备
CN202430051U (zh) 高效复合厌氧反应器
CN202080953U (zh) 具有snd脱氮功能的污泥无回流装置
CN203890119U (zh) 一种固定化活性污泥与mbr共建污水处理池
CN202625981U (zh) 一种竖流式沉淀池
CN105330105B (zh) 无机‑有机‑微生物絮凝一体化装置
CN103922535B (zh) 一种mbmbr中水处理装置
CN208265964U (zh) 一种膜法水处理设备
CN207827959U (zh) 一种处理沼液的曝气生物滤池
CN206244612U (zh) 新型地埋式污水处理装置

Legal Events

Date Code Title Description
C14 Grant of patent or utility model
GR01 Patent grant
CF01 Termination of patent right due to non-payment of annual fee
CF01 Termination of patent right due to non-payment of annual fee

Granted publication date: 20111019

Termination date: 20200315