CN202004212U - Plane connector structure of power changing and charging system of electric vehicle, - Google Patents

Plane connector structure of power changing and charging system of electric vehicle, Download PDF

Info

Publication number
CN202004212U
CN202004212U CN2011200691603U CN201120069160U CN202004212U CN 202004212 U CN202004212 U CN 202004212U CN 2011200691603 U CN2011200691603 U CN 2011200691603U CN 201120069160 U CN201120069160 U CN 201120069160U CN 202004212 U CN202004212 U CN 202004212U
Authority
CN
China
Prior art keywords
pressure pole
high pressure
electric motor
pole
mount pad
Prior art date
Legal status (The legal status is an assumption and is not a legal conclusion. Google has not performed a legal analysis and makes no representation as to the accuracy of the status listed.)
Expired - Fee Related
Application number
CN2011200691603U
Other languages
Chinese (zh)
Inventor
张正明
胡寸魁
Current Assignee (The listed assignees may be inaccurate. Google has not performed a legal analysis and makes no representation or warranty as to the accuracy of the list.)
Guiyang Putian Logistics Technology Co Ltd
Original Assignee
Guiyang Putian Logistics Technology Co Ltd
Priority date (The priority date is an assumption and is not a legal conclusion. Google has not performed a legal analysis and makes no representation as to the accuracy of the date listed.)
Filing date
Publication date
Application filed by Guiyang Putian Logistics Technology Co Ltd filed Critical Guiyang Putian Logistics Technology Co Ltd
Priority to CN2011200691603U priority Critical patent/CN202004212U/en
Application granted granted Critical
Publication of CN202004212U publication Critical patent/CN202004212U/en
Anticipated expiration legal-status Critical
Expired - Fee Related legal-status Critical Current

Links

Images

Landscapes

  • Connector Housings Or Holding Contact Members (AREA)
  • Electric Propulsion And Braking For Vehicles (AREA)

Abstract

The utility model discloses a plane connector structure of a power changing and charging system of an electric vehicle, comprising an installing seat (1). The integrated installing seat (1) is at least provided with two high-voltage polar columns (2) and more than two low-voltage polar columns (3); the upper ends of the high-voltage polar columns (2) are connected with flexible wires (4); the other ends of the flexible wires (4) are connected onto switching seats (8) separated from the installing seat (1); and external cables (7) are also connected onto the switching seats (8) and are connected together with the flexible wires (4). The plane connector structure not only has the advantages that the structure is compact, the production efficiency and the installation efficiency are high, the production cost is low and the interchangeability is good, but also has the advantages that when the plane connector structure is used, the influence by the external cables can be avoided, the installing seats and the polar columns can not be deformed, the conducting effect and the waterproof and dustproof effect are good, the service life is longer, and the like.

Description

Electric motor car changes electric charging system planar connector structure
Technical field
The utility model relates to a kind of electric motor car and changes electric charging system planar connector structure, belongs to electric motor vehicle cell box and changes electric charging technique field.
Background technology
At present, what be used in the prior art that planar junction that electric motor car changes electricity (change battery or storage battery) or charging generally adopts is the distributing connecting mode, as the disclosed application number of Chinese patent literature is that the technical scheme that " 200910086523.1 ", utility model name are called " a kind of planar connector structure " is exactly a kind of planar junction of typical distributing connecting mode, such connecting mode, it is lower to exist production and installation effectiveness, production and installation cost are higher, and the relative position accuracy of each pole is lower; In addition, planar junction of the prior art acts directly on the external cable line on the high pressure pole or directly is connected on the mount pad of high pressure pole, this in use, because the external cable line is very hard, be easy between high-field electrode or mount pad, produce interaction force, thereby cause the high-field electrode distortion, or cause to produce between mount pad and the high-field electrode and be out of shape, and make easily to produce virtual contact between pole, these problems have all seriously influenced the energising effect of high-voltage contact; And pole is only worked under the environment of dustproof and waterproof and just can better be brought into play and effect, and planar junction ubiquity of the prior art the problem of pole dustproof and waterproof weak effect.Therefore, to change the result of use of electric charging system planar junction still be not ideal enough in existing electric motor car.
Summary of the invention
The purpose of this utility model is: provide that a kind of compact conformation, production and installation effectiveness are higher, production cost is lower and can not be subjected to the electric motor car that the external cable line influences, water proof and dust proof is effective, useful life is long to change electric charging system planar connector structure when using, to overcome the deficiencies in the prior art.
The utility model is to constitute like this: a kind of electric motor car of the present utility model changes electric charging system planar connector structure and is, this structure comprises mount pad, two high pressure poles and the plural low pressure pole that is connected with battery case that are used for to the battery case charging are installed on an all-in-one-piece mount pad at least, upper end at the high pressure pole is connected with flexible conductor, on the adapter that the other end of flexible conductor is connected with mount pad separates, the external cable line also is connected on the adapter and by adapter and flexible conductor and links together.
Above-mentioned high pressure pole and low pressure pole are T shape structure, each high pressure pole and low pressure pole all are installed in respectively in the pole installing hole of mount pad, on each high pressure pole and low pressure pole, all be with butterfly spring respectively, and each butterfly spring is all distinguished roof pressure between the pole installing hole of the high pressure pole of T shape structure and low pressure pole and mount pad, the external cable line is connected on the larger diameter end of high pressure pole upper end, and snap ring all is housed respectively on the smaller diameter rods bottom of each high pressure pole and low pressure pole.
On the mounting panel that above-mentioned mount pad is installed in electric motor vehicle cell box is connected.
On the mounting panel that above-mentioned adapter is installed in electric motor vehicle cell box is connected or be installed on any position of electric motor car.
On above-mentioned each high pressure pole and low pressure pole, all be with dirt-proof boot, and dirt-proof boot is enclosed within simultaneously on the boss of pole installing hole of mount pad.
All be provided with at the low side of above-mentioned each high pressure pole and low pressure pole and be used for the connection fastening end that is connected with the electric motor vehicle cell box electrode.
The waterproof and dustproof cover that whole high pressure poles and low pressure pole can be covered in is installed on above-mentioned mount pad.
Owing to adopted technique scheme, the utility model all is installed in all high-field electrodes and the low-field electrode that electric motor car changes electric charging system planar junction on the all-in-one-piece mount pad, and the external cable line is connected on the adapter that separates with all-in-one-piece mount pad, simultaneously at least one high-field electrode, connect flexible conductor, and the other end of this flexible conductor is connected on the adapter and by adapter is connected with the external cable line.Mount pad structure of the present utility model changes original distributed structure into monolithic construction, and this can not only enhance productivity and installation effectiveness greatly, but also has guaranteed the accuracy of relative position between each high pressure pole or the low pressure pole; Simultaneously, because therefore the modularization of integral installation seat the utlity model has very high interchangeability.In addition, the utility model passes through adapter, external cable line and being connected of high pressure pole or mount pad are separated, effectively avoided the interaction force that is rigidly connected and is produced of external cable line and high pressure pole or mount pad, avoid pole to connect the generation that virtual contact phenomena occurs, thereby improved the energising effect of pole effectively.In addition, high pressure pole of the present utility model and low pressure pole adopt the moving leader formula structure of T shape structure, in pole when butt joint of its upper end, seal pole on every side by the extruding of dirt-proof boot with other pole cover, can play the effect of dustproof and waterproof effectively.Therefore, the utility model compared with prior art, the utility model not only has compact conformation, production and installation effectiveness height, production cost is lower, interchangeability is good advantage, but also have when use can not be subjected to that the external cable line influences, mount pad and pole can distortion, conductive effects and advantage such as the water proof and dust proof effect is all good and useful life is long.
Description of drawings
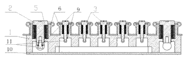
Fig. 1 adopts structural representation of the present utility model;
Fig. 2 is that the A-A of Fig. 1 analyses and observe and removed the structural representation behind the waterproof and dustproof cover;
Fig. 3 is a dirt-proof boot perspective view of the present utility model.
Description of reference numerals: the 1-mount pad, 2-high pressure pole, 3-low pressure pole, the 4-flexible conductor, the 5-butterfly spring, the 6-dirt-proof boot, 7-external cable line, the 8-adapter, the 9-snap ring, the 10-mounting panel, 11-connects fastening end, 12-waterproof and dustproof cover.
Embodiment
The utility model is described in further detail below in conjunction with drawings and Examples.
Embodiment of the present utility model: when making electric motor car and change the planar junction that electric charging system uses, adopt following method to make, all high-field electrodes and low-field electrode that electric motor car soon changes electric charging system planar junction all are installed on the all-in-one-piece mount pad, and the external cable line is connected on the adapter that separates with all-in-one-piece mount pad, simultaneously at least one high-field electrode, connect flexible conductor, and the other end of this flexible conductor is connected on the adapter and by adapter is connected with the external cable line.
Of the present utility model a kind of electric motor car of Zhi Zuoing changes electric charging system planar connector structure as depicted in figs. 1 and 2 according to the method described above, this structure comprises mount pad 1, two high pressure poles 2 and two above low pressure poles 3 are installed on an all-in-one-piece mount pad 1 at least, connect flexible conductor 4 in the upper end of high pressure pole 2, the other end of flexible conductor 4 is connected on the adapter 8 that separates with mount pad 1, external cable line 7 also is connected on the adapter 8 and links together by adapter 8 and flexible conductor 4; In order to make high pressure pole 2 and low pressure pole 3 have better conductive effect, high pressure pole 2 and low pressure pole 3 are made as T shape planform (as shown in Figure 2), simultaneously each high pressure pole 2 and low pressure pole 3 all are installed in respectively in the pole installing hole of mount pad 1, on each high pressure pole 2 and low pressure pole 3, all overlap a butterfly spring 5 respectively, make each butterfly spring 5 all distinguish roof pressure between the pole installing hole of the high pressure pole 2 of T shape structure and low pressure pole 3 and mount pad 1, and external cable line 7 is connected on the larger diameter end of high pressure pole 2 upper ends, snap ring 9 all is housed respectively on the smaller diameter rods bottom of each high pressure pole 2 and low pressure pole 3, and the butterfly spring 5 that high pressure pole 2 or low pressure pole 3 can not be mounted ejects; Mount pad 1 can be installed on the mounting panel 10 that is connected with electric motor vehicle cell box during use; Also adapter 8 can be installed on the mounting panel 10 that is connected with electric motor vehicle cell box, or on any position of being convenient to connect and using that adapter 8 is installed in electric motor car according to needs easy to use; In order to have dustproof and waterproof effect preferably, on each high pressure pole 2 and low pressure pole 3, all overlap a dirt-proof boot 6, simultaneously dirt-proof boot 6 is enclosed within on the boss of pole installing hole of mount pad 1 (as shown in Figure 2), the structural representation of dirt-proof boot 6 is as shown in Figure 3; Convenient and reliable in order to be connected with battery case in use, all install one at the low side of each high pressure pole 2 and low pressure pole 3 and be used for the connection fastening end 11(that is connected with the electric motor vehicle cell box electrode as shown in Figure 2); In order to reach better dustproof and waterproof effect, on mount pad 1, install waterproof and dustproof cover 12 that an energy covers in whole high pressure poles 2 and low pressure pole 3 (as shown in Figure 1).

Claims (7)

1. an electric motor car changes electric charging system planar connector structure, comprise mount pad (1), it is characterized in that: two high pressure poles (2) and two above low pressure poles (3) are installed on an all-in-one-piece mount pad (1) at least, be connected with flexible conductor (4) in the upper end of high pressure pole (2), the other end of flexible conductor (4) is connected on the adapter (8) that separates with mount pad (1), and external cable line (7) also is connected adapter (8) and upward and by adapter (8) and flexible conductor (4) links together.
2. electric motor car according to claim 1 changes electric charging system planar connector structure, it is characterized in that: high pressure pole (2) and low pressure pole (3) are T shape structure, each high pressure pole (2) and low pressure pole (3) all are installed in respectively in the pole installing hole of mount pad (1), on each high pressure pole (2) and low pressure pole (3), all be with butterfly spring (5) respectively, and each butterfly spring (5) is all distinguished roof pressure between the pole installing hole of the high pressure pole (2) of T shape structure and low pressure pole (3) and mount pad (1), external cable line (7) is connected on the larger diameter end of high pressure pole (2) upper end, on the smaller diameter rods bottom of each high pressure pole (2) and low pressure pole (3) snap ring (9) is housed respectively all.
3. electric motor car according to claim 1 changes electric charging system planar connector structure, it is characterized in that: mount pad (1) is installed on the mounting panel (10) that is connected with electric motor vehicle cell box.
4. electric motor car according to claim 1 changes electric charging system planar connector structure, it is characterized in that: adapter (8) is installed in the mounting panel (10) that is connected with electric motor vehicle cell box and goes up or be installed on any position of electric motor car.
5. electric motor car according to claim 1 and 2 changes electric charging system planar connector structure, it is characterized in that: on each high pressure pole (2) and low pressure pole (3), all be with dirt-proof boot (6), and dirt-proof boot (6) is enclosed within simultaneously on the boss of pole installing hole of mount pad (1).
6. electric motor car according to claim 1 and 2 changes electric charging system planar connector structure, it is characterized in that: all be provided with at the low side of each high pressure pole (2) and low pressure pole (3) and be used for the connection fastening end (11) that is connected with the electric motor car electrode.
7. electric motor car according to claim 1 changes electric charging system planar connector structure, it is characterized in that: the waterproof and dustproof cover (12) that whole high pressure poles (2) and low pressure pole (3) can be covered in is installed on mount pad (1).
CN2011200691603U 2011-03-16 2011-03-16 Plane connector structure of power changing and charging system of electric vehicle, Expired - Fee Related CN202004212U (en)

Priority Applications (1)

Application Number Priority Date Filing Date Title
CN2011200691603U CN202004212U (en) 2011-03-16 2011-03-16 Plane connector structure of power changing and charging system of electric vehicle,

Applications Claiming Priority (1)

Application Number Priority Date Filing Date Title
CN2011200691603U CN202004212U (en) 2011-03-16 2011-03-16 Plane connector structure of power changing and charging system of electric vehicle,

Publications (1)

Publication Number Publication Date
CN202004212U true CN202004212U (en) 2011-10-05

Family

ID=44706939

Family Applications (1)

Application Number Title Priority Date Filing Date
CN2011200691603U Expired - Fee Related CN202004212U (en) 2011-03-16 2011-03-16 Plane connector structure of power changing and charging system of electric vehicle,

Country Status (1)

Country Link
CN (1) CN202004212U (en)

Cited By (2)

* Cited by examiner, † Cited by third party
Publication number Priority date Publication date Assignee Title
CN102683936A (en) * 2011-03-16 2012-09-19 贵阳普天物流技术股份有限公司 Structure of plane connector of power conversion and charging system of electric vehicle and connecting method thereof
CN103419728A (en) * 2013-09-02 2013-12-04 重庆文理学院 Automatic opening/closing control instrument for charging socket door cover of electric automobile

Cited By (3)

* Cited by examiner, † Cited by third party
Publication number Priority date Publication date Assignee Title
CN102683936A (en) * 2011-03-16 2012-09-19 贵阳普天物流技术股份有限公司 Structure of plane connector of power conversion and charging system of electric vehicle and connecting method thereof
CN103419728A (en) * 2013-09-02 2013-12-04 重庆文理学院 Automatic opening/closing control instrument for charging socket door cover of electric automobile
CN103419728B (en) * 2013-09-02 2016-03-30 重庆文理学院 A kind of charging electric vehicle socket door closure automatic switch control facility

Similar Documents

Publication Publication Date Title
CN216563343U (en) Battery end electric connector with good waterproof function, battery pack and electric automobile
CN205985557U (en) Electric connector's electric connection structure and electric connector
CN114156763B (en) Economical switchgear suitable for wind power
CN103337599B (en) Multifunctional battery cover and power battery pack thereof
CN102683936A (en) Structure of plane connector of power conversion and charging system of electric vehicle and connecting method thereof
CN202004212U (en) Plane connector structure of power changing and charging system of electric vehicle,
CN211507968U (en) Stepped lateral bending high-voltage connector
CN205039367U (en) Connector for electric vehicle and electric vehicle
CN205039368U (en) Connector for electric vehicle and electric vehicle
CN208690644U (en) A kind of connector holder convenient for quick-replaceable battery
CN203103361U (en) Multifunctional battery cover and power battery pack containing same
CN203406338U (en) Battery cover and power battery pack containing same
CN213782173U (en) Integrated battery box panel
CN105140736A (en) Connector for electric vehicle and electric vehicle
CN110356342A (en) A kind of power battery internal high-voltage block terminal
CN205282837U (en) Automobile -used porous multi -purpose cigar lighter
CN203277933U (en) Trolley line system
CN202917804U (en) Integrated fully-sealed component of medium voltage electric cable connector and medium voltage fuse
CN220553557U (en) Battery device
CN215896905U (en) Integrated connector
CN201781238U (en) Distribution box assembly
CN204155990U (en) Plug-in type electrokinetic cell connector and the quick connecting structure of electrokinetic cell
CN222168748U (en) Connector for inverter
CN222168727U (en) Inverter terminal block
CN219477068U (en) A new type of new energy four high-voltage power exchange connector

Legal Events

Date Code Title Description
C14 Grant of patent or utility model
GR01 Patent grant
ASS Succession or assignment of patent right

Owner name: GUIYANG POTEVIO LOGISTICS TECHNOLOGY CO., LTD.

Free format text: FORMER OWNER: GUIYANG PUTIAN LOGISTICS TECHNOLOGY CO., LTD.

Effective date: 20130715

C41 Transfer of patent application or patent right or utility model
COR Change of bibliographic data

Free format text: CORRECT: ADDRESS; FROM: 550002 GUIYANG, GUIZHOU PROVINCE TO: 550009 GUIYANG, GUIZHOU PROVINCE

TR01 Transfer of patent right

Effective date of registration: 20130715

Address after: 550009 Guizhou city of Guiyang Province Wang Xiaohe District Kuancun swing frame group

Patentee after: Guiyang Putian Logistics Technology Co., Ltd.

Address before: 550002, No. 240, east section, Baihua Avenue, Guiyang, Guizhou

Patentee before: Guiyang Putian Logistics Technology Co., Ltd.

CF01 Termination of patent right due to non-payment of annual fee

Granted publication date: 20111005

Termination date: 20190316

CF01 Termination of patent right due to non-payment of annual fee