CN202003891U - High voltage grounding switch - Google Patents
High voltage grounding switch Download PDFInfo
- Publication number
- CN202003891U CN202003891U CN 201120061810 CN201120061810U CN202003891U CN 202003891 U CN202003891 U CN 202003891U CN 201120061810 CN201120061810 CN 201120061810 CN 201120061810 U CN201120061810 U CN 201120061810U CN 202003891 U CN202003891 U CN 202003891U
- Authority
- CN
- China
- Prior art keywords
- housing
- insulator
- high voltage
- conductive connection
- voltage ground
- Prior art date
- Legal status (The legal status is an assumption and is not a legal conclusion. Google has not performed a legal analysis and makes no representation as to the accuracy of the status listed.)
- Expired - Lifetime
Links
Images
Landscapes
- Switch Cases, Indication, And Locking (AREA)
Abstract
本实用新型涉及一种高压接地开关,包括壳体和动触头,所述高压接地开关还包括穿设在壳体侧面上的电连接套,所述动触头分别插配设置在所述对应电连接套伸内,所述电连接套伸入壳体内的一端分别导电连接一导电连接板,该导电连接板远离导电连接套的一端连接在对应导电连接块上,所述导电连接块分别设置在中心带有一个通孔的绝缘子的所述通孔中,所属绝缘子设置在壳体上。本实用新型采用三个无中心导体的绝缘子,并改变了高压接地开关的电连接关系,彻底解决了绝缘子易开裂导致产品漏气无法正常运行的问题。
The utility model relates to a high-voltage grounding switch, which includes a housing and a movable contact. The high-voltage grounding switch also includes an electrical connection sleeve pierced on the side of the housing. The movable contacts are respectively mated and arranged on the corresponding The electrical connection sleeve extends inside, and one end of the electrical connection sleeve protruding into the housing is electrically connected to a conductive connection plate, and the end of the conductive connection plate far away from the conductive connection sleeve is connected to the corresponding conductive connection block, and the conductive connection blocks are respectively set. In the through opening of the insulator with a central through opening, the associated insulator is arranged on the housing. The utility model adopts three insulators without a central conductor, and changes the electrical connection relationship of the high-voltage grounding switch, and completely solves the problem that the insulators are easy to crack and cause the product to leak and cannot operate normally.
Description
技术领域technical field
本实用新型涉及高压电气领域,特别是涉及一种高压接地开关。The utility model relates to the high-voltage electrical field, in particular to a high-voltage grounding switch.
背景技术Background technique
电力系统中的三相共箱气体绝缘金属封闭开关设备产品上的接地开关主要用于主回路的接地处。现有技术中所述高压接地开关包括一个壳体、设置在壳体侧面上的内嵌三个中心导体的椭圆形绝缘子、动触头和传动系统,该传动系统包括连接板、与连接板通过轴承连接的内拐臂以及固连在内拐臂上的接地开关轴,所述动触头穿设在所述椭圆形绝缘子上的对应中心导体上,所述动触头伸入壳体内的一端均连接在同一所述连接板上,所述动触头的另一端设有一梅花触指,用于和连接在主回路上的静触头接触。通过转动接地开关轴,控制动触头沿该动触头沿轴线移动,实现与对应静触头的断开或闭合,从而实现主回路的接地或不接地。The grounding switch on the three-phase common box gas-insulated metal-enclosed switchgear product in the power system is mainly used for the grounding of the main circuit. The high-voltage grounding switch described in the prior art includes a housing, an oval insulator with three central conductors embedded in the side of the housing, a moving contact and a transmission system. The transmission system includes a connecting plate, and the connecting plate passes through The inner crank arm connected by the bearing and the grounding switch shaft fixedly connected to the inner crank arm, the moving contact is passed through the corresponding center conductor on the oval insulator, and one end of the moving contact extends into the housing They are all connected to the same connecting plate, and the other end of the moving contact is provided with a plum blossom contact finger, which is used to contact the static contact connected to the main circuit. By rotating the grounding switch shaft, the moving contact is controlled to move along the axis of the moving contact, and the corresponding static contact is disconnected or closed, so as to realize the grounding or non-grounding of the main circuit.
因为构成中心导体的金属和构成绝缘子的绝缘树脂的膨胀系数差别较大,加上三个中心导体嵌于一个绝缘子内,中心导体和绝缘子之间的挤压和收缩,易致使绝缘子老化开裂漏气,致使对此种含有三个中心导体的绝缘子从设计结构、加工工艺到装配使用过程均提出了非常高的要求;另外接地开关在所述导电系统连接方式下,工作中绝缘子受到的开合应力冲击,易使绝缘子开裂漏气,所以在户外电站应用时,随着季节的更替,气温的变化,及工作中的应力冲击,绝缘子易开裂,致使产品漏气无法正常运行。Because the expansion coefficient of the metal that makes up the center conductor and the insulating resin that make up the insulator are quite different, and three center conductors are embedded in an insulator, the extrusion and shrinkage between the center conductor and the insulator will easily cause the insulator to age, crack and leak. , resulting in very high requirements for this kind of insulator with three central conductors from the design structure, processing technology to assembly and use process; in addition, the opening and closing stress of the insulator during the work is Shock can easily cause insulators to crack and leak air. Therefore, when used in outdoor power stations, with the change of seasons, temperature changes, and stress impacts during work, insulators are prone to cracks, resulting in air leakage and unable to operate normally.
发明内容Contents of the invention
本实用新型的目的在于提供一种高压接地开关,以解决现有技术中绝缘子易开裂导致产品漏气无法正常运行的问题。The purpose of the utility model is to provide a high-voltage grounding switch to solve the problem in the prior art that the insulator is easy to crack and the product cannot operate normally due to air leakage.
为了解决上述问题,本实用新型的技术方案是:一种高压接地开关,包括壳体和动触头,所述高压接地开关还包括穿设在壳体侧面上的电连接套,所述动触头分别插配设置在所述对应电连接套内,所述电连接套伸入壳体内的一端分别导电连接一导电连接板,该导电连接板远离导电连接套的一端连接在对应导电连接块上,所述导电连接块分别设置在中心带有一个通孔的绝缘子的所述通孔中,所属绝缘子设置在壳体上。In order to solve the above problems, the technical solution of the utility model is: a high-voltage grounding switch, including a housing and a moving contact, the high-voltage grounding switch also includes an electrical connection sleeve pierced on the side of the housing, and the moving contact The heads are respectively mated and arranged in the corresponding electrical connection sleeves, and one end of the electrical connection sleeve protruding into the housing is electrically connected to a conductive connection plate, and the end of the conductive connection plate away from the conductive connection sleeve is connected to the corresponding conductive connection block. The conductive connection blocks are respectively arranged in the through holes of the insulator with a through hole in the center, and the associated insulators are arranged on the casing.
所述绝缘子设置在壳体顶部。The insulator is arranged on the top of the casing.
所述导电连接板为L形。The conductive connecting plate is L-shaped.
所述动触头伸出壳体的一端上设有一弹簧触指。A spring contact finger is provided on one end of the movable contact protruding from the housing.
所述导电连接块上部为一限位挡沿,下部穿过对应绝缘子及壳体上表面的通孔并伸入壳体内部。The upper part of the conductive connection block is a limiting edge, and the lower part passes through the corresponding insulator and the through hole on the upper surface of the housing and extends into the housing.
在所述该电连接套与壳体的穿设孔之间设有用于实现电连接套与壳体绝缘的绝缘套。An insulating sleeve for realizing insulation between the electrical connection sleeve and the housing is provided between the electrical connection sleeve and the through hole of the housing.
所述导电连接块为阶梯轴状,由一大直径段和一小直径段组成,该大直径段即是所述的限位挡沿,该小直径段的直径与绝缘子1上通孔的内径相等。The conductive connecting block is in the shape of a stepped shaft and consists of a large diameter section and a small diameter section. The large diameter section is the limit stop. equal.
本实用新型采用三个独立的中心带有通孔的绝缘子,在绝缘子通孔中设置导电连接块,和内含三个中心导体的绝缘子结构相比,本实用新型虽然导电连接块和绝缘子膨胀系数仍旧不一样,但是由于并未铸造在一起,相互间的应力作用减小,同时由于绝缘子内只有一个导电连接块,不存在现有技术中相邻中心导体同时对该绝缘子在该相邻导体之间的部分共同应力作用的现象,本实用新型还改变导电回路路径,接地开关在工作过程中绝缘子不受力,绝缘子只起到和壳体绝缘隔离的作用,消除了应力对绝缘子的影响,彻底解决了现有技术中绝缘子易开裂导致产品漏气无法正常运行的问题。The utility model adopts three independent insulators with through holes in the center, and a conductive connecting block is arranged in the insulator through holes. Still not the same, but because they are not cast together, the mutual stress effect is reduced, and because there is only one conductive connection block in the insulator, there is no such thing as the adjacent central conductor in the prior art and the insulator between the adjacent conductors at the same time Part of the joint stress between the phenomenon, the utility model also changes the path of the conductive circuit, the insulator is not stressed during the working process of the grounding switch, and the insulator only plays the role of insulating and isolating the shell, eliminating the influence of stress on the insulator, completely It solves the problem in the prior art that the insulator is easy to crack and the product cannot run normally due to air leakage.
本结构还采用了弹簧触指作为滑动接触的新型电接触方式代替原梅花触指,从而可降低成本、方便安装和提高生产效率。This structure also adopts the spring contact finger as a new electrical contact method of sliding contact to replace the original plum blossom contact finger, thereby reducing cost, facilitating installation and improving production efficiency.
附图说明Description of drawings
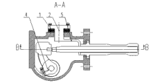
图1是本实用新型实施例的剖面主视图;Fig. 1 is the sectional front view of the utility model embodiment;
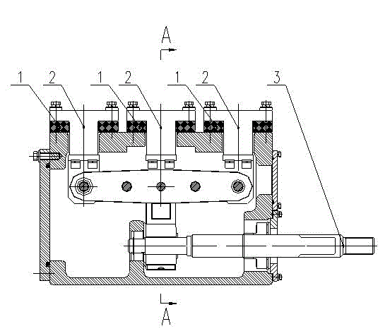
图2是图1中沿A-A向剖视图;Fig. 2 is a sectional view along A-A in Fig. 1;
图3是图2中沿B-B向剖视图。Fig. 3 is a sectional view along B-B direction in Fig. 2 .
具体实施方式Detailed ways
下面结合附图对本实用新型实施例进行详细描述。The embodiment of the utility model will be described in detail below in conjunction with the accompanying drawings.
如图1、2、3所示,一种高压接地开关,包括壳体10和动触头7、9,该高压接地开关还包括穿设在壳体10侧面上的电连接套6、8,所述动触头7、9分别插配设置在所述对应电连接套6、8内,所述动触头伸出壳体的一端上设有一弹簧触指,在所述该电连接套6、8与壳体的穿设孔之间设有用于实现电连接套6、8与壳体10绝缘的绝缘套,所述电连接套6、8伸入壳体10内的一端分别导电连接一导电连接板5,所述导电连接板5为L形,该导电连接板5远离导电连接套6、8的一端连接在对应导电连接块2上,所述导电连接块2分别设置在中心带有一个通孔的绝缘子1的所述通孔中,所属绝缘子1设置在壳体10的顶部,所述导电连接块2上部为一限位挡沿,下部穿过对应绝缘子1及壳体10顶部的通孔并伸入壳体内部。所述导电连接块为阶梯轴状,由一大直径段和一小直径段组成,该大直径段即是所述的限位挡沿,该小直径段的直径与绝缘子1上通孔的内径相等。As shown in Figures 1, 2, and 3, a high-voltage grounding switch includes a
所述每一动触头7、9伸入壳体10内的一端均连接在同一个连接板11上,在所述壳体10内部每相邻所述动触头7、9之间,沿所述动触头7、9轴向方向设置有导向杆12,所述连接板11套设在所述导向杆12上。所述连接板11通过轴承连接在内拐臂4上,所述内拐臂4固连在接地开关轴3上。One end of each moving
本实用新型在使用时,所述接地开关轴3带动内拐臂4转动,并带动连接板11沿导向杆12作直线运动,实现高压接地开关的分、合操作。When the utility model is in use, the grounding switch shaft 3 drives the inner crank arm 4 to rotate, and drives the connecting
Claims (7)
Priority Applications (1)
| Application Number | Priority Date | Filing Date | Title |
|---|---|---|---|
| CN 201120061810 CN202003891U (en) | 2011-03-10 | 2011-03-10 | High voltage grounding switch |
Applications Claiming Priority (1)
| Application Number | Priority Date | Filing Date | Title |
|---|---|---|---|
| CN 201120061810 CN202003891U (en) | 2011-03-10 | 2011-03-10 | High voltage grounding switch |
Publications (1)
| Publication Number | Publication Date |
|---|---|
| CN202003891U true CN202003891U (en) | 2011-10-05 |
Family
ID=44706620
Family Applications (1)
| Application Number | Title | Priority Date | Filing Date |
|---|---|---|---|
| CN 201120061810 Expired - Lifetime CN202003891U (en) | 2011-03-10 | 2011-03-10 | High voltage grounding switch |
Country Status (1)
| Country | Link |
|---|---|
| CN (1) | CN202003891U (en) |
Cited By (1)
| Publication number | Priority date | Publication date | Assignee | Title |
|---|---|---|---|---|
| CN102136388A (en) * | 2011-03-10 | 2011-07-27 | 平高集团有限公司 | High-voltage grounding switch |
-
2011
- 2011-03-10 CN CN 201120061810 patent/CN202003891U/en not_active Expired - Lifetime
Cited By (2)
| Publication number | Priority date | Publication date | Assignee | Title |
|---|---|---|---|---|
| CN102136388A (en) * | 2011-03-10 | 2011-07-27 | 平高集团有限公司 | High-voltage grounding switch |
| CN102136388B (en) * | 2011-03-10 | 2013-10-09 | 平高集团有限公司 | High-voltage grounding switch |
Similar Documents
| Publication | Publication Date | Title |
|---|---|---|
| CN202134844U (en) | Electrical connector between insulating basin and conductor used for high-voltage switch | |
| CN103377849B (en) | Three-phase combined type isolation earthing switch | |
| CN105119179A (en) | Switchgear and breaker | |
| CN204732774U (en) | A kind of band isolation fracture GIS oil-gas casing structure | |
| CN202003891U (en) | High voltage grounding switch | |
| CN102280833B (en) | 40.5 KV outdoor Gas Insulated Switchgear (GIS) | |
| CN102723672B (en) | Three-station switch cabinet and bus connecting structure thereof | |
| CN104124639B (en) | A kind of pot type high-voltage combined electrical apparatus with series connection vacuum interrupter | |
| CN204927943U (en) | GIS equipment that can keep apart test | |
| CN204333736U (en) | Integrated solid insulation pole | |
| CN102136388B (en) | High-voltage grounding switch | |
| CN204179559U (en) | A kind of GIS Direct Action Type manual operation isolation fracture | |
| CN204967106U (en) | Cubical switchboard and circuit breaker | |
| CN104332335A (en) | High-speed grounding switch | |
| CN202721065U (en) | Disconnecting link structure | |
| CN203734251U (en) | Three-phase common box bus used for 252kV high-voltage switch | |
| CN202260234U (en) | A grounding transition plate and a grounding switch using the grounding transition plate | |
| CN202178527U (en) | Linear grounding switch | |
| CN204045481U (en) | A kind of 110kV isolating switch | |
| CN104577858A (en) | Integrated solid insulating post | |
| CN204242844U (en) | A Three-Position Switch for 220kV Combined Electric Appliance | |
| CN204290148U (en) | A kind of GIS rotating type manual operation isolation fracture | |
| CN204333414U (en) | Solid insulation ring network cabinet multi-purpose connection module | |
| CN204270906U (en) | High speed grounding switch | |
| CN203165779U (en) | Grounding switch used with three-position switch |
Legal Events
| Date | Code | Title | Description |
|---|---|---|---|
| C14 | Grant of patent or utility model | ||
| GR01 | Patent grant | ||
| AV01 | Patent right actively abandoned |
Granted publication date: 20111005 Effective date of abandoning: 20131009 |
|
| RGAV | Abandon patent right to avoid regrant |
