CN202002245U - Defrosting variable-frequency heat pump air conditioner - Google Patents
Defrosting variable-frequency heat pump air conditioner Download PDFInfo
- Publication number
- CN202002245U CN202002245U CN201120105716XU CN201120105716U CN202002245U CN 202002245 U CN202002245 U CN 202002245U CN 201120105716X U CN201120105716X U CN 201120105716XU CN 201120105716 U CN201120105716 U CN 201120105716U CN 202002245 U CN202002245 U CN 202002245U
- Authority
- CN
- China
- Prior art keywords
- condenser
- air conditioner
- heat pump
- pump air
- compressor
- Prior art date
- Legal status (The legal status is an assumption and is not a legal conclusion. Google has not performed a legal analysis and makes no representation as to the accuracy of the status listed.)
- Expired - Fee Related
Links
Images
Landscapes
- Air Conditioning Control Device (AREA)
Abstract
本实用新型提供一种除霜变频热泵空调器,包括室内机和室外机,室外机包括冷凝器、风扇、换向四通阀和压缩机,其中所述冷凝器一端通过连接管道与室内机连接,另一端经过四通阀连接压缩机和室内机,在室内机与冷凝器和四通阀之间均设有截止阀,在连接管道上的截止阀和冷凝器之间设有节流机构,在节流机构与冷凝器之间设有管道加热装置。该热泵空调器在除霜过程中无热量损失,能很好的维持室内温度恒定,温度波动小,提高了室内舒适性。
The utility model provides a defrosting frequency conversion heat pump air conditioner, which includes an indoor unit and an outdoor unit. The outdoor unit includes a condenser, a fan, a reversing four-way valve and a compressor, wherein one end of the condenser is connected to the indoor unit through a connecting pipe. , the other end is connected to the compressor and the indoor unit through a four-way valve, a shut-off valve is provided between the indoor unit, the condenser and the four-way valve, and a throttling mechanism is set between the shut-off valve on the connecting pipe and the condenser, A pipe heating device is provided between the throttling mechanism and the condenser. The heat pump air conditioner has no heat loss during the defrosting process, can well maintain a constant indoor temperature, has small temperature fluctuations, and improves indoor comfort.
Description
技术领域technical field
本实用新型属于空调器技术领域,尤其涉及一种具有除霜功能的热泵空调器。The utility model belongs to the technical field of air conditioners, in particular to a heat pump air conditioner with a defrosting function.
背景技术Background technique
现有空气源热泵型变频空调器,在低温环境中进行制热运行,当室外换热器的冷媒蒸发温度低于零度,空气的湿度达到一定的条件,室外换热器翅片表面就会逐渐结霜,霜层达到一定程度后,换热效果急剧下降,这时就需要进行化霜运行,通过四通阀的动作,冷媒流向改变,高温高压气体流入室外换热器,冷却节流后的低压低温液体需要在室内蒸发吸取一定热量维持系统平衡,这样导致室内供热不连续,甚至还会导致室内热量损失,当除霜完成后冷媒流向再次切换时,还要损失部分热量平衡蒸发器的温度提升需求,压缩机做功消耗能量建立压力稳定平衡,进一步损失热量和加剧室温波动,这个是传统有换向除霜型热泵空调存在的固有问题。Existing air source heat pump type inverter air conditioners perform heating operation in a low temperature environment. When the evaporation temperature of the refrigerant in the outdoor heat exchanger is lower than zero and the humidity of the air reaches a certain condition, the surface of the fins of the outdoor heat exchanger will gradually Frosting, when the frost layer reaches a certain level, the heat transfer effect drops sharply. At this time, it is necessary to perform defrosting operation. Through the action of the four-way valve, the flow direction of the refrigerant changes, and the high-temperature and high-pressure gas flows into the outdoor heat exchanger to cool the throttling. The low-pressure low-temperature liquid needs to evaporate indoors to absorb a certain amount of heat to maintain the balance of the system, which will lead to discontinuous indoor heating, and even cause indoor heat loss. When the refrigerant flow direction is switched again after defrosting is completed, part of the heat will be lost to balance the evaporator. As the temperature rises, the compressor consumes energy to establish a stable pressure balance, further losing heat and exacerbating room temperature fluctuations. This is an inherent problem in the traditional reversing defrosting heat pump air conditioner.
发明内容Contents of the invention
针对上述传统有换向除霜型热泵空调器存在的问题,本实用新型提供一种除霜变频热泵空调器,该热泵空调器在除霜过程中无热量损失,能很好的维持室内温度恒定,温度波动小,提高了室内舒适性。In view of the above-mentioned problems existing in the traditional reversing defrosting type heat pump air conditioner, the utility model provides a defrosting frequency conversion heat pump air conditioner, which has no heat loss during the defrosting process and can well maintain a constant indoor temperature , The temperature fluctuation is small, which improves the indoor comfort.
本实用新型的技术方案为:一种除霜变频热泵空调器,包括室内机和室外机,室外机包括冷凝器、风扇、换向四通阀、节流机构和压缩机,其中所述冷凝器一端通过连接管道、节流机构与室内机连接,另一端经过四通阀连接压缩机和室内机,在室内机与冷凝器和四通阀之间均设有截止阀,在节流机构和冷凝器之间设有连接管道,在节流机构与冷凝器之间设有管道加热装置。The technical scheme of the utility model is: a defrosting frequency conversion heat pump air conditioner, including an indoor unit and an outdoor unit, and the outdoor unit includes a condenser, a fan, a reversing four-way valve, a throttling mechanism and a compressor, wherein the condenser One end is connected to the indoor unit through a connecting pipe and a throttling mechanism, and the other end is connected to the compressor and the indoor unit through a four-way valve. There is a stop valve between the indoor unit, the condenser and the four-way valve. A connecting pipe is provided between the condensers, and a pipe heating device is provided between the throttling mechanism and the condenser.
所述管道加热装置装设在连接管道上。The pipeline heating device is installed on the connecting pipeline.
所述管道加热装置的加热方式为电阻丝加热、电磁加热或PTC加热。The heating method of the pipeline heating device is resistance wire heating, electromagnetic heating or PTC heating.
所述压缩机为具有变频调速功能的压缩机。The compressor is a compressor with frequency conversion speed regulation function.
本实用新型原理是当除霜变频热泵空调器需要除霜时,四通阀不动作进行冷媒的流向切换,只是压缩机的运行频率(速度)降低,维持冷媒气流的流动,在节流机构和冷凝器的连接管上装置加热器,流动的冷媒气流把加热器产生的热量带入冷凝器融化霜层,多余热量随冷媒进入室内放出,能更好地维持室内温度恒定,温度波动更小,室内舒适性更高。The principle of the utility model is that when the defrosting frequency conversion heat pump air conditioner needs to be defrosted, the four-way valve does not operate to switch the flow direction of the refrigerant, but the operating frequency (speed) of the compressor is reduced to maintain the flow of the refrigerant air flow, and the throttling mechanism and A heater is installed on the connecting pipe of the condenser. The flowing refrigerant airflow brings the heat generated by the heater into the condenser to melt the frost layer. The excess heat is released with the refrigerant into the room, which can better maintain a constant indoor temperature and smaller temperature fluctuations. Indoor comfort is higher.
附图说明Description of drawings
图1为本实用新型实施例结构示意图。Fig. 1 is a structural schematic diagram of an embodiment of the utility model.
具体实施方式Detailed ways
下面结合附图和具体实施方式对本实用新型做进一步的说明。The utility model will be further described below in conjunction with the accompanying drawings and specific embodiments.
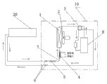
如图1所示,一种除霜变频热泵空调器,包括室内机20和室外机10,室外机10包括冷凝器1、风扇2、换向四通阀3、节流机构5和压缩机8,其中所述冷凝器1一端通过连接管道7、节流机构5与室内机20连接,另一端经过四通阀3连接压缩机8和室内机20,在室内机20与冷凝器1和四通阀3之间均设有截止阀6,在节流机构5和冷凝器1之间设有连接管道7,在节流机构5与冷凝器1之间设有管道加热装置4。As shown in Figure 1, a defrosting frequency conversion heat pump air conditioner includes an
所述管道加热装置4装设在连接管道7上。The
所述管道加热装置4的加热方式为电阻丝加热、电磁加热或PTC加热中的任一种方式。The heating method of the
所述压缩机8为具有变频调速功能的压缩机。The compressor 8 is a compressor with frequency conversion speed regulation function.
如图1,空调器在进行制热运行时,冷媒流动按箭头指示方向循环流动,当室外温湿度达到条件,室外机10的冷凝器1的翅片表面会产生霜层,霜层积到一定厚度空调器的制热效率急剧下降,空调器需要进行除霜运行,此时空调器换向四通阀3无需换向,冷媒流动方向不变,压缩机降低运行频率(速度),维持冷媒气流流动,同时管道加热装置4通电工作产生热量,热量随冷媒流动进入冷凝器1融化霜层,多余热量经压缩机后进入室内机放出,直到冷凝器1的霜层完全融化,压缩机升频至正常制热频率运行,整个除霜过程没有冷媒换向流动,没有压力重新建立平衡损失。能更好地维持室内温度恒定,温度波动更小,室内舒适性更高。As shown in Figure 1, when the air conditioner is in heating operation, the refrigerant flow circulates in the direction indicated by the arrow. When the outdoor temperature and humidity meet the conditions, a frost layer will be formed on the fin surface of the condenser 1 of the
上述实施例仅是本实用新型除霜的一个应用例子,其它形式的空调器同样可以实现,比如整体式热泵型空调器等,也应在本实用新型所要求保护的范围之内。The above-mentioned embodiment is only an application example of the defrosting of the present invention, and other forms of air conditioners can also be implemented, such as integral heat pump air conditioners, etc., which should also be within the scope of protection required by the present invention.
Claims (4)
Priority Applications (1)
| Application Number | Priority Date | Filing Date | Title |
|---|---|---|---|
| CN201120105716XU CN202002245U (en) | 2011-04-12 | 2011-04-12 | Defrosting variable-frequency heat pump air conditioner |
Applications Claiming Priority (1)
| Application Number | Priority Date | Filing Date | Title |
|---|---|---|---|
| CN201120105716XU CN202002245U (en) | 2011-04-12 | 2011-04-12 | Defrosting variable-frequency heat pump air conditioner |
Publications (1)
| Publication Number | Publication Date |
|---|---|
| CN202002245U true CN202002245U (en) | 2011-10-05 |
Family
ID=44704985
Family Applications (1)
| Application Number | Title | Priority Date | Filing Date |
|---|---|---|---|
| CN201120105716XU Expired - Fee Related CN202002245U (en) | 2011-04-12 | 2011-04-12 | Defrosting variable-frequency heat pump air conditioner |
Country Status (1)
| Country | Link |
|---|---|
| CN (1) | CN202002245U (en) |
Cited By (3)
| Publication number | Priority date | Publication date | Assignee | Title |
|---|---|---|---|---|
| CN102147177A (en) * | 2011-04-12 | 2011-08-10 | 海信科龙电器股份有限公司 | Air conditioner for defrost and variable-frequency heat pump |
| CN103363601A (en) * | 2012-04-09 | 2013-10-23 | 珠海格力电器股份有限公司 | Heat pump type air conditioner |
| CN104180471B (en) * | 2013-05-21 | 2017-02-08 | 珠海格力电器股份有限公司 | Defrosting control method and defrosting control device of air conditioner |
-
2011
- 2011-04-12 CN CN201120105716XU patent/CN202002245U/en not_active Expired - Fee Related
Cited By (5)
| Publication number | Priority date | Publication date | Assignee | Title |
|---|---|---|---|---|
| CN102147177A (en) * | 2011-04-12 | 2011-08-10 | 海信科龙电器股份有限公司 | Air conditioner for defrost and variable-frequency heat pump |
| WO2012139429A1 (en) * | 2011-04-12 | 2012-10-18 | 海信科龙电器股份有限公司 | Defrosting and frequency variable heat pump/air conditioning apparatus |
| CN103363601A (en) * | 2012-04-09 | 2013-10-23 | 珠海格力电器股份有限公司 | Heat pump type air conditioner |
| CN103363601B (en) * | 2012-04-09 | 2016-03-23 | 珠海格力电器股份有限公司 | Heat pump type air conditioner |
| CN104180471B (en) * | 2013-05-21 | 2017-02-08 | 珠海格力电器股份有限公司 | Defrosting control method and defrosting control device of air conditioner |
Similar Documents
| Publication | Publication Date | Title |
|---|---|---|
| CN101476801B (en) | Continuously heating and defrosting heat pump type air conditioner | |
| WO2012139429A1 (en) | Defrosting and frequency variable heat pump/air conditioning apparatus | |
| CN204730374U (en) | A kind of accumulating type air-conditioning system | |
| CN104515319B (en) | Air conditioning system | |
| CN104515322A (en) | Air conditioning system capable of realizing continuous heating | |
| CN104061727B (en) | Air source heat pump defrosting device based on frosting initial procedure drop rapid evaporation | |
| CN203518359U (en) | Automobile heat pump air conditioner system | |
| CN103673138A (en) | Air conditioner and control method thereof | |
| CN105466075B (en) | Freeze in heat pump and hot water heating combined system and domestic hot-water's flow processed | |
| CN108361807A (en) | A kind of heat pump system and its control method | |
| CN202002245U (en) | Defrosting variable-frequency heat pump air conditioner | |
| CN102538272B (en) | Air-conditioning system and its defrosting method | |
| CN104697253A (en) | Device with dehumidification and defrosting functions and control method thereof | |
| CN201748722U (en) | Throttle device for air conditioner | |
| CN204787419U (en) | Air conditioner | |
| CN203797945U (en) | Air conditioner hot water system | |
| CN203550269U (en) | Air conditioning system | |
| CN203501358U (en) | Air conditioning system | |
| CN104764240B (en) | A kind of air-conditioning system and its control method for possessing defrosting function | |
| CN206274216U (en) | A kind of heat pump type air conditioning system and its heat pump air conditioner | |
| CN101706132A (en) | Air conditioner | |
| CN201081467Y (en) | Throttle device for heat pump unit | |
| CN211119712U (en) | Split type air conditioner defrosting device | |
| CN203964488U (en) | Adopt the air source heat pump defrosting device of hot-air evaporation initial liquid drop | |
| CN204478317U (en) | The off-premises station of air-conditioning and air-conditioning |
Legal Events
| Date | Code | Title | Description |
|---|---|---|---|
| C14 | Grant of patent or utility model | ||
| GR01 | Patent grant | ||
| CF01 | Termination of patent right due to non-payment of annual fee | ||
| CF01 | Termination of patent right due to non-payment of annual fee |
Granted publication date: 20111005 Termination date: 20170412 |
