CN202000395U - Initial rain discarded flow amount-adjustable water tank - Google Patents
Initial rain discarded flow amount-adjustable water tank Download PDFInfo
- Publication number
- CN202000395U CN202000395U CN2011200785672U CN201120078567U CN202000395U CN 202000395 U CN202000395 U CN 202000395U CN 2011200785672 U CN2011200785672 U CN 2011200785672U CN 201120078567 U CN201120078567 U CN 201120078567U CN 202000395 U CN202000395 U CN 202000395U
- Authority
- CN
- China
- Prior art keywords
- water inlet
- water
- rainwater
- water tank
- abandoned stream
- Prior art date
- Legal status (The legal status is an assumption and is not a legal conclusion. Google has not performed a legal analysis and makes no representation as to the accuracy of the status listed.)
- Expired - Fee Related
Links
Images
Classifications
-
- Y—GENERAL TAGGING OF NEW TECHNOLOGICAL DEVELOPMENTS; GENERAL TAGGING OF CROSS-SECTIONAL TECHNOLOGIES SPANNING OVER SEVERAL SECTIONS OF THE IPC; TECHNICAL SUBJECTS COVERED BY FORMER USPC CROSS-REFERENCE ART COLLECTIONS [XRACs] AND DIGESTS
- Y02—TECHNOLOGIES OR APPLICATIONS FOR MITIGATION OR ADAPTATION AGAINST CLIMATE CHANGE
- Y02A—TECHNOLOGIES FOR ADAPTATION TO CLIMATE CHANGE
- Y02A20/00—Water conservation; Efficient water supply; Efficient water use
- Y02A20/108—Rainwater harvesting
Landscapes
- Sewage (AREA)
Abstract
本实用新型涉及一种可调节初雨弃流量的水箱,包括弃流箱、雨水收集箱、分流三通、过滤装置、止水装置,所述弃流箱设有进水口和弃流口,雨水收集箱设有入水口和出水口;所述分流三通一端为进水口,另两端分别与弃流箱的进水口和雨水收集箱的入水口连接,所述弃流箱的进水口设有止水装置;所述雨水收集箱设有过滤装置。本实用新型结构简单、加工方便,造价低,弃流径流量可调节,可满足各种弃流量要求,而且出流水质好。
The utility model relates to a water tank capable of adjusting the discharge flow of primary rain, which comprises a discharge flow box, a rainwater collection box, a diversion tee, a filter device, and a water stop device. The collection box is provided with a water inlet and a water outlet; one end of the diversion tee is a water inlet, and the other two ends are respectively connected with the water inlet of the jettison box and the water inlet of the rainwater collection box, and the water inlet of the jettison box is provided with Water stop device; the rainwater collection box is provided with a filter device. The utility model has the advantages of simple structure, convenient processing, low manufacturing cost, adjustable flow rate of the waste stream, which can meet various waste flow requirements, and good quality of the outflow water.
Description
技术领域technical field
本实用新型属于雨水收集再利用技术领域,特别涉及一种可调节初雨弃流量的水箱。The utility model belongs to the technical field of rainwater collection and reuse, in particular to a water tank capable of adjusting the discharge flow of primary rain.
背景技术Background technique
由于淡水资源的日益紧缺,雨水资源的收集、利用己越来越受到重视。在一些淡水资源匮乏的城市和地区,不断有采用各种系统对雨水进行收集、利用。雨水利用正日趋成为我国城市化进程中缓解城市水危机,改善城市水环境的重要措施。在雨水收集利用时,由于初期雨水在流经大气、建筑物表面、室外道路和地面时受到污染,使这部分雨水中的污染物较多,污染程度较高,由于初期径流雨水中污染物浓度较高,和后期清洁雨水一起收集,其水质的处理过程不经济。因此,在对雨水的收集过程中,对初雨径流量进行弃流处理是十分必要的。所以采用适当的方式对初期雨水进行弃流,成为雨水资源利用的一个重要方面。Due to the increasing shortage of fresh water resources, the collection and utilization of rainwater resources have been paid more and more attention. In some cities and regions where fresh water resources are scarce, various systems are constantly being used to collect and utilize rainwater. Rainwater utilization is increasingly becoming an important measure to alleviate the urban water crisis and improve the urban water environment in the process of urbanization in my country. When rainwater is harvested and utilized, because the initial rainwater is polluted when it flows through the atmosphere, the surface of buildings, outdoor roads and the ground, there are more pollutants in this part of the rainwater, and the pollution degree is higher. Higher, collected together with later clean rainwater, the water quality treatment process is uneconomical. Therefore, in the process of collecting rainwater, it is very necessary to discard the initial rain runoff. Therefore, it is an important aspect of the utilization of rainwater resources to adopt an appropriate way to discard the initial rainwater.
德国是欧洲雨水利用最好的国家,目前雨水利用技术己经进入标准化、产业化阶段,德国的屋面雨水集蓄是将雨水采用简单的处理后,使其达到杂用水水质标准,用于城市绿化、厕所冲洗、庭院浇洒、工业冷却等。美国限制雨水的直接排放与流失,控制雨水径流的污染,鼓励雨水的截留、贮存、利用或回灌地下,改善城市水环境与生态环境。Germany is the country with the best rainwater utilization in Europe. At present, the rainwater utilization technology has entered the stage of standardization and industrialization. The roof rainwater storage in Germany is to use simple treatment of rainwater to make it meet the water quality standard of miscellaneous water, which is used for urban greening , toilet flushing, garden watering, industrial cooling, etc. The United States restricts the direct discharge and loss of rainwater, controls the pollution of rainwater runoff, encourages the interception, storage, utilization or recharge of rainwater underground, and improves the urban water environment and ecological environment.
城市屋面雨水利用有利于改善城市的生态环境,有利于缓解日益严重的水资源危机。屋面雨水径流的水质状况直接影响到雨水的用途,径流主要污染物为有机物、营养物及悬浮固体。屋面径流污染的主要影响因素有:大气污染状况、屋面材料、非降雨期屋面大气沉降物积累程度、降雨量、降雨强度及相邻两次降雨的间隔时间、季节等。初期屋面雨水径流的污染较严重,随着降雨历时呈现降低的趋势,在降雨量达到2-3mm后水质较好,在一些城市可以对雨水资源进行利用,以缓解用水压力,因此,对屋面雨水截污和可调节初雨弃流量的水箱的开发研究意义重大。目前,我国已对此进行了研究和应用,并已取得了显著的经济效益、社会效益和生态效益,其中,The utilization of urban roof rainwater is conducive to improving the ecological environment of the city and alleviating the increasingly serious water resource crisis. The water quality of roof rainwater runoff directly affects the use of rainwater, and the main pollutants of runoff are organic matter, nutrients and suspended solids. The main influencing factors of roof runoff pollution are: air pollution status, roofing materials, accumulation of atmospheric sediments on roofs during non-rainfall periods, rainfall, rainfall intensity, interval between two adjacent rainfalls, seasons, etc. The pollution of roof rainwater runoff is serious in the early stage, and it tends to decrease with the duration of rainfall. After the rainfall reaches 2-3mm, the water quality is better. In some cities, rainwater resources can be used to relieve water pressure. Therefore, the roof rainwater The development and research of sewage interception tanks and water tanks that can adjust the discharge of primary rainwater are of great significance. At present, my country has carried out research and application on this, and has achieved remarkable economic benefits, social benefits and ecological benefits, among which,
中国建筑设计研究院于2006-08-15申请“初期雨水弃流池”,申请号:200610200799.4,授权公告号:CN 1908326A,该初期雨水弃流池由一分隔板分为分离室和初期雨水收集室两大部分,分离室位于初期雨水收集室的上面,初期雨水收集室和分离室向上方分别连通检修孔,检修孔上设有检修盖板,分离室的检修孔下方的侧壁与雨水收集管道进口连通,相对于 雨水收集管道进口的下方置有粗格栅,分离室的分隔板上,开有至少两个与下方初期雨水收集室相通的落水孔,每个落水孔下面分别与一个初期雨水隔断装置连接,在分隔板的上面开有通向后期雨水收集池的后期雨水导流孔,该孔上设有细栅网。China Architectural Design and Research Institute applied for the "initial rainwater disposal pool" on August 15, 2006, application number: 200610200799.4, authorized announcement number: CN 1908326A, the initial rainwater disposal pool is divided into a separation chamber and initial rainwater by a partition board There are two parts of the collection chamber, the separation chamber is located above the initial rainwater collection chamber, the initial rainwater collection chamber and the separation chamber are respectively connected to the inspection hole upwards, the inspection hole is provided with an inspection cover plate, and the side wall below the inspection hole of the separation chamber is connected to the rainwater The inlet of the collection pipe is connected, and a coarse grille is placed below the inlet of the rainwater collection pipe. On the partition plate of the separation chamber, there are at least two downholes communicating with the initial rainwater collection chamber below. An initial rainwater partition device is connected, and a later rainwater diversion hole leading to a later rainwater collection pool is opened on the partition plate, and a fine grid is arranged on the hole.
同济大学于2010年06月25日申请的“卧式可调节初雨弃流量的水箱”,申请号:201010213013.9,授权公告号:CN 101886408A,其箱体内的上部右侧设进水槽,其前端入口为雨水进水口,后端为雨水收集口;进水槽后部位置设分流板,将进水槽后端分成大小不等的两部分;分流板左侧底部设弃流分流收集孔,其与进水槽后端部下方的弃流收集室相通;分流板右侧端部下方设弃流分流排出孔,其正下方为浮块滑动槽,槽底镂空,与弃流收集室连通;在浮块滑动槽内设浮块,浮块上方前壁设弃流旁流孔,孔的另一侧为垂直向的弃流旁流槽,且孔位于弃流旁流槽的上侧;弃流旁流槽底部设弃流排出口,与机体外部相通。Tongji University applied on June 25, 2010 for the "horizontal water tank with adjustable initial rain discharge flow", application number: 201010213013.9, authorization announcement number: CN 101886408A, the upper right side of the tank is equipped with a water inlet, and the front entrance It is a rainwater inlet, and the rear end is a rainwater collection port; a diverter plate is set at the rear of the water inlet tank, and the rear end of the water inlet tank is divided into two parts of different sizes; The discarded flow collection chamber under the rear end is connected; the discarded flow diversion discharge hole is set under the right end of the diverter plate, and the floating block sliding groove is directly below it, and the bottom of the groove is hollowed out to communicate with the discarded flow collecting chamber; There is a floating block inside, and the front wall above the floating block is provided with a jettison bypass hole, and the other side of the hole is a vertical jettison side flume, and the hole is located on the upper side of the jettison side flume; the bottom of the jettison side flume A waste flow discharge port is provided to communicate with the outside of the body.
上述装置存在结构复杂、造价高的弊端,有的还需要动力支持,这给使用带来一定的不便。The above-mentioned devices have the disadvantages of complex structure and high cost, and some also need power support, which brings certain inconvenience to use.
实用新型内容Utility model content
本实用新型要解决的技术问题在于,提供一种可调节初雨弃流量的水箱,该装置结构简单、加工方便,造价低,弃流径流量可调节,可满足各种弃流量要求,而且出流水质好。The technical problem to be solved by the utility model is to provide a water tank that can adjust the discharge flow of primary rain. The water quality is good.
本实用新型采用以下技术方案:The utility model adopts the following technical solutions:
一种可调节初雨弃流量的水箱,包括弃流箱、雨水收集箱、分流三通、止水装置,所述弃流箱设有进水口和弃流口,雨水收集箱设有入水口和出水口;所述分流三通一端为接水口,另两端分别与弃流箱的进水口和雨水收集箱的入水口连接,所述弃流箱的进水口设有止水装置。A water tank capable of adjusting the flow rate of primary rain, comprising a jettison box, a rainwater collection box, a diversion tee, and a water stop device, the jettison box is provided with a water inlet and a jettison, and the rainwater collection box is provided with a water inlet and Water outlet; one end of the diversion tee is a water inlet, and the other two ends are respectively connected to the water inlet of the jettison box and the water inlet of the rainwater collection box, and the water inlet of the jettison box is provided with a water stop device.
进一步地,所述止水装置包括止水球、浮块和V字形连接件,该V字形连接件的一端可旋转固定设置在弃流箱的上边缘,另一端分别与止水球、浮块连接。Further, the water stop device includes a water stop ball, a floating block and a V-shaped connecting piece. One end of the V-shaped connecting piece is rotatably fixed on the upper edge of the jettison box, and the other end is respectively connected to the water stopping ball and the floating block.
进一步地,所述止水球对应进水口固定设置在V字形连接件的一侧边,浮块滑动设置在V字形连接件的另一侧边。当浮块沿V字形连接件的侧边向左下方滑动,可减少收集的弃流水量,向上滑动就增大了收集的弃流水量,浮块动,止水球在V字形连接件的带动下跟着动,它们是可确保动作的一致性的。Further, the water stop ball is fixedly arranged on one side of the V-shaped connector corresponding to the water inlet, and the floating block is slidably arranged on the other side of the V-shaped connector. When the floating block slides to the lower left along the side of the V-shaped connector, it can reduce the amount of discarded water collected, and when it slides upwards, it increases the amount of discarded water collected. The floating block moves, and the water-stop ball is driven by the V-shaped connector. Follow the movement, they are to ensure the consistency of the movement.
进一步地,所述弃流箱和雨水收集箱并排设置,该弃流箱和雨水收集箱上端设置可移动的盖板,该盖板上对应设置进水口和入水口。当需要清理水箱和更换过滤层材料时,可打开盖板进行。Further, the jettison box and the rainwater collection box are arranged side by side, and a movable cover plate is provided on the upper ends of the jettison box and the rainwater collection box, and a water inlet and a water inlet are correspondingly arranged on the cover plate. When it is necessary to clean the water tank and replace the material of the filter layer, the cover plate can be opened.
进一步地,所述弃流口和出水口分别设置在弃流箱和雨水收集箱的底部,且该弃流口和出水口均设有阀门。Further, the drain outlet and the water outlet are respectively arranged at the bottom of the drain tank and the rainwater collection tank, and both the drain outlet and the water outlet are provided with valves.
进一步地,所述雨水收集箱设有过滤装置。Further, the rainwater collection tank is provided with a filtering device.
进一步地,所述过滤装置为一层或多层过滤网。Further, the filter device is one or more layers of filter nets.
本实用新型具有以下优点:The utility model has the following advantages:
1)本实用新型可以将初期雨水弃除,并通过滑动止水装置上的浮块位置,调节初期雨水径流弃流量的多少,在雨水收集过程中能弃流掉污染严重的初期径流雨水、只收集比较清洁的径流雨水、减少后续处理环节、节约投资和运行费用。1) The utility model can discard the initial rainwater, and adjust the amount of initial rainwater runoff discarded flow by sliding the position of the floating block on the water stop device. During the rainwater collection process, the heavily polluted initial runoff rainwater can be discarded. Collect relatively clean runoff rainwater, reduce subsequent treatment links, and save investment and operating costs.
2)本实用新型结构简单、加工方便,无能耗,造价低,弃流径流量可调节,可满足各种弃流量要求,而且出流水质好,可广泛应用于雨水初雨径流弃流、收集利用系统,有利于我国雨水集蓄利用和推广应用。2) The utility model has the advantages of simple structure, convenient processing, no energy consumption, low cost, adjustable flow rate of waste runoff, which can meet various waste flow requirements, and the quality of outflow water is good, and can be widely used in rainwater, initial rain runoff, waste flow, collection The use of the system is conducive to the utilization and popularization of rainwater collection and storage in our country.
附图说明:Description of drawings:
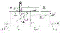
图1为本实用新型的结构示意图。Fig. 1 is the structural representation of the utility model.
具体实施方式Detailed ways
实施例1Example 1
本实施例提供一种可调节初雨弃流量的水箱,包括弃流箱1、雨水收集箱2、止水球3、浮块4和V字形连接件13、分流三通5、过滤网8,所述弃流箱1和雨水收集箱2并排设置,通过隔板7分隔,上端设置可移动的盖板10,该盖板10上对应设置进水口15和入水口16;弃流箱1底部设置弃流口9和阀门11,雨水收集箱2设有多层过滤网8,底部设置出水口6和阀门12。This embodiment provides a water tank capable of adjusting the flow rate of the first rain, which includes a jettison box 1, a rainwater collection box 2, a water stop ball 3, a floating block 4, a V-shaped connector 13, a diverter tee 5, and a filter screen 8. The waste flow box 1 and the rainwater collection box 2 are arranged side by side, separated by a partition 7, and a movable cover plate 10 is arranged on the upper end, and a water inlet 15 and a water inlet 16 are correspondingly arranged on the cover plate 10; Outlet 9 and valve 11, rainwater collection box 2 is provided with multi-layer filter screen 8, and water outlet 6 and valve 12 are arranged at the bottom.
所述分流三通5一端为接水口,另两端分别与弃流箱的进水口15和雨水收集箱的入水口16连接,所述弃流箱的进水口15设有止水球3、浮块4和V字形连接件13,该V字形连接件13的一端固定设置在弃流箱1的上边缘,另一端分别与止水球3、浮块4连接。V字形连接件以弃流箱的上边缘的固定端14为中心上下摆动,浮块4可上下调节,以控制弃流水量。One end of the diversion tee 5 is a water inlet, and the other two ends are respectively connected with the water inlet 15 of the jettison box and the water inlet 16 of the rainwater collection box, and the water inlet 15 of the jettison box is provided with a water stop ball 3 and a floating block 4 and a V-shaped connecting piece 13, one end of the V-shaped connecting piece 13 is fixedly arranged on the upper edge of the jettison box 1, and the other end is connected with the water-stop ball 3 and the floating block 4 respectively. The V-shaped connector swings up and down centered on the fixed
当降雨开始后,含有树叶、尘埃颗粒的初雨径流,通过分流三通5的接水口进入到弃流箱1中,随着水量的增加,弃流箱1中的水面上升,当弃流水量继续增多时,会推动浮块4上升,直到与浮块4连接的止水球3堵塞进水口15,一次弃流收集结束,后续的雨水径流通过分流三通5进入雨水收集箱2,通过设置在上端的过滤网8进行过滤,在雨水收集箱中收集。在弃流箱1的底部安装有控制阀门11,当一次收集雨水结束后,打开此阀门11 将弃流箱1中的水排出,以利于下次使用,弃流箱1和雨水收集箱2上部的盖板10是可移动的,需要对水箱进行清理时,可打开盖板10进行,雨水收集箱2中的过滤层是活动的,方便清理与更换。When the rainfall begins, the initial rain runoff containing leaves and dust particles enters the jettison box 1 through the water connection of the diversion tee 5, and as the water volume increases, the water level in the jettison box 1 rises. When it continues to increase, the floating block 4 will be promoted to rise until the water stop ball 3 connected to the floating block 4 blocks the water inlet 15, and the collection of a waste flow is completed, and the follow-up rainwater runoff enters the rainwater collection box 2 through the diversion tee 5, and is set at The filter screen 8 at the upper end filters and collects in the rainwater collection box. A control valve 11 is installed at the bottom of the jettison box 1. When the rainwater is collected once, the valve 11 is opened to discharge the water in the jettison box 1 for the next use. The top of the jettison box 1 and the rainwater collection box 2 The cover plate 10 is removable, and when the water tank needs to be cleaned, the cover plate 10 can be opened, and the filter layer in the rainwater collection tank 2 is movable, which is convenient for cleaning and replacement.
通过浮块4的滑动可以调节收集的弃流水量。The amount of discarded water collected can be adjusted by sliding the floating block 4 .
显然,本实用新型的上述实施例仅仅是为清楚地说明本实用新型所作的举例,而并非是对本实用新型的实施方式的限定。对于所属领域的普通技术人员来说,在上述说明的基础上还可以做出其它不同形式的变化或变动。这里无法对所有的实施方式予以穷举。凡是属于本实用新型的技术方案所引伸出的显而易见的变化或变动仍处于本实用新型的保护范围之列。Apparently, the above-mentioned embodiments of the present utility model are only examples for clearly illustrating the present utility model, rather than limiting the implementation manner of the present utility model. For those of ordinary skill in the art, other changes or changes in different forms can be made on the basis of the above description. All the implementation manners cannot be exhaustively listed here. All obvious changes or variations derived from the technical solutions of the utility model are still within the scope of protection of the utility model.
Claims (7)
Priority Applications (1)
| Application Number | Priority Date | Filing Date | Title |
|---|---|---|---|
| CN2011200785672U CN202000395U (en) | 2011-03-23 | 2011-03-23 | Initial rain discarded flow amount-adjustable water tank |
Applications Claiming Priority (1)
| Application Number | Priority Date | Filing Date | Title |
|---|---|---|---|
| CN2011200785672U CN202000395U (en) | 2011-03-23 | 2011-03-23 | Initial rain discarded flow amount-adjustable water tank |
Publications (1)
| Publication Number | Publication Date |
|---|---|
| CN202000395U true CN202000395U (en) | 2011-10-05 |
Family
ID=44703140
Family Applications (1)
| Application Number | Title | Priority Date | Filing Date |
|---|---|---|---|
| CN2011200785672U Expired - Fee Related CN202000395U (en) | 2011-03-23 | 2011-03-23 | Initial rain discarded flow amount-adjustable water tank |
Country Status (1)
| Country | Link |
|---|---|
| CN (1) | CN202000395U (en) |
Cited By (10)
| Publication number | Priority date | Publication date | Assignee | Title |
|---|---|---|---|---|
| CN102747775A (en) * | 2012-07-20 | 2012-10-24 | 重庆大学 | Initial rainwater source catch basin |
| CN103195130A (en) * | 2013-03-29 | 2013-07-10 | 中国地质大学(武汉) | Sewage-intercepting and flow-abandoning type rain collector capable of performing back flushing automatically |
| CN103572799A (en) * | 2012-07-25 | 2014-02-12 | 彭辰祺 | Large-scale urban rainwater collecting and utilizing system |
| CN104674929A (en) * | 2015-02-09 | 2015-06-03 | 广西威尔森环保科技开发有限公司 | Rainwater discarding device |
| CN104929230A (en) * | 2015-06-08 | 2015-09-23 | 北京工业大学 | Automatic rainwater removal and storage device with pretreatment |
| CN105439306A (en) * | 2015-11-23 | 2016-03-30 | 福建省福永德环境科技有限公司 | Scattered rainwater front recovery purification system equipment |
| CN105908802A (en) * | 2016-06-13 | 2016-08-31 | 山东大学 | Ecotype rainwater quality-divided accumulation and storage system and building method for hilly region |
| CN108625469A (en) * | 2018-06-01 | 2018-10-09 | 北京建筑大学 | A kind of rainwater flow-discarding device |
| CN108867756A (en) * | 2018-08-02 | 2018-11-23 | 中国中元国际工程有限公司 | Device for recycling rainwater |
| CN110905068A (en) * | 2019-12-09 | 2020-03-24 | 李文君 | Road sewage discharge treatment system based on ecological corridor |
-
2011
- 2011-03-23 CN CN2011200785672U patent/CN202000395U/en not_active Expired - Fee Related
Cited By (16)
| Publication number | Priority date | Publication date | Assignee | Title |
|---|---|---|---|---|
| CN102747775A (en) * | 2012-07-20 | 2012-10-24 | 重庆大学 | Initial rainwater source catch basin |
| CN103572799A (en) * | 2012-07-25 | 2014-02-12 | 彭辰祺 | Large-scale urban rainwater collecting and utilizing system |
| CN103195130A (en) * | 2013-03-29 | 2013-07-10 | 中国地质大学(武汉) | Sewage-intercepting and flow-abandoning type rain collector capable of performing back flushing automatically |
| CN103195130B (en) * | 2013-03-29 | 2014-04-09 | 中国地质大学(武汉) | Sewage-intercepting and flow-abandoning type rain collector capable of performing back flushing automatically |
| CN104674929B (en) * | 2015-02-09 | 2016-08-24 | 广西威尔森环保科技开发有限公司 | Rainwater flow-discarding device |
| CN104674929A (en) * | 2015-02-09 | 2015-06-03 | 广西威尔森环保科技开发有限公司 | Rainwater discarding device |
| CN104929230A (en) * | 2015-06-08 | 2015-09-23 | 北京工业大学 | Automatic rainwater removal and storage device with pretreatment |
| CN104929230B (en) * | 2015-06-08 | 2016-08-17 | 北京工业大学 | A kind of rainwater automatic flow abandoning with pretreatment and storage facility |
| CN105439306A (en) * | 2015-11-23 | 2016-03-30 | 福建省福永德环境科技有限公司 | Scattered rainwater front recovery purification system equipment |
| CN105908802A (en) * | 2016-06-13 | 2016-08-31 | 山东大学 | Ecotype rainwater quality-divided accumulation and storage system and building method for hilly region |
| CN105908802B (en) * | 2016-06-13 | 2018-04-24 | 山东大学 | A kind of Mountain Area ecotype rainwater separating harvests system and construction method |
| CN108625469A (en) * | 2018-06-01 | 2018-10-09 | 北京建筑大学 | A kind of rainwater flow-discarding device |
| CN108867756A (en) * | 2018-08-02 | 2018-11-23 | 中国中元国际工程有限公司 | Device for recycling rainwater |
| CN108867756B (en) * | 2018-08-02 | 2024-07-05 | 中国中元国际工程有限公司 | Rainwater recycling device |
| CN110905068A (en) * | 2019-12-09 | 2020-03-24 | 李文君 | Road sewage discharge treatment system based on ecological corridor |
| CN110905068B (en) * | 2019-12-09 | 2020-10-16 | 湖北中八建设工程有限公司 | Road sewage discharge treatment system based on ecological corridor |
Similar Documents
| Publication | Publication Date | Title |
|---|---|---|
| CN202000395U (en) | Initial rain discarded flow amount-adjustable water tank | |
| CN202380514U (en) | Rainwater collecting device of initial rainwater discarding | |
| CN102359172B (en) | City life residential area rainwater shunting, collecting and disposal system | |
| CN101285314B (en) | Rainwater separating treatment recycling device | |
| CN201981573U (en) | Early-stage rainfall collecting device | |
| CN202017224U (en) | Distributional automatic rainwater flow abandoning device for roof | |
| CN104213599B (en) | Zero energy consumption roof rain water reclaims Waste water utilization system | |
| CN105839755B (en) | A kind of introduction of Roof Rainwater Harvesting System | |
| CN206233333U (en) | Initial rainwater filtering, precipitating, discarding and collecting treatment system | |
| CN205062979U (en) | Rainwater collection and treatment system for green energy -saving building | |
| CN104631609A (en) | Unpowered rainwater split-flow sewage intercepting device | |
| CN105735449B (en) | A kind of urban road rainwater collecting and treating system | |
| CN202689170U (en) | Automatic flow dividing device for front-stage rain and middle-back-stage rain flow division | |
| CN207700339U (en) | A kind of inlet for stom water automatically adjusting rainfall early-stage rainwater stream abandoning amount | |
| CN107653961A (en) | Rainwater collecting device | |
| CN203412082U (en) | Initial rainwater abandonment device | |
| CN103195130B (en) | Sewage-intercepting and flow-abandoning type rain collector capable of performing back flushing automatically | |
| CN101886409A (en) | Vertical roof rainwater automatic initial discharge device | |
| CN211817483U (en) | Automatic rainwater shunting and filtering bucket for building | |
| CN114809187B (en) | Roof rainwater grading treatment and utilization equipment and method | |
| CN202337994U (en) | Water-saving natural rainwater resource collection and treatment device | |
| CN203296109U (en) | Roof rainwater recovery recycled water utilization system with zero energy consumption | |
| CN202007436U (en) | Initial rainwater flow distributing and collecting device capable of realizing unmanned management | |
| CN2863947Y (en) | Primary stormwater interception system for controlling urban non-point source pollution | |
| CN204456413U (en) | Unpowered rain water drainage pollution cutting device |
Legal Events
| Date | Code | Title | Description |
|---|---|---|---|
| C14 | Grant of patent or utility model | ||
| GR01 | Patent grant | ||
| C17 | Cessation of patent right | ||
| CF01 | Termination of patent right due to non-payment of annual fee |
Granted publication date: 20111005 Termination date: 20120323 |
