CN201970117U - Clamping tool for a connection rod bore on a marine diesel engine - Google Patents

Clamping tool for a connection rod bore on a marine diesel engine Download PDF

Info

Publication number
CN201970117U
CN201970117U CN2010206882807U CN201020688280U CN201970117U CN 201970117 U CN201970117 U CN 201970117U CN 2010206882807 U CN2010206882807 U CN 2010206882807U CN 201020688280 U CN201020688280 U CN 201020688280U CN 201970117 U CN201970117 U CN 201970117U
Authority
CN
China
Prior art keywords
connecting rod
clamping
base plate
fixed
connection rod
Prior art date
Legal status (The legal status is an assumption and is not a legal conclusion. Google has not performed a legal analysis and makes no representation as to the accuracy of the status listed.)
Expired - Lifetime
Application number
CN2010206882807U
Other languages
Chinese (zh)
Inventor
朱秦超
汝文斌
藏春杰
Current Assignee (The listed assignees may be inaccurate. Google has not performed a legal analysis and makes no representation or warranty as to the accuracy of the list.)
Hudong Heavy Machinery Co Ltd
Original Assignee
Hudong Heavy Machinery Co Ltd
Priority date (The priority date is an assumption and is not a legal conclusion. Google has not performed a legal analysis and makes no representation as to the accuracy of the date listed.)
Filing date
Publication date
Application filed by Hudong Heavy Machinery Co Ltd filed Critical Hudong Heavy Machinery Co Ltd
Priority to CN2010206882807U priority Critical patent/CN201970117U/en
Application granted granted Critical
Publication of CN201970117U publication Critical patent/CN201970117U/en
Anticipated expiration legal-status Critical
Expired - Lifetime legal-status Critical Current

Links

Images

Landscapes

  • Jigs For Machine Tools (AREA)

Abstract

The utility model relates to a clamping tool for a connection rod bore on a marine diesel engine, comprising a bottom plate and a connection rod clamping assemble mounted on the bottom plate, wherein a clamping groove for fixing the position of the bore of a planer type milling machine is arranged on the edge of the bottom plate, a connection rod large-end installation position and a connection rod small-end installation position are arranged on the bottom plate; the connection rod clamping assembly comprises: two sets of clamping assembles respectively fixed on the connection rod small-end installation position and the connection rod large-end installation position, each set of clamping assembly comprises a sector gasket, a long bolt, a press plate, a support rack, a support screw and a fixation pole, the clamping assembly at the connection rod large-end installation position clamps the connection rod large-end and the clamping assembly at the connection rod small-end installation position clamps the connection rod small-end. The hole to be processed on the connection rod is bored out after one-time clamping, therefore the quality of the product is ensured and the production efficiency is increased.

Description

The clamping tool that the connecting rod bore hole is used on a kind of marine diesel
Technical field
The utility model relates to the marine diesel manufacturing, particularly a kind ofly processes the clamping tool that PC on the marine diesel, PA connecting rod bore hole use.
Background technology
The connecting rod of medium seed diesel engine is that the core of medium seed diesel engine connects and drive disk assembly, and according to different environments for use, connecting rod includes two types on PC connecting rod and PA connecting rod, the shape and structure of two kinds of connecting rods is identical, but size is different.This PC(PA) connecting rod itself has large and small stomidium all needs bore hole processing.
After can't finding suitable position and instrument to come attachment strap to compress above-mentioned connecting rod on hand over planer-type milling machine or the boring machine, process in the prior art.And exist Geometrical Tolerance Principle height, roughness to require more high difficult problems during above-mentioned Machining of Connecting Rod.
In the middle of the prior art, the method for the pressure plate workpiece pressing of workpiece bore processing is exactly to find suitable plane on workpiece, and the pressure plate is fixed, and boring row runs into pressing plate when avoiding bore hole.
There are following problem in clamping process and processing method in the above-mentioned technology of PC, PA connecting rod being carried out bore hole processing:
The first, owing to the big end on PC connecting rod and the PA connecting rod, the Geometrical Tolerance Principle height of little stomidium, thereby above-mentioned processing method can make the flexural deformation of connecting rod workpiece cause the workpiece size precision overproof, causes product defective;
The second, because above-mentioned processing method of the prior art need be carried out the school accent through connecting rod workpiece repeatedly, cause big, the consuming time length of labor intensity of operating staff, the corresponding connecting rod working (machining) efficiency is low, tends to have influence on the construction time limit of marine diesel.
Summary of the invention
The purpose of this utility model is to overcome above-mentioned the deficiencies in the prior art, the clamping tool that provides a kind of PC, PA connecting rod bore hole to use.By clamping tool of the present utility model the aperture that needs processing on the connecting rod is crossed a clamping and just can bore, to guarantee product quality, to enhance productivity.
In order to reach the foregoing invention purpose, the technical scheme that the utility model provides is as follows:
The clamping tool that the connecting rod bore hole is used on a kind of marine diesel, it is characterized in that, this clamping tool is made of base plate and the connecting rod clamping assembly that is installed on the base plate, the edge of described base plate is provided with the draw-in groove in order to the bore hole position of being fixed in planer-type milling machine, and described base plate is provided with connecting rod tip installation site and wrist-pin end of connecting rod installation site; Described connecting rod clamping assembly includes the two assembling clip assemblies that are individually fixed in connecting rod tip installation site and wrist-pin end of connecting rod installation site, every assembling clip assembly includes the annular cushion block of fan, stay bolt, pressing plate, bracing frame, supporting screw and fixed leg, be positioned at the described connecting rod tip of connecting rod tip installation site clamping assembly clamping, wherein, fanning annular cushion block is fixed on the base plate by screw, this fans the nearly mid link end that connecting rod tip is placed on annular cushion block top, described supporting screw is fixed on the base plate, the mid link end far away of connecting rod tip is placed at the top of this supporting screw, the connecting rod tip outer rim of connecting rod tip installed position is fixed with a plurality of long bolts on base plate, be fixed with adjustable described pressing plate on the top of long threaded rod, be provided with bracing frame near the long bolt position, the bracing frame top is provided with screw thread, one end of described pressing plate is fixed on the described bracing frame by nut, the other end of this pressing plate is pressed on the top of connecting rod tip, is fixed in the outer rim that fixed leg on the base plate is butted on connecting rod tip; Be positioned at the described wrist-pin end of connecting rod of wrist-pin end of connecting rod installation site clamping assembly clamping.
In the clamping tool that the connecting rod bore hole is used on above-mentioned marine diesel, long bolt is two in every assembling clip assembly, is respectively in the nearly mid link end of connecting rod tip and wrist-pin end of connecting rod symmetrically.
In the clamping tool that the connecting rod bore hole is used on above-mentioned marine diesel, described connecting rod includes PA connecting rod and PC connecting rod, described base plate is provided with the PA connecting rod clamping assembly of corresponding processing PA connecting rod and the PC connecting rod clamping assembly of corresponding processing PC connecting rod, and described PA connecting rod clamping assembly and PC connecting rod clamping assembly are selected one and used with correspondence processing PA connecting rod or PC connecting rod.
Based on technique scheme, clamping tool that the connecting rod bore hole is used on the marine diesel of the present utility model and corresponding processing technology have following technique effect in the Machining of Connecting Rod process:
1. the clamping tool that PC of the present utility model, PA connecting rod bore hole are used cooperates planer-type milling machine to use, by 3 pressure methods that determine a plane, solve the workpiece flexural deformation that is produced because of the pressure plate and caused the overproof problem of form and position tolerance, guaranteed crudy.
2. the clamping tool that PC of the present utility model, PA connecting rod bore hole are used all has reference column in the connecting rod tip of connecting rod and the position of wrist-pin end of connecting rod, and transfer in the school that greatly facilitates workpiece, has shortened man-hour, improved working (machining) efficiency.
3. the clamping tool that PC of the present utility model, PA connecting rod bore hole are used has simple in structure, easy to use, cheap, and safe and reliable, has realized the high accuracy processing of PC, PA connecting rod bore hole.
Description of drawings
Fig. 1 is the side-looking structural representation of the clamping tool that PC connecting rod bore hole is used on the utility model marine diesel.
Fig. 2 is the plan structure schematic diagram of the clamping tool that PC connecting rod bore hole is used on the utility model marine diesel.
Fig. 3 is the schematic top plan view of clamping tool behind clamping PC connecting rod that PC connecting rod bore hole is used on the utility model marine diesel.
Fig. 4 is the side-looking structural representation of the clamping tool that PA connecting rod bore hole is used on the utility model marine diesel.
Fig. 5 is the plan structure schematic diagram of the clamping tool that PA connecting rod bore hole is used on the utility model marine diesel.
Fig. 6 is the schematic top plan view of clamping tool behind clamping PC connecting rod that PA connecting rod bore hole is used on the utility model marine diesel.
The specific embodiment
Come the clamping tool that the utility model processing PC, PA connecting rod bore hole are used is further described below in conjunction with accompanying drawing and specific embodiment, but should therefore not limit protection domain of the present utility model.
The utility model is a kind ofly to add the clamping tool of using man-hour in that PC, PA connecting rod are carried out bore hole, this clamping tool and planer-type milling machine are used, the PC connecting rod that uses on the medium seed diesel engine and PA connecting rod are carried out bore hole processing, reached and make things convenient for bore hole processing and increase the machining accuracy purpose.
Because the PA connecting rod on the Marine Medium-speed Diesel Engine is identical with the structure of PC connecting rod, all be to include mid link, connecting rod tip and wrist-pin end of connecting rod, just different on processing dimension, based on this thinking, we have designed a clamping tool, this clamping tool will need the connecting rod of bore hole processing to be fixed on the tool plan, and with this processing plane in the bore hole position of being fixed in planer-type milling machine, thereby realize disposable bore hole processing to connecting rod, guarantee that the precision of bore hole also improves working (machining) efficiency.
The clamping tool that the connecting rod bore hole is used on the marine diesel of the present utility model is to be made of base plate 1 and the connecting rod clamping assembly 2 that is installed on the base plate 1.
Be provided with in order to be fixed in the draw-in groove 11 of planer-type milling machine bore hole position at the edge of above-mentioned base plate 1, described base plate 1 is provided with connecting rod tip installation site and wrist-pin end of connecting rod installation site.Base plate 1 is by snapping onto on the workbench that is fixed on large-scale milling machine in the draw-in groove then with bolt, and then the connecting rod on the marine diesel that will need to process is fixed on the base plate 1, and is fixedly clamped with the clamping assembly.
Owing to include mid link, connecting rod tip and wrist-pin end of connecting rod on the bar linkage structure, all have the position that to carry out bore hole on above-mentioned connecting rod tip and the wrist-pin end of connecting rod, so connecting rod tip and wrist-pin end of connecting rod must be fixed.In order to fix, we have designed connecting rod clamping assembly, and the connecting rod clamping assembly here is provided with corresponding to connecting rod tip and wrist-pin end of connecting rod, and purpose is that it is gripped, and the position can not occur and move in the bore hole process.
In concrete the setting, connecting rod clamping assembly includes the connecting rod tip installation site that is individually fixed on the base plate 1 and two assembling clip assemblies of wrist-pin end of connecting rod installation site.
Every group of above-mentioned clamping assembly all includes the annular cushion block of fan, stay bolt, pressing plate, bracing frame, supporting screw and fixed leg.Be positioned at the described connecting rod tip of connecting rod tip installation site clamping assembly clamping, wherein, fanning annular cushion block is fixed on the base plate by screw, this fans the nearly mid link end that connecting rod tip is placed on annular cushion block top, described supporting screw is fixed on the base plate, the mid link end far away of connecting rod tip is placed at the top of this supporting screw, the connecting rod tip outer rim of connecting rod tip installed position is fixed with a plurality of long bolts on base plate, be fixed with adjustable described pressing plate on the top of long threaded rod, be provided with bracing frame near the long bolt position, the bracing frame top is provided with screw thread, one end of described pressing plate is fixed on the described bracing frame by nut, the other end of this pressing plate is pressed on the top of connecting rod tip, is fixed in the outer rim that fixed leg on the base plate is butted on connecting rod tip.
Be positioned at the described wrist-pin end of connecting rod of wrist-pin end of connecting rod installation site clamping assembly clamping.Wherein, fanning annular cushion block is fixed on the base plate by screw, this fans the nearly mid link end that wrist-pin end of connecting rod is placed on annular cushion block top, described supporting screw is fixed on the base plate, the mid link end far away of wrist-pin end of connecting rod is placed at the top of this supporting screw, the wrist-pin end of connecting rod outer rim of wrist-pin end of connecting rod installed position is fixed with a plurality of long bolts on base plate, be fixed with adjustable described pressing plate on the top of long threaded rod, be provided with bracing frame near the long bolt position, the bracing frame top is provided with screw thread, one end of described pressing plate is fixed on the described bracing frame by nut, the other end of this pressing plate is pressed on the top of wrist-pin end of connecting rod, is fixed in the outer rim that fixed leg on the base plate is butted on wrist-pin end of connecting rod.
Below we describe with two embodiment:
Embodiment 1
Present embodiment is special in processing PC connecting rod manufactures and designs, as depicted in figs. 1 and 2,
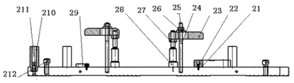
When processing PC connecting rod, use PC connecting rod clamping assembly 2.As seen from Figure 3, described PC connecting rod clamping assembly 2 is made up of fan-shaped cushion block 21, soket head cap screw 22, pressing plate 23, bolt 24, packing ring 25, hex nut 26, hex nut 27, bracing frame 28, fan-shaped cushion block 29, reference column 210, soket head cap screw 211, supporting screw 212.Wherein, fan-shaped cushion block 21, fan-shaped cushion block 29 are fixed on the base plate 1 by soket head cap screw 22, play the level school accent effect of PC linkage plane and lathe working face.
Reference column 210 is fixed on the base plate 1 by soket head cap screw 211, also plays the positioning action of PC connecting rod, makes it be unlikely to move forward and backward.Its center platen 23, bolt 24, packing ring 25, hex nut 26, hex nut 27, bracing frame 28 constitute the clamping assembly 2 of a PC connecting rod, and its effect is a pressure PC connecting rod.In addition, hex nut 27 is spun on the bracing frame 28, bolt 24 is fixed on the base plate 1 by thread connection, pressing plate 23 passes bolt 24, one end rides on the PC connecting rod, one end rides on the hex nut 27, by Height Adjustment pressing plate 23 height of hex nut 27 according to the PC connecting rod, tightens fixedly PC connecting rod of hex nut 26 again.
Embodiment 2
Present embodiment is special in processing PA connecting rod manufactures and designs, and as shown in Figure 4 and Figure 5, when processing PA connecting rod, uses PA connecting rod clamping assembly 3.As seen from Figure 6, described PA connecting rod clamping assembly 3 is made up of pressing plate 33, bolt 34, packing ring 35, hex nut 36, fan-shaped cushion block 31, hex nut 37, bracing frame 38, fan-shaped cushion block 32, reference column 310, soket head cap screw 311, supporting screw 212.Wherein, fan-shaped cushion block 31, fan-shaped cushion block 32 are fixed on the base plate 1 by soket head cap screw 32, play the level school accent effect of PA linkage plane and lathe working face.Described reference column 310 is fixed on the base plate 1 by soket head cap screw 311, plays the positioning action of PA connecting rod.Its center platen, bolt, packing ring, hex nut, bracing frame constitute the pressure assembly of a PA connecting rod; Hex nut 37 is spun on the bracing frame 38, bolt 34 is fixed on the base plate 1 by thread connection, pressing plate 33 passes bolt 34, one end rides on the PC connecting rod, one end rides on the hex nut 37, by Height Adjustment pressing plate 33 height of hex nut 37, tighten fixedly PA connecting rod of hex nut 36 again according to the PA connecting rod.
An above-mentioned preferred embodiment of the present utility model is exactly the connecting rod bore hole processing to medium seed diesel engine, this clamping tool comprises base plate, PC connecting rod clamping assembly and PA connecting rod clamping assembly, and select one type of processing owing to can only send out use, so PC connecting rod clamping assembly and PA connecting rod clamping assembly can only be selected a use, but have reserved the installation site of two kinds of assemblies on the base plate.
The clamping tool of the connecting rod bore hole processing of medium seed diesel engine, the method for its connecting rod clamping is carried out as follows:
(1) be put in gantry at PC connecting rod or PA connecting rod and mill the bore hole first being processed, earlier base plate is placed on the planer-type milling machine, and smooth, the school of alignment transfers work, treat the school transfer finish after, the bedplate pressure is firm;
(2) select PC connecting rod clamping assembly or PA connecting rod clamping assembly according to product to be processed, and this assembly is placed on the corresponding position by Fig. 3 or Fig. 6, and be fixed on the base plate 1 by fixing means separately;
(3) product to be processed is positioned on PC, the PA connecting rod clamping assembly, the connecting rod lengthwise position is fixed, again pressing plate is compressed, tighten hex nut, connecting rod is fixed on the base plate by reference column.
Finish the PC connecting rod of medium seed diesel engine or the clamping before the processing of PA connecting rod bore hole, can carry out school mediation processing by the bore hole processing request.
In sum, inconvenient, not high, unstable these major issues of quality of working (machining) efficiency are transferred in pressure distortion, school that the utility model has run into when having solved work in-process speed diesel engine connecting bar, clamping tool has simple in structure, and is easy to use, and efficient is expensive low, safe and reliable.

Claims (3)

1. the clamping tool that the connecting rod bore hole is used on the marine diesel, it is characterized in that, this clamping tool is made of base plate and the connecting rod clamping assembly that is installed on the base plate, the edge of described base plate is provided with in order to be fixed in the draw-in groove of planer-type milling machine bore hole position, and described base plate is provided with connecting rod tip installation site and wrist-pin end of connecting rod installation site; Described connecting rod clamping assembly includes the two assembling clip assemblies that are individually fixed in connecting rod tip installation site and wrist-pin end of connecting rod installation site, every assembling clip assembly includes the annular cushion block of fan, stay bolt, pressing plate, bracing frame, supporting screw and fixed leg, be positioned at the described connecting rod tip of connecting rod tip installation site clamping assembly clamping, wherein, fanning annular cushion block is fixed on the base plate by screw, this fans the nearly mid link end that connecting rod tip is placed on annular cushion block top, described supporting screw is fixed on the base plate, the mid link end far away of connecting rod tip is placed at the top of this supporting screw, the connecting rod tip outer rim of connecting rod tip installed position is fixed with a plurality of long bolts on base plate, be fixed with adjustable described pressing plate on the top of long threaded rod, be provided with bracing frame near the long bolt position, the bracing frame top is provided with screw thread, one end of described pressing plate is fixed on the described bracing frame by nut, the other end of this pressing plate is pressed on the top of connecting rod tip, is fixed in the outer rim that fixed leg on the base plate is butted on connecting rod tip; Be positioned at the described wrist-pin end of connecting rod of wrist-pin end of connecting rod installation site clamping assembly clamping.
2. the clamping tool that the connecting rod bore hole is used on a kind of marine diesel according to claim 1 is characterized in that, the long bolt described in every assembling clip assembly is two, is respectively in the nearly mid link end of connecting rod tip and wrist-pin end of connecting rod symmetrically.
3. the clamping tool that the connecting rod bore hole is used on a kind of marine diesel according to claim 1, it is characterized in that, described connecting rod includes PA connecting rod and PC connecting rod, described base plate is provided with the PA connecting rod clamping assembly of corresponding processing PA connecting rod and the PC connecting rod clamping assembly of corresponding processing PC connecting rod, and described PA connecting rod clamping assembly and PC connecting rod clamping assembly are selected one and used with correspondence processing PA connecting rod or PC connecting rod.
CN2010206882807U 2010-12-30 2010-12-30 Clamping tool for a connection rod bore on a marine diesel engine Expired - Lifetime CN201970117U (en)

Priority Applications (1)

Application Number Priority Date Filing Date Title
CN2010206882807U CN201970117U (en) 2010-12-30 2010-12-30 Clamping tool for a connection rod bore on a marine diesel engine

Applications Claiming Priority (1)

Application Number Priority Date Filing Date Title
CN2010206882807U CN201970117U (en) 2010-12-30 2010-12-30 Clamping tool for a connection rod bore on a marine diesel engine

Publications (1)

Publication Number Publication Date
CN201970117U true CN201970117U (en) 2011-09-14

Family

ID=44575224

Family Applications (1)

Application Number Title Priority Date Filing Date
CN2010206882807U Expired - Lifetime CN201970117U (en) 2010-12-30 2010-12-30 Clamping tool for a connection rod bore on a marine diesel engine

Country Status (1)

Country Link
CN (1) CN201970117U (en)

Cited By (10)

* Cited by examiner, † Cited by third party
Publication number Priority date Publication date Assignee Title
CN103586707A (en) * 2013-10-25 2014-02-19 安徽机电职业技术学院 Special fixture for boring robot wrist connectors
CN104669002A (en) * 2014-08-10 2015-06-03 安徽工程大学 Special prompting clamp for machining side end face of robot rotation seat
CN104772658A (en) * 2015-03-23 2015-07-15 宁夏共享模具有限公司 Profiling tool for machining parts and components of ships and method thereof
CN104924117A (en) * 2015-06-23 2015-09-23 宁夏共享模具有限公司 Modularization tool used for machining L-shaped diesel engine body and use method thereof
CN105500058A (en) * 2015-11-30 2016-04-20 强龙科技(苏州)有限公司 Special clamp for computer numerical control (CNC) machining of bent parts and clamping method
CN105834380A (en) * 2016-05-26 2016-08-10 共享装备股份有限公司 Movable fixture for casting sand box
CN106735658A (en) * 2016-12-22 2017-05-31 沪东重机有限公司 For the part volume machining tool and processing method of wire cutting machine tool
CN107263106A (en) * 2017-05-31 2017-10-20 安庆中船动力配套有限公司 A kind of engine link system of processing
CN114952347A (en) * 2022-07-06 2022-08-30 上海中船三井造船柴油机有限公司 Positioning device and method for diesel engine connecting rod on planer type milling machine
CN115740553A (en) * 2022-11-23 2023-03-07 重庆跃进机械厂有限公司 Boring device and method for marine engine connecting rod

Cited By (14)

* Cited by examiner, † Cited by third party
Publication number Priority date Publication date Assignee Title
CN103586707A (en) * 2013-10-25 2014-02-19 安徽机电职业技术学院 Special fixture for boring robot wrist connectors
CN104669002A (en) * 2014-08-10 2015-06-03 安徽工程大学 Special prompting clamp for machining side end face of robot rotation seat
CN104772658A (en) * 2015-03-23 2015-07-15 宁夏共享模具有限公司 Profiling tool for machining parts and components of ships and method thereof
CN104924117B (en) * 2015-06-23 2017-08-25 宁夏共享模具有限公司 A kind of modularization frock and its application method for being used to process L-type diesel-engine body
CN104924117A (en) * 2015-06-23 2015-09-23 宁夏共享模具有限公司 Modularization tool used for machining L-shaped diesel engine body and use method thereof
CN105500058B (en) * 2015-11-30 2018-05-04 强龙科技(苏州)有限公司 A kind of CNC processing bool special fixtures and clamping method
CN105500058A (en) * 2015-11-30 2016-04-20 强龙科技(苏州)有限公司 Special clamp for computer numerical control (CNC) machining of bent parts and clamping method
CN105834380A (en) * 2016-05-26 2016-08-10 共享装备股份有限公司 Movable fixture for casting sand box
CN106735658A (en) * 2016-12-22 2017-05-31 沪东重机有限公司 For the part volume machining tool and processing method of wire cutting machine tool
CN107263106A (en) * 2017-05-31 2017-10-20 安庆中船动力配套有限公司 A kind of engine link system of processing
CN107263106B (en) * 2017-05-31 2019-03-01 安庆中船动力配套有限公司 A kind of engine link system of processing
CN114952347A (en) * 2022-07-06 2022-08-30 上海中船三井造船柴油机有限公司 Positioning device and method for diesel engine connecting rod on planer type milling machine
CN114952347B (en) * 2022-07-06 2024-04-05 上海中船三井造船柴油机有限公司 Positioning device and method for diesel engine connecting rod on planer type milling machine
CN115740553A (en) * 2022-11-23 2023-03-07 重庆跃进机械厂有限公司 Boring device and method for marine engine connecting rod

Similar Documents

Publication Publication Date Title
CN201970117U (en) Clamping tool for a connection rod bore on a marine diesel engine
CN202752897U (en) Machining fixture for parallel holes and coaxial holes
CN201664852U (en) A rotary precision machining tool
CN214922445U (en) Special clamp for oil baffle ring products
CN203509647U (en) Numerical control milling machine clamp for milling chamfers of bottom plates
CN202922228U (en) Gear drilling fixture compressed by eccentric gear
CN201940827U (en) Clamping tool for processing marine diesel connecting rod
CN203542172U (en) Fixture for machining tee joint
CN203726223U (en) Fixture for machining large-head and small-head holes of connecting rods of engines of automobiles
CN115870779B (en) A flexible tooling for butterfly valve body
CN202894832U (en) Vertical lathe fixture
CN210848334U (en) Motor casing processing rigidity knife rest device and motor casing processingequipment
CN209256425U (en) A kind of motor base hydraulic tool
CN203527028U (en) Double-station integrated clamp for manufacturing industrial robot
CN102000851A (en) Ram boring device
CN206382664U (en) A kind of tool for being used to process circular big cavity plate
CN205852327U (en) A kind of positioning tool of cavity revolving body milling machine
CN204975601U (en) It adds clamping apparatus to exempt from to proofread and correct electrode
CN217530041U (en) Screw pump spline shaft keyway processing location frock
CN219465475U (en) Combined machining center clamp
CN207087383U (en) A kind of machining frock of base of wind turbine generator set
CN222767789U (en) Positioning tool for boring of transmission shaft housing
CN112935884A (en) Device for clamping multiple shaft parts and machining method
CN205888668U (en) Turning and milling anchor clamps that have strip clamp portion
CN205147505U (en) High accuracy quick change dish tooth hobbing clamp

Legal Events

Date Code Title Description
C14 Grant of patent or utility model
GR01 Patent grant
CX01 Expiry of patent term

Granted publication date: 20110914

CX01 Expiry of patent term