CN201968663U - Domestic synoptophore - Google Patents

Domestic synoptophore Download PDF

Info

Publication number
CN201968663U
CN201968663U CN2010206964741U CN201020696474U CN201968663U CN 201968663 U CN201968663 U CN 201968663U CN 2010206964741 U CN2010206964741 U CN 2010206964741U CN 201020696474 U CN201020696474 U CN 201020696474U CN 201968663 U CN201968663 U CN 201968663U
Authority
CN
China
Prior art keywords
synoptophore
domestic
pedestal
hand rotation
rotating arm
Prior art date
Legal status (The legal status is an assumption and is not a legal conclusion. Google has not performed a legal analysis and makes no representation as to the accuracy of the status listed.)
Expired - Fee Related
Application number
CN2010206964741U
Other languages
Chinese (zh)
Inventor
郭永胜
Current Assignee (The listed assignees may be inaccurate. Google has not performed a legal analysis and makes no representation or warranty as to the accuracy of the list.)
Xi'an China Subelectron Co Ltd
Original Assignee
Xi'an China Subelectron Co Ltd
Priority date (The priority date is an assumption and is not a legal conclusion. Google has not performed a legal analysis and makes no representation as to the accuracy of the date listed.)
Filing date
Publication date
Application filed by Xi'an China Subelectron Co Ltd filed Critical Xi'an China Subelectron Co Ltd
Priority to CN2010206964741U priority Critical patent/CN201968663U/en
Application granted granted Critical
Publication of CN201968663U publication Critical patent/CN201968663U/en
Anticipated expiration legal-status Critical
Expired - Fee Related legal-status Critical Current

Links

Images

Landscapes

  • Eye Examination Apparatus (AREA)

Abstract

The utility model provides a domestic synoptophore, which overcomes the shortages that no amblyopia treatment function is provided in the prior art, detection precision is lower and a synoptophore is hard to popularize to families. The domestic synoptophore comprises a base, a lens component, an illuminating component, a vision adjusting component, a control circuit and a control panel disposed on the base. The vision adjusting component comprises a left rotating arm, a right rotating arm, a pupil distance adjusting device and a jaw support, wherein the left rotating arm and the right rotating arm are disposed in symmetry and respectively, movably and fittingly connected with the base through a rotating shaft perpendicular to the base, and the pupil distance adjusting device is fittingly connected with the lower ends of the left rotating arm and the right rotating arm. The control circuit comprises a light source switching module, a light intensity adjusting device and a luminous frequency adjusting module. The domestic synoptophore integrates functions of checking amblyopia, heterotropia stereopsis and other ocular defects of a synoptophore, can be used for treating amblyopia through red flash, and is higher in mechanical precision.

Description

The domestic synoptophore
Technical field
This utility model relates to a kind of synoptophore, relates in particular to a kind of domestic synoptophore for the treatment of amblyopia.
Background technology
Eye is looked light and is generally checked by the ophthalmic medical instrument and treat.The instrument that is exclusively used in binocular visual function inspection and treatment at present mainly is the mechanical type synoptophore.The essential structure of existing machinery formula synoptophore is as follows: be provided with a metal box on its base, the rotatable parts and the circuit of storage machine in the case, base is provided with two metal arms, and metal arm connects lens barrel, and each lens barrel comprises eyepiece, reflecting mirror and picture folder, insert in the picture folder and check or treat used picture, the base of metal arm is provided with graduated disc, is carved with two row scales on it, a behavior circular degree, another behavior prism degree is with the angle of indication lens barrel rotation.Two lens barrels can interiorly change 50 degree, change 40 degree outward, with the height of picture and the scale of rotation, can move up and down and rotate on the lens barrel.Its critical component is two lens barrels, and lens barrel is the motion that all directions are made at the center with three axles: the horizontal movement of receipts and abduction both direction in vertical axis is done; Do moving both vertically of above-below direction around trunnion axis; Rotate around sagittal axis.The motion of mirror letter all directions all is the center rotation with the eyeball.An illuminator is housed in the lens barrel, is miter angle, can make two lens barrels, 90 degree of both direction bending to the left and right respectively like this, make the patient feel that image is from dead ahead with sight line.Eyepiece is equipped with in the outer end of lens barrel, inner plug-in mounting picture, and the dioptric concave-sphere of one+7D is laid in the centre, and picture is placed on the focus of concave-sphere, can make light parallel, and the picture of seeing through eyepiece is equivalent to the effect from infinity.Two arms of synoptophore are being controlled the horizontal movement of picture.Two arms can independently moving, makes the incorgruous motion of set or abduction after also can be of lock fixing, can also do parallel motion.Can make picture do vertical and rotatablely move by different turn-knobs.The doctor can be transferred to each diagnosis eye position to lens barrel and check or treat.
There is following shortcoming in above-mentioned traditional mechanical formula synoptophore: at first, owing to adopt common white light transmission picture, and light patterns is simpler, and synoptophore is difficult to play the effect of treatment amblyopia, and product function is limited; Secondly, the work long hours heat that produces of traditional luminous source can influence the precision of optical system, makes testing result have than mistake; In addition, it is less to regulate correcting unit, causes the synoptophore mechanical precision lower.
Though the minority large hospital can overcome precision and have treatment, measuring ability concurrently with external similar high accuracy therapeutic equipment, its small product size is very big, costs an arm and a leg, and is difficult to be applicable to average family.
The utility model content
This utility model provides a kind of domestic synoptophore, is intended to solve prior art in the background technology and does not possess treatment amblyopia function and detect precision lower or be difficult to the shortcoming of pervasive domestic.
The technical solution of the utility model is as follows:
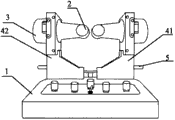
The domestic synoptophore, comprise pedestal, lens assembly, luminescence component, visual adjustment assembly, control circuit and the control panel that is arranged on the pedestal, it is characterized in that: described visual adjustment assembly comprises symmetrically arranged left-hand rotation arm and right-hand rotation arm, interpupillary distance adjusting device and jaw holder, wherein left, right-hand rotation arm bottom is connected with the pedestal clearance fit by the rotating shaft perpendicular to pedestal respectively, an interpupillary distance adjusting device and a left side, right-hand rotation arm lower end is connected, a left side, the inside along continuous straight runs on right-hand rotation arm top offers the picture box respectively, the built-in Haidinger brush of picture box, the center of picture box is on the path channels primary optical axis, a left side, right two set of shots assemblies are arranged at a left side respectively along path channels, right-hand rotation arm top, picture box rear be provided with can produce red, the luminescence component of white light, described control circuit comprises the light source handover module, light intensity regulating module and glow frequency adjustment module.
Above-mentioned luminescence component mainly is made up of LED luminous plaque and lampshade, and the plurality of LEDs lamp is arranged with path channels primary optical axis centrosymmetry.Led light source belongs to cold light source, has avoided traditional synoptophore because the problem of light source warming-up effect instrument precision and stability.
Above-mentioned left and right pivoted arm arranged outside has the pivoted arm locking knob; Described interpupillary distance adjusting device is provided with the interpupillary distance adjusting handle in the pedestal side.
Above-mentioned jaw holder bottom is supported by the screw rod perpendicular to pedestal, is provided with the jaw holder height adjusting knob that is connected with this screw rod in the pedestal side.Pivoted arm locking knob, interpupillary distance adjusting handle, jaw holder height adjusting knob all are arranged at the side, regulate when making things convenient for the people visual, and need not leave the jaw holder.
Above-mentioned control panel is provided with light source switch knob, light intensity regulating knob and the glow frequency adjusting knob that corresponds respectively to left and right two groups of luminescence components.
Above-mentioned left and right pivoted arm upper outside is provided with in order to regulate the picture lifting nut of picture box inside-paint Board position corresponding to the position of picture box.
Above-mentioned light source switch knob is divided into " often going out ", " Chang Liang ", " flicker ", " after image " fourth gear.
The above-mentioned luminescence component that can produce HONGGUANG is in the preposition red tab of the diode that turns white.
Advantage of the present utility model is:
1, the medical synoptophore of collection is checked amblyopia, stravismus, stereopsis and other class defective function one, and can pass through the flashing red light treatment amblyopia.
2, HONGGUANG, white light all adopt led light source, and cold light source has guaranteed optical system stability and precision preferably.
3, have adjusting parts such as interpupillary distance is regulated, pivoted arm is regulated, pivoted arm is locked, picture is regulated, the jaw holder is just regulated, further guaranteed mechanical precision.
Description of drawings
Fig. 1 is this utility model front elevational schematic.
Fig. 2 is this utility model schematic rear view.
Fig. 3 looks sketch map for this utility model left side.
Fig. 4 looks sketch map for this utility model right side.
The drawing reference numeral explanation:
The 1-pedestal, 2-lens assembly, 3-luminescence component, 41-left-hand rotation arm, 42-right-hand rotation arm, 5-interpupillary distance adjusting handle, the holder of 6-jaw.
The specific embodiment
Below in conjunction with accompanying drawing in detail this utility model is described in detail.
The domestic synoptophore comprises pedestal, lens assembly, luminescence component, visual adjustment assembly, control circuit and is arranged at control panel on the pedestal.
Luminescence component mainly is made up of LED luminous plaque and lampshade, and the plurality of LEDs lamp is arranged with path channels primary optical axis centrosymmetry.Led light source belongs to cold light source, has avoided traditional synoptophore because the problem of light source warming-up effect instrument precision and stability.
Visual adjustment assembly comprises symmetrically arranged left-hand rotation arm and right-hand rotation arm, interpupillary distance adjusting device and jaw holder, wherein left, right-hand rotation arm bottom is connected with the pedestal clearance fit by the rotating shaft perpendicular to pedestal respectively, an interpupillary distance adjusting device and a left side, right-hand rotation arm lower end is connected, a left side, the inside along continuous straight runs on right-hand rotation arm top offers the picture box respectively, the built-in Haidinger brush of picture box, the center of picture box is on the path channels primary optical axis, a left side, right two set of shots assemblies are arranged at a left side respectively along path channels, right-hand rotation arm top, picture box rear be provided with can produce red, the luminescence component of white light.Wherein, the luminescence component that can produce HONGGUANG is in the preposition red tab of the diode that turns white.In addition, left and right pivoted arm upper outside is provided with in order to regulate the picture lifting nut of picture box inside-paint Board position corresponding to the position of picture box.
Control circuit comprises light source handover module, light intensity regulating module and glow frequency adjustment module.Control panel is provided with light source switch knob, light intensity regulating knob and the glow frequency adjusting knob that corresponds respectively to left and right two groups of luminescence components.Wherein the light source switch knob is divided into " often going out ", " Chang Liang ", " flicker ", " after image " fourth gear.
Left and right pivoted arm arranged outside has the pivoted arm locking knob; Described interpupillary distance adjusting device is provided with the interpupillary distance adjusting handle in the pedestal side.Jaw holder bottom is supported by the screw rod perpendicular to pedestal, is provided with the jaw holder height adjusting knob that is connected with this screw rod in the pedestal side.Pivoted arm locking knob, interpupillary distance adjusting handle, jaw holder height adjusting knob all are arranged at the side, regulate when making things convenient for the people visual, and need not leave the jaw holder.
The medical synoptophore of this domestic synoptophore collection is checked amblyopia, stravismus, stereopsis and other class defective functions, has simplified unnecessary auxiliary equipment, and can pass through the flashing red light treatment amblyopia, has made things convenient for the daily use of infant family.

Claims (8)

1. domestic synoptophore, comprise pedestal, lens assembly, luminescence component, visual adjustment assembly, control circuit and the control panel that is arranged on the pedestal, it is characterized in that: described visual adjustment assembly comprises symmetrically arranged left-hand rotation arm and right-hand rotation arm, interpupillary distance adjusting device and jaw holder, wherein left, right-hand rotation arm bottom is connected with the pedestal clearance fit by the rotating shaft perpendicular to pedestal respectively, an interpupillary distance adjusting device and a left side, right-hand rotation arm lower end is connected, a left side, the inside along continuous straight runs on right-hand rotation arm top offers the picture box respectively, the built-in Haidinger brush of picture box, the center of picture box is on the path channels primary optical axis, a left side, right two set of shots assemblies are arranged at a left side respectively along path channels, right-hand rotation arm top, picture box rear be provided with can produce red, the luminescence component of white light, described control circuit comprises the light source handover module, light intensity regulating module and glow frequency adjustment module.
2. domestic synoptophore according to claim 1 is characterized in that: described luminescence component mainly is made up of LED luminous plaque and lampshade, and the plurality of LEDs lamp is arranged with path channels primary optical axis centrosymmetry.
3. domestic synoptophore according to claim 2 is characterized in that: described left and right pivoted arm arranged outside has the pivoted arm locking knob; Described interpupillary distance adjusting device is provided with the interpupillary distance adjusting handle in the pedestal side.
4. domestic synoptophore according to claim 3 is characterized in that: described jaw holder bottom is supported by the screw rod perpendicular to pedestal, is provided with the jaw holder height adjusting knob that is connected with this screw rod in the pedestal side.
5. domestic synoptophore according to claim 4 is characterized in that: described control panel is provided with light source switch knob, light intensity regulating knob and the glow frequency adjusting knob that corresponds respectively to left and right two groups of luminescence components.
6. domestic synoptophore according to claim 4 is characterized in that: described left and right pivoted arm upper outside is provided with in order to regulate the picture lifting nut of picture box inside-paint Board position corresponding to the position of picture box.
7. domestic synoptophore according to claim 5 is characterized in that: described light source switch knob is divided into " often going out ", " Chang Liang ", " flicker ", " after image " fourth gear.
8. domestic synoptophore according to claim 4 is characterized in that: the described luminescence component that can produce HONGGUANG is in the preposition red tab of the diode that turns white.
CN2010206964741U 2010-12-31 2010-12-31 Domestic synoptophore Expired - Fee Related CN201968663U (en)

Priority Applications (1)

Application Number Priority Date Filing Date Title
CN2010206964741U CN201968663U (en) 2010-12-31 2010-12-31 Domestic synoptophore

Applications Claiming Priority (1)

Application Number Priority Date Filing Date Title
CN2010206964741U CN201968663U (en) 2010-12-31 2010-12-31 Domestic synoptophore

Publications (1)

Publication Number Publication Date
CN201968663U true CN201968663U (en) 2011-09-14

Family

ID=44573771

Family Applications (1)

Application Number Title Priority Date Filing Date
CN2010206964741U Expired - Fee Related CN201968663U (en) 2010-12-31 2010-12-31 Domestic synoptophore

Country Status (1)

Country Link
CN (1) CN201968663U (en)

Cited By (5)

* Cited by examiner, † Cited by third party
Publication number Priority date Publication date Assignee Title
CN102961248A (en) * 2012-12-20 2013-03-13 玉林师范学院 Vision-care device
CN103536271A (en) * 2012-07-09 2014-01-29 西安华亚电子有限责任公司 Synoptophore
CN103892790A (en) * 2013-09-27 2014-07-02 广州市视加医疗仪器设备有限公司 Manual and automatic intelligent digital synoptophore
CN109248052A (en) * 2018-09-06 2019-01-22 西安工业大学 Amblyopia training instrument
CN111568712A (en) * 2020-06-15 2020-08-25 西安爱乐医疗科技有限公司 Simple synoptophore with open rotating arm and dynamic display sighting mark

Cited By (6)

* Cited by examiner, † Cited by third party
Publication number Priority date Publication date Assignee Title
CN103536271A (en) * 2012-07-09 2014-01-29 西安华亚电子有限责任公司 Synoptophore
CN103536271B (en) * 2012-07-09 2016-05-11 西安华亚电子有限责任公司 Synptophore
CN102961248A (en) * 2012-12-20 2013-03-13 玉林师范学院 Vision-care device
CN103892790A (en) * 2013-09-27 2014-07-02 广州市视加医疗仪器设备有限公司 Manual and automatic intelligent digital synoptophore
CN109248052A (en) * 2018-09-06 2019-01-22 西安工业大学 Amblyopia training instrument
CN111568712A (en) * 2020-06-15 2020-08-25 西安爱乐医疗科技有限公司 Simple synoptophore with open rotating arm and dynamic display sighting mark

Similar Documents

Publication Publication Date Title
CN201968664U (en) Synoptophore
CN201968663U (en) Domestic synoptophore
CN203935168U (en) Can realize the ophthalmology OCT device of anterior ocular segment oculi posterior segment imaging simultaneously
CN103300813B (en) Subjective optometry instrument and optometry method
CN113440099A (en) Human eye vision comprehensive inspection device and method
CN103892790A (en) Manual and automatic intelligent digital synoptophore
CN201609359U (en) Comprehensive optometry instrument
CN1813624A (en) Strabism measuring instrument and its method for measuring strabism
CN203555717U (en) Tiptronic, intelligent and digitized synoptophore
CN202681913U (en) Synoptophore
CN104434023A (en) Front ophthalmoscope used on mobile phone
CN204971203U (en) Synptophore is used in children's inspection
CN203436316U (en) Optical coherence tomography system (OCT system)
CN109788897B (en) Optometric instrument and method for testing using same
CN103479327A (en) Visual slit-lamp microscope correction device
CN204556221U (en) A kind of for rigid endoscope light efficiency uniformity detection
CN1081350A (en) Digital instrument for examining eyes of polarized light type
CN111938564A (en) A lighting system for ophthalmic examination
US3836238A (en) Viewable target system for eye examining instrument
CN208876485U (en) A kind of novel crack opening-closing structure and the slit-lamp microscope with it
CN102370457A (en) Hand-held type slit lamp with coaxial illumination
CN208822742U (en) A kind of subjective refraction instrument of simple judgment myopia of student
CN202198573U (en) Eye imaging device
CN87102898A (en) multifunctional strabismus tester
CN201492406U (en) Hand-held slit lamp microscope

Legal Events

Date Code Title Description
C14 Grant of patent or utility model
GR01 Patent grant
C17 Cessation of patent right
CF01 Termination of patent right due to non-payment of annual fee

Granted publication date: 20110914

Termination date: 20131231