CN201967354U - Transmission device of walking type double-row corn harvester - Google Patents
Transmission device of walking type double-row corn harvester Download PDFInfo
- Publication number
- CN201967354U CN201967354U CN201120001019XU CN201120001019U CN201967354U CN 201967354 U CN201967354 U CN 201967354U CN 201120001019X U CN201120001019X U CN 201120001019XU CN 201120001019 U CN201120001019 U CN 201120001019U CN 201967354 U CN201967354 U CN 201967354U
- Authority
- CN
- China
- Prior art keywords
- gear box
- transfer gear
- sprocket wheel
- transmission case
- gearbox
- Prior art date
- Legal status (The legal status is an assumption and is not a legal conclusion. Google has not performed a legal analysis and makes no representation as to the accuracy of the status listed.)
- Expired - Fee Related
Links
- 230000005540 biological transmission Effects 0.000 title claims abstract description 69
- 235000002017 Zea mays subsp mays Nutrition 0.000 title claims abstract description 43
- 235000005824 Zea mays ssp. parviglumis Nutrition 0.000 title claims abstract description 42
- 235000005822 corn Nutrition 0.000 title claims abstract description 42
- 240000008042 Zea mays Species 0.000 title claims description 41
- 241000209149 Zea Species 0.000 abstract 2
- 235000013339 cereals Nutrition 0.000 description 6
- 238000010586 diagram Methods 0.000 description 2
- 238000005516 engineering process Methods 0.000 description 2
- 238000003306 harvesting Methods 0.000 description 2
- 238000012986 modification Methods 0.000 description 2
- 230000004048 modification Effects 0.000 description 2
- 208000003643 Callosities Diseases 0.000 description 1
- 206010020649 Hyperkeratosis Diseases 0.000 description 1
- 235000016383 Zea mays subsp huehuetenangensis Nutrition 0.000 description 1
- 235000013399 edible fruits Nutrition 0.000 description 1
- 235000009973 maize Nutrition 0.000 description 1
- 230000002787 reinforcement Effects 0.000 description 1
- 239000010902 straw Substances 0.000 description 1
Images
Landscapes
- Structure Of Transmissions (AREA)
Abstract
The utility model relates to a transmission device of a walking type double-row corn harvester, which is provided with an upper transmission case and a lower transmission case. The upper transmission case consists of a left transmission case and a right transmission case connected with each other in series. Each of the left transmission case and the right transmission case is provided with two upper power output sprockets and two front power output shafts. Each of the upper transmission case and the right transmission case is provided with a side power input shaft, a side power output shaft and sprockets. The lower transmission case is further provided with a rear power output shaft and a sprocket. The side power input shaft and the sprocket of the lower transmission case are in transmission connection with a power output shaft of a walking tractor through a clutch, the power output shaft and the sprocket of the lower transmission case are respectively in transmission connection with a crushing tool shaft and a peeling roller of the corn harvester, the lower transmission sprocket on the power output shaft of the upper transmission case is in transmission connection with the side power input shaft and the sprocket of the upper transmission case, and the power output shaft and the sprocket of the upper transmission case are respectively connected with an ear puller plate, a left lifter chain, a right lifter chain, a left ear picking roller and a right ear picking roller. The transmission device is ingenious in structure, flexible in control and high in efficiency.
Description
Technical field
The utility model belongs to a kind of transmission device, specifically is a kind of with hand tractor carrying with make the transmission device of the corn picker of power, particularly can gather in the transmission device of the grain header of two row corns simultaneously.
Background technology
Corn picker is a kind of application emerging agricultural machinery more and more widely, and its appearance has improved the efficient of harvest corn greatly, has alleviated people's labour intensity.Corn picker mostly is the big machinery formula at present, and its horsepower is big, the efficient height, but can only be applicable to large-area operation, for the fritter corn field of single household, or the reaping corn on Ling ground, mound, mountain region then is not suitable for.Therefore, the small-sized corn grain header that needs a kind of maneuverability.Now, the small-sized corn grain header that some hand tractors carryings also occurred and be used as power, but it is perfect mostly inadequately, particularly its transmission device require further improvement and perfect.General small-sized corn grain header all is to gather in line by line, and efficient is lower.If can gather in simultaneously by two row, will improve harvesting efficiency greatly, the improvement of this duplicate rows corn picker, the most important thing is its transmission device is improved, therefore, need to propose a kind of novel structure, ensuring smooth transmission, the transmission device of convenient operation and control, the duplicate rows corn picker that is used for the hand tractor carrying and is used as power.
The utility model content
The purpose of this utility model is in order to solve the problems of the technologies described above, to propose a kind of hand-held duplicate rows corn picker transmission device, and this transmission structures is rationally novel in design, ensuring smooth transmission, and operation control is very convenient, can improve the operating efficiency of grain header greatly.Transmission device of the present utility model is the small-sized duplicate rows corn picker that carries and do power at hand tractor, the machine of this type is with the power diesel engine postposition of the hand tractor back at described transmission device, being provided with two pairs in the hand tractor front is used for cornstalk is dialled rearward rice-pulling chain, the rice-pulling chain below is provided with two pairs of snapping bars that corn ear is taken, the front lower place of snapping bar is provided with two groups maize straw is smashed the also broken stalk cutter in field, be provided with in rice-pulling chain and snapping bar back the fruit ear peeling roller that doubles the single file grain header and corresponding wideer with corn ear from peeling roller dial rearwards dial the fringe plate.Transmission device of the present utility model is used for the duplicate rows corn picker exactly, and giving described rice-pulling chain, snapping bar, broken stalk cutter, peeling roller and dialling the fringe plate provides power.
The purpose of this utility model is achieved through the following technical solutions:
Hand-held duplicate rows corn picker transmission device, be provided with driving-chain, power transmission shaft and gear, transfer gear box, it is characterized in that: described transfer gear box is divided into transfer gear box and underdrive gearbox, last transfer gear box is made of left and right two transfer gear box of serial connection, right transfer gear box is provided with the case shell, be provided with commutation travelling gear and axle in the case shell, be provided with two above the case shell and go up power output sprocket, the front of case shell is provided with two preceding power take-offs; Described left gearbox has above-mentioned identical structure with right gearbox; The case shell outside, right side that on the right side of last transfer gear box is right transfer gear box is provided with side power input shaft and sprocket wheel, in the left side of last transfer gear box is to be provided with side power take-off and sprocket wheel outside the left side case shell of Left Drive gearbox; Described underdrive gearbox also is provided with the case shell, is provided with transmission tumbler gear and axle in the case shell, and the right-hand member of case shell is provided with side power input shaft and sprocket wheel, and left end is provided with side power take-off and sprocket wheel, and the back is provided with rear power output shaft and sprocket wheel; The side power input shaft of described underdrive gearbox and the power take-off of sprocket wheel and hand tractor are in transmission connection by clutch, the power chain of the broken bar cutter shaft of its side power take-off and sprocket wheel and corn picker is in transmission connection, and the peeling roller power chain of described rear power output shaft and sprocket wheel and corn picker is in transmission connection; Also be provided with a underdrive sprocket wheel on the side power input shaft of described underdrive gearbox, this sprocket wheel is connected with chain gear transmission with the described side power input shaft of going up transfer gear box; The fringe plate power chain of dialling of the side power take-off of described upward transfer gear box and sprocket wheel and corn picker is in transmission connection, the last power output sprocket of the described left and right transfer gear box that goes up transfer gear box is in transmission connection with the power chain of the left and right rice-pulling chain of described corn picker respectively, and the preceding power take-off of described left and right transfer gear box is in transmission connection with the left and right snapping bar of corn picker respectively.
On the power take-off of described underdrive gearbox right-hand member, be provided with the reinforcement axle sleeve, be used for firm long axostylus axostyle.
Transmission device of the present utility model is done power with the power set of hand tractor, adopt upper and lower pair of transfer gear box, and last transfer gear box also adopts the structure of two transfer gear box, the mode of power input and the output of multi-direction multiple spot power is set dexterously, solved the demand of a plurality of directions of a plurality of power of duplicate rows corn picker effectively, and ensuring smooth transmission, also simplify the structure of hand-held corn picker greatly, had the plurality of advantages that novel structure, ingenious, simple to operate, the dynamic efficiency of design and operating efficiency significantly improve.
Description of drawings
Fig. 1 is the utility model is provided with the position on the hand-held corn picker a structural representation;
Fig. 2 is the backsight sectional structure schematic diagram of upper gear box of the present utility model;
Fig. 3 be underdrive case of the present utility model overlook from the back upper place overlook the sectional structure schematic diagram.
The profile of the utility model product is not subjected to the restriction of this figure, and only the profile change also belongs to protection domain of the present utility model.
Embodiment
Below in conjunction with drawings and Examples the utility model is further described:
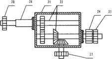
Embodiment: referring to accompanying drawing, hand-held duplicate rows corn picker transmission device, be provided with driving-chain, power transmission shaft and gear, transfer gear box, it is characterized in that: described transfer gear box is divided into transfer gear box 1 and underdrive gearbox 2, last transfer gear box is made of left and right two transfer gear box of serial connection, right transfer gear box is provided with case shell 11, be provided with commutation travelling gear and axle 12 in the case shell, be provided with two above the case shell and go up power output sprocket 13, the front of case shell is provided with two preceding power take-offs 15; Described left gearbox has above-mentioned identical structure with right gearbox; The case shell outside, right side that on the right side of last transfer gear box is right transfer gear box is provided with side power input shaft and sprocket wheel 14, in the left side of last transfer gear box is to be provided with side power take-off and sprocket wheel 10 outside the left side case shell of Left Drive gearbox; Described underdrive gearbox also is provided with case shell 21, is provided with transmission tumbler gear and axle 22 in the case shell, and the right-hand member of case shell is provided with side power input shaft and sprocket wheel 24, and left end is provided with side power take-off and sprocket wheel 20, and the back is provided with rear power output shaft and sprocket wheel 23; The side power input shaft of described underdrive gearbox and the power take-off of sprocket wheel and hand tractor are in transmission connection by clutch, the power chain 3 of the broken bar cutter shaft of its side power take-off and sprocket wheel and corn picker is in transmission connection, and the power chain 71 of the peeling roller 7 of described rear power output shaft and sprocket wheel and corn picker is in transmission connection; Also be provided with a underdrive sprocket wheel on the side power input shaft of described underdrive gearbox, this sprocket wheel and described side power input shaft and the sprocket wheel 14 of going up transfer gear box are in transmission connection; Fringe plate 4 power chains of dialling of the side power take-off of described upward transfer gear box and sprocket wheel and corn picker are in transmission connection, the last power output sprocket of the described left and right transfer gear box that goes up transfer gear box is in transmission connection with the power chain of the left and right rice-pulling chain 5 of described corn picker respectively, and the preceding power take-off of described left and right transfer gear box is in transmission connection with the left and right snapping bar 6 of corn picker respectively.On the power take-off of described underdrive gearbox right-hand member, be provided with and strengthen axle sleeve 26.
Should be pointed out that for those skilled in the art under the prerequisite that does not break away from the utility model principle, can also make some improvements and modifications, these improvements and modifications also should be considered as the protection domain of this patent.
Claims (2)
1. hand-held duplicate rows corn picker transmission device, be provided with driving-chain, power transmission shaft and gear, transfer gear box, it is characterized in that: described transfer gear box is divided into transfer gear box (1) and underdrive gearbox (2), last transfer gear box is made of left and right two transfer gear box of serial connection, right transfer gear box is provided with case shell (11), be provided with commutation travelling gear and axle (12) in the case shell, be provided with two above the case shell and go up power output sprocket (13), the front of case shell is provided with two preceding power take-offs (15); Described left gearbox has above-mentioned identical structure with right gearbox; The case shell outside, right side that on the right side of last transfer gear box is right transfer gear box is provided with side power input shaft and sprocket wheel (14), in the left side of last transfer gear box is to be provided with side power take-off and sprocket wheel (10) outside the left side case shell of Left Drive gearbox; Described underdrive gearbox also is provided with case shell (21), be provided with transmission tumbler gear and axle (22) in the case shell, the right-hand member of case shell is provided with side power input shaft and sprocket wheel (24), and left end is provided with side power take-off and sprocket wheel (20), and the back is provided with rear power output shaft and sprocket wheel (23); The side power input shaft of described underdrive gearbox and the power take-off of sprocket wheel and hand tractor are in transmission connection by clutch, the power chain (3) of the broken bar cutter shaft of its side power take-off and sprocket wheel and corn picker is in transmission connection, and the power chain (71) of the peeling roller of described rear power output shaft and sprocket wheel and corn picker (7) is in transmission connection; Also be provided with a underdrive sprocket wheel (25) on the side power input shaft of described underdrive gearbox, this sprocket wheel and described side power input shaft and the sprocket wheel (14) of going up transfer gear box are in transmission connection; Fringe plate (4) power chain of dialling of the side power take-off of described upward transfer gear box and sprocket wheel and corn picker is in transmission connection, the last power output sprocket of the described left and right transfer gear box that goes up transfer gear box is in transmission connection with the power chain of the left and right rice-pulling chain (5) of described corn picker respectively, and the preceding power take-off of described left and right transfer gear box is in transmission connection with the left and right snapping bar (6) of corn picker respectively.
2. transmission device according to claim 1 is characterized in that: be provided with on the power take-off of described underdrive gearbox right-hand member and strengthen axle sleeve (26).
Priority Applications (1)
| Application Number | Priority Date | Filing Date | Title |
|---|---|---|---|
| CN201120001019XU CN201967354U (en) | 2011-01-05 | 2011-01-05 | Transmission device of walking type double-row corn harvester |
Applications Claiming Priority (1)
| Application Number | Priority Date | Filing Date | Title |
|---|---|---|---|
| CN201120001019XU CN201967354U (en) | 2011-01-05 | 2011-01-05 | Transmission device of walking type double-row corn harvester |
Publications (1)
| Publication Number | Publication Date |
|---|---|
| CN201967354U true CN201967354U (en) | 2011-09-14 |
Family
ID=44572457
Family Applications (1)
| Application Number | Title | Priority Date | Filing Date |
|---|---|---|---|
| CN201120001019XU Expired - Fee Related CN201967354U (en) | 2011-01-05 | 2011-01-05 | Transmission device of walking type double-row corn harvester |
Country Status (1)
| Country | Link |
|---|---|
| CN (1) | CN201967354U (en) |
Cited By (1)
| Publication number | Priority date | Publication date | Assignee | Title |
|---|---|---|---|---|
| CN106171300A (en) * | 2016-07-11 | 2016-12-07 | 施阳 | A kind of self-propelled corn harvester deceleration reversing box |
-
2011
- 2011-01-05 CN CN201120001019XU patent/CN201967354U/en not_active Expired - Fee Related
Cited By (1)
| Publication number | Priority date | Publication date | Assignee | Title |
|---|---|---|---|---|
| CN106171300A (en) * | 2016-07-11 | 2016-12-07 | 施阳 | A kind of self-propelled corn harvester deceleration reversing box |
Similar Documents
| Publication | Publication Date | Title |
|---|---|---|
| CN201230470Y (en) | Peanut indirect harvester | |
| CN201541474U (en) | Self moving rice straw cutting, collecting and tying machine | |
| CN104081931A (en) | Cotton stalk pulling platform free of row controlling | |
| CN104255184A (en) | Self-propelled crawler cotton stalk drawing machine | |
| CN202190544U (en) | Tobacco combined stalk pulling machine | |
| CN203279531U (en) | Standing grain pulling mechanism of corn harvester | |
| CN211406872U (en) | Intelligent corn harvester capable of harvesting ears and stalks | |
| CN201967354U (en) | Transmission device of walking type double-row corn harvester | |
| CN204069768U (en) | A kind of caterpillar band self-propelled cotton stalk pole jack | |
| CN202587860U (en) | Walking multifunctional corn harvester | |
| CN202918717U (en) | Novel header of corn harvester | |
| CN201967346U (en) | Transmission device for hand-held uniline maize cutter | |
| CN204948655U (en) | Single group is to going skinning receipts membrane machine | |
| CN201418281Y (en) | Corn harvester header | |
| CN202406542U (en) | Swinging comb cutting table corn harvesting machine | |
| CN201878553U (en) | Harvest machine of shell-less calabash | |
| CN202135502U (en) | Corn harvester | |
| CN201039685Y (en) | Universal double-line corn combine harvester | |
| CN201869568U (en) | Small size corn harvester for single ridge | |
| CN201774836U (en) | Corn straw harvesting machine | |
| CN201323773Y (en) | Corn harvester | |
| CN202197563U (en) | Corn harvester | |
| CN204014433U (en) | Small-sized rice harvesting cultivating integral machine | |
| CN101379912A (en) | Walking type peanut picking vehicle | |
| CN2354316Y (en) | Waste plastic film recovering apparatus with comb rotor |
Legal Events
| Date | Code | Title | Description |
|---|---|---|---|
| C14 | Grant of patent or utility model | ||
| GR01 | Patent grant | ||
| C17 | Cessation of patent right | ||
| CF01 | Termination of patent right due to non-payment of annual fee |
Granted publication date: 20110914 Termination date: 20120105 |