CN201965363U - a new type of glasses - Google Patents

a new type of glasses Download PDF

Info

Publication number
CN201965363U
CN201965363U CN201120018356XU CN201120018356U CN201965363U CN 201965363 U CN201965363 U CN 201965363U CN 201120018356X U CN201120018356X U CN 201120018356XU CN 201120018356 U CN201120018356 U CN 201120018356U CN 201965363 U CN201965363 U CN 201965363U
Authority
CN
China
Prior art keywords
groove
glasses
gadget
fixture block
spectacles
Prior art date
Legal status (The legal status is an assumption and is not a legal conclusion. Google has not performed a legal analysis and makes no representation as to the accuracy of the status listed.)
Expired - Fee Related
Application number
CN201120018356XU
Other languages
Chinese (zh)
Inventor
林秀螺
Current Assignee (The listed assignees may be inaccurate. Google has not performed a legal analysis and makes no representation or warranty as to the accuracy of the list.)
Individual
Original Assignee
Individual
Priority date (The priority date is an assumption and is not a legal conclusion. Google has not performed a legal analysis and makes no representation as to the accuracy of the date listed.)
Filing date
Publication date
Application filed by Individual filed Critical Individual
Priority to CN201120018356XU priority Critical patent/CN201965363U/en
Application granted granted Critical
Publication of CN201965363U publication Critical patent/CN201965363U/en
Anticipated expiration legal-status Critical
Expired - Fee Related legal-status Critical Current

Links

Images

Landscapes

  • Eyeglasses (AREA)

Abstract

本实用新型为一种新型眼镜,主要包括有镜架、铰接于镜架侧部的两眼镜腿,其中眼镜腿上可分离的活动组接一饰件,该饰件具有一装饰面及一结合面,该结合面上凸出形成一卡块,并于卡块的两侧嵌设有磁铁;所述眼镜腿上设有与该饰件卡块相配合的凹槽,该凹槽的两侧对应前述卡块磁铁的位置设有磁极相反的磁铁,令饰件的卡块对应置入眼镜腿的凹槽中,同时卡块两侧的磁铁与凹槽的磁铁两两对应吸附,将饰件定位于凹槽中。

Figure 201120018356

The utility model is a novel pair of glasses, which mainly comprises a frame and two glasses legs hinged on the side of the frame, wherein a decorative piece is detachably assembled on the glasses legs, and the decorative piece has a decorative surface and a bonding surface, and a card block is protruded from the bonding surface, and magnets are embedded on both sides of the card block; a groove matching with the decorative piece card block is provided on the glasses legs, and magnets with opposite magnetic poles are provided on both sides of the groove corresponding to the positions of the aforementioned card block magnets, so that the card block of the decorative piece is correspondingly placed in the groove of the glasses legs, and at the same time, the magnets on both sides of the card block and the magnets of the groove are adsorbed in pairs, so that the decorative piece is positioned in the groove.

Figure 201120018356

Description

A kind of novel glasses
Technical field
The utility model relates to the technical field of glasses.
Background technology
Glasses are except that having good protecting the order effect, instantly also as following the fashion in people's daily life, a kind of ornament of individual character, therefore improve the ornamental of glasses, it is the direction of many spectacles industry research and development, at present except the Mechanical Builds of spectacle-frame is done the various variations, can also on leg of spectacles, increase various patterns is set, literal, the sign of letter and product, but the decorative parts of existing most of glasses can not be changed, the user is if want according to clothes, hair style, when mood is arranged in pairs or groups the glasses of different gadgets, the glasses that must have a plurality of different gadgets have increased user's financial burden for you to choose virtually.
The utility model content
Therefore, the utility model provides a kind of novel glasses of replaceable gadget at above-mentioned the deficiencies in the prior art.
For reaching above-mentioned purpose, technical solution of the present utility model is: a kind of novel glasses, mainly include mirror holder, be articulated in two legs of spectacles of mirror holder sidepiece, separable activity winding one gadget on this leg of spectacles wherein, this gadget has a decorative cover and a faying face, protrude formation one fixture block on this faying face, and be embedded with magnet in the both sides of fixture block; Described leg of spectacles is provided with the groove that matches with this gadget fixture block, and the position of the corresponding aforementioned fixture block magnet in the both sides of this groove is provided with the opposite magnet of magnetic pole.
Further, this groove is to the side extension of postponing, the end face symmetry of this extension be provided with two catch, utilize this extension and two catch to form a draw-in groove.
The xsect of this fixture block is the T type.
This decorative cover can be the geometric configuration moulding, can be decorated with various patterns, literal or letter on the face.
Gadget of the present utility model adopts the above-mentioned movable winding that cooperates with glasses, and the person of being easy to use matches different gadgets as required, and need not to purchase separately glasses, and cost saving and replacing and use are more flexible.
Description of drawings
Fig. 1 is a schematic appearance of the present utility model;
Fig. 2 is the STRUCTURE DECOMPOSITION synoptic diagram of the utility model leg of spectacles and gadget;
Fig. 3 is Fig. 2 partial enlarged drawing;
Fig. 4 is the combination synoptic diagram of the utility model leg of spectacles and gadget;
Fig. 5 is the side view of the utility model gadget.
Embodiment
Below in conjunction with drawings and the specific embodiments the utility model is explained.
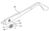
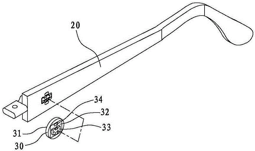
Extremely shown in Figure 5 as Fig. 1, be a kind of novel glasses of the present utility model, mainly include mirror holder 10, be articulated in two legs of spectacles 20 of mirror holder sidepiece, wherein, separable activity winding one gadget 30 on this each leg of spectacles 20, this gadget 30 can be located on the optional position of leg of spectacles, the preferred gadget 30 of present embodiment is to be located on the lateral surface of leg of spectacles 20, this gadget 30 has a decorative cover 31 and a faying face 32, this decorative cover 31 can be shape arbitrarily, can be decorated with various patterns on the face, literal or letter etc. protrude on this faying face 32 and are formed with the fixture block 33 that an xsect is the T type, and be embedded with magnet 34 in the both sides of fixture block 33;
Described leg of spectacles 20 is provided with the groove 21 that matches with this gadget 30 faying face fixture blocks 33, the position of corresponding aforementioned fixture block 33 magnet 34 in the both sides of this groove 21 is provided with the opposite magnet of magnetic pole 22, utilize the suction-operated of magnet, can fixture block 33 be snapped in the groove automatic contraposition; Further, this groove 21 is to the side extension 23 of postponing, the end face symmetry of this extension 23 be provided with two catch 24, utilize this extension 23 and two catch 24 to form a draw-in groove.
During installation, fixture block 33 correspondences of gadget 30 are inserted in the groove 21 of leg of spectacles 20, the magnet 34 of while fixture block 33 both sides and the corresponding in twos absorption of magnet 22 of groove 21, gadget 30 is positioned in the groove 21, afterwards gadget 30 is pushed to the extension 23 of groove 21 1 sides, make fixture block 33 1 end stoppers in draw-in groove, and be subjected to stopping of two catch 24, prevent that with strong fix gadget 30 from deviating from groove 21.Gadget 30 also can be arranged on the picture frame of glasses in addition except above-mentioned being arranged on the leg of spectacles, the purpose of same attainable cost utility model.
Gadget of the present utility model adopts the above-mentioned movable winding that cooperates with glasses, and the person of being easy to use matches different gadgets as required, and need not to purchase separately glasses, and cost saving and replacing and use are more flexible.

Claims (3)

1. novel glasses, mainly include mirror holder, be articulated in two legs of spectacles of mirror holder sidepiece, it is characterized in that: separable activity winding one gadget on this leg of spectacles, this gadget has a decorative cover and a faying face, protrude formation one fixture block on this faying face, and be embedded with magnet in the both sides of fixture block;
Described leg of spectacles is provided with the groove that matches with this gadget fixture block, and the position of the corresponding aforementioned fixture block magnet in the both sides of this groove is provided with the opposite magnet of magnetic pole.
2. a kind of novel glasses as claimed in claim 1 is characterized in that: further, this groove is to the side extension of postponing, the end face symmetry of this extension be provided with two catch, utilize this extension and two catch to form a draw-in groove.
3. a kind of novel glasses as claimed in claim 1 is characterized in that: the xsect of this fixture block is the T type.
CN201120018356XU 2011-01-20 2011-01-20 a new type of glasses Expired - Fee Related CN201965363U (en)

Priority Applications (1)

Application Number Priority Date Filing Date Title
CN201120018356XU CN201965363U (en) 2011-01-20 2011-01-20 a new type of glasses

Applications Claiming Priority (1)

Application Number Priority Date Filing Date Title
CN201120018356XU CN201965363U (en) 2011-01-20 2011-01-20 a new type of glasses

Publications (1)

Publication Number Publication Date
CN201965363U true CN201965363U (en) 2011-09-07

Family

ID=44527908

Family Applications (1)

Application Number Title Priority Date Filing Date
CN201120018356XU Expired - Fee Related CN201965363U (en) 2011-01-20 2011-01-20 a new type of glasses

Country Status (1)

Country Link
CN (1) CN201965363U (en)

Cited By (1)

* Cited by examiner, † Cited by third party
Publication number Priority date Publication date Assignee Title
WO2014022997A1 (en) * 2012-08-09 2014-02-13 深圳全甫光学有限公司 Glasses with easily replaceable and mounted auxiliary body

Cited By (1)

* Cited by examiner, † Cited by third party
Publication number Priority date Publication date Assignee Title
WO2014022997A1 (en) * 2012-08-09 2014-02-13 深圳全甫光学有限公司 Glasses with easily replaceable and mounted auxiliary body

Similar Documents

Publication Publication Date Title
CA131545S (en) Core for a glass lite
CA139015S (en) Glass lite
CN201965363U (en) a new type of glasses
CN203287644U (en) Multifunctional frame-replacing magnet glasses
CN202563743U (en) Child demonstration teaching aid
CN202269563U (en) Hair band with replaceable decoration
CN202815346U (en) Spectacle lens with decorative jade and spectacles
TWM501571U (en) Glasses frame structure capable of conveniently replacing decoration and glasses leg
CN203646562U (en) Waistband
CN202615070U (en) Glasses with glasses legs with decoration functions
CN201116952Y (en) Spectacle frame
CN202631886U (en) Glasses with decorative frame
CN202983190U (en) Doll
CN205410014U (en) Pendant
CN203825316U (en) Glasses with ornaments and glasses legs
CN202604099U (en) Novel wardrobe
CN201491898U (en) Inter-attractive headdress flower
CN203424750U (en) Curtain rail end cover
CN202486450U (en) Chameleon eyeglasses
CN203081042U (en) A decorative structure of a refrigerator handle
CN211379881U (en) A bracelet with replaceable ornaments
CN203350810U (en) Jade keyboard with incense lighting function
CN205539792U (en) Glasses are decorated in combination
CN204613538U (en) The dismountable frame of ornament
CN201991321U (en) Key with replaceable cover

Legal Events

Date Code Title Description
C14 Grant of patent or utility model
GR01 Patent grant
CF01 Termination of patent right due to non-payment of annual fee
CF01 Termination of patent right due to non-payment of annual fee

Granted publication date: 20110907

Termination date: 20130120