CN201954697U - Overflow-preventive humidifier capable of preventing water leakage during lifting of water tank - Google Patents
Overflow-preventive humidifier capable of preventing water leakage during lifting of water tank Download PDFInfo
- Publication number
- CN201954697U CN201954697U CN2011200399441U CN201120039944U CN201954697U CN 201954697 U CN201954697 U CN 201954697U CN 2011200399441 U CN2011200399441 U CN 2011200399441U CN 201120039944 U CN201120039944 U CN 201120039944U CN 201954697 U CN201954697 U CN 201954697U
- Authority
- CN
- China
- Prior art keywords
- water
- water tank
- tank
- overflow
- inlet
- Prior art date
- Legal status (The legal status is an assumption and is not a legal conclusion. Google has not performed a legal analysis and makes no representation as to the accuracy of the status listed.)
- Expired - Fee Related
Links
- XLYOFNOQVPJJNP-UHFFFAOYSA-N water Substances O XLYOFNOQVPJJNP-UHFFFAOYSA-N 0.000 title claims abstract description 334
- 230000007246 mechanism Effects 0.000 claims abstract description 46
- 238000007789 sealing Methods 0.000 claims abstract description 38
- 230000000694 effects Effects 0.000 claims description 3
- 230000007704 transition Effects 0.000 claims description 3
- 239000000779 smoke Substances 0.000 claims 5
- 230000008520 organization Effects 0.000 claims 1
- 230000007306 turnover Effects 0.000 claims 1
- 238000011144 upstream manufacturing Methods 0.000 claims 1
- 239000003595 mist Substances 0.000 abstract description 33
- 230000002265 prevention Effects 0.000 abstract 1
- 230000000903 blocking effect Effects 0.000 description 11
- 244000052616 bacterial pathogen Species 0.000 description 3
- 238000009792 diffusion process Methods 0.000 description 3
- 239000000463 material Substances 0.000 description 3
- 230000010355 oscillation Effects 0.000 description 3
- 230000009471 action Effects 0.000 description 2
- 238000001125 extrusion Methods 0.000 description 2
- 230000005484 gravity Effects 0.000 description 2
- 241000894006 Bacteria Species 0.000 description 1
- 206010012434 Dermatitis allergic Diseases 0.000 description 1
- 206010014561 Emphysema Diseases 0.000 description 1
- 241000700605 Viruses Species 0.000 description 1
- 208000006673 asthma Diseases 0.000 description 1
- 201000008937 atopic dermatitis Diseases 0.000 description 1
- 208000010668 atopic eczema Diseases 0.000 description 1
- 230000009286 beneficial effect Effects 0.000 description 1
- 238000000071 blow moulding Methods 0.000 description 1
- 150000001875 compounds Chemical class 0.000 description 1
- 238000009833 condensation Methods 0.000 description 1
- 230000005494 condensation Effects 0.000 description 1
- 230000003247 decreasing effect Effects 0.000 description 1
- 230000007547 defect Effects 0.000 description 1
- 201000010099 disease Diseases 0.000 description 1
- 208000037265 diseases, disorders, signs and symptoms Diseases 0.000 description 1
- 238000005485 electric heating Methods 0.000 description 1
- 238000005516 engineering process Methods 0.000 description 1
- 230000008020 evaporation Effects 0.000 description 1
- 238000001704 evaporation Methods 0.000 description 1
- 230000036541 health Effects 0.000 description 1
- 206010022000 influenza Diseases 0.000 description 1
- 208000030603 inherited susceptibility to asthma Diseases 0.000 description 1
- 238000003780 insertion Methods 0.000 description 1
- 230000037431 insertion Effects 0.000 description 1
- 238000004519 manufacturing process Methods 0.000 description 1
- 238000000034 method Methods 0.000 description 1
- 238000002663 nebulization Methods 0.000 description 1
- 238000011084 recovery Methods 0.000 description 1
- 230000008439 repair process Effects 0.000 description 1
- 230000004044 response Effects 0.000 description 1
- 239000011882 ultra-fine particle Substances 0.000 description 1
Images
Classifications
-
- Y—GENERAL TAGGING OF NEW TECHNOLOGICAL DEVELOPMENTS; GENERAL TAGGING OF CROSS-SECTIONAL TECHNOLOGIES SPANNING OVER SEVERAL SECTIONS OF THE IPC; TECHNICAL SUBJECTS COVERED BY FORMER USPC CROSS-REFERENCE ART COLLECTIONS [XRACs] AND DIGESTS
- Y02—TECHNOLOGIES OR APPLICATIONS FOR MITIGATION OR ADAPTATION AGAINST CLIMATE CHANGE
- Y02B—CLIMATE CHANGE MITIGATION TECHNOLOGIES RELATED TO BUILDINGS, e.g. HOUSING, HOUSE APPLIANCES OR RELATED END-USER APPLICATIONS
- Y02B30/00—Energy efficient heating, ventilation or air conditioning [HVAC]
- Y02B30/70—Efficient control or regulation technologies, e.g. for control of refrigerant flow, motor or heating
Landscapes
- Air Humidification (AREA)
Abstract
本实用新型公开了一种防水箱提起漏水及防溢流加湿器,包括底座、水箱、水雾散发管,所述底座内设有超声水雾生成机构、送风机构和控制机构,所述水箱底部设有用于水进出水箱的进出水管口,所述进出水管口上设有带密封堵头并防止水槽溢流的堵水器,所述超声水雾生成机构内设有开启杆;在水箱安装在底座上时,开启杆插入堵水器顶压密封堵头上移开启进出水管口;提起水箱离开底座时,密封堵头下移堵塞进出水管口。本实用新型提供一种结构简单、控制可靠、安全性高、提起水箱后进出水管口被密封且密封效果好的防水箱提起漏水及防溢流加湿器。
The utility model discloses a water leakage and overflow prevention humidifier with a waterproof box, which comprises a base, a water tank, and a water mist distribution pipe. The base is provided with an ultrasonic water mist generating mechanism, an air supply mechanism and a control mechanism. The water tank The bottom is provided with an inlet and outlet pipe for water to enter and exit the water tank, and a water stopper with a sealing plug to prevent the tank from overflowing is provided on the inlet and outlet pipe, and an opening lever is provided in the ultrasonic water mist generating mechanism; installed on the water tank When it is on the base, the opening rod is inserted into the water stopper and the sealing plug moves up to open the inlet and outlet pipes; when the water tank is lifted off the base, the sealing plug moves down to block the inlet and outlet pipes. The utility model provides a water-leakage and overflow-proof humidifier with simple structure, reliable control and high safety.
Description
技术领域technical field
本实用新型涉及一种加湿器,尤其涉及一种防水箱提起漏水及防溢流加湿器。The utility model relates to a humidifier, in particular to a water-leakage and overflow-proof humidifier with a waterproof box.
背景技术Background technique
有关研究显示:近30年来,随着全球气温的逐年升高,空气湿度在逐年下降。流感、支气管哮喘、过敏性皮炎、肺气肿等疾病的发病率比30年前提高30%以上;这些疾病的高发是由于人体的免疫力下降造成的,其原因是人们长期生活在湿度较低的环境里,机体免疫力下降,人们处于一种″亚健康状态″,亚健康状态的人较之健康的人身体抵抗力弱,易受到病毒和细菌的侵害,并且湿度低的环境有利于病菌的繁殖和传播,病菌更加肆虐。但是在空气湿度达到55%的时候,病菌就是很难传播的,因此有益于人体健康的空气湿度应该保持在45%-55%之间。而现代都市的家庭中很少有达到这个标准的,针对以上情况,人们便设计出能够改善空气湿度的设备。这个设备就是加湿器,现有的加湿器有超声波式、直接蒸发式、电热式、离心式、复合式等,最常用的就是超声波式的加湿器。超声波型的工作原理:是采用1.7M的超声波高频振荡的原理,将水雾化为1-5微米的超微粒子,通过风动装置将水雾扩散到空气中,达到均匀加湿空气的目的。Relevant studies have shown that in the past 30 years, with the increase of global temperature year by year, the air humidity has been decreasing year by year. The incidence of diseases such as influenza, bronchial asthma, allergic dermatitis, and emphysema has increased by more than 30% compared with 30 years ago; People in a sub-healthy state have weaker body resistance than healthy people and are vulnerable to viruses and bacteria, and low humidity environments are conducive to germs The reproduction and spread of germs are even more rampant. But when the air humidity reaches 55%, it is difficult for germs to spread, so the air humidity that is beneficial to human health should be kept between 45% and 55%. However, there are few families in modern cities that meet this standard. In response to the above situation, people have designed equipment that can improve air humidity. This equipment is a humidifier. The existing humidifiers include ultrasonic type, direct evaporation type, electric heating type, centrifugal type, compound type, etc., and the most commonly used one is the ultrasonic type humidifier. The working principle of the ultrasonic type is to use the principle of 1.7M ultrasonic high-frequency oscillation to atomize water into ultrafine particles of 1-5 microns, and diffuse the water mist into the air through the pneumatic device to achieve the purpose of evenly humidifying the air.
超声波加湿器主要部件包括水箱、超声水雾生成机构、用于增加水雾扩散速度的送风机构、将超声水雾生成机构产生的水雾汇聚并散发到空气中的水雾散发管。现有的加湿器中,水箱设置在超声水雾生成机构上方,并且水箱的底面设置一个进出水管口,用于向水箱内加水,以及水箱中的水在重力作用下从水箱经进出水管口流出到水槽中进行超声雾化。由于进出水管口设置在水箱最下方,在提起水箱加水或维修水槽时,在提起水箱的同时,水箱内的水会从进出水管口漏出,漏到水槽中的水若超出水槽容量还会四处溅洒,影响用户正常使用。另外,由于进出水管口设置在水箱底面,进出水管口被打开后,不停向水槽内漏水,水槽水满后会溢出,需要设置溢流装置防止水槽溢流。The main components of the ultrasonic humidifier include a water tank, an ultrasonic water mist generating mechanism, an air supply mechanism for increasing the diffusion speed of the water mist, and a water mist distribution pipe that gathers the water mist generated by the ultrasonic water mist generating mechanism and distributes it into the air. In the existing humidifier, the water tank is arranged above the ultrasonic water mist generating mechanism, and the bottom surface of the water tank is provided with a water inlet and outlet pipe for adding water to the water tank, and the water in the water tank flows out from the water tank through the water inlet and outlet under the action of gravity Ultrasonic nebulization into the sink. Since the inlet and outlet pipes are located at the bottom of the water tank, when the water tank is lifted to add water or to repair the water tank, the water in the water tank will leak from the water inlet and outlet when the water tank is lifted, and the water that leaks into the water tank will splash around if it exceeds the capacity of the water tank Sprinkle, affect the normal use of users. In addition, since the water inlet and outlet pipes are arranged on the bottom of the water tank, after the water inlet and outlet pipes are opened, water will leak into the tank continuously, and the water tank will overflow when it is full. An overflow device needs to be installed to prevent the tank from overflowing.
实用新型内容Utility model content
本实用新型要解决的技术问题在于,针对现有技术中提起水箱加水时,水箱漏水的缺陷,提供一种结构简单、控制可靠、安全性高、提起水箱后进出水管口被密封且防溢流的防水箱提起漏水及防溢流加湿器。The technical problem to be solved by the utility model is that, aiming at the defects of the water tank leaking when the water tank is lifted to add water in the prior art, it provides a simple structure, reliable control, high safety, and the inlet and outlet pipes are sealed and overflow-proof after the water tank is lifted. The waterproof case lifts the leak-proof and overflow-proof humidifier.
本实用新型解决其技术问题所采用的技术方案是:一种防水箱提起漏水及防溢流加湿器,包括底座、水箱、水雾散发管,所述底座内设有超声水雾生成机构、送风机构和控制机构,所述水箱底部设有用于水进出水箱的进出水管口,所述进出水管口上设有带密封堵头并防止溢流的堵水器,所述超声水雾生成机构内设有开启杆;在水箱安装在底座上时,开启杆插入堵水器顶压密封堵头上移开启进出水管口;提起水箱离开底座时,密封堵头下移堵塞进出水管口。The technical solution adopted by the utility model to solve the technical problem is: a water-proof box lifts a water leakage and overflow-proof humidifier, including a base, a water tank, and a water mist distribution pipe. The base is equipped with an ultrasonic water mist generating mechanism, an Wind mechanism and control mechanism, the bottom of the water tank is provided with an inlet and outlet pipe for water to enter and exit the water tank, the water inlet and outlet is provided with a water stopper with a sealing plug to prevent overflow, and the ultrasonic water mist generating mechanism is equipped with There is an opening lever; when the water tank is installed on the base, the opening lever is inserted into the water stopper to push the sealing plug upward to open the inlet and outlet pipes; when the water tank is lifted off the base, the sealing plug moves down to block the inlet and outlet pipes.
所述超声水雾生成机构包括在底座上方设置的水槽,所述开启杆设置在水槽中,并与堵水器上下对应;所述堵水器螺接在水箱的进出水管口上。The ultrasonic water mist generating mechanism includes a water tank arranged above the base, the opening rod is arranged in the water tank, and corresponds to the water stopper up and down; the water stopper is screwed to the water inlet and outlet of the water tank.
所述堵水器包括螺接在进出水管口上的堵水器壳体、堵水杆,所述堵水器壳体开有出水口,所述密封堵头设置在堵水杆上;所述堵水杆套装有预紧的复原弹簧,所述密封堵头插装在出水口内并在复原弹簧作用下密封出水口。The water stopper includes a water stopper shell and a water stopper rod screwed on the inlet and outlet pipes, the water stopper case has a water outlet, and the sealing plug is arranged on the water stopper rod; The water rod is covered with a pre-tightened return spring, and the sealing plug is inserted in the water outlet and seals the water outlet under the action of the return spring.
所述堵水器壳体内设置有导向机构,所述堵水杆插装在导向机构内并沿导向机构上下移动来密封出水口或开启出水口。A guide mechanism is arranged in the housing of the water shutoff device, and the water shutoff rod is inserted into the guide mechanism and moves up and down along the guide mechanism to seal the water outlet or open the water outlet.
所述导向机构包括支撑杆,支撑杆一端固定在堵水器壳体上,支撑杆的另一端或支撑杆上设有导向环,所述导向环与堵水器壳体上的出水口上下对应,所述堵水杆插装在导向环中,在导向环的限位下上下移动。The guide mechanism includes a support rod, one end of the support rod is fixed on the water stopper shell, the other end of the support rod or the support rod is provided with a guide ring, and the guide ring corresponds to the water outlet on the water stopper shell up and down , the water blocking rod is inserted in the guide ring, and moves up and down under the limit of the guide ring.
所述堵水器壳体为筒状,其顶端的端面上开有一圈与水箱进出水管口螺接的螺接凹槽,所述螺接凹槽包括内圈侧壁面和外圈侧壁面,所述进出水管口设有的外螺纹与螺接凹槽内的外圈侧壁面上的内螺纹配合螺接。The shell of the water stopper is cylindrical, and the end surface of the top end is provided with a screw connection groove which is screwed with the water inlet and outlet of the water tank. The screw connection groove includes the side wall surface of the inner ring and the side wall surface of the outer ring. The external thread provided at the water inlet and outlet port is screwed together with the internal thread on the side wall surface of the outer ring in the threaded groove.
所述螺接凹槽的槽底开有限位槽,在螺接凹槽内放置有密封圈,所述密封圈上设有凸起,所述凸起卡接在限位槽内限制密封圈的径向移动。The groove bottom of the screw connection groove is opened with a limit groove, and a sealing ring is placed in the screw connection groove, and a protrusion is provided on the seal ring, and the protrusion is clamped in the limit groove to limit the sealing ring. radial movement.
所述水槽底部设有超声振荡器,所述超声振荡器上方设有用于封闭超声振荡器上方水槽空间的防漏罩,所述防漏罩周边插入水槽内且没入水面,所述水雾散发管密封连接在防漏罩上且与防漏罩内空间联通。The bottom of the water tank is provided with an ultrasonic oscillator, and above the ultrasonic oscillator is provided with a leak-proof cover for sealing the space of the water tank above the ultrasonic oscillator. The periphery of the leak-proof cover is inserted into the water tank and submerged into the water surface. The seal is connected to the leak-proof cover and communicates with the inner space of the leak-proof cover.
所述防漏罩下部外壁面与水槽内壁面贴合。The outer wall of the lower part of the leak-proof cover is attached to the inner wall of the water tank.
所述防漏罩上部外径大于下部外径,防漏罩上部和下部通过台阶过渡,防漏罩插装在水槽中则所述台阶顶压在水槽的上端面上。The outer diameter of the upper part of the leak-proof cover is larger than the outer diameter of the lower part, and the upper part and the lower part of the leak-proof cover transition through steps, and when the leak-proof cover is inserted into the water tank, the steps press against the upper surface of the water tank.
本实用新型在水箱底部的进出水管口上设置堵水器,堵水器带有密封堵头,用于封堵进出水管口,对应的超声水雾生成机构内设有开启杆;在水箱安装在底座上时,开启杆插入堵水器顶压密封堵头上移开启进出水管口;提起水箱离开底座时,密封堵头下移堵塞进出水管口。这样就解决了水箱提起漏水的问题。另外,堵水器是进出水管口向下的延伸,当水箱中的水不断流出,作为承接水箱流水的水槽中的水逐步升高淹没堵水器下端面,水箱被封闭,当水箱内空腔逐步形成负压,当水的重力等于外界大气压力,形成一个平衡,水箱内的水就不会再进入到水槽内,解决了水箱不停漏水造成溢流的问题。本实用新型结构简单、控制可靠、易操作、安全性高。The utility model is provided with a water stopper on the inlet and outlet water pipes at the bottom of the water tank. The water stopper is provided with a sealing plug for sealing the inlet and outlet water pipes. The corresponding ultrasonic water mist generating mechanism is provided with an opening lever; the water tank is installed on the base When it is up, the opening rod is inserted into the water stopper and the sealing plug moves up to open the inlet and outlet pipes; when the water tank is lifted away from the base, the sealing plug moves down to block the inlet and outlet pipes. This solves the problem of water tank lifting leakage. In addition, the water stopper is a downward extension of the water inlet and outlet pipes. When the water in the water tank continues to flow out, the water in the sink that receives the water from the water tank gradually rises and submerges the lower end of the water stopper, and the water tank is closed. When the cavity in the water tank Gradually form a negative pressure. When the gravity of the water is equal to the external atmospheric pressure, a balance is formed, and the water in the water tank will not enter the water tank again, which solves the problem of overflow caused by the continuous leakage of the water tank. The utility model has the advantages of simple structure, reliable control, easy operation and high safety.
本实用新型在防漏水的堵水器中,采用防止密封圈防失效结构,来解决常规的环形平面密封圈在拧紧堵水器时,密封圈会因外力挤压变形,与水箱的进出水管口之间出现错位,密封失效的问题。本实用新型在堵水器的螺接凹槽内设置限位槽,并且对应的密封圈上设置凸起,凸起放置在限位槽内,拧紧堵水器时,凸起被限位槽限位,保证了密封圈不偏移,从而使密封圈有效的起到密封效果,保障了产品的使用安全。The utility model adopts the anti-failure structure of the sealing ring in the leak-proof water blocking device to solve the problem that when the conventional annular plane sealing ring is tightened, the sealing ring will be deformed due to external force extrusion, and the water inlet and outlet of the water tank will be out of contact with each other. There is a problem of misalignment and seal failure. In the utility model, a limit groove is provided in the screw connection groove of the water stopper, and a protrusion is arranged on the corresponding sealing ring, and the protrusion is placed in the limit groove. When the water stopper is tightened, the protrusion is limited by the limit groove. The position ensures that the sealing ring does not deviate, so that the sealing ring can effectively play a sealing effect and ensure the safety of the product.
附图说明Description of drawings
下面将结合附图及实施例对本实用新型作进一步说明,附图中:The utility model will be further described below in conjunction with accompanying drawing and embodiment, in the accompanying drawing:
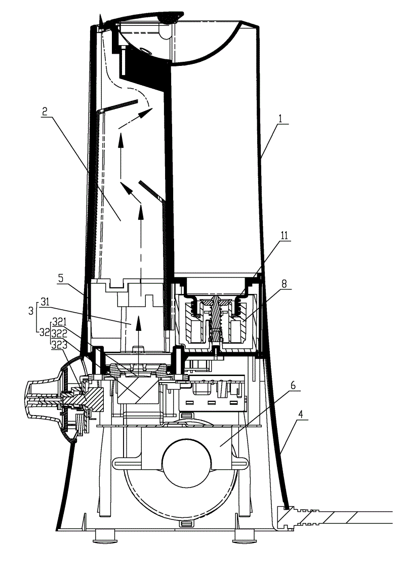
图1是本实用新型实施例的剖视图;Fig. 1 is the sectional view of the utility model embodiment;
图2是本实用新型实施例的另一方向的剖视图;Fig. 2 is the sectional view of another direction of the utility model embodiment;
图3是本实用新型实施例的堵水器与水箱连接的局部放大图;Fig. 3 is a partially enlarged view of the connection between the water stopper and the water tank of the embodiment of the present invention;
图4是本实用新型实施例的堵水器被开启杆顶压开启时的局部放大图;Fig. 4 is a partially enlarged view of the water stopper according to the embodiment of the present invention when it is pressed and opened by the opening rod;
图5是本实用新型实施例的堵水器与水箱螺接的局部放大图。Fig. 5 is a partially enlarged view of the screw connection between the water stopper and the water tank in the embodiment of the present invention.
具体实施方式Detailed ways
实施例1、如图1、2所示,一种防水箱提起漏水及防溢流加湿器,包括底座4、设置在底座4上方的水箱1,所述底座4内上部设有超声水雾生成机构3、下部设有用于增加水雾扩散速度的送风机构6和用于控制加湿器工作的控制机构(图中未示出),底座4上方还设有水雾散发管2。其中底座4的作用是用于支撑水箱1和作为围蔽超声水雾生成机构3、送风机构6及控制机构的外壳。如图1、2、4所示,所述水箱1底部设有用于水进出水箱1的进出水管口11,所述进出水管口11上设有带密封堵头81的堵水器8,所述超声水雾生成机构3内设有开启杆33;在水箱1安装在底座4上时,开启杆33插入堵水器8顶压密封堵头81上移开启进出水管口11;提起水箱1离开底座4时,密封堵头81下移堵塞进出水管口11。
如图1、4所示,所述超声水雾生成机构3包括在底座4上方设置的水槽31,所述开启杆33设置在水槽31中,并与堵水器8上下对应;所述堵水器8螺接在水箱1的进出水管口11上。As shown in Figures 1 and 4, the ultrasonic water
如图1、2、3、4所示,在水箱底面设有防漏罩5,所述防漏罩5开有连接孔,所述水箱1的进出水管口11插装在连接孔内,所述防漏罩5与水箱1进出水管口11之间密封连接。水箱1的进出水管口11竖直设置在水箱1底面上,堵水器8螺接在水箱1的进出水管口11上,堵水器开启杆33也竖直设置在水槽31内,所述堵水器8包括堵水器壳体80、一端带有密封堵头81的堵水杆82,堵水器壳体80为筒状,所述堵水器壳体80与水箱1进出水管口11螺接,且堵水器壳体80上开有出水口86,所述堵水杆82上套装有预紧的复原弹簧83,所述复原弹簧83一端顶压堵水器壳体80、一端顶压堵水杆82端部设置的挡件85,所述复原弹簧83弹力伸张将插入出水口86的密封堵头81密封压紧在出水口86边缘。所述水箱1装配在底座4上,所述堵水器的开启杆33向上顶压堵水器8的堵水杆82端部,使得堵水杆82向上运动,离开出水口86边缘,水箱1内的水从出水口86向水槽31内漏水。上提水箱1,堵水器的开启杆33离开堵水杆82,则在复原弹簧83弹力下,堵水杆82下移堵住出水口86,则水箱1中的水不再向水槽31漏水。As shown in Figures 1, 2, 3, and 4, a leak-
如图1、2、4、5所示,所述堵水器壳体80内设置有导向机构88,所述堵水杆82插装在导向机构88内并沿导向机构88上下移动。导向机构88是用于对堵水杆82进行导向的,因此,可以设置,也可以不设置。导向机构88使得堵水杆82能竖直上下运动,避免密封堵头81偏离不能压紧出水口86。导向机构88可以有多种方式:一种是堵水杆82能插装其中的导向筒,第二种是带有导向槽的导向杆,堵水杆82滑动配合在导向杆的导向槽内上下滑动,第三种是设置限位杆,在堵水杆82外侧设有两个限位杆,堵水杆82被限位只能上下移动。本实用新型的导向机构88为固定在堵水器壳体80上的至少一个支撑杆881,支撑杆881一端固定在堵水器壳体80上,支撑杆881的另一端设有导向环882,所述导向环882与堵水器壳体80上的出水口86上下对应,所述堵水杆82插装在导向环882中,在导向环882的限位下上下移动。As shown in FIGS. 1 , 2 , 4 and 5 , a
如图5所示,所述堵水器壳体80为上下贯通的筒状,其顶端的端面上开有一圈与水箱进出水管口螺接的螺接凹槽84,所述螺接凹槽84包括内圈侧壁面841和外圈侧壁面842,内圈侧壁面841和外圈侧壁面842一般为同心设置。所述进出水管口11设有的外螺纹与螺接凹槽84内的外圈侧壁面842上的内螺纹配合螺接。所述螺接凹槽84的槽底开有限位槽843,在螺接凹槽84内放置有密封圈87,所述密封圈87上设有凸起871,所述凸起871放置在限位槽843内限制密封圈的径向移动,限位槽843与凸起871形状配合,并且二者无间隙配合或者紧配合,限位槽843在螺接凹槽84的槽底的任何位置,优选限位槽843靠近内圈侧壁面841设置一圈,凸起871也对应设置一圈。本实施例中限位槽843的横截面为长方形,则凸起871的横截面也为长方形。加强限位槽843对密封圈87的限位,防止其在因外力挤压变形,与水箱1的进出水管口11之间出现错位,密封失效的问题。As shown in Fig. 5, the
超声水雾生成机构3包括在底座4上部设置的水槽31,水槽31可以是另外独立设置并套装在底座4上部的槽体,也可以直接利用底座4形成的水槽31,即底座4内上部设有横向隔板,隔板与底座4一体结构,隔板上方的底座4空间即形成水槽31。所述水槽31底部设有超声振荡器32。超声振荡器32包括密封固定在水槽31底部开设的固定孔内的振荡片321,振荡片倾斜设置,其倾角为7°左右,振荡片321下方设有振荡控制装置322和调节装置323,振荡控制装置322和调节装置323为现有技术,在此不再详述。The ultrasonic water
所述超声振荡器32上方设有用于封闭超声振荡器32上方的水槽31空间的防漏罩5,所述防漏罩5周边插入水槽31内且其边缘没入水中,最好是低于水槽31内预设的加湿器工作水位线,预设加湿器工作水位线是为了保证超声加湿器中振荡片321能在有水的情况下正常工作,正是由于水槽31内一直有水存在,则本实用新型就是利用水封原理,将设置在水槽31内的防漏罩5周边封闭在水中。The top of the
如图1、2所示,防漏罩5可以独立设置,也可以将防漏罩5固定在水箱1底部,提起水箱1的同时即将防漏罩5取下,就可以方便清理水槽31,一般由于防漏罩5的作用就是对水雾进行封闭并导向,因此对其形状不作限定,可以是倒扣在水槽31中的任意形状。本实施例优选所述防漏罩5为倒扣的桶形,其顶面为与水箱底面形状配合、其侧壁垂直于顶面,所述水箱1底部与防漏罩5贴合固定连接。防漏罩5可以将水槽31整体封闭,也可以只封闭振荡片321周围空间。为了尽可能避免所有水雾从水槽31边缘处漏出,则优选所述防漏罩5下部外壁面与水槽31内壁面贴合。即防漏罩5贴着水槽31内壁插入到水中,防漏罩5与水槽31之间的空隙小,减少水雾泄漏。As shown in Figures 1 and 2, the leak-
所述水箱1是用于储存水的容器,需要拆下加水,因此受到磕碰、摔落的几率较大,现有技术中的水箱1是通过AS料和ABS材料的多部分超声焊接在一起,在超声接合线处易开裂,为了避免该问题,本实用新型采用带一中空腔体的一体成型的结构。并且水箱1可以选韧性和强度较高的材料制成,例如选用PC吹塑料,采用吹塑等塑料制造工艺让水箱1一次性成型而成,这样水箱1是一个整体,所以也就大大减少漏水问题。水箱1底部设有进出水管口11,所述水箱1的中空腔体只通过进出水管口11与外界联通。The
水雾扩散速度的送风机构6设置在底座4内下部,送风机构6主要为风机,风机连接有送风通道61,所述的送风通道61的出风口设置在防漏罩5内,高于水槽31内预设的加湿器工作水位线,使得水槽31中的水不会进入到风机损坏风机,为了降低加湿器噪音,风机选用声音较小的静音风机,例如蜗壳式离心风机。The air supply mechanism 6 of the water mist diffusion speed is arranged on the lower part of the base 4, the air supply mechanism 6 is mainly a fan, and the fan is connected with an
水雾散发管2是用于散发水雾的,其设置靠近水箱1设置在水箱1的一侧。为了将振荡片振荡产生的水雾散发到空气中,将所述水雾散发管2密封连接在防漏罩5上且与防漏罩5内空间联通。水雾散发管2是水雾唯一的通道,就实现了既能将水雾散发到空气中,又不会使加湿器四周滴落水滴。The water
加湿器的控制机构分别与超声振荡器32、送风机构6连接,用于控制控制加湿器工作,其结构和电路是常规技术,在此不再详述其结构。The control mechanism of the humidifier is respectively connected with the
由于现有技术水箱1与底座4之间是通过挡板连接的,即水箱1底部周边设有挡板,通过挡板插装在底座4上,本实施例将防漏罩5与挡板合二为一,即将防漏罩5同时也作为水箱1和底座4之间的挡板,将防漏罩5插入水槽31中即将水箱1放置到底座4上,简化了加湿器的结构。防漏罩5形状与底座4上部形状一致配合插接,并且相互插接的防漏罩5外壁和底座4内壁相互贴合,尽可能减少二者之间的间隙。Because the
如图1、2所示,为使得底座4和防漏罩5之间在外观上看是一体结构,所述防漏罩5上部外径大于下部外径,防漏罩5的上部和下部通过台阶过渡,防漏罩5插装在水槽31中则所述台阶顶压在水槽31的上端面上。这种结构也使得在防漏罩5与水槽31壁面之间形成回环结构,防漏罩5与水槽31之间水汽凝结后的水滴能顺水槽31壁下落至水槽31中,而不会流出水槽31边缘,强化了防泄漏功能。As shown in Figures 1 and 2, in order to make the base 4 and the leak-
Claims (10)
Priority Applications (1)
| Application Number | Priority Date | Filing Date | Title |
|---|---|---|---|
| CN2011200399441U CN201954697U (en) | 2011-02-16 | 2011-02-16 | Overflow-preventive humidifier capable of preventing water leakage during lifting of water tank |
Applications Claiming Priority (1)
| Application Number | Priority Date | Filing Date | Title |
|---|---|---|---|
| CN2011200399441U CN201954697U (en) | 2011-02-16 | 2011-02-16 | Overflow-preventive humidifier capable of preventing water leakage during lifting of water tank |
Publications (1)
| Publication Number | Publication Date |
|---|---|
| CN201954697U true CN201954697U (en) | 2011-08-31 |
Family
ID=44498807
Family Applications (1)
| Application Number | Title | Priority Date | Filing Date |
|---|---|---|---|
| CN2011200399441U Expired - Fee Related CN201954697U (en) | 2011-02-16 | 2011-02-16 | Overflow-preventive humidifier capable of preventing water leakage during lifting of water tank |
Country Status (1)
| Country | Link |
|---|---|
| CN (1) | CN201954697U (en) |
Cited By (17)
| Publication number | Priority date | Publication date | Assignee | Title |
|---|---|---|---|---|
| CN102788408A (en) * | 2012-08-27 | 2012-11-21 | 上海奔腾电工有限公司 | Humidifier with shutdown protection function |
| CN104748275A (en) * | 2015-03-18 | 2015-07-01 | 宁波长荣光电科技有限公司 | Atomizing water-cooling fan with two-tank isolated water delivery trough structure |
| CN104791498A (en) * | 2014-01-22 | 2015-07-22 | 格力电器(中山)小家电制造有限公司 | Humidifier water tank seal structure and humidifier water tank |
| CN106338122A (en) * | 2015-07-07 | 2017-01-18 | 戴森技术有限公司 | Humidifying apparatus |
| CN106338121A (en) * | 2015-07-07 | 2017-01-18 | 戴森技术有限公司 | Humidifying apparatus |
| CN106338120A (en) * | 2015-07-07 | 2017-01-18 | 戴森技术有限公司 | Humidifying apparatus |
| CN106679030A (en) * | 2017-02-28 | 2017-05-17 | 珠海格力电器股份有限公司 | Humidifier water tank and humidifier using same |
| US9861778B2 (en) | 2013-03-15 | 2018-01-09 | Resmed Limited | Humidifier reservoir |
| TWI626962B (en) * | 2013-03-15 | 2018-06-21 | 澳大利亞商瑞思邁有限公司 | Humidifier storage tank, humidification device and method for avoiding excessive water injection |
| CN109601180A (en) * | 2018-12-18 | 2019-04-12 | 深圳市铁汉人居环境科技有限公司 | Plant cultivation water storage module and plant cultivation device |
| CN110260440A (en) * | 2018-03-11 | 2019-09-20 | 深圳市联创科技集团有限公司 | A kind of humidifier automatic control outlet valve and its humidifier |
| CN112443957A (en) * | 2020-12-08 | 2021-03-05 | 东莞市本元实业有限公司 | Water control structure and humidifier |
| CN112674660A (en) * | 2020-12-11 | 2021-04-20 | 杭州三个机器人科技有限公司 | Clear water tank mounting structure for floor cleaning machine |
| CN113428915A (en) * | 2021-07-16 | 2021-09-24 | 珠海格力电器股份有限公司 | Water using equipment |
| CN113719921A (en) * | 2020-05-26 | 2021-11-30 | 青岛海尔空调器有限总公司 | Dehumidifier and control method thereof |
| CN115452096A (en) * | 2022-08-22 | 2022-12-09 | 宁波德昌电器有限公司 | Automatic detection device and detection method of humidifier |
| US12194244B2 (en) | 2018-12-18 | 2025-01-14 | ResMed Pty Ltd | Humidifier reservoir |
-
2011
- 2011-02-16 CN CN2011200399441U patent/CN201954697U/en not_active Expired - Fee Related
Cited By (41)
| Publication number | Priority date | Publication date | Assignee | Title |
|---|---|---|---|---|
| CN102788408A (en) * | 2012-08-27 | 2012-11-21 | 上海奔腾电工有限公司 | Humidifier with shutdown protection function |
| CN102788408B (en) * | 2012-08-27 | 2014-10-22 | 上海奔腾电工有限公司 | Humidifier with shutdown protection function |
| US11013881B2 (en) | 2013-03-15 | 2021-05-25 | ResMed Pty Ltd | Humidifier reservoir |
| US12144929B2 (en) | 2013-03-15 | 2024-11-19 | ResMed Pty Ltd | Humidifier reservoir |
| US11666727B2 (en) | 2013-03-15 | 2023-06-06 | ResMed Pty Ltd | Medical treatment apparatus and water reservoir for same |
| US11883605B2 (en) | 2013-03-15 | 2024-01-30 | ResMed Pty Ltd | Humidifier reservoir |
| US11565076B2 (en) | 2013-03-15 | 2023-01-31 | ResMed Pty Ltd | Medical treatment apparatus and water reservoir for same |
| US11565075B2 (en) | 2013-03-15 | 2023-01-31 | ResMed Pty Ltd | Humidifier reservoir |
| US9861778B2 (en) | 2013-03-15 | 2018-01-09 | Resmed Limited | Humidifier reservoir |
| TWI626962B (en) * | 2013-03-15 | 2018-06-21 | 澳大利亞商瑞思邁有限公司 | Humidifier storage tank, humidification device and method for avoiding excessive water injection |
| US11998701B2 (en) | 2013-03-15 | 2024-06-04 | ResMed Pty Ltd | Apparatus for treating a respiratory disorder in a patient |
| US10342950B2 (en) | 2013-03-15 | 2019-07-09 | ResMed Pty Ltd | Humidifier reservoir |
| US11504496B2 (en) | 2013-03-15 | 2022-11-22 | ResMed Pty Ltd | Humidifier reservoir |
| US10688271B2 (en) | 2013-03-15 | 2020-06-23 | ResMed Pty Ltd | Humidifier reservoir |
| US12251520B2 (en) | 2013-03-15 | 2025-03-18 | ResMed Pty Ltd | Humidifier reservoir |
| US12201780B2 (en) | 2013-03-15 | 2025-01-21 | ResMed Pty Ltd | Humidifier reservoir |
| US11497879B2 (en) | 2013-03-15 | 2022-11-15 | ResMed Pty Ltd | Humidifier reservoir |
| US11357948B2 (en) | 2013-03-15 | 2022-06-14 | ResMed Pty Ltd | Humidifier reservoir |
| US11464935B2 (en) | 2013-03-15 | 2022-10-11 | ResMed Pty Ltd | Respiratory pressure therapy device having dock configured to alternatively receive a water reservoir or an end cap |
| US12102769B2 (en) | 2013-03-15 | 2024-10-01 | ResMed Pty Ltd | Humidifier reservoir |
| US11298499B2 (en) | 2013-03-15 | 2022-04-12 | ResMed Pty Ltd | Humidifier reservoir |
| US11311696B2 (en) | 2013-03-15 | 2022-04-26 | ResMed Pty Ltd | Humidifier reservoir |
| US12201779B2 (en) | 2013-03-15 | 2025-01-21 | ResMed Pty Ltd | Humidifier reservoir |
| US11357947B2 (en) | 2013-03-15 | 2022-06-14 | ResMed Pty Ltd | Humidifier reservoir |
| US11672940B2 (en) | 2013-03-15 | 2023-06-13 | ResMed Pty Ltd | Humidifier reservoir |
| CN104791498A (en) * | 2014-01-22 | 2015-07-22 | 格力电器(中山)小家电制造有限公司 | Humidifier water tank seal structure and humidifier water tank |
| CN104748275A (en) * | 2015-03-18 | 2015-07-01 | 宁波长荣光电科技有限公司 | Atomizing water-cooling fan with two-tank isolated water delivery trough structure |
| CN106338120A (en) * | 2015-07-07 | 2017-01-18 | 戴森技术有限公司 | Humidifying apparatus |
| CN106338121A (en) * | 2015-07-07 | 2017-01-18 | 戴森技术有限公司 | Humidifying apparatus |
| CN106338122A (en) * | 2015-07-07 | 2017-01-18 | 戴森技术有限公司 | Humidifying apparatus |
| CN106679030A (en) * | 2017-02-28 | 2017-05-17 | 珠海格力电器股份有限公司 | Humidifier water tank and humidifier using same |
| CN110260440A (en) * | 2018-03-11 | 2019-09-20 | 深圳市联创科技集团有限公司 | A kind of humidifier automatic control outlet valve and its humidifier |
| CN109601180A (en) * | 2018-12-18 | 2019-04-12 | 深圳市铁汉人居环境科技有限公司 | Plant cultivation water storage module and plant cultivation device |
| US12194244B2 (en) | 2018-12-18 | 2025-01-14 | ResMed Pty Ltd | Humidifier reservoir |
| CN113719921B (en) * | 2020-05-26 | 2023-03-24 | 青岛海尔空调器有限总公司 | Dehumidifier and control method thereof |
| CN113719921A (en) * | 2020-05-26 | 2021-11-30 | 青岛海尔空调器有限总公司 | Dehumidifier and control method thereof |
| CN112443957A (en) * | 2020-12-08 | 2021-03-05 | 东莞市本元实业有限公司 | Water control structure and humidifier |
| CN112674660B (en) * | 2020-12-11 | 2021-10-26 | 杭州三个机器人科技有限公司 | Clear water tank mounting structure for floor cleaning machine |
| CN112674660A (en) * | 2020-12-11 | 2021-04-20 | 杭州三个机器人科技有限公司 | Clear water tank mounting structure for floor cleaning machine |
| CN113428915A (en) * | 2021-07-16 | 2021-09-24 | 珠海格力电器股份有限公司 | Water using equipment |
| CN115452096A (en) * | 2022-08-22 | 2022-12-09 | 宁波德昌电器有限公司 | Automatic detection device and detection method of humidifier |
Similar Documents
| Publication | Publication Date | Title |
|---|---|---|
| CN201954697U (en) | Overflow-preventive humidifier capable of preventing water leakage during lifting of water tank | |
| CN204555163U (en) | A kind of gasifying type humidifier | |
| CN204853787U (en) | Go up and add ability of swimming humidifier | |
| CN108397848B (en) | a humidifier | |
| CN206222587U (en) | Constant water level humidifier | |
| CN211132580U (en) | Novel oxygen generator humidifying cup | |
| CN201954698U (en) | Anti-leakage humidifier | |
| CN211157534U (en) | Essential oil atomizing unit and essential oil atomizing device | |
| WO2020051724A1 (en) | Water-leakage prevention upper water feeding humidifier | |
| CN206549865U (en) | One kind, which is closed, stops gondola water faucet | |
| CN216346797U (en) | Last structure of adding water of humidifier | |
| CN205536212U (en) | a dehumidifier | |
| CN205227654U (en) | Take drainage structures's humidifier | |
| CN208042413U (en) | A kind of humidifier | |
| CN201297728Y (en) | Humidifying device of split floor type air-conditioning indoor unit | |
| CN203971125U (en) | A kind of used for respirators automatic water filling humidification pot | |
| CN202301087U (en) | Electric fan with humidifying function | |
| CN208108392U (en) | Humidifier | |
| CN204202075U (en) | A kind of mute type humidifier | |
| CN206291400U (en) | Add water humidifier in one kind | |
| CN201954699U (en) | Humidifier for preventing water leakage of water tank | |
| CN207570058U (en) | A kind of noiseless filtration members and humidifier | |
| CN204987344U (en) | Humidifier | |
| CN105816030B (en) | Drip-proof kettle | |
| CN208967973U (en) | Humidifiers and humidifier tanks |
Legal Events
| Date | Code | Title | Description |
|---|---|---|---|
| C14 | Grant of patent or utility model | ||
| GR01 | Patent grant | ||
| CF01 | Termination of patent right due to non-payment of annual fee | ||
| CF01 | Termination of patent right due to non-payment of annual fee |
Granted publication date: 20110831 Termination date: 20160216 |
