CN201935018U - LED (light-emitting diode) lamp - Google Patents

LED (light-emitting diode) lamp Download PDF

Info

Publication number
CN201935018U
CN201935018U CN2011200620487U CN201120062048U CN201935018U CN 201935018 U CN201935018 U CN 201935018U CN 2011200620487 U CN2011200620487 U CN 2011200620487U CN 201120062048 U CN201120062048 U CN 201120062048U CN 201935018 U CN201935018 U CN 201935018U
Authority
CN
China
Prior art keywords
led
sound
light
lamp
lamp holder
Prior art date
Legal status (The legal status is an assumption and is not a legal conclusion. Google has not performed a legal analysis and makes no representation as to the accuracy of the status listed.)
Expired - Fee Related
Application number
CN2011200620487U
Other languages
Chinese (zh)
Inventor
王科飞
Current Assignee (The listed assignees may be inaccurate. Google has not performed a legal analysis and makes no representation or warranty as to the accuracy of the list.)
Jilin Business and Technology College
Original Assignee
Jilin Business and Technology College
Priority date (The priority date is an assumption and is not a legal conclusion. Google has not performed a legal analysis and makes no representation as to the accuracy of the date listed.)
Filing date
Publication date
Application filed by Jilin Business and Technology College filed Critical Jilin Business and Technology College
Priority to CN2011200620487U priority Critical patent/CN201935018U/en
Application granted granted Critical
Publication of CN201935018U publication Critical patent/CN201935018U/en
Anticipated expiration legal-status Critical
Expired - Fee Related legal-status Critical Current

Links

Classifications

    • YGENERAL TAGGING OF NEW TECHNOLOGICAL DEVELOPMENTS; GENERAL TAGGING OF CROSS-SECTIONAL TECHNOLOGIES SPANNING OVER SEVERAL SECTIONS OF THE IPC; TECHNICAL SUBJECTS COVERED BY FORMER USPC CROSS-REFERENCE ART COLLECTIONS [XRACs] AND DIGESTS
    • Y02TECHNOLOGIES OR APPLICATIONS FOR MITIGATION OR ADAPTATION AGAINST CLIMATE CHANGE
    • Y02BCLIMATE CHANGE MITIGATION TECHNOLOGIES RELATED TO BUILDINGS, e.g. HOUSING, HOUSE APPLIANCES OR RELATED END-USER APPLICATIONS
    • Y02B20/00Energy efficient lighting technologies, e.g. halogen lamps or gas discharge lamps
    • Y02B20/40Control techniques providing energy savings, e.g. smart controller or presence detection

Landscapes

  • Circuit Arrangement For Electric Light Sources In General (AREA)

Abstract

本实用新型公开了一种LED灯,是由灯座、设置有变压整流电路和声光控制电路的电路板、LED固定板、LED、声音感应器和光线感应器组成,设置有变压整流电路和声光控制电路的电路板设置在灯座内的上部,LED固定板设置在灯座内的下部,LED固定板的底面插置固定LED,LED的下部设置有灯罩,声音感应器和光线感应器分别设置在灯座的外侧面,声音感应器、光线感应器分别与声光控制电路连接,本实用新型可以直接接在市电上使用,其功率小可以节省电能,照度大,使用寿命长;具有声、光控功能,可以进一步节省电能,开闭次数的增加不会降低使用寿命,反而因其关闭后,LED的温度降低而延长了使用寿命。

Figure 201120062048

The utility model discloses an LED lamp, which is composed of a lamp holder, a circuit board provided with a transformer rectifier circuit and an acousto-optic control circuit, an LED fixing board, an LED, a sound sensor and a light sensor, and is provided with a transformer rectifier circuit board. The circuit board of the electric circuit and the sound and light control circuit is arranged in the upper part of the lamp holder, the LED fixing plate is arranged in the lower part of the lamp holder, the bottom surface of the LED fixing board is inserted to fix the LED, and the lower part of the LED is provided with a lampshade, a sound sensor and a light The sensors are respectively arranged on the outer side of the lamp holder, and the sound sensor and the light sensor are respectively connected with the sound and light control circuit. The utility model can be directly connected to the mains for use. Long; it has sound and light control functions, which can further save electric energy. The increase in the number of opening and closing times will not reduce the service life.

Figure 201120062048

Description

The LED lamp
Technical field
The utility model relates to a kind of light fixture, particularly a kind of LED lamp.
Background technology
At present, be used for the incandescent lamp or the fluorescent lamp of public place, its power is big, illumination is little, wasted electric energy, service life is short, and along with it opens and closes the increase of number of times, further reduce the service life of lamp, so incandescent lamp or fluorescent lamp are used for the public place illumination, have consumed a large amount of electric energy, and, increase if open and close number of times, then can further reduce service life, increased installation cost virtually.
Power is little, illumination is big and have as the lighting of light emitting source with LED (light emitting diode), the advantage of long service life, and the increase that opens and closes number of times can not reduce service life, and because of after it closes, the temperature of LED reduces and has prolonged service life on the contrary.
Summary of the invention
The purpose of this utility model provides a kind of LED lamp, this LED lamp power is little, illumination is big, long service life, and increase sound, light-operated function, and the increase that opens and closes number of times can not reduce service life, because of after it closes, the temperature of LED reduces and has prolonged service life on the contrary, and the utility model has overcome the shortcoming of incandescent lamp and fluorescent lamp.
The utility model is by lamp socket, be provided with the circuit board of transformation rectification circuit and sound light control circuit, the LED fixed head, LED, sound inductor and light sensor are formed, the circuit board that is provided with transformation rectification circuit and sound light control circuit is arranged on the interior top of lamp socket, the LED fixed head is arranged on the bottom in the lamp socket, the bottom surface plant fixed L ED of LED fixed head, sound inductor and light sensor are separately positioned on the lateral surface of lamp socket, the sound inductor, light sensor is connected with sound light control circuit respectively, the bottom of LED can be covered with Transparent lamp shade, also can not be covered with Transparent lamp shade.
The beneficial effects of the utility model are as follows:
1, can directly be connected on the civil power and use;
2, can be used for places such as corridor, corridor;
3, the power I is to save electric energy, and illumination is big, long service life;
4, have sound, light control functionality, can further save electric energy, the increase that opens and closes number of times can not reduce service life, and because of after it closes, the temperature of LED reduces and prolonged service life on the contrary.
Description of drawings
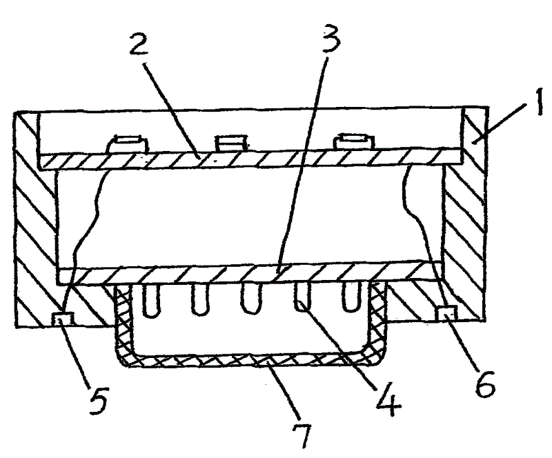
Fig. 1 is the cutaway view of the utility model embodiment.
The specific embodiment
See also shown in Figure 1, be embodiment of the present utility model, be by lamp socket 1, be provided with the circuit board 2 of transformation rectification circuit and sound light control circuit, LED fixed head 3, LED4, sound inductor 5 and light sensor 6 are formed, the circuit board 2 that is provided with transformation rectification circuit and sound light control circuit is arranged on the top in the lamp socket 1, LED fixed head 3 is arranged on the bottom in the lamp socket 1, the bottom surface plant fixed L ED4 of LED fixed head 3, the lower cover of LED4 is provided with Transparent lamp shade 7, the sound induction, 5 and light sensor 6 be separately positioned on the lateral surface of lamp socket 1, sound induction, 5 are connected with sound light control circuit respectively with light sensor 6.

Claims (1)

1.一种LED灯,其特征在于:是由灯座、设置有变压整流电路和声光控制电路的电路板、LED固定板、LED、声音感应器和光线感应器组成,设置有变压整流电路和声光控制电路的电路板设置在灯座内的上部,LED固定板设置在灯座内的下部,LED固定板的底面插置固定LED,声音感应器和光线感应器分别设置在灯座的外侧面,声音感应器、光线感应器分别与声光控制电路连接。1. An LED lamp, characterized in that: it is composed of a lamp holder, a circuit board provided with a transformer rectifier circuit and an acousto-optic control circuit, an LED fixing plate, an LED, a sound sensor and a light sensor, and is provided with a transformer The circuit boards of the rectifier circuit and the sound and light control circuit are arranged in the upper part of the lamp holder, the LED fixing plate is arranged in the lower part of the lamp holder, the bottom surface of the LED fixing board is inserted and fixed to the LED, and the sound sensor and the light sensor are respectively arranged in the lamp holder. On the outer surface of the seat, the sound sensor and the light sensor are respectively connected with the sound and light control circuit.
CN2011200620487U 2011-03-11 2011-03-11 LED (light-emitting diode) lamp Expired - Fee Related CN201935018U (en)

Priority Applications (1)

Application Number Priority Date Filing Date Title
CN2011200620487U CN201935018U (en) 2011-03-11 2011-03-11 LED (light-emitting diode) lamp

Applications Claiming Priority (1)

Application Number Priority Date Filing Date Title
CN2011200620487U CN201935018U (en) 2011-03-11 2011-03-11 LED (light-emitting diode) lamp

Publications (1)

Publication Number Publication Date
CN201935018U true CN201935018U (en) 2011-08-17

Family

ID=44446537

Family Applications (1)

Application Number Title Priority Date Filing Date
CN2011200620487U Expired - Fee Related CN201935018U (en) 2011-03-11 2011-03-11 LED (light-emitting diode) lamp

Country Status (1)

Country Link
CN (1) CN201935018U (en)

Cited By (1)

* Cited by examiner, † Cited by third party
Publication number Priority date Publication date Assignee Title
CN105546372A (en) * 2016-01-27 2016-05-04 绍兴文理学院 Low-energy acoustooptic controlled LED lamp device

Cited By (2)

* Cited by examiner, † Cited by third party
Publication number Priority date Publication date Assignee Title
CN105546372A (en) * 2016-01-27 2016-05-04 绍兴文理学院 Low-energy acoustooptic controlled LED lamp device
CN105546372B (en) * 2016-01-27 2019-02-19 绍兴文理学院 A low-energy sound and light control LED lamp device

Similar Documents

Publication Publication Date Title
CN201935018U (en) LED (light-emitting diode) lamp
CN201177242Y (en) Sound and light control LED channel lights
CN202203686U (en) Light-emitting diode (LED) lamp bulb with light pipes
CN201204727Y (en) Light control LED light
CN201425291Y (en) Membrane of keyboard illuminating lamp
CN201462583U (en) LED lighting lamp for lift car
CN201191932Y (en) Sound controlled LED light
CN204042694U (en) The lampshade of spotlight
CN202266877U (en) Intelligent adjustable led lamp
CN203052342U (en) Voice-activated LED light
CN202613174U (en) Infrared sensing LED (light-emitting diode) lamp
CN203052336U (en) Light sensor outdoor LED lamps
CN202915077U (en) Light-emitting diode (LED) electronic induction lamp
CN202252953U (en) High-power LED floodlight
CN201255333Y (en) Automation control LED mirror lamp
CN203797386U (en) LED intelligent sensing lamp
CN202511149U (en) Human body infrared induction LED ceiling lamp
CN201696977U (en) Led lawn lamp
CN203586164U (en) Heat abstractor used for illumination
CN203202751U (en) LED fluorescent lamp
CN202561523U (en) Intelligent light-emitting diode (LED) light
CN202082865U (en) LED Energy Saving Lamp
CN201652086U (en) An inductive LED ceiling lamp
CN202253317U (en) a solar lamp
CN202834994U (en) Surface-mounted LED (light-emitting diode) desk lamp

Legal Events

Date Code Title Description
C14 Grant of patent or utility model
GR01 Patent grant
C17 Cessation of patent right
CF01 Termination of patent right due to non-payment of annual fee

Granted publication date: 20110817

Termination date: 20120311