CN201889064U - Mechanical horse - Google Patents

Mechanical horse Download PDF

Info

Publication number
CN201889064U
CN201889064U CN2010205946040U CN201020594604U CN201889064U CN 201889064 U CN201889064 U CN 201889064U CN 2010205946040 U CN2010205946040 U CN 2010205946040U CN 201020594604 U CN201020594604 U CN 201020594604U CN 201889064 U CN201889064 U CN 201889064U
Authority
CN
China
Prior art keywords
braking
leg support
connecting rod
fixedlyed connected
hinged
Prior art date
Legal status (The legal status is an assumption and is not a legal conclusion. Google has not performed a legal analysis and makes no representation as to the accuracy of the status listed.)
Expired - Fee Related
Application number
CN2010205946040U
Other languages
Chinese (zh)
Inventor
包崇坚
Current Assignee (The listed assignees may be inaccurate. Google has not performed a legal analysis and makes no representation or warranty as to the accuracy of the list.)
Individual
Original Assignee
Individual
Priority date (The priority date is an assumption and is not a legal conclusion. Google has not performed a legal analysis and makes no representation as to the accuracy of the date listed.)
Filing date
Publication date
Application filed by Individual filed Critical Individual
Priority to CN2010205946040U priority Critical patent/CN201889064U/en
Application granted granted Critical
Publication of CN201889064U publication Critical patent/CN201889064U/en
Anticipated expiration legal-status Critical
Expired - Fee Related legal-status Critical Current

Links

Images

Landscapes

  • Motorcycle And Bicycle Frame (AREA)

Abstract

The utility model relates to ridding equipment for entertainment and fitness, and aims at providing a mechanical horse with simple structure and braking functions. The mechanical horse comprises a main frame, a foreleg holder, a rear leg holder, a front wheel and a rear wheel, wherein the front wheel and the rear wheel both are one-way rotary casters; the rear leg holder is hinged with the main frame; the foreleg holder is hinged with the main frame; the mechanical horse also comprises a rear crossbar, a cushion bracket, a slide bar, a driving connecting rod, a draw rod, a connecting rod, a cushion spring, a steering component and a braking component. The mechanical horse has a simple structure and realizes the walking and steering by the weight and the arm trength of a person; the mechanical horse has a braking component so as to conveniently realize the braking of the mechanical horse and avoid potential safety hazard during riding and grurantee the safety of children.

Description

Mechanical horse
Technical field
The utility model relates to the tool field of riding that entertainment body-building is used, especially a kind of mechanical horse with braking function.
Background technology
The utility model of Chinese patent notification number CN2109873U discloses a kind of toy wooden horse, especially can be for the emulation wooden horse car of people's saddle horse; This toy wooden horse comprises horse shape shell, support framework, driving mechanism, forward and backward wheel, it is characterized in that driving mechanism by the control stick that is in head of the horse portion, be in the saddle on the length, flywheel in the length is formed, control stick is hinged by the crank on linkage and flywheel or the flywheel, saddle is hinged by the crank on connecting rod and flywheel or the flywheel, flywheel is connected with the driving shaft of back wheel by driving belt or driving chain, the effect of this toy wooden horse is to take exercise children's health, cultivates their coordination energy; Its weak point is: this toy wooden horse complex structure, and do not have braking function, safety inadequately; Therefore design a kind of simple in structurely, have the mechanical horse of braking function, become problem demanding prompt solution.
The utility model content
The purpose of this utility model is in order to overcome present toy wooden horse complex structure, and does not have braking function, and An Quan deficiency provides a kind of simple in structure inadequately, has the mechanical horse of braking function.
Concrete technical scheme of the present utility model is:
A kind of mechanical horse comprises main frame, preceding leg support, back leg support, front-wheel, trailing wheel; Described front-wheel, trailing wheel are unidirectional castor; Described trailing wheel is connected with the back leg support; Described main frame comprises middle rail; Described middle rail is provided with mesopore; Described back leg support and main frame are hinged; Leg support is longer than the back leg support before described, and described preceding leg support and main frame are hinged; Described mechanical horse also comprises rear transverse rod; Described rear transverse rod is fixedlyed connected with leg support inboard, back; Described mechanical horse also comprises handgrip upper connecting rod, lower link, handgrip; Described lower link is provided with rotating shaft core; Described upper connecting rod and lower link articulate, and described handgrip is fixedlyed connected with the upper connecting rod upper end; Described mechanical horse also comprises front rail, foot-operated connecting rod; Described front rail is fixedlyed connected with lower link; Described foot-operated connecting rod has two; Described foot-operated connecting rod is fixedlyed connected with front rail; Described front rail two ends and main frame are hinged; Described mechanical horse also comprises cushion bracket, sliding bar, drive link, pull bar, connecting rod, seat spring; Described drive link has four, and described drive link one end and cushion bracket are hinged, the described drive link other end respectively with preceding leg support, the back leg support hinged; Described connecting rod has two, and described connecting rod one end and rear transverse rod are hinged, and the other end and preceding leg support upper end are hinged; Described pull bar one end and rear transverse rod are hinged, and the other end and lower link lower end are hinged; Described sliding bar diameter and mesopore are adaptive, and described sliding bar is fixedlyed connected with the cushion bracket lower surface; Described seat spring is between cushion bracket and middle rail, and described seat spring is enclosed within outside the sliding bar; Described mechanical horse also comprises steering assembly, brake assembly; Described steering assembly is connected with upper connecting rod, front-wheel respectively; Described brake assembly is between trailing wheel and handgrip.Described mechanical horse is simple in structure, utilizes the self gravitation of human body and arm strength to realize the walking of mechanical horse and turns to; This mechanical horse has brake assembly, can realize the braking of mechanical horse easily, and the potential safety hazard that has existed when having avoided using has been protected children's safety.This mechanical horse can cooperate cloth or plastic casing or glass fibre reinforced plastics casing to make the animal of various profiles, as horse, and tiger, lions etc. also can be made various cartoon characters, increase liking and amusement entertaining of children; Can connecting pin pedal or stirrup under the foot-operated connecting rod.
As preferably, described steering assembly comprises main tumbler, turns to transverse slat, pays tumbler, steering spindle; Described main tumbler is fixedlyed connected with upper connecting rod; The described transverse slat middle part of turning to is provided with sliding pin, and described main tumbler is provided with the chute adaptive with sliding pin, and described sliding pin is inserted in the chute, described pair of tumbler one end with turn to the transverse slat end hinged; The described pair of tumbler other end fixedlyed connected with steering spindle; Leg support is provided with the foreleg through hole before described, and described steering spindle is passed the foreleg through hole and is connected with front-wheel.Described steering assembly is simple in structure, turns to conveniently.
As preferably, described brake assembly comprises brake(-holder) block, braking depression bar, regulates bolt, fixed block, tripping spring, braking cross bar, braking handle, braking stay cord; Described fixed block is fixedlyed connected with main frame; Described adjusting bolt is threaded with fixed block; Described braking depression bar is fixedlyed connected with the braking crossbar end, and described braking depression bar is shaped as a font after cross bar is connected with braking; Described back leg support is provided with the back leg through hole, and described brake(-holder) block size is greater than the back leg through hole, and described braking depression bar passes the back leg through hole fixedlys connected with brake(-holder) block; Described tripping spring is between fixed block and braking cross bar, and described tripping spring is enclosed within to be regulated outside the bolt; Described braking handle and handgrip articulate; Described adjusting bolt is provided with the stairstepping through hole; Described braking stay cord comprises pipe box, core silk; Described pipe box is enclosed within outside the core silk, and described core silk one end is fixedlyed connected with the braking cross bar, and the other end of described core silk is fixedlyed connected with the braking handle.The braking depression bar of described brake assembly is shaped as a font with the braking cross bar after being connected; Described braking depression bar passes the back leg through hole fixedlys connected with brake(-holder) block; Two brake(-holder) blocks are pushed down two trailing wheels respectively during braking, have strengthened the reliability of braking; Regulate bolt by rotation and can adjust distance between brake(-holder) block and trailing wheel.
As preferably, described back leg support is provided with the trailing wheel assembling fork, and described trailing wheel assembling fork is shaped as a font; Described trailing wheel is provided with two-way hind axle), described two-way hind axle is fixedlyed connected with the dual side-edge of trailing wheel assembling fork; Described steering spindle is provided with the front-wheel assembling fork, and described front-wheel assembling fork is shaped as a font; Described front-wheel is provided with two-way front axle, and described two-way front axle is fixedlyed connected with the dual side-edge of front-wheel assembling fork.Described front-wheel is provided with two-way front axle fixedlys connected with the front-wheel assembling fork of door font, and described trailing wheel is provided with two-way hind axle fixedlys connected with the trailing wheel assembling fork of door font, makes the installation of front-wheel, trailing wheel more firm.
The beneficial effects of the utility model are:
Described mechanical horse is simple in structure, utilizes the self gravitation of human body and arm strength to realize the walking of mechanical horse and turns to; This mechanical horse has brake assembly, can realize the braking of mechanical horse easily, and the potential safety hazard that has existed when having avoided using has been protected children's safety.This mechanical horse can cooperate cloth or plastic casing or glass fibre reinforced plastics casing to make the animal of various profiles, as horse, and tiger, lions etc. also can be made various cartoon characters, increase liking and amusement entertaining of children; Can connecting pin pedal or stirrup under the foot-operated connecting rod.Described steering assembly is simple in structure, turns to conveniently.The braking depression bar of described brake assembly is shaped as a font with the braking cross bar after being connected; Described braking depression bar passes the back leg through hole fixedlys connected with brake(-holder) block; Two brake(-holder) blocks are pushed down two trailing wheels respectively during braking, have strengthened the reliability of braking; Regulate bolt by rotation and can adjust distance between brake(-holder) block and trailing wheel.Described front-wheel is provided with two-way front axle fixedlys connected with the front-wheel assembling fork of door font, and described trailing wheel is provided with two-way hind axle fixedlys connected with the trailing wheel assembling fork of door font, makes the installation of front-wheel, trailing wheel more firm.
Description of drawings
Fig. 1 is a kind of structural representation of the present utility model;
Fig. 2 is the A-A revolved sectional view of Fig. 1;
Fig. 3 is that the B-B revolved sectional view of Fig. 1 is to view.
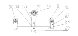
Among the figure: braking handle-1, handgrip-2, braking stay cord-3, upper connecting rod-4, steering assembly-5, steering spindle-6, pull bar-7, preceding leg support-8, front-wheel-9, back leg support-10, brake assembly-11, main frame-12, drive link-13, cushion bracket-14, sliding bar-15, seat spring-16, foot-operated connecting rod-17, connecting rod-18, brake(-holder) block-19, braking depression bar-20, regulate bolt-21, fixed block-22, tripping spring-23, braking cross bar-24, rotating shaft core-25, trailing wheel-26, pay tumbler-27, turn to transverse slat-28, main tumbler-29, front rail-30, middle rail-31, mesopore-32, rear transverse rod-33, sliding pin-34, chute-35, foreleg through hole-36, stairstepping through hole-37, pipe box-38, core silk-39, trailing wheel assembling fork-40, two-way hind axle-41, front-wheel assembling fork-42, two-way front axle-43, lower link-44.
The specific embodiment
Below in conjunction with shown in the accompanying drawing the utility model is described further.
Shown in accompanying drawing 1, accompanying drawing 2, accompanying drawing 3: a kind of mechanical horse comprises main frame 12, preceding leg support 8, back leg support 10, front-wheel 9, trailing wheel 26; Described front-wheel, trailing wheel are unidirectional castor; Described back leg support is provided with trailing wheel assembling fork 40, and described trailing wheel assembling fork is shaped as a font; Described trailing wheel is provided with two-way hind axle 41, and described two-way hind axle is connected with the dual side-edge of trailing wheel assembling fork; Described main frame comprises middle rail 31; Described middle rail is provided with mesopore 32; Described back leg support and main frame are hinged; Leg support is longer than the back leg support before described, and described preceding leg support and main frame are hinged; Described mechanical horse also comprises rear transverse rod 33; Described rear transverse rod is fixedlyed connected with leg support inboard, back; Described mechanical horse also comprises upper connecting rod 4, lower link 44, handgrip 2; Described lower link is provided with rotating shaft core 25; Described upper connecting rod is enclosed within the outer and lower link pivot joint of rotating shaft core, and described handgrip is connected with upper connecting rod upper end screw; Described mechanical horse also comprises front rail 30, foot-operated connecting rod 17; Described front rail and lower link welding; Described foot-operated connecting rod has two; Described foot-operated connecting rod and front rail welding; Described front rail two ends and main frame are hinged; Described mechanical horse also comprises cushion bracket 14, sliding bar 15, drive link 13, pull bar 7, connecting rod 18, seat spring 16; Described drive link has four, and described drive link one end and cushion bracket are hinged, the described drive link other end respectively with preceding leg support, the back leg support hinged; Described connecting rod has two, and described connecting rod one end and rear transverse rod are hinged, and the other end and preceding leg support upper end are hinged; Described pull bar one end and rear transverse rod are hinged, and the other end and lower link lower end are hinged; Described sliding bar diameter and mesopore are adaptive, and described sliding bar is fixedlyed connected with the cushion bracket lower surface; Described seat spring is between cushion bracket and middle rail, and described seat spring is enclosed within outside the sliding bar; Described mechanical horse also comprises steering assembly 5; Described steering assembly comprises main tumbler 29, turns to transverse slat 28, pays tumbler 27, steering spindle 6; Described main tumbler and upper connecting rod connect and fix; The described transverse slat middle part of turning to is provided with sliding pin 34, and described main tumbler is provided with the chute 35 adaptive with sliding pin, and described sliding pin is inserted in the chute, described pair of tumbler one end with turn to the transverse slat end hinged; The described pair of tumbler other end is threaded with steering spindle; Leg support is provided with foreleg through hole 36 before described, and described steering spindle is provided with front-wheel assembling fork 42, and described front-wheel assembling fork is shaped as a font; Described front-wheel is provided with two-way front axle 43, and described steering spindle is passed the foreleg through hole, and described two-way front axle is connected with the dual side-edge of front-wheel assembling fork; Described mechanical horse also comprises brake assembly 11; Described brake assembly comprises brake(-holder) block 19, braking depression bar 20, adjusting bolt 21, fixed block 22, tripping spring 23, braking cross bar 24, braking handle 1, braking stay cord 3; Described fixed block is connected with the main frame screw; Described adjusting bolt is threaded with fixed block; Described braking depression bar and braking crossbar end welding, described braking depression bar are shaped as a font after cross bar is connected with braking; Described back leg support is provided with the back leg through hole, and described brake(-holder) block size is greater than the back leg through hole, and described braking depression bar passes the back leg through hole fixedlys connected with brake(-holder) block; Described tripping spring is between fixed block and braking cross bar, and described tripping spring is enclosed within to be regulated outside the bolt; Described braking handle and handgrip articulate; Described adjusting bolt is provided with stairstepping through hole 37; Described braking stay cord comprises pipe box 38, core silk 39; Described pipe box is enclosed within outside the core silk, and described core silk one end is fixedlyed connected with the braking cross bar, and the other end of described core silk is fixedlyed connected with the braking handle.
This mechanical horse motion principle: when the people sat down, self gravitation acted on the cushion bracket 14, and cushion bracket moves downward together with sliding bar 15, by drive link 13, made with hinged preceding leg support 8 and leg support 10 front and back, back of main frame 12 and opened; Drive lower link 4 by pull bar 7 in the time of the back leg stent open and turn forward, foot-operated connecting rod 17 is upturned, realized taking a step of mechanical horse.Stand on the stirrup or pedal that connects on the foot-operated connecting rod as the people, and grasp handgrip 2 toward pulling back, this moment, pulling force and self gravitation made upper connecting rod drive lower link rotate backward, make foot-operated connecting rod to rotate, by pull bar the back leg support is drawn in, by connecting rod 18 preceding leg support is drawn in, in back leg support, preceding leg support gathering process, make cushion bracket move up to original state by drive link; Whole process is because the special role of unidirectional castor makes mechanical horse realize the function of advancing; Spring 16 can remain on mechanical horse original state and play the power-assisted effect in the process of drawing in; When needs are turned, by handgrip 2 twisting upper connecting rods, make the steering spindle 6 of steering assembly 5 rotate and drive the front-wheel rotation, realize turning function; When the needs braking brake, by rolling brake handle 1, the core silk 39 of tension braking stay cord 3, and drive brake assembly 11 and move downward, make brake(-holder) block compress trailing wheel and produce frictional force, make trailing wheel and mechanical horse skidding; The take-off the brake handle, tripping spring 23 upwards resets brake assembly, breaks away from on-position.
Described mechanical horse is simple in structure, utilizes the self gravitation of human body and arm strength to realize the walking of mechanical horse and turns to; This mechanical horse has brake assembly, can realize the braking of mechanical horse easily, and the potential safety hazard that has existed when having avoided using has been protected children's safety.This mechanical horse can cooperate cloth or plastic casing or glass fibre reinforced plastics casing to make the animal of various profiles, as horse, and tiger, lions etc. also can be made various cartoon characters, increase liking and amusement entertaining of children; Can connecting pin pedal or stirrup under the foot-operated connecting rod.Described steering assembly is simple in structure, turns to conveniently.The braking depression bar of described brake assembly is shaped as a font with the braking cross bar after being connected; Described braking depression bar passes the back leg through hole fixedlys connected with brake(-holder) block; Two brake(-holder) blocks are pushed down two trailing wheels respectively during braking, have strengthened the reliability of braking; Regulate bolt by rotation and can adjust distance between brake(-holder) block and trailing wheel.Described front-wheel is provided with two-way front axle fixedlys connected with the front-wheel assembling fork of door font, and described trailing wheel is provided with two-way hind axle fixedlys connected with the trailing wheel assembling fork of door font, makes the installation of front-wheel, trailing wheel more firm.

Claims (5)

1. a mechanical horse comprises main frame, preceding leg support, back leg support, front-wheel, trailing wheel; Described front-wheel, trailing wheel are unidirectional castor; Described trailing wheel is connected with the back leg support; It is characterized in that: described main frame (12) comprises middle rail (31); Described middle rail is provided with mesopore (32); Described back leg support (10) is hinged with main frame; Leg support (8) is longer than the back leg support before described, and described preceding leg support and main frame are hinged; Described mechanical horse also comprises rear transverse rod (33); Described rear transverse rod is fixedlyed connected with leg support inboard, back; Described mechanical horse also comprises handgrip upper connecting rod (4), lower link (44), handgrip (2); Described lower link is provided with rotating shaft core (25); Described upper connecting rod and lower link articulate, and described handgrip is fixedlyed connected with the upper connecting rod upper end; Described mechanical horse also comprises front rail (30), foot-operated connecting rod (17); Described front rail is fixedlyed connected with lower link; Described foot-operated connecting rod has two; Described foot-operated connecting rod is fixedlyed connected with front rail; Described front rail two ends and main frame are hinged; Described mechanical horse also comprises cushion bracket (14), sliding bar (15), drive link (13), pull bar (7), connecting rod (18), seat spring (16); Described drive link has four, and described drive link one end and cushion bracket are hinged, the described drive link other end respectively with preceding leg support, the back leg support hinged; Described connecting rod has two, and described connecting rod one end and rear transverse rod are hinged, and the other end and preceding leg support upper end are hinged; Described pull bar one end and rear transverse rod are hinged, and the other end and lower link lower end are hinged; Described sliding bar diameter and mesopore are adaptive, and described sliding bar is fixedlyed connected with the cushion bracket lower surface; Described seat spring is between cushion bracket and middle rail, and described seat spring is enclosed within outside the sliding bar; Described mechanical horse also comprises steering assembly (5), brake assembly (11); Described steering assembly is connected with upper connecting rod, front-wheel (9) respectively; Described brake assembly is positioned between trailing wheel (26) and the handgrip.
2. mechanical horse according to claim 1 is characterized in that: described steering assembly comprises main tumbler (29), turns to transverse slat (28), pays tumbler (27), steering spindle (6); Described main tumbler is fixedlyed connected with upper connecting rod; The described transverse slat middle part of turning to is provided with sliding pin (34), and described main tumbler is provided with the chute adaptive with sliding pin (35), and described sliding pin is inserted in the chute, described pair of tumbler one end with turn to the transverse slat end hinged; The described pair of tumbler other end fixedlyed connected with steering spindle; Leg support is provided with foreleg through hole (36) before described, and described steering spindle is passed the foreleg through hole and is connected with front-wheel.
3. mechanical horse according to claim 1 and 2 is characterized in that: described brake assembly comprises brake(-holder) block (19), braking depression bar (20), adjusting bolt (21), fixed block (22), tripping spring (23), braking cross bar (24), braking handle (1), braking stay cord (3); Described fixed block is fixedlyed connected with main frame; Described adjusting bolt is threaded with fixed block; Described braking depression bar is fixedlyed connected with the braking crossbar end, and described braking depression bar is shaped as a font after cross bar is connected with braking; Described back leg support is provided with the back leg through hole, and described brake(-holder) block size is greater than the back leg through hole, and described braking depression bar passes the back leg through hole fixedlys connected with brake(-holder) block; Described tripping spring is between fixed block and braking cross bar, and described tripping spring is enclosed within to be regulated outside the bolt; Described braking handle and handgrip articulate; Described adjusting bolt is provided with stairstepping through hole (37); Described braking stay cord comprises pipe box (38), core silk (39); Described pipe box is enclosed within outside the core silk, and described core silk one end is fixedlyed connected with the braking cross bar, and the other end of described core silk is fixedlyed connected with the braking handle.
4. mechanical horse according to claim 1 and 2 is characterized in that: described back leg support is provided with trailing wheel assembling fork (40), and described trailing wheel assembling fork is shaped as a font; Described trailing wheel is provided with two-way hind axle (41), and described two-way hind axle is fixedlyed connected with the dual side-edge of trailing wheel assembling fork; Described steering spindle is provided with front-wheel assembling fork (42), and described front-wheel assembling fork is shaped as a font; Described front-wheel is provided with two-way front axle (43), and described two-way front axle is fixedlyed connected with the dual side-edge of front-wheel assembling fork.
5. mechanical horse according to claim 3 is characterized in that: described back leg support is provided with the trailing wheel assembling fork, and described trailing wheel assembling fork is shaped as a font; Described trailing wheel is provided with two-way hind axle, and described two-way hind axle is fixedlyed connected with the dual side-edge of trailing wheel assembling fork; Described steering spindle is provided with the front-wheel assembling fork, and described front-wheel assembling fork is shaped as a font; Described front-wheel is provided with two-way front axle, and described two-way front axle is fixedlyed connected with the dual side-edge of front-wheel assembling fork.
CN2010205946040U 2010-11-08 2010-11-08 Mechanical horse Expired - Fee Related CN201889064U (en)

Priority Applications (1)

Application Number Priority Date Filing Date Title
CN2010205946040U CN201889064U (en) 2010-11-08 2010-11-08 Mechanical horse

Applications Claiming Priority (1)

Application Number Priority Date Filing Date Title
CN2010205946040U CN201889064U (en) 2010-11-08 2010-11-08 Mechanical horse

Publications (1)

Publication Number Publication Date
CN201889064U true CN201889064U (en) 2011-07-06

Family

ID=44218539

Family Applications (1)

Application Number Title Priority Date Filing Date
CN2010205946040U Expired - Fee Related CN201889064U (en) 2010-11-08 2010-11-08 Mechanical horse

Country Status (1)

Country Link
CN (1) CN201889064U (en)

Cited By (2)

* Cited by examiner, † Cited by third party
Publication number Priority date Publication date Assignee Title
CN107376216A (en) * 2017-08-15 2017-11-24 东莞市万笠电子科技有限公司 A mechanical riding device
CN109420340A (en) * 2017-09-01 2019-03-05 云风锐集团(中国)有限公司 Mechanical device capable of being ridden

Cited By (2)

* Cited by examiner, † Cited by third party
Publication number Priority date Publication date Assignee Title
CN107376216A (en) * 2017-08-15 2017-11-24 东莞市万笠电子科技有限公司 A mechanical riding device
CN109420340A (en) * 2017-09-01 2019-03-05 云风锐集团(中国)有限公司 Mechanical device capable of being ridden

Similar Documents

Publication Publication Date Title
CN201889064U (en) Mechanical horse
CN202180885U (en) Pedal car for children
CN201384850Y (en) Driving device of multi-functional fitness toy
CN103041598B (en) Toy cockhorse with fitness function
CN202728453U (en) Hand driving buggy
CN201158431Y (en) Structure of children cart
CN201385731Y (en) Front-driving back-steering reclining type three-wheeled bicycle
CN103661754B (en) A kind of two-wheeled hand driven bicycle
CN103910017B (en) Saltatory manpower jumps and steps on tricycle
CN2412625Y (en) Body-building toy horse-riding bicycle
CN201235213Y (en) Self-propelled toy horse
CN204979105U (en) Fitness bicycle
CN201300933Y (en) Multi-functional tricycle
CN201124025Y (en) Body-building animal toy
CN203819448U (en) Leaping type manpower jumping treading tricycle
CN209241244U (en) A simple motion walking mechanism
CN205796372U (en) Ride body-building mechanism
CN212172427U (en) Children's bicycle
CN206427184U (en) A kind of sports type bicycle
CN102627136B (en) Cockhorse capable of being ridden and traveling
CN202670034U (en) Ridable and walking wooden horse
CN200939342Y (en) Animal toy for fitting
CN201951649U (en) Hobbyhorse sliding vehicle
CN202243880U (en) Bicycle with chain hidden in beam
CN201989895U (en) Children's vehicle

Legal Events

Date Code Title Description
C14 Grant of patent or utility model
GR01 Patent grant
C17 Cessation of patent right
CF01 Termination of patent right due to non-payment of annual fee

Granted publication date: 20110706

Termination date: 20111108