CN201884493U - Self-lubricating universal joint fork - Google Patents

Self-lubricating universal joint fork Download PDF

Info

Publication number
CN201884493U
CN201884493U CN2010206031388U CN201020603138U CN201884493U CN 201884493 U CN201884493 U CN 201884493U CN 2010206031388 U CN2010206031388 U CN 2010206031388U CN 201020603138 U CN201020603138 U CN 201020603138U CN 201884493 U CN201884493 U CN 201884493U
Authority
CN
China
Prior art keywords
self
universal joint
lubricating
oil
jaw
Prior art date
Legal status (The legal status is an assumption and is not a legal conclusion. Google has not performed a legal analysis and makes no representation as to the accuracy of the status listed.)
Expired - Fee Related
Application number
CN2010206031388U
Other languages
Chinese (zh)
Inventor
焦军彦
李月
周凯
Current Assignee (The listed assignees may be inaccurate. Google has not performed a legal analysis and makes no representation or warranty as to the accuracy of the list.)
Shandong Huifeng Auto Fittings Co., Ltd.
Original Assignee
Dongying City Xinyi Huifeng Automotive Parts Co Ltd
Priority date (The priority date is an assumption and is not a legal conclusion. Google has not performed a legal analysis and makes no representation as to the accuracy of the date listed.)
Filing date
Publication date
Application filed by Dongying City Xinyi Huifeng Automotive Parts Co Ltd filed Critical Dongying City Xinyi Huifeng Automotive Parts Co Ltd
Priority to CN2010206031388U priority Critical patent/CN201884493U/en
Application granted granted Critical
Publication of CN201884493U publication Critical patent/CN201884493U/en
Anticipated expiration legal-status Critical
Expired - Fee Related legal-status Critical Current

Links

Images

Landscapes

  • Knitting Machines (AREA)

Abstract

A self-lubricating universal joint fork comprises a fork head and a connecting shaft connected therewith, wherein cross mounting holes are arranged at front ends of two sides of the fork head. A lubricating oil passage is arranged in the fork head, an oil storage cavity is arranged in the connecting shaft, an oil nozzle communicated with the oil storage cavity is arranged at the top of the oil storage cavity, and a one-way valve is arranged below the oil nozzle. The bottom of the oil storage cavity is communicated with the lubricating oil passage in the fork head. Oil outlet holes are arranged in the cross mounting holes at the front ends of the two sides of the fork head and at the ends of the lubricating oil passage. Compared with the prior art, the self-lubricating universal joint fork is simpler in structure, more convenient in use and lower in cost, and is capable of being self-lubricated for a longer time, and accordingly time of manually adding lubricating oil is reduced greatly, and the self-lubricating universal joint fork has higher popularization value.

Description

The self-lubricating universal joint fork
Technical field
The utility model relates to a kind of universal-joint fork, is specifically related to a kind of self-lubricating universal joint fork.
Background technique
Present universal joint and cross axle are rotationally connected, and all need regularly artificial filling lubricant oil, and need frequent short-term filling, and be lubricated as forgetting for a long time, then can reduce the life-span of universal joint greatly, also can cause a serious accident when serious.
The model utility content
The purpose of this utility model is exactly the defective that exists at prior art, provides a kind of simple in structure and can prolong the self-lubricating universal joint fork of universal joint filling lubricant oil time greatly.
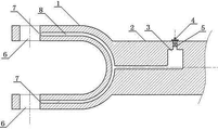
Its technological scheme is: comprise jaw and coupled coupling shaft, the front end on jaw both sides is provided with the cross axle mounting hole.Be provided with grease channel in the described jaw, be provided with shoe cream room in the described coupling shaft, this shoe cream room top is provided with coupled logical oil nozzle, and oil nozzle has one-way valve; The shoe cream room bottom is connected with grease channel in the jaw; Be provided with oil outlet in the cross axle mounting hole of described grease channel end points, jaw both sides front end.
Wherein, the internal diameter of described grease channel is made as 3-6mm.The diameter of described oil outlet is 1-2mm.
The utility model has simple in structure, easy to use, with low cost and can self-lubricated in a long time advantage compared with prior art, has significantly reduced the time of artificial interpolation lubricant oil, has higher promotional value.
Description of drawings
Fig. 1 is a kind of embodiment's of the utility model a structural representation.
Embodiment
With reference to Fig. 1, a kind of self-lubricating universal joint fork comprises jaw 1 and coupled coupling shaft 2, and the front end on jaw 1 both sides is provided with cross axle mounting hole 6.Be provided with grease channel 8 in the described jaw 1, be provided with shoe cream room 3 in the described coupling shaft 2, these shoe cream room 3 tops are provided with coupled logical oil nozzle 4, and oil nozzle 4 has one-way valve 5; Shoe cream room 3 bottoms are connected with grease channel 8 in the jaw 1; Be provided with oil outlet 7 in the cross axle mounting hole 6 of described grease channel 8 end points, jaw 1 both sides front end.Wherein, the internal diameter of described grease channel 8 is made as 3-6mm.The diameter of described oil outlet 7 is 1-2mm.
When using the utility model, lubricant oil is squeezed into shoe cream room 3 by oil nozzle 4 get final product.When being provided with running, the lubricant oil in the shoe cream room 3 promptly can enter in the cross axle mounting hole 6 by grease channel 8 and oil outlet 7, and is lubricated for cross axle thus.The effect of one-way valve 5 is to be provided with in order to prevent lubricant oil from leaking.Owing in the shoe cream room 3 certain lubricant oil reserves are arranged, so self oiling has in a long time significantly reduced the time of artificial interpolation lubricant oil, so the utlity model has higher promotional value.

Claims (3)

1. a self-lubricating universal joint is pitched, comprise jaw and coupled coupling shaft, the front end on jaw both sides is provided with the cross axle mounting hole, it is characterized in that: be provided with grease channel in the described jaw, be provided with shoe cream room in the described coupling shaft, this shoe cream room top is provided with coupled logical oil nozzle, and oil nozzle has one-way valve; The shoe cream room bottom is connected with grease channel in the jaw; Be provided with oil outlet in the cross axle mounting hole of described grease channel end points, jaw both sides front end.
2. self-lubricating universal joint fork according to claim 1, it is characterized in that: the internal diameter of described grease channel is made as 3-6mm.
3. self-lubricating universal joint fork according to claim 1, it is characterized in that: the diameter of described oil outlet is 1-2mm.
CN2010206031388U 2010-11-12 2010-11-12 Self-lubricating universal joint fork Expired - Fee Related CN201884493U (en)

Priority Applications (1)

Application Number Priority Date Filing Date Title
CN2010206031388U CN201884493U (en) 2010-11-12 2010-11-12 Self-lubricating universal joint fork

Applications Claiming Priority (1)

Application Number Priority Date Filing Date Title
CN2010206031388U CN201884493U (en) 2010-11-12 2010-11-12 Self-lubricating universal joint fork

Publications (1)

Publication Number Publication Date
CN201884493U true CN201884493U (en) 2011-06-29

Family

ID=44182035

Family Applications (1)

Application Number Title Priority Date Filing Date
CN2010206031388U Expired - Fee Related CN201884493U (en) 2010-11-12 2010-11-12 Self-lubricating universal joint fork

Country Status (1)

Country Link
CN (1) CN201884493U (en)

Cited By (1)

* Cited by examiner, † Cited by third party
Publication number Priority date Publication date Assignee Title
CN106015374A (en) * 2016-05-30 2016-10-12 方雪锋 Novel universal joint fork for transmission shaft

Cited By (1)

* Cited by examiner, † Cited by third party
Publication number Priority date Publication date Assignee Title
CN106015374A (en) * 2016-05-30 2016-10-12 方雪锋 Novel universal joint fork for transmission shaft

Similar Documents

Publication Publication Date Title
CN204647253U (en) A kind of speed changer forced lubricating system
CN201884493U (en) Self-lubricating universal joint fork
CN203147238U (en) New type automobile hub grease nozzle
CN201013898Y (en) Squeezing type sealed ring
CN201068975Y (en) Reduction box lubricating arrangement
CN202646597U (en) Lubrication type gear
CN203948251U (en) Electric compressor with centralized lubrication system
CN201309103Y (en) Dilute oil lubricant lead screw support bearing sealing structure
CN204755872U (en) Hoist drive arrangement bearing automatic lubrication installation
CN201944523U (en) Shaft sleeve lubricating device for determinant bottle-making machine
CN204717319U (en) Automobile hub bearing butter filler
CN202935902U (en) Self-lubricating device for bucket elevator
CN202545775U (en) Gear transmission structure of automatic oil slinger
CN202468430U (en) Drive fan wheel mechanism
CN202833653U (en) Self-lubricating shaft sleeve
CN202500901U (en) Abrasion-resistant bearing bush
CN204783944U (en) Hydro -cylinder connects
CN201224300Y (en) Animal-drawn vehicle rim
CN202359599U (en) Butter-lubricated improved structure of excavator
CN202065341U (en) Radial ball bearing
CN203202008U (en) Shaft embedded oil nipple elevator wheel
CN203297322U (en) Lubricating type diesel engine connecting rod
CN201621446U (en) Grease gun with lamp
CN204025375U (en) A kind of flange seat assembly
CN201597391U (en) Bicycle axle

Legal Events

Date Code Title Description
C14 Grant of patent or utility model
GR01 Patent grant
C56 Change in the name or address of the patentee

Owner name: SHANDONG HUIFENG AUTO FITTINGS CO., LTD.

Free format text: FORMER NAME: DONGYING XINYI HUIFENG AUTO FITTINGS CO., LTD.

CP01 Change in the name or title of a patent holder

Address after: 257335, Shandong Dongying Guangrao County Town Development Zone

Patentee after: Shandong Huifeng Auto Fittings Co., Ltd.

Address before: 257335, Shandong Dongying Guangrao County Town Development Zone

Patentee before: Dongying City Xinyi Huifeng Automotive Parts Co., Ltd.

CF01 Termination of patent right due to non-payment of annual fee
CF01 Termination of patent right due to non-payment of annual fee

Granted publication date: 20110629

Termination date: 20161112