CN201883701U - 一种外套钢管混凝土加固混凝土柱结构 - Google Patents
一种外套钢管混凝土加固混凝土柱结构 Download PDFInfo
- Publication number
- CN201883701U CN201883701U CN2010205263890U CN201020526389U CN201883701U CN 201883701 U CN201883701 U CN 201883701U CN 2010205263890 U CN2010205263890 U CN 2010205263890U CN 201020526389 U CN201020526389 U CN 201020526389U CN 201883701 U CN201883701 U CN 201883701U
- Authority
- CN
- China
- Prior art keywords
- concrete
- steel pipe
- concrete column
- old
- reinforcing bar
- Prior art date
- Legal status (The legal status is an assumption and is not a legal conclusion. Google has not performed a legal analysis and makes no representation as to the accuracy of the status listed.)
- Expired - Fee Related
Links
- 239000004567 concrete Substances 0.000 title claims abstract description 104
- 229910000831 Steel Inorganic materials 0.000 title claims abstract description 91
- 239000010959 steel Substances 0.000 title claims abstract description 91
- 230000002787 reinforcement Effects 0.000 title abstract description 8
- 230000003014 reinforcing effect Effects 0.000 claims description 33
- 238000005728 strengthening Methods 0.000 claims description 6
- 238000003466 welding Methods 0.000 claims description 6
- 229910000679 solder Inorganic materials 0.000 claims description 3
- 239000011150 reinforced concrete Substances 0.000 abstract description 22
- 230000000694 effects Effects 0.000 abstract description 12
- 238000000034 method Methods 0.000 abstract description 11
- 239000000463 material Substances 0.000 abstract description 4
- 238000010276 construction Methods 0.000 description 9
- 239000003292 glue Substances 0.000 description 6
- 238000005516 engineering process Methods 0.000 description 5
- 230000008602 contraction Effects 0.000 description 4
- 230000006378 damage Effects 0.000 description 4
- 230000003260 anti-sepsis Effects 0.000 description 3
- 239000004568 cement Substances 0.000 description 3
- 239000004744 fabric Substances 0.000 description 3
- 239000004574 high-performance concrete Substances 0.000 description 3
- 239000011372 high-strength concrete Substances 0.000 description 3
- 238000002360 preparation method Methods 0.000 description 3
- 239000011376 self-consolidating concrete Substances 0.000 description 3
- 230000002421 anti-septic effect Effects 0.000 description 2
- 239000003795 chemical substances by application Substances 0.000 description 2
- 239000011248 coating agent Substances 0.000 description 2
- 238000000576 coating method Methods 0.000 description 2
- 238000007596 consolidation process Methods 0.000 description 2
- 238000013461 design Methods 0.000 description 2
- 238000010586 diagram Methods 0.000 description 2
- 239000003822 epoxy resin Substances 0.000 description 2
- 238000005246 galvanizing Methods 0.000 description 2
- 239000004570 mortar (masonry) Substances 0.000 description 2
- 239000003973 paint Substances 0.000 description 2
- 229920000647 polyepoxide Polymers 0.000 description 2
- 238000012545 processing Methods 0.000 description 2
- 239000007921 spray Substances 0.000 description 2
- 229920000297 Rayon Polymers 0.000 description 1
- 239000000853 adhesive Substances 0.000 description 1
- 230000001070 adhesive effect Effects 0.000 description 1
- 238000005452 bending Methods 0.000 description 1
- 230000015572 biosynthetic process Effects 0.000 description 1
- 239000002131 composite material Substances 0.000 description 1
- 238000005260 corrosion Methods 0.000 description 1
- 238000005034 decoration Methods 0.000 description 1
- 230000002950 deficient Effects 0.000 description 1
- 239000000835 fiber Substances 0.000 description 1
- 238000012423 maintenance Methods 0.000 description 1
- 239000008267 milk Substances 0.000 description 1
- 210000004080 milk Anatomy 0.000 description 1
- 235000013336 milk Nutrition 0.000 description 1
- 238000012946 outsourcing Methods 0.000 description 1
- 230000002093 peripheral effect Effects 0.000 description 1
- 239000003755 preservative agent Substances 0.000 description 1
- 230000002335 preservative effect Effects 0.000 description 1
- 238000002910 structure generation Methods 0.000 description 1
- 239000000126 substance Substances 0.000 description 1
- 230000009466 transformation Effects 0.000 description 1
- XLYOFNOQVPJJNP-UHFFFAOYSA-N water Substances O XLYOFNOQVPJJNP-UHFFFAOYSA-N 0.000 description 1
Images
Landscapes
- Revetment (AREA)
Abstract
本实用新型涉及一种外套钢管混凝土加固混凝土柱结构,它包括旧混凝土柱,旧混凝土柱侧面设有孔洞,孔洞内部固设有钢筋,旧混凝土柱外围设有钢管,钢筋外端部焊接在钢管内壁,旧混凝土柱外壁和钢管内壁之间充填有新混凝土。本实用新型采用外套钢管、间隙内填高性能微膨胀混凝土来实现对原结构的加固,工艺简单可行、结构整体性能好、充分发挥不同材料性能、加固效果可靠。
Description
技术领域
本实用新型涉及一种新型加固柱结构,尤其涉及一种利用外套钢管的加固混凝土柱。
背景技术
由于许多既有建筑的使用功能发生改变,实际使用荷载增加,原有的结构已不能满足承载力要求;随着有些地区抗震设防等级的提高,原有建筑物不能满足“强柱弱梁”的抗震设防要求;另外还有一些已建和在建的建筑物由于设计或施工的原因,存在一些缺陷;另外由于各种灾害原因,使混凝土结构出现损伤,承载力下降。这些原因造成钢筋混凝土结构的加固和修复问题变得越来越突出。
目前,为提高混凝土柱的承载力,常采用增大截面、外包刚等常规手段进行加固。但增大截面加固新老混凝土常共同工作性不好,协同变形性能差,对结构塑性改善较小;此外设置模板施工难度较大。干式外包钢则是外包钢与原构件不能整体工作,彼此只能单独受力,外包钢性能利用率低,整体性差;湿式外包钢法则是不能有效地提高柱的抗弯刚度,降低柱子的长细比,特别不适合应用于经撞击破坏、火灾等局部表面破坏较大,迫切需要大幅提高刚度的混凝土柱的加固。
实用新型内容
本实用新型的目的是解决上述问题而提供一种采用外套钢管、间隙内填高性能微膨胀混凝土来实现对原结构的加固,工艺简单可行、结构整体性能好、充分发挥不同材料性能、加固效果可靠。
本实用新型解决上述技术问题所采用的技术方案是:
它包括旧混凝土柱,旧混凝土柱侧面设有孔洞,孔洞内部设置有钢筋,旧混凝土柱外围设有钢管,钢筋外端部焊接在钢管内壁,旧混凝土柱外壁和钢管内壁之间充填有新混凝土。
上述的钢管由两块半圆柱形钢板通过将端头焊接而成,或者两块凹形钢板通过将两端头 焊接而成,焊接面形成纵向焊缝。
上述的钢管由多节钢管焊接而成,相邻节钢管之间焊接形成水平焊缝。
上述相邻节钢管中的纵向焊缝错位布置。
与现有技术相比,本实用新型取得了以下的技术效果:
1、该结构应用范围广,由于混凝土柱的物理老化等造成结构的损伤,或遭受撞击、火灾及地震等灾害使得结构受到破坏,或由于加层改造等其它原因造成混凝土柱承载力与刚度不足等,需要对混凝土柱进行加固的工程都可以采用结构形式;
2、有效的解决了新、旧结构存在整体工作共同受力问题,通过在原结构中的设置钢筋生根技术增强了新老混凝土的粘结力,通过设置钢筋与外套钢管内壁的焊接,间隙浇筑高性能微膨胀混凝土,形成原结构-加固混凝土-外套钢管的新型组合柱,增强了结构的整体性;
3、创造性的将钢管混凝土原理应用于混凝土柱的扩大截面加固中,利用钢管混凝土的原理扩大截面加固混凝土柱,充分发挥了混凝土与钢材的性能,既有效提高了混凝土柱的承载力与刚度,同时也改善了结构的塑性与韧性,由于外套钢管的作用,如后填混凝土采用高强高性能混凝土,其强度也可得到有效发挥,改变了扩大截面后浇混凝土一般强度不高和强度利用率较低的局面;
4、通过外套钢管约束内填膨胀混凝土产生的膨胀力,使核心混凝土处于三轴受压状态,有效提高新老混凝土的抗压强度,一定程度上消除后浇混凝土的收缩对原结构产生的附加荷载效应;
5、此外,外套钢管又可作为后浇混凝土的模板,可节约模板成本,缩短工期,该结构形式不仅加固效果好、加固可靠性高,而且加固时操作简单、施工方便、工程成本较低,具有广泛的应用前景。
附图说明
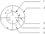
图1为本实用新型的截面示意图;
图2为本实用新型外套钢管焊接缝布置图;
图3为本实用新型加工制作的工艺流程图。
其中:1-混凝土柱外壁、2-钢管、3-钢筋、4-混凝土柱、5-混凝土、6-纵向焊缝、7-水平焊缝。
具体实施方式
下面结合附图进一步说明本实用新型的实施例。
实施例1
参见图1-2,一种外套钢管混凝土加固混凝土柱结构,它包括旧混凝土柱4,旧混凝土柱侧面设有孔洞,孔洞内部设置有钢筋3,旧混凝土柱外围设有钢管2,钢筋外端部焊接在钢管内壁,旧混凝土柱外壁1和钢管内壁之间充填有新混凝土5所述的钢管由两块半圆柱形钢板通过将端头焊接而成,或者两块凹形钢板通过将两端头焊接而成,焊接面形成纵向焊缝6。所述的钢管由多节钢管焊接而成,相邻节钢管之间焊接形成水平焊缝7。所述相邻节钢管中的纵向焊缝错位布置。新混凝土5为高性能混凝土,可以选用自密实混凝土、高强混凝土和纤维混凝土等。
在旧混凝土柱周边设置钢筋,设置的钢筋不宜过密,本实用新型优选设置的钢筋间的夹角为90°,所设置的钢筋选择螺栓式锚筋或自锁锚杆,可增强所钢筋的锚固力,提高新老混凝土的整体性。所设置的钢筋锚固长度一般选用10d~20d(d为所设置的钢筋直径),但不应超过混凝土柱的3/8厚度。
用于容纳钢筋的孔洞直径D不宜过大或过小,因如结构胶层过厚,易造成胶层出现气泡,影响胶接质量;过小则设置的钢筋施工难于进行,易造成钢筋周边部分区域无胶,影响钢筋质量。在d<12mm时,D=d+4mm;12mm<d<20mm时,D=d+6mm;20mm<d时,D=d+8mm。
所设置的钢筋胶选用收缩率低、胶粘强度高、耐化学介质作用、可常温固化的环氧树脂类的建筑结构胶。若采用自锁锚杆,可采用无机灌浆料填充用于容纳钢筋的孔洞。
根据原混凝土柱不同的截面形式选择外套钢管,对于工程中常见的圆形截面与方形截面柱,圆形外套钢管一般由两块半圆形钢板(矩形外套钢管则是有两个 型)通过端头 焊接组合而成,钢管厚度以2~4mm为宜,新老混凝土强度利用率最高。多节组合焊缝应纵向错开布置;每节长度以2~4m为宜,两节接触部位水平方向焊接成体。
外套钢管扩大截面加固混凝土柱承载力的主要影响因素有:外套钢管的厚度、后浇混凝土的厚度、后浇混凝土强度与原结构强度的比值。这三个因素对结构受力的影响不是独立的,比如随着加固混凝土层厚度的增加或加固混凝土强度的提高,外包钢管的约束作用则相对减弱,从而对加固柱承载力的提高又有一定的限制,故设计时应将三个因素进行综合考虑。加固混凝土厚度、强度与外套钢管的厚度可由相关的承载力计算公式计算,最终确定合理的加固混凝土强度、厚度及外套钢管的厚度。
外套钢管与原结构间隙内可进行配筋,增加结构的配筋率,提高承载力。
间隙内浇筑高性能混凝土应为微膨胀混凝土,包括高强混凝土、自密实混凝土或纤维混凝土。其在结硬的过程中产生体积膨胀,膨胀作用不仅可抵消混凝土因收缩产生的拉应力,且可在混凝土中产生一定了膨胀压力,既可消除后浇混凝土因收缩而对原结构产生的附加荷载效应,又可通过外套钢管的紧箍作用,使核心混凝土处于三轴受压状态,提高混凝土的强度。膨胀自应力σc为0.2~0.7MPa时,其限制膨胀率ε的最大值为0.05%,最小值为0.015%。
加固混凝土强度等级可高于原混凝土柱结构,经试验研究发现,提高后浇混凝土强度,加固组合柱承载力增长明显。这与加大混凝土截面加固法中通常不建议采用高强度混凝土加固的作法有明显不同。原因在于,加大混凝土截面加固法中加固混凝土处环向受拉状态,加固混凝土强度得不到充分利用。而在本方法中,外套钢管对加固混凝土起到了很好的约束作用,核心混凝土受到加固混凝土与钢管双重约束的作用。当部分核心混凝土最先达到其极限压应力时,并不会立即退出工作。此时,加固混凝土由于外包钢管的约束也不会发生严重的横向膨胀而丧失承载力,其纵向压应力开始增加,后浇混凝土的抗压强度可得到充分发挥。最后组合柱由于大部分核心混凝土被压碎破坏。
另外,加固混凝土强度等级高于核心混凝土的情况与两者强度等级相同时应力应变发展过程有所不同。新、旧混凝土采用相同强度等级时,在受力全过程中,加固混凝土的纵向压 应力始终滞后于核心混凝土,而加固混凝土强度等级高于核心混凝土时,由于加固混凝土弹性模量较大,应力增长迅速,加固混凝土的纵向压应力逐渐超过核心混凝土的纵向压应力,而其纵向压应变则始终滞后于核心混凝土纵向压应变。
外套钢管应进行表面防腐处理,根据使用环境以及使用要求的不同选择相应的防腐措施。包括:热镀锌防腐法、防锈漆涂层防腐法和利用外套钢丝网喷射砂浆细石混凝土防腐法,其中热镀锌防腐法适用于室外环境较为恶劣的结构,防锈漆涂层防腐法适用于室内结构,而利用外套钢丝网喷射砂浆细石混凝土防腐是一种新型防腐技术,适用于水下工程,比如桥墩等;此外在外套钢管的外面围裹粘结纤维布也能有效地防腐,还可改善结构延性性能。
参见附图3,对本实用新型作进一步的说明,主要施工工序为:
施工准备→原混凝土柱表面处理→设置钢筋→外套钢管→将所设置的钢筋与外套钢管内壁焊接→浇筑加固混凝土→外套钢管外表面防腐及外装修处理。
下面结合示意图及实例详述如下:
(1)施工准备:阅读图纸、施工前备好工程所需的钢材、水泥等各种材料及施工工具的准备。
(2)原混凝土柱表面处理;首先采用结构注缝胶对原混凝土柱4表面微细裂缝和深层裂缝进行灌浆,固化后对原混凝土柱4表面进行凿毛;最后利用清水对表面进行彻底清理干净,
(3)设置钢筋;在混凝土柱周边设置钢筋3,设置的钢筋间的夹角为90°。设置钢筋的工序为:钻孔→孔洞处理→钢筋表面处理→配胶→注胶→插筋→养护。如果后浇混凝土需要配筋,应在设置钢筋后,外套钢管前进行绑扎钢筋。
(4)外套钢管;根据原混凝土柱4不同的截面形式选择外套钢管2,如图3所示,钢管厚度为2~4mm,每节长度L为2~4m,两节接触部位由水平焊缝焊接成体,纵向焊缝6与纵向焊缝错开布置。
(5)将设置的钢筋3与外套钢管2内壁进行焊接;在设置的钢筋3与外套钢管2内壁接触部位进行焊接,形成原结构-设置钢筋-外套钢管的加固混凝土组合柱,增强了结构的整 体性。
(6)在间隙内浇筑混凝土5;为了增强新老混凝土粘结强度,也可在老混凝土表面抹上环氧树脂、水泥浆、膨胀剂水泥浆等作为粘结剂。间隙内后浇筑混凝土5为高强混凝土、自密实混凝土或纤维混凝土等;0.05%≥混凝土限制膨胀率≥0.015%的微膨胀混凝土。
(7)外套钢管2外表面清理并做防腐处理。
本实用新型的保护范围并不限于上述的实施例,显然,本领域的技术人员可以对本实用新型进行各种改动和变形而不脱离本实用新型的范围和精神。倘若这些改动和变形属于本实用新型权利要求及其等同技术的范围内,则本实用新型的意图也包含这些改动和变形在内。
Claims (4)
1.一种外套钢管混凝土加固混凝土柱结构,其特征在于:它包括旧混凝土柱(4),旧混凝土柱侧面设有孔洞,孔洞内部植有钢筋(3),旧混凝土柱外围设有钢管(2),钢筋外端部焊接在钢管内壁,旧混凝土柱外壁(1)和钢管内壁之间充填有新混凝土(5)。
2.根据权利要求1所述的外套钢管混凝土加固混凝土柱结构,其特征在于:所述的钢管由两块半圆柱形钢板通过将端头焊接而成,或者两块凹形钢板通过将两端头焊接而成,焊接面形成纵向焊缝(6)。
3.根据权利要求2所述的外套钢管混凝土加固混凝土柱结构,其特征在于:所述的钢管由多节钢管焊接而成,相邻节钢管之间焊接形成水平焊缝(7)。
4.根据权利要求3所述的外套钢管混凝土加固混凝土柱结构,其特征在于:所述相邻节钢管中的纵向焊缝错位布置。
Priority Applications (1)
| Application Number | Priority Date | Filing Date | Title |
|---|---|---|---|
| CN2010205263890U CN201883701U (zh) | 2010-09-13 | 2010-09-13 | 一种外套钢管混凝土加固混凝土柱结构 |
Applications Claiming Priority (1)
| Application Number | Priority Date | Filing Date | Title |
|---|---|---|---|
| CN2010205263890U CN201883701U (zh) | 2010-09-13 | 2010-09-13 | 一种外套钢管混凝土加固混凝土柱结构 |
Publications (1)
| Publication Number | Publication Date |
|---|---|
| CN201883701U true CN201883701U (zh) | 2011-06-29 |
Family
ID=44181240
Family Applications (1)
| Application Number | Title | Priority Date | Filing Date |
|---|---|---|---|
| CN2010205263890U Expired - Fee Related CN201883701U (zh) | 2010-09-13 | 2010-09-13 | 一种外套钢管混凝土加固混凝土柱结构 |
Country Status (1)
| Country | Link |
|---|---|
| CN (1) | CN201883701U (zh) |
Cited By (8)
| Publication number | Priority date | Publication date | Assignee | Title |
|---|---|---|---|---|
| CN102493601A (zh) * | 2011-11-29 | 2012-06-13 | 河海大学 | 孔洞式钢管混凝土墩柱 |
| CN102720125A (zh) * | 2012-06-26 | 2012-10-10 | 天津城市建设学院 | 钢管上带有孔眼的钢管混凝土桥墩 |
| CN102808384A (zh) * | 2012-08-14 | 2012-12-05 | 清华大学 | 采用装配式外包frp-钢管的混凝土加固结构 |
| CN106088639A (zh) * | 2016-04-27 | 2016-11-09 | 河南理工大学 | 穿孔肋拉杆约束矩形钢管外包自密实混凝土加固rc柱 |
| CN106401067A (zh) * | 2016-06-16 | 2017-02-15 | 苏州杰姆斯特机械有限公司 | 一种建筑施工预埋抗剪切力加固结构 |
| CN108589561A (zh) * | 2018-04-19 | 2018-09-28 | 石家庄铁道大学 | 重载铁路桥墩钢套环加固结构 |
| CN108625299A (zh) * | 2018-04-19 | 2018-10-09 | 石家庄铁道大学 | 硫酸盐腐蚀重载铁路桥墩多层次加固方法 |
| CN110306726A (zh) * | 2018-03-27 | 2019-10-08 | 王哲 | 组合结构及其制作方法 |
-
2010
- 2010-09-13 CN CN2010205263890U patent/CN201883701U/zh not_active Expired - Fee Related
Cited By (11)
| Publication number | Priority date | Publication date | Assignee | Title |
|---|---|---|---|---|
| CN102493601A (zh) * | 2011-11-29 | 2012-06-13 | 河海大学 | 孔洞式钢管混凝土墩柱 |
| CN102720125A (zh) * | 2012-06-26 | 2012-10-10 | 天津城市建设学院 | 钢管上带有孔眼的钢管混凝土桥墩 |
| CN102808384A (zh) * | 2012-08-14 | 2012-12-05 | 清华大学 | 采用装配式外包frp-钢管的混凝土加固结构 |
| CN106088639A (zh) * | 2016-04-27 | 2016-11-09 | 河南理工大学 | 穿孔肋拉杆约束矩形钢管外包自密实混凝土加固rc柱 |
| CN106401067A (zh) * | 2016-06-16 | 2017-02-15 | 苏州杰姆斯特机械有限公司 | 一种建筑施工预埋抗剪切力加固结构 |
| CN110306726A (zh) * | 2018-03-27 | 2019-10-08 | 王哲 | 组合结构及其制作方法 |
| CN110306726B (zh) * | 2018-03-27 | 2022-03-18 | 王哲 | 组合结构及其制作方法 |
| CN108589561A (zh) * | 2018-04-19 | 2018-09-28 | 石家庄铁道大学 | 重载铁路桥墩钢套环加固结构 |
| CN108625299A (zh) * | 2018-04-19 | 2018-10-09 | 石家庄铁道大学 | 硫酸盐腐蚀重载铁路桥墩多层次加固方法 |
| CN108589561B (zh) * | 2018-04-19 | 2019-07-26 | 石家庄铁道大学 | 重载铁路桥墩钢套环加固结构 |
| CN108625299B (zh) * | 2018-04-19 | 2019-08-20 | 石家庄铁道大学 | 硫酸盐腐蚀重载铁路桥墩多层次加固方法 |
Similar Documents
| Publication | Publication Date | Title |
|---|---|---|
| CN201883701U (zh) | 一种外套钢管混凝土加固混凝土柱结构 | |
| CN101581152A (zh) | 外套钢管混凝土扩大截面加固混凝土柱的方法 | |
| CN100577923C (zh) | 一种预应力混凝土钢管叠合桩及其制作和施工方法 | |
| CN109629403B (zh) | 一种混凝土支撑柱结构及其制作方法 | |
| CN205171832U (zh) | 一种带加劲肋钢管混凝土柱 | |
| CN111828053A (zh) | 钢管混凝土与喷射混凝土劲性组合结构隧道支护体系及施工方法 | |
| CN103924680A (zh) | 无粘结预应力与普通钢筋连接预制混凝土梁方矩形钢管混凝土柱组合节点 | |
| CN101550728B (zh) | 钢管混凝土柱与现浇钢筋混凝土梁节点及其施工方法 | |
| CN203383522U (zh) | 一种加固型梁柱节点 | |
| CN204959745U (zh) | 一种混凝土杆身复合锚杆 | |
| CN101463653A (zh) | 一种加固混凝土杆件的方法 | |
| CN201406767Y (zh) | 用于圆钢管混凝土柱与钢筋混凝土楼盖连接的节点 | |
| CN103924676B (zh) | 预应力连接混凝土梁圆钢管混凝土柱节点 | |
| CN104631850B (zh) | 预压应力钢护筒并植筋扩大断面的混凝土柱加固方法 | |
| CN102561552A (zh) | 钢管混凝土间带水平缝竖向软钢耗能带剪力墙及制作方法 | |
| CN103924679B (zh) | 预应力与普通钢筋连接混凝土梁圆钢管混凝土柱组合节点 | |
| CN111502328A (zh) | 一种基于ebtp锚杆的包砖城墙遗址锚固结构 | |
| CN202047523U (zh) | 外方内圆钢管砼柱 | |
| CN103924728B (zh) | 端部无粘结不等强度钢筋混凝土梁 | |
| CN103938732A (zh) | 预应力与普通钢筋连接预制混凝土梁方矩形钢管混凝土柱组合节点 | |
| CN103938731B (zh) | 预应力与普通钢筋连接预制混凝土梁圆钢管混凝土柱组合节点 | |
| CN103924681B (zh) | 预应力连接预制混凝土梁方矩形钢管混凝土柱节点 | |
| CN209619840U (zh) | 一种混凝土支撑柱结构 | |
| CN200999389Y (zh) | 钢管混凝土柱与钢筋混凝土梁的节点 | |
| CN103924685B (zh) | 预应力连接混凝土梁圆钢管混凝土柱节点 |
Legal Events
| Date | Code | Title | Description |
|---|---|---|---|
| C14 | Grant of patent or utility model | ||
| GR01 | Patent grant | ||
| CF01 | Termination of patent right due to non-payment of annual fee |
Granted publication date: 20110629 Termination date: 20140913 |
|
| EXPY | Termination of patent right or utility model |
