CN201878366U - Integrated intelligent energy-saving lighting system - Google Patents

Integrated intelligent energy-saving lighting system Download PDF

Info

Publication number
CN201878366U
CN201878366U CN2009202022688U CN200920202268U CN201878366U CN 201878366 U CN201878366 U CN 201878366U CN 2009202022688 U CN2009202022688 U CN 2009202022688U CN 200920202268 U CN200920202268 U CN 200920202268U CN 201878366 U CN201878366 U CN 201878366U
Authority
CN
China
Prior art keywords
lighting
module
power
control module
intelligent energy
Prior art date
Legal status (The legal status is an assumption and is not a legal conclusion. Google has not performed a legal analysis and makes no representation as to the accuracy of the status listed.)
Expired - Fee Related
Application number
CN2009202022688U
Other languages
Chinese (zh)
Inventor
胡盛河
Current Assignee (The listed assignees may be inaccurate. Google has not performed a legal analysis and makes no representation or warranty as to the accuracy of the list.)
NINGBO DUCHENG LIGHTING TECHNOLOGY Co Ltd
Original Assignee
NINGBO DUCHENG LIGHTING TECHNOLOGY Co Ltd
Priority date (The priority date is an assumption and is not a legal conclusion. Google has not performed a legal analysis and makes no representation as to the accuracy of the date listed.)
Filing date
Publication date
Application filed by NINGBO DUCHENG LIGHTING TECHNOLOGY Co Ltd filed Critical NINGBO DUCHENG LIGHTING TECHNOLOGY Co Ltd
Priority to CN2009202022688U priority Critical patent/CN201878366U/en
Application granted granted Critical
Publication of CN201878366U publication Critical patent/CN201878366U/en
Anticipated expiration legal-status Critical
Expired - Fee Related legal-status Critical Current

Links

Images

Classifications

    • YGENERAL TAGGING OF NEW TECHNOLOGICAL DEVELOPMENTS; GENERAL TAGGING OF CROSS-SECTIONAL TECHNOLOGIES SPANNING OVER SEVERAL SECTIONS OF THE IPC; TECHNICAL SUBJECTS COVERED BY FORMER USPC CROSS-REFERENCE ART COLLECTIONS [XRACs] AND DIGESTS
    • Y02TECHNOLOGIES OR APPLICATIONS FOR MITIGATION OR ADAPTATION AGAINST CLIMATE CHANGE
    • Y02BCLIMATE CHANGE MITIGATION TECHNOLOGIES RELATED TO BUILDINGS, e.g. HOUSING, HOUSE APPLIANCES OR RELATED END-USER APPLICATIONS
    • Y02B20/00Energy efficient lighting technologies, e.g. halogen lamps or gas discharge lamps
    • Y02B20/40Control techniques providing energy savings, e.g. smart controller or presence detection

Landscapes

  • Circuit Arrangement For Electric Light Sources In General (AREA)

Abstract

本实用新型的目的是提供一体化智能节能照明系统,即能节约能源,同时能保证有人经过时的照明质量。同时亦可将景观照明与变通照明合二为一。为达到所述效果,本实用新型一体化智能节能照明系统,包括连接有电源模块的照明模块,所述照明模块连接有光控开关,所述系统中还安有照明控制模块,所述照明控制模块内设有环境感应模块,照明控制模块连接并控制电源模块。由于采用了所述技术方案,当天色渐暗时,光控开关在预设的亮度条件下导通。此时照明系统提供亮度较低的照明服务。当环境感应模块检测到有人经过时,通过照明控制模块发送信号给电源模块,此时照明系统工作功率由待机的低功率瞬间达到最大功率并维持在此大功率水平,直至人体离开感应区后在预设定的时间内重新回到待机的低功率低亮度状态,达到了智能节能的目的。

Figure 200920202268

The purpose of the utility model is to provide an integrated intelligent energy-saving lighting system, which can save energy and at the same time ensure the lighting quality when people pass by. At the same time, landscape lighting and flexible lighting can also be combined into one. In order to achieve the above effect, the integrated intelligent energy-saving lighting system of the utility model includes a lighting module connected with a power supply module, the lighting module is connected with a light control switch, and a lighting control module is installed in the system, and the lighting control module The module is provided with an environment sensing module, and the lighting control module is connected to and controls the power supply module. Due to the adoption of the technical solution, when the sky is getting darker, the light control switch is turned on under the preset brightness condition. At this time, the lighting system provides lighting services with lower brightness. When the environment sensing module detects someone passing by, it sends a signal to the power module through the lighting control module. At this time, the working power of the lighting system reaches the maximum power instantly from the low power of standby and maintains this high power level until the human body leaves the sensing area. Return to the low-power and low-brightness state of standby within a preset time, achieving the purpose of intelligent energy saving.

Figure 200920202268

Description

The integral intelligent energy efficient lighting system
Technical field
The utility model relates to a kind of illuminator, relates in particular to the integral intelligent energy efficient lighting system.
Background technology
The illuminator of public welfare is extremely important in daily life.Big street lamp in urban construction, little corridor lamp in plot planning can both apply to.Illuminator the earliest has only simple switch, is exactly to close by day the time, and close evening when time is up.Such system configuration is simple, but a lot of inconvenience is still arranged in actual application.Since seasonal variations, climatic effect, the time at each daytime and night is different in size, and when light was still sufficient when summer like this, illuminator was opened, and causes energy waste; And in winter, illuminator can't be worked when the colour of sky was very dark.To this, the technical staff has also designed the corresponding photosensitive illuminator, can judge the switch of illuminator according to the brightness of extraneous light.And, the people is arranged through out-of-date ability work at local sound control illuminating systems that adopts such as corridors.But still there is weak point in these systems.As the sensitive illuminance system, at dark, even unmanned process or light yellow have also caused energy waste naturally.And voice activated control can not play the effect of prompting, view a long way off the time as the people, and owing to extraneous very big noise is arranged, can all light when sounding as automobile alarm, causes waste.In case and voice activated control breaks down, be difficult to find, make life more inconvenient on the contrary.
The utility model content
The purpose of this utility model provides the integral intelligent energy efficient lighting system, can energy savings, can guarantee that the people is through out-of-date lighting quality simultaneously.Also Landscape Lighting and flexible illumination can be united two into one simultaneously.
For reaching described effect, the utility model integral intelligent energy efficient lighting system, comprise the lighting module that is connected with power module, described lighting module is connected with light-operated switch, also be equipped with lighting control module in the described system, be provided with the environment induction module in the described lighting control module, lighting control module connects and the control power module.
Preferably, also be provided with power output controller in the lighting control module.When power output controller is used to control nobody and the illumination intensity of man-hour arranged.
Preferably, also be provided with delay control switch in the lighting control module.By delay control switch, can guarantee in time to reduce in a period of time after the pedestrian passes by the brightness of illuminator, energy savings.
Preferably, the environment induction module is released the infrared induction module for connecting the hot heat of releasing the infrared induction probe.Heat is released infrared induction probe can in time perceive people's process, and information is passed to heat releases the infrared induction module.Safe and reliable, can not cause opening unusually owing to the unexpected noise in the external world.
Preferably, also be provided with photosensitive adjuster in lighting control module, described light-operated switch is connected on the interior photosensitive adjuster of lighting control module.Photosensitive adjuster is used for the reduced value of default light-operated switch, light-operated switch can be set carry out work under how much brightness.Also unify under the control simultaneously, and more coordinate between the miscellaneous part at lighting control module.
Owing to adopted described technical scheme, by day, the utility model integral intelligent energy efficient lighting system is closed fully.When It is getting dark, light-operated switch conducting under default brightness conditions.This moment, whole integral intelligent energy efficient lighting system was in holding state, and the electric power source pair of module lighting module carries out the low-power power supply.This moment, illuminator provided brightness lower illumination service, and the environment induction module is in state of activation simultaneously.When the environment induction module has detected the people through the integral intelligent energy efficient lighting system, send a signal to power module by lighting control module, the illuminator operating power was reached maximum power and was maintained this high-power level by low-power moment of standby this moment, and this moment, the brightness of illuminator was the highest.After leaving induction zone, human body comes back to the low-power low-light level state of standby.Reached the purpose of intelligent power saving like this.
Description of drawings
The utility model is described in further detail below in conjunction with accompanying drawing:
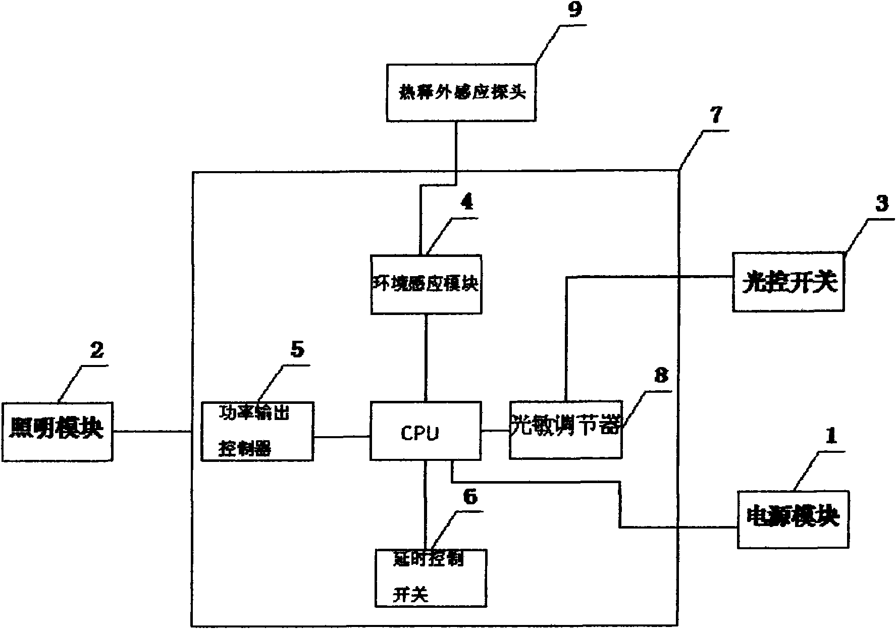
Fig. 1 is the schematic diagram of the utility model integral intelligent energy efficient lighting system.
Fig. 2 is the circuit diagram of the lighting control module of the utility model integral intelligent energy efficient lighting system.
Fig. 3 is the circuit diagram of the environment induction module of the utility model integral intelligent energy efficient lighting system.
Fig. 4 is the circuit diagram of the light-operated switch of the utility model integral intelligent energy efficient lighting system.
Fig. 5 is the power module circuitry road of the utility model integral intelligent energy efficient lighting system.
Embodiment
As shown in Figure 1, the utility model integral intelligent energy efficient lighting system, comprise the lighting module 2 that is connected with power module 1, described lighting module 2 is connected with light-operated switch 3, also be equipped with lighting control module 7 in the described system, be provided with environment induction module 4 in the described lighting control module 7, lighting control module 7 connects and control power module 1.Also be provided with power output controller 5 in the lighting control module 7.Also be provided with delay control switch 6 in the lighting control module 7.Environment induction module 4 is released the infrared induction module for connecting the hot heat of releasing infrared induction probe 9.Also be provided with photosensitive adjuster 8 in lighting control module 7, described light-operated switch 3 is connected on the photosensitive adjuster 8 in the lighting control module 7.
After the utility model integral intelligent energy efficient lighting system installs, lighting control module 7 need be set earlier.Be provided with CPU in the lighting control module 7, CPU is used for handling signal and the data that whole system is worked and produced.At first need to adjust photosensitive adjuster 8, the trigger value of light-operated switch 3 is set, to guarantee the illuminator state that can under suitable brightness, enter automatically or deactivate.When extraneous brightness reached in the light-operated switch 3 expection brightness, light-operated switch 3 was opened, and whole system enters the stand-by operation state.1 pair of lighting module of power module this moment 2 carries out the low-power power supply, and lighting module 2 provides darker illumination.Owing to will consider illuminating effect and energy utilization rate, standby power is set to 18% of maximum power usually.Environment induction module 4 is in state of activation at this moment.When heat was released infrared induction probe 9 and detected the people through the integral intelligent energy efficient lighting system, the heat that sends a signal in the lighting control module 7 was released the infrared induction module.Information via CPU handles the output of back control power module 1, and the illuminator operating power was reached maximum power and maintained this high-power level by low-power moment of standby, and the brightness that this moment, lighting module 2 was sent is the highest.And after human body left heat and releases infrared induction probe 9 induction zones that acted on, CPU control power module 1 reduced power output, and in Preset Time, lighting module 2 comes back to the low-power low-light level state of standby.
After daybreak, light-operated switch 3 cuts out automatically, and whole integral intelligent energy efficient lighting system is closed, even have people's process this moment, lighting module 2 can not light yet again.
Such structure can guarantee unmanned through an out-of-date MIN Landscape Lighting.And have the people by the time pathway lighting that illuminating effect is good is provided, be one with Landscape Lighting with flexible illumination complete two.Such structure can be widely used in the passageway, garden, and the meadow is in the illuminator of road, to reach the intelligent power saving effect of hommization.

Claims (5)

1. integral intelligent energy efficient lighting system, comprise the lighting module (2) that is connected with power module (1), described lighting module (2) is connected with light-operated switch (3), it is characterized in that, also be equipped with lighting control module (7) in the described system, be provided with environment induction module (4) in the described lighting control module (7), lighting control module (7) connects and control power module (1).
2. integral intelligent energy efficient lighting system as claimed in claim 1 is characterized in that: also be provided with power output controller (5) in the lighting control module (7).
3. integral intelligent energy efficient lighting system as claimed in claim 2 is characterized in that: also be provided with delay control switch (6) in the lighting control module (7).
4. as the described integral intelligent energy efficient lighting system of claim 1-3, it is characterized in that: environment induction module (4) is for connecting the infrared induction module of infrared induction probe (9).
5. as the wherein any described integral intelligent energy efficient lighting system of claim 1-3, it is characterized in that: also be provided with photosensitive adjuster (8) in lighting control module (7), described light-operated switch (3) is connected on the interior photosensitive adjuster (8) of lighting control module (7).
CN2009202022688U 2009-12-14 2009-12-14 Integrated intelligent energy-saving lighting system Expired - Fee Related CN201878366U (en)

Priority Applications (1)

Application Number Priority Date Filing Date Title
CN2009202022688U CN201878366U (en) 2009-12-14 2009-12-14 Integrated intelligent energy-saving lighting system

Applications Claiming Priority (1)

Application Number Priority Date Filing Date Title
CN2009202022688U CN201878366U (en) 2009-12-14 2009-12-14 Integrated intelligent energy-saving lighting system

Publications (1)

Publication Number Publication Date
CN201878366U true CN201878366U (en) 2011-06-22

Family

ID=44166273

Family Applications (1)

Application Number Title Priority Date Filing Date
CN2009202022688U Expired - Fee Related CN201878366U (en) 2009-12-14 2009-12-14 Integrated intelligent energy-saving lighting system

Country Status (1)

Country Link
CN (1) CN201878366U (en)

Cited By (8)

* Cited by examiner, † Cited by third party
Publication number Priority date Publication date Assignee Title
CN102497709A (en) * 2011-12-27 2012-06-13 唐世福 Novel street lamp electricity-saving intelligent control system
CN103354683A (en) * 2013-07-18 2013-10-16 宁波市乐星感应电器有限公司 Sensor lamp control method
CN104144546A (en) * 2014-08-21 2014-11-12 成都航天万欣科技有限公司 Factory light-control energy-saving lighting system
CN104507234A (en) * 2014-12-23 2015-04-08 上海市城市建设设计研究总院 Lighting control system and lighting control method for tramcar station
CN105530723A (en) * 2016-01-06 2016-04-27 刘胜泉 A lamp control device and its operation method for regularly turning on the intelligent energy-saving mode
CN105578662A (en) * 2016-03-01 2016-05-11 黄月华 Pedestrian induction time-delay dimming LED street lamp in landscape area
CN105744703A (en) * 2016-03-25 2016-07-06 广东钇圆光电科技有限公司 Energy-saving lighting control method
CN112803932A (en) * 2019-11-13 2021-05-14 深圳市峰峦图像科技有限公司 Wireless light-operated switch

Cited By (10)

* Cited by examiner, † Cited by third party
Publication number Priority date Publication date Assignee Title
CN102497709A (en) * 2011-12-27 2012-06-13 唐世福 Novel street lamp electricity-saving intelligent control system
CN103354683A (en) * 2013-07-18 2013-10-16 宁波市乐星感应电器有限公司 Sensor lamp control method
CN103354683B (en) * 2013-07-18 2016-05-04 宁波市乐星感应电器有限公司 The control method of sense light
CN104144546A (en) * 2014-08-21 2014-11-12 成都航天万欣科技有限公司 Factory light-control energy-saving lighting system
CN104144546B (en) * 2014-08-21 2016-06-08 成都航天万欣科技有限公司 Factory's light-operated energy-saving illuminating system
CN104507234A (en) * 2014-12-23 2015-04-08 上海市城市建设设计研究总院 Lighting control system and lighting control method for tramcar station
CN105530723A (en) * 2016-01-06 2016-04-27 刘胜泉 A lamp control device and its operation method for regularly turning on the intelligent energy-saving mode
CN105578662A (en) * 2016-03-01 2016-05-11 黄月华 Pedestrian induction time-delay dimming LED street lamp in landscape area
CN105744703A (en) * 2016-03-25 2016-07-06 广东钇圆光电科技有限公司 Energy-saving lighting control method
CN112803932A (en) * 2019-11-13 2021-05-14 深圳市峰峦图像科技有限公司 Wireless light-operated switch

Similar Documents

Publication Publication Date Title
CN201878366U (en) Integrated intelligent energy-saving lighting system
CN201382354Y (en) Human body photoelectric sensor LED lighting system
CN202799301U (en) Intelligent type energy-saving illuminating system
CN201937928U (en) Wind-solar hybrid street lamp control device
CN105792414A (en) A light automatic control method for a light-controlled bulb lamp
CN106658908A (en) Intelligent illumination monitoring system
CN204145799U (en) A kind of LED tunnel lamp intelligent illuminating system
CN205755003U (en) An intelligent street lamp controller
CN210274598U (en) Intelligent building LED lighting system with face recognition function
CN105307342A (en) Domestic lamp control method
CN106028599A (en) Smart Energy Saving Street Lamp
CN201992514U (en) Automation inductive light emitting diode (LED) lamp of underground garage
CN205105418U (en) Automatic change lighting system
CN204335087U (en) A kind of home intelligent illuminator
CN208079478U (en) Intelligent energy-saving illuminating system based on zigbee network
CN201718087U (en) Induction lighting lamp and induction lighting system
CN205378305U (en) Street lamp control system based on internet of things
CN204859668U (en) An office lighting control system
CN104661382A (en) Novel intelligent LED (Light-emitting Diode) illumination control system applied to office building
CN104515100A (en) Corridor lamp with body sensing and light sensing functions
CN102281687A (en) Energy-saving automatic lighting switch system
CN105307347A (en) GPS-based lamp control system
CN105050294A (en) Intelligent light emitting diode (LED) lighting system
CN205142582U (en) Intelligent led lighting system
CN111182697A (en) Corridor automatic lighting controller

Legal Events

Date Code Title Description
C14 Grant of patent or utility model
GR01 Patent grant
C17 Cessation of patent right
CF01 Termination of patent right due to non-payment of annual fee

Granted publication date: 20110622

Termination date: 20111214