CN201871022U - Scale infusion support - Google Patents
Scale infusion support Download PDFInfo
- Publication number
- CN201871022U CN201871022U CN2010205781438U CN201020578143U CN201871022U CN 201871022 U CN201871022 U CN 201871022U CN 2010205781438 U CN2010205781438 U CN 2010205781438U CN 201020578143 U CN201020578143 U CN 201020578143U CN 201871022 U CN201871022 U CN 201871022U
- Authority
- CN
- China
- Prior art keywords
- vertical rod
- scale
- yardstick
- utility
- support
- Prior art date
- Legal status (The legal status is an assumption and is not a legal conclusion. Google has not performed a legal analysis and makes no representation as to the accuracy of the status listed.)
- Expired - Fee Related
Links
- 238000001802 infusion Methods 0.000 title claims abstract 3
- 230000000474 nursing effect Effects 0.000 abstract description 4
- 238000004519 manufacturing process Methods 0.000 abstract 1
- XLYOFNOQVPJJNP-UHFFFAOYSA-N water Substances O XLYOFNOQVPJJNP-UHFFFAOYSA-N 0.000 description 3
- 239000007788 liquid Substances 0.000 description 2
- 239000000725 suspension Substances 0.000 description 2
Images
Landscapes
- Medical Preparation Storing Or Oral Administration Devices (AREA)
Abstract
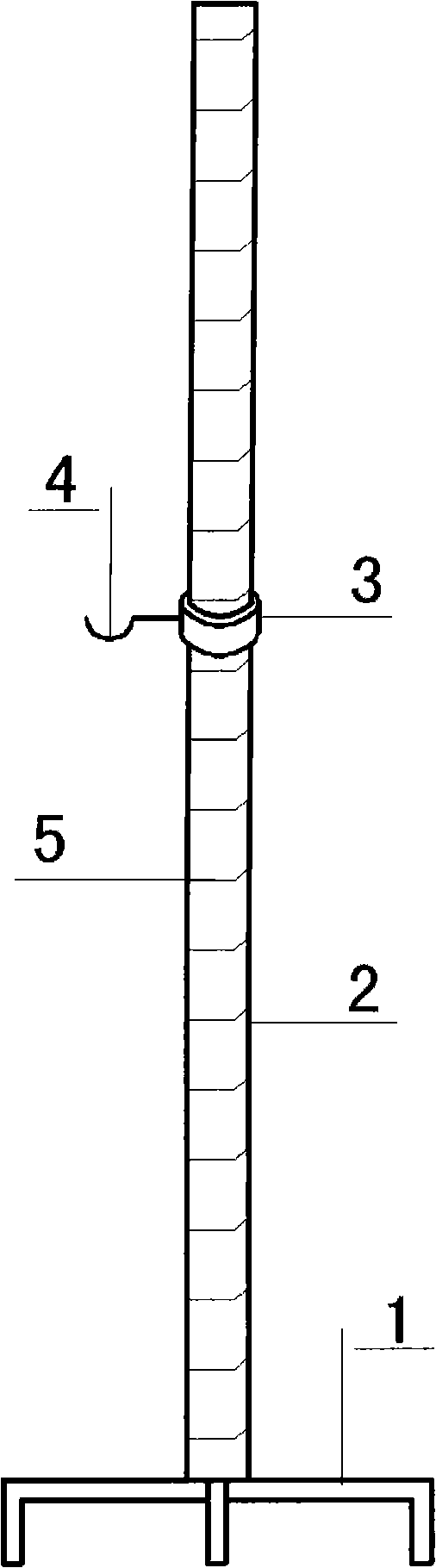
尺度输液架,包括支座,支座上设有立杆,其特征在于:所述立杆上刻有尺度,所述立杆上设有可滑动固定套,固定套一侧设有固定螺栓,一侧设有吊钩。本实用新型结构简单,制造实用方便,可以调整需要的任意告诉,极大的方便了护理人员的工作。
The scale infusion stand includes a support, and a vertical rod is arranged on the support, and the feature is that: the vertical rod is engraved with a scale, and the vertical rod is provided with a slidable fixing sleeve, and a fixing bolt is provided on one side of the fixing sleeve. There is a hook on one side. The utility model has the advantages of simple structure, practical and convenient manufacture, and can adjust any notification required, which greatly facilitates the work of nursing staff.
Description
Claims (1)
Priority Applications (1)
| Application Number | Priority Date | Filing Date | Title |
|---|---|---|---|
| CN2010205781438U CN201871022U (en) | 2010-10-26 | 2010-10-26 | Scale infusion support |
Applications Claiming Priority (1)
| Application Number | Priority Date | Filing Date | Title |
|---|---|---|---|
| CN2010205781438U CN201871022U (en) | 2010-10-26 | 2010-10-26 | Scale infusion support |
Publications (1)
| Publication Number | Publication Date |
|---|---|
| CN201871022U true CN201871022U (en) | 2011-06-22 |
Family
ID=44158957
Family Applications (1)
| Application Number | Title | Priority Date | Filing Date |
|---|---|---|---|
| CN2010205781438U Expired - Fee Related CN201871022U (en) | 2010-10-26 | 2010-10-26 | Scale infusion support |
Country Status (1)
| Country | Link |
|---|---|
| CN (1) | CN201871022U (en) |
-
2010
- 2010-10-26 CN CN2010205781438U patent/CN201871022U/en not_active Expired - Fee Related
Similar Documents
| Publication | Publication Date | Title |
|---|---|---|
| CN201996903U (en) | Mobile infusion rack capable of entering toilet | |
| CN201871022U (en) | Scale infusion support | |
| CN202951493U (en) | Novel test tube stand capable of being placed and being hung for clinical laboratory | |
| CN201333217Y (en) | Multi-purpose infusion support | |
| CN201578663U (en) | Multifunctional infusion support | |
| CN203029714U (en) | Infusion frame | |
| CN203029710U (en) | Novel transfusion support | |
| CN202459553U (en) | Electronic infusion support having automatically retracting spring | |
| CN202590021U (en) | Drainage bag hanger | |
| CN202459575U (en) | Multi-functional infusion support | |
| CN201135653Y (en) | Infusion stand | |
| CN204709514U (en) | A kind of Novel transfusion carrier | |
| CN201996916U (en) | Multifunctional perfusion support | |
| CN202724346U (en) | Portable transfusion hanging rack | |
| CN201949880U (en) | Conveniently-placed glass rod | |
| CN201135652Y (en) | Improved stand for transfusion | |
| CN201625259U (en) | Convenient infusion support | |
| CN202605413U (en) | Infusion preparation operating device | |
| CN202336102U (en) | Multifunctional nursing infusion support | |
| CN203252989U (en) | Infusion frame convenient and rapid to use | |
| CN202587912U (en) | Multipurpose flower arrangement seat | |
| CN202387053U (en) | Infusion support | |
| CN201208427Y (en) | Novel portable transfusion stand | |
| CN203154439U (en) | Handy infusion stand | |
| CN204723507U (en) | A kind of scalable warning infusion stand |
Legal Events
| Date | Code | Title | Description |
|---|---|---|---|
| C14 | Grant of patent or utility model | ||
| GR01 | Patent grant | ||
| C17 | Cessation of patent right | ||
| CF01 | Termination of patent right due to non-payment of annual fee |
Granted publication date: 20110622 Termination date: 20111026 |
