CN201866683U - Double-energy street lamp device - Google Patents
Double-energy street lamp device Download PDFInfo
- Publication number
- CN201866683U CN201866683U CN2010205811344U CN201020581134U CN201866683U CN 201866683 U CN201866683 U CN 201866683U CN 2010205811344 U CN2010205811344 U CN 2010205811344U CN 201020581134 U CN201020581134 U CN 201020581134U CN 201866683 U CN201866683 U CN 201866683U
- Authority
- CN
- China
- Prior art keywords
- energy
- wind
- solar
- street lamp
- utility
- Prior art date
- Legal status (The legal status is an assumption and is not a legal conclusion. Google has not performed a legal analysis and makes no representation as to the accuracy of the status listed.)
- Expired - Fee Related
Links
- 230000000694 effects Effects 0.000 abstract description 5
- 230000009286 beneficial effect Effects 0.000 abstract description 2
- 230000005611 electricity Effects 0.000 abstract description 2
- 238000010248 power generation Methods 0.000 abstract description 2
- 230000009977 dual effect Effects 0.000 description 3
- 238000005286 illumination Methods 0.000 description 2
- 230000007812 deficiency Effects 0.000 description 1
- 238000005516 engineering process Methods 0.000 description 1
Classifications
-
- Y—GENERAL TAGGING OF NEW TECHNOLOGICAL DEVELOPMENTS; GENERAL TAGGING OF CROSS-SECTIONAL TECHNOLOGIES SPANNING OVER SEVERAL SECTIONS OF THE IPC; TECHNICAL SUBJECTS COVERED BY FORMER USPC CROSS-REFERENCE ART COLLECTIONS [XRACs] AND DIGESTS
- Y02—TECHNOLOGIES OR APPLICATIONS FOR MITIGATION OR ADAPTATION AGAINST CLIMATE CHANGE
- Y02B—CLIMATE CHANGE MITIGATION TECHNOLOGIES RELATED TO BUILDINGS, e.g. HOUSING, HOUSE APPLIANCES OR RELATED END-USER APPLICATIONS
- Y02B20/00—Energy efficient lighting technologies, e.g. halogen lamps or gas discharge lamps
- Y02B20/72—Energy efficient lighting technologies, e.g. halogen lamps or gas discharge lamps in street lighting
Landscapes
- Wind Motors (AREA)
- Non-Portable Lighting Devices Or Systems Thereof (AREA)
Abstract
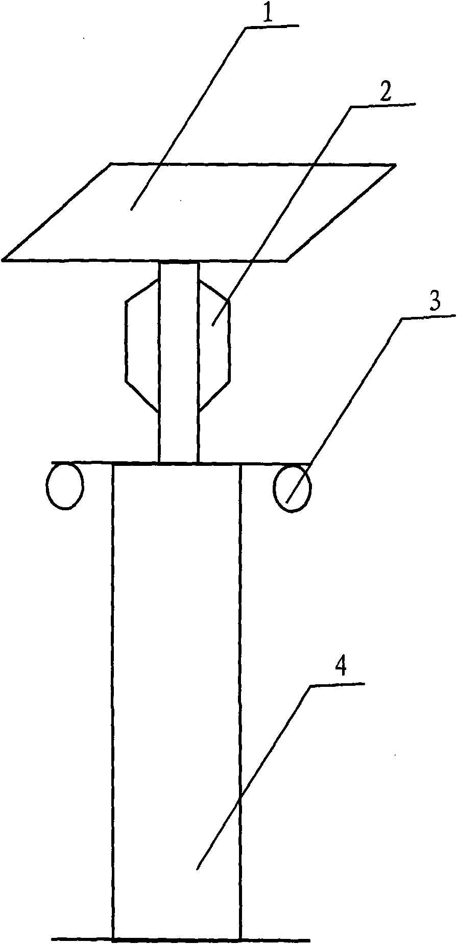
本实用新型涉及一种灯类技术领域。目前,公知的路灯,均不具备太阳能和风能自发电的功能,在使用时,均使用电能来供给,不太理想。为了克服上述不足,本实用新型提供一种双能路灯装置,就能在使用时达到节约用电的目的。本实用新型解决其技术问题的技术方案是:由太阳能电池板、风力发电机风叶、路灯和灯杆组成的双能路灯装置,其特征是:在灯杆顶上设置一太阳能电池板,在太阳能板下设置一风力发电机风叶,路灯通过电线直接与风力发电机和太阳能电池板相连接。利用太阳能和风能就可以达到照明的效果。本实用新型的有益效果是:结构简单、使用方便、节能效果好。
The utility model relates to the technical field of lamps. At present, the known street lamps do not have the function of self-power generation by solar energy and wind energy. When in use, they are all supplied by electric energy, which is not ideal. In order to overcome the above disadvantages, the utility model provides a dual-energy street lamp device, which can achieve the purpose of saving electricity when in use. The technical solution of the utility model to solve its technical problems is: a dual-energy street lamp device composed of solar panels, wind blades, street lamps and light poles, which is characterized in that: a solar battery panel is set on the top of the light pole. A wind blade of a wind generator is arranged under the solar panel, and the street lamp is directly connected with the wind generator and the solar panel through wires. The effect of lighting can be achieved by using solar and wind energy. The utility model has the beneficial effects of simple structure, convenient use and good energy-saving effect.
Description
Claims (1)
Priority Applications (1)
| Application Number | Priority Date | Filing Date | Title |
|---|---|---|---|
| CN2010205811344U CN201866683U (en) | 2010-10-27 | 2010-10-27 | Double-energy street lamp device |
Applications Claiming Priority (1)
| Application Number | Priority Date | Filing Date | Title |
|---|---|---|---|
| CN2010205811344U CN201866683U (en) | 2010-10-27 | 2010-10-27 | Double-energy street lamp device |
Publications (1)
| Publication Number | Publication Date |
|---|---|
| CN201866683U true CN201866683U (en) | 2011-06-15 |
Family
ID=44137837
Family Applications (1)
| Application Number | Title | Priority Date | Filing Date |
|---|---|---|---|
| CN2010205811344U Expired - Fee Related CN201866683U (en) | 2010-10-27 | 2010-10-27 | Double-energy street lamp device |
Country Status (1)
| Country | Link |
|---|---|
| CN (1) | CN201866683U (en) |
Cited By (1)
| Publication number | Priority date | Publication date | Assignee | Title |
|---|---|---|---|---|
| CN106322289A (en) * | 2016-09-23 | 2017-01-11 | 苏州三体智能科技有限公司 | Self-powered streetlamp post |
-
2010
- 2010-10-27 CN CN2010205811344U patent/CN201866683U/en not_active Expired - Fee Related
Cited By (1)
| Publication number | Priority date | Publication date | Assignee | Title |
|---|---|---|---|---|
| CN106322289A (en) * | 2016-09-23 | 2017-01-11 | 苏州三体智能科技有限公司 | Self-powered streetlamp post |
Similar Documents
| Publication | Publication Date | Title |
|---|---|---|
| CN202484846U (en) | Solar-and-light complementation type solar street lamp | |
| CN201866683U (en) | Double-energy street lamp device | |
| CN203202899U (en) | Solar street lamp device | |
| CN205208422U (en) | Novel novel LED street lamp of solar energy power supply | |
| CN202813191U (en) | A new energy street lamp | |
| CN202598364U (en) | Solar illuminating device of henhouse | |
| CN202581099U (en) | Garden lamp employing auxiliary wind energy and luminous energy power supply | |
| CN201772384U (en) | Solar wind energy street light | |
| CN201407577Y (en) | Wind energy street lamp | |
| CN202484855U (en) | Alternating solar street lamp | |
| CN202914249U (en) | Power generating device | |
| CN201621601U (en) | Energy-saving street lamp | |
| CN201909266U (en) | Solar street lamp | |
| CN201688303U (en) | Small-size home use off-network solar LED illuminating system | |
| CN202532366U (en) | Energy-saving light-emitting diode (LED) street lamp | |
| CN201462657U (en) | An indoor and outdoor solar lamp | |
| CN202091989U (en) | Energy-saving streetlamp | |
| CN202902136U (en) | Wind-powered streetlight | |
| CN205782563U (en) | A kind of solar street light | |
| CN202835147U (en) | Solar and wind street lamp | |
| CN201593740U (en) | energy saving street lamp | |
| CN202647550U (en) | Improved street lamp | |
| CN202484843U (en) | Energy-saving green lamp | |
| CN204005674U (en) | LED electricity-saving lamp | |
| CN202281164U (en) | Solar desk lamp |
Legal Events
| Date | Code | Title | Description |
|---|---|---|---|
| C14 | Grant of patent or utility model | ||
| GR01 | Patent grant | ||
| C17 | Cessation of patent right | ||
| CF01 | Termination of patent right due to non-payment of annual fee |
Granted publication date: 20110615 Termination date: 20111027 |
