CN201859753U - Primary conductive terminal device for current transformer - Google Patents
Primary conductive terminal device for current transformer Download PDFInfo
- Publication number
- CN201859753U CN201859753U CN2010290920395U CN201029092039U CN201859753U CN 201859753 U CN201859753 U CN 201859753U CN 2010290920395 U CN2010290920395 U CN 2010290920395U CN 201029092039 U CN201029092039 U CN 201029092039U CN 201859753 U CN201859753 U CN 201859753U
- Authority
- CN
- China
- Prior art keywords
- terminal
- primary conductive
- plate
- conductive terminal
- primary
- Prior art date
- Legal status (The legal status is an assumption and is not a legal conclusion. Google has not performed a legal analysis and makes no representation as to the accuracy of the status listed.)
- Expired - Lifetime
Links
- XAGFODPZIPBFFR-UHFFFAOYSA-N aluminium Chemical compound [Al] XAGFODPZIPBFFR-UHFFFAOYSA-N 0.000 claims abstract description 20
- 229910052782 aluminium Inorganic materials 0.000 claims abstract description 20
- 239000012212 insulator Substances 0.000 claims description 16
- 239000004411 aluminium Substances 0.000 claims description 12
- 230000004888 barrier function Effects 0.000 claims description 3
- 238000009413 insulation Methods 0.000 claims description 3
- 238000007789 sealing Methods 0.000 claims description 3
- 238000007493 shaping process Methods 0.000 claims description 3
- 229910001220 stainless steel Inorganic materials 0.000 claims description 3
- 239000010935 stainless steel Substances 0.000 claims description 3
- 238000010276 construction Methods 0.000 claims description 2
- 229910052573 porcelain Inorganic materials 0.000 abstract 3
- RYGMFSIKBFXOCR-UHFFFAOYSA-N Copper Chemical compound [Cu] RYGMFSIKBFXOCR-UHFFFAOYSA-N 0.000 description 8
- 239000010949 copper Substances 0.000 description 8
- 229910052802 copper Inorganic materials 0.000 description 8
- 238000012856 packing Methods 0.000 description 3
- 238000000034 method Methods 0.000 description 2
- 238000003466 welding Methods 0.000 description 2
- 229920001342 Bakelite® Polymers 0.000 description 1
- 239000004637 bakelite Substances 0.000 description 1
- 230000015572 biosynthetic process Effects 0.000 description 1
- 238000006243 chemical reaction Methods 0.000 description 1
- 230000007812 deficiency Effects 0.000 description 1
- 238000005516 engineering process Methods 0.000 description 1
- 238000004519 manufacturing process Methods 0.000 description 1
- 239000000463 material Substances 0.000 description 1
- 238000000465 moulding Methods 0.000 description 1
- 239000002994 raw material Substances 0.000 description 1
Images
Landscapes
- Transformers For Measuring Instruments (AREA)
Abstract
A primary conductive terminal device for a current transformer comprises four primary conductive terminals and a conductive ring C0 (namely an upper clamping ring). A porcelain bushing is connected to the conductive ring and an expander is mounted on the porcelain bushing. The four primary conductive terminals are arranged under the conductive ring C0 (the upper clamping ring) and mounted on the porcelain bushing embedded with the conductive ring. The third primary conductive terminal P1 and the fourth primary conductive terminal P2 are conventional primary conductive terminals, the first primary conductive terminal C1 and the second primary conductive terminal C2 are aluminum primary conductive terminals in split combination structure, wherein the first primary conductive terminal C1 and the second primary conductive terminal C2 respectively comprise a terminal post and a series and parallel conducting plate, the terminal post and the series and parallel conducting plate are detachably connected structures connected by a fastener, and are combined to form the primary conductive terminal in a '7'-shaped structure.
Description
Technical field
The utility model relates to the syndeton of a kind of high voltage and current instrument transformer with primary conductive terminal, and the syndeton of the primary conductive terminal for current transformer that especially a kind of connection in series-parallel is used is high voltage electric equipment products practical technique field.
Background technology
Current transformer all will use primary conductive terminal, and the high voltage and current instrument transformer has generally all required multiple current ratio, and this will connect and be connected in parallel and realize by primary conductive terminal.The primary conductive terminal that uses in the instrument transformer industry adopted the copper terminal mostly in the past, also had to adopt the aluminum terminal, as China Patent No.: 00225396.8.These two kinds of primary conductive terminal portions are made up of terminals such as P1, P2, C1, C2 and connection in series-parallel conductive plate and conducting ring C0.The shape of P1, P2 terminal, C0 conducting ring is basic identical, and the main difference point is embodied on the connected mode of the structure of C1, C2 terminal and P1, P2, C1, C2 terminal and C0 conducting ring and connection in series-parallel conductive plate.
The C1 of copper terminal, C2 terminal are " ten " font structure, adopt copper guide rod and copper conductive plate to be welded.Being connected and fixed of connection in series-parallel conductive plate and C1, C2 terminal is single big nut, and C1, C2 indication plate are followed closely on the connection in series-parallel conductive plate.
This current transformer is with the main drawback of terminal:
1. raw material are red copper, cost an arm and a leg the product cost height;
2. C1, C2 terminal adopt copper guide rod and copper conductive plate to be welded, and the phenomenon of distortion seepage oil is arranged after product assembling and operation;
3. being connected and fixed of connection in series-parallel conductive plate and C1, C2 terminal is single big nut, and assembling and operation back are changed no-load voltage ratio needs special-purpose extra large size spanner, changes relatively difficulty of connected mode;
4. C1, C2 terminal conducting rod exposed parts have screw thread, and the tip is conductively-closed not, is easy to generate corona and interference point discharge under high-tension situation;
5. C1, C2 indication plate are followed closely on the connection in series-parallel conductive plate, if dispatch from the factory to being connected in parallel, then C1, C2 indication plate can intuitively be discerned, and use if the user will be made series connection into, and C1, C2 indication plate have rotated 180 ° at this moment, can't intuitively discern the sign content.
The C1 of aluminum terminal, C2 terminal are " doing " font structure, adopt aluminum guide and aluminium conductive plate to be welded.The connection in series-parallel conductive plate is that four nuts are connected with bolt with being connected and fixed of C1, C2 terminal, and C1, C2 indication plate are followed closely on the connection in series-parallel conductive plate.
This current transformer is with the main drawback of terminal:
1. C1, C2 terminal adopt aluminum guide and aluminium conductive plate to be welded, and the phenomenon of distortion seepage oil is arranged after product assembling and operation;
2. the connection in series-parallel conductive plate is that four nuts are connected with bolt with being connected and fixed of C1, C2 terminal, the most advanced and sophisticated tip in a large number that exists of nuts and bolt, and the tip is conductively-closed not, is easy to generate corona and interference point discharge under high-tension situation;
3. C1, C2 indication plate are followed closely on the connection in series-parallel conductive plate, if dispatch from the factory to being connected in parallel, then C1, C2 indication plate can intuitively be discerned, and use if the user will be made series connection into, and C1, C2 indication plate have rotated 180 ° at this moment, can't intuitively discern the sign content.
4. C1, C2 terminal welding processing more complicated, processing charges is than higher.
Therefore, be badly in need of improving a terminal, avoid by existing interference discharge, solve the demonstration problem of C1, C2 indication plate under series connection and the different conditions in parallel with the tip of stopping terminal distortion seepage oil, reducing by a terminal as far as possible, research and develop a kind of novel, processing easier, current transformer function admirable, with low cost, easy to use has realistic meaning with a terminal.
The utility model content
The purpose of this utility model, exactly in order to overcome the deficiency of existing high voltage and current instrument transformer with primary conductive terminal, a kind of seepage oil that is not out of shape is proposed, the tip of a terminal interference discharge occurs and will lack the primary conductive terminal for current transformer device that processing is easier, function admirable, with low cost, easy to use as far as possible.
The technical scheme that its technical problem that solves the utility model adopts is: comprise four primary conductive terminals and a conducting ring C0 (promptly going up trim ring), be connected with insulator on the conducting ring, be equipped with expander on the insulator again; Under conducting ring C0 (going up trim ring) four primary conductive terminals are arranged, four primary conductive terminals are installed on the insulator that is embedded with conducting ring; Wherein the 3rd primary conductive terminal P1 and the 4th primary conductive terminal P2 are conventional primary conductive terminal; And the first primary conductive terminal C1 and the second primary conductive terminal C2 adopt the aluminum primary conductive terminal, be the split combining structure, the first primary conductive terminal C1 and the second primary conductive terminal C2 terminal comprise terminal post and connection in series-parallel conductive plate two parts respectively, and terminal post and connection in series-parallel conductive plate are to be the structure that removably connects by what securing member coupled together; Terminal post and connection in series-parallel conductive plate are combined to form the primary conductive terminal that is shaped as " 7 " font structure; Connection in series-parallel conductive plate part can partly be connected with the electroplax that connects of the 4th primary conductive terminal P2 with the 3rd primary conductive terminal P1, perhaps connects electroplax with two of conducting ring C0 and is connected, and forms being connected in parallel or being connected in series of primary conductive terminal respectively; The first primary conductive terminal C1 and the second primary conductive terminal C2 adopt ZL107 aluminium cast bar or the direct machine-shaping of LY12 aluminium bar to form, the electroplax that connects of the first primary conductive terminal C1 and the second primary conductive terminal C2 terminal partly is the flat-square shaped plate, and the conductive plate segment thickness is 35-40mm; On the flat-square shaped plate, be drilled with 2-6 equally distributed screw, inlay the stainless steel silk braid in each screw.Being connected and fixed of connection in series-parallel conductive plate and the first primary conductive terminal C1 and the second primary conductive terminal C2 can be for bolt links to each other, and the threaded portion of bolt do not expose fully, is the shielding helicitic texture.Simultaneously, flat-square shaped plate the right and left of the first primary conductive terminal C1 and the second primary conductive terminal C2 respectively is drilled with 2 indication plate installing holes, and the indication plate of the first primary conductive terminal C1 and the second primary conductive terminal C2 is installed on the indication plate installing hole by securing member; About the first primary conductive terminal C1, respectively follow closely a C1 indication plate, about the second primary conductive terminal C2, respectively follow closely a C2 indication plate; The 3rd primary conductive terminal P1 and the 4th primary conductive terminal P2 and conducting ring C0 are prior art version.
Advantage of the present utility model is:
1. the first primary conductive terminal C1 and the second primary conductive terminal C2 adopt whole aluminium cast bar or the direct machine work of LY12 aluminium bar to form, and processing is simple, and manufacturing cost reduces, owing to need not to weld the phenomenon that does not have welding seam leakage oil; Because the first primary conductive terminal C1 and the second primary conductive terminal C2 are monolithic molding, and the conductive plate segment thickness reaches 30-40mm, therefore enough intensity arranged, and do not exist because stress deformation and the phenomenon of seepage oil; Thereby thoroughly solved the drawback of current transformer with a terminal seepage oil;
2. terminal material is selected ZL107 cast aluminium and LY12 aluminium for use, and copper tip has big cost advantage relatively;
3. C1 indication plate and C2 indication plate nail is in the flat-square shaped plate left and right sides of the first primary conductive terminal C1 and the second primary conductive terminal C2, no matter be that parallel connection or series connection can show C1 indication plate and C2 indication plate;
4. the screw thread of the first primary conductive terminal C1 and the second primary conductive terminal C2 and connection in series-parallel conductive plate connecting bolt is all shielded by flat-square shaped, does not have the phenomenon of interference discharge;
5. the mutual change of series connection and state in parallel is very convenient, need not special instrument.
Description of drawings
Fig. 1. the primary conductive terminal of the present utility model schematic front view that is connected in parallel;
Fig. 2. the primary conductive terminal of the present utility model diagrammatic top view that is connected in parallel;
Fig. 3. the primary conductive terminal of the present utility model schematic front view that is connected in series;
Fig. 4. the primary conductive terminal of the present utility model diagrammatic top view that is connected in series;
Fig. 5. the terminal post structural representation of the first primary conductive terminal C1 of the present utility model and the second primary conductive terminal C2;
Fig. 6. the terminal post structure lateral view of the first primary conductive terminal C1 of the present utility model and the second primary conductive terminal C2;
Fig. 7. the terminal post structure vertical view of the first primary conductive terminal C1 of the present utility model and the second primary conductive terminal C2;
Fig. 8. connection in series-parallel conductive plate front view of the present utility model;
Fig. 9. connection in series-parallel conductive plate vertical view of the present utility model.
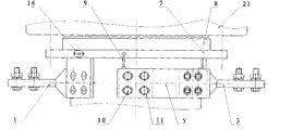
Among the figure: 1, P1 terminal; 2, C2 terminal; 3, P2 terminal; 4, C1 terminal; 5, connection in series-parallel conductive plate; 6, sealing ring; 7, conducting ring C0; 8, insulator; 9, bonding wire; 10, bolt; 11, packing ring; 12, C1 indication plate; 13, C2 indication plate; 14, P1 indication plate; 15, P2 indication plate; 16, C0 indication plate; 17, bolt; 18, packing ring; 19, insulating barrier; 20, bakelite backing plate; 21, expander; 22, terminal post; 23, conductive plate part, 24, screw; 25, indication plate is installed screw 25.
Embodiment
Below in conjunction with drawings and Examples the utility model is further specified.
Embodiment 1:
Shown in accompanying drawing 1, accompanying drawing 2, a kind of primary conductive terminal for current transformer device, current transformer is divided into two kinds of structures with four primary conductive terminals, wherein two still is common primary conductive terminal structure, two other changes dismountable split combination structure into, the connected mode of the primary conductive terminal by changing dismountable split combination structure realizes the connection in series-parallel conversion of primary conductive terminal for current transformer.The primary conductive terminal for current transformer device comprises 1,2,3,4 and conducting ring C0 of four primary conductive terminals (promptly going up trim ring) 7, is connected with insulator 8 on the conducting ring C0 (promptly going up trim ring) 7, is equipped with expander 21 on the insulator 8 again; 1,2,3,4, four primary conductive terminals 1,2,3,4 of four primary conductive terminals are arranged by nut 17 and packing ring 18 fastening being installed on the insulator 8 that is embedded with conducting ring C0 (going up trim ring) 7 for 7 times at conducting ring C0 (going up trim ring); For guaranteeing the stability and the insulated enclosure of terminal, between terminal and the contacted position of insulator 8 outer ring faces, be provided with sealing ring 6, and between insulator 8 inner ring faces and nut 17, be provided with the insulation cushion 20 that matches with interior circle; In order to guarantee the insulation between each terminal, be provided with cross insulating barrier 19 at insulator 8 inner chambers; In four primary conductive terminals, the 3rd primary conductive terminal P1 is that P1 terminal 1, the four primary conductive terminal P2 is a P2 terminal 3; P1 terminal 1 and P2 terminal 3 are conventional primary conductive terminal; And the first primary conductive terminal C1 is that C1 terminal 4, the second primary conductive terminal C2 are C2 terminal 2; C1 terminal 4 and C2 terminal 2 adopt the aluminum primary conductive terminal, be the split combining structure, C1 terminal 4 and C2 terminal 2 comprise terminal post 22 (seeing accompanying drawing 5) and connection in series-parallel conductive plate 5 (seeing accompanying drawing 9) two parts respectively, and terminal post 22 and connection in series-parallel conductive plate 5 are to be the structure that removably connects by what securing member coupled together; Terminal post and connection in series-parallel conductive plate are combined to form the primary conductive terminal (seeing accompanying drawing 2) that is shaped as " 7 " font structure; Terminal post 22 is connected with conducting ring C0 (going up trim ring) 7 equipotentials by bonding wire 9; Two connection in series-parallel conductive plates 5 are that rectangular plate is to curving " L " shape, connection in series-parallel conductive plate 5 two are equipped with securing member installing hole (seeing accompanying drawing 8-9), connection in series-parallel conductive plate 5 one ends link to each other with C2 terminal 2 with C1 terminal 4 respectively, the other end is connected with the electroplax that connects of P1 terminal 1 and P2 terminal respectively, forms being connected in parallel of primary conductive terminal; C1 terminal 4 and C2 terminal 2 adopt ZL107 aluminium cast bar or the direct machine-shaping of LY12 aluminium bar to form, the conductive plate part 23 of C1 terminal 4 and C2 terminal 2 terminal post 22 is flat-square shaped plate (seeing accompanying drawing 7), and conductive plate part 23 thickness reach 30-40mm, on the flat-square shaped plate, be drilled with 4 equally distributed screws 24, inlay FRM12 stainless steel silk braid (seeing accompanying drawing 5-7) in each screw 24; Connection in series-parallel conductive plate 5 is connected and fixed to bolt links to each other with C1 terminal 4 and C2 terminal 2, connect as one by bolt 10 and pad 11, and the threaded portion of bolt does not expose fully, for shielding construction is threaded; Flat-square shaped plate the right and left of C1 terminal 4 and C2 terminal 2 respectively is drilled with 2 indication plates screw 25 is installed, the indication plate of the first primary conductive terminal C1 and the second primary conductive terminal C2 is installed in indication plate by screw and installs on the screw 25, about the first primary conductive terminal C1, respectively follow closely a C1 indication plate, about the second primary conductive terminal C2, respectively follow closely a C2 indication plate; The 3rd primary conductive terminal P1 and the 4th primary conductive terminal P2 and conducting ring C0 are prior art version.
Shown in accompanying drawing 3, accompanying drawing 4, a kind of primary conductive terminal for current transformer device, the basic method of attachment of current transformer and basic structure are consistent with embodiment 1, the Therefore, omited is described; Just two connection in series-parallel conductive plate one ends link to each other with the second primary conductive terminal C2 with the first primary conductive terminal C1 respectively, and the other end connects electroplax with two of conducting ring C0 respectively and is connected, being connected in series of formation primary conductive terminal.
By the foregoing description as can be seen, when product needed use in parallel, one end of a connection in series-parallel conductive plate is connected with the 3rd primary conductive terminal P1, the other end is connected with the first primary conductive terminal C1, the two bolt is tight when linking to each other with four bolts with the first primary conductive terminal C1, all conductively-closeds of bolt thread part; End with another piece connection in series-parallel conductive plate is connected with the 4th primary conductive terminal P2 equally, the other end is connected with the second primary conductive terminal C2, the two bolt is tight when linking to each other with four bolts with the second primary conductive terminal C2, all conductively-closeds of bolt thread part.See C1 notice board and C2 notice board on the left side of the first primary conductive terminal C1 and the second primary conductive terminal C2 terminal this moment.
When the product needed series connection is used, to unclamp with the connection in series-parallel conductive plate that the first primary conductive terminal C1 is connected with the 3rd primary conductive terminal P1, Rotate 180 °, one end of connection in series-parallel conductive plate is connected with the terminal of conducting ring C0, the other end is connected with the first primary conductive terminal C1, the two bolt is tight when linking to each other with four bolts with the first primary conductive terminal C1, all conductively-closeds of bolt thread part; To unclamp with the connection in series-parallel conductive plate that the second primary conductive terminal C2 is connected with the 4th primary conductive terminal P2 equally, Rotate 180 °, one end of connection in series-parallel conductive plate is connected with another terminal of conducting ring C0, the other end is connected with the second primary conductive terminal C2, the two bolt is tight when linking to each other with four bolts with the second primary conductive terminal C2, all conductively-closeds of bolt thread part.See C1 notice board and C2 notice board on the right of the first primary conductive terminal C1 and the second primary conductive terminal C2 terminal this moment.
Claims (6)
1. a primary conductive terminal for current transformer device comprises four primary conductive terminals and a conducting ring C0, is connected with insulator on the conducting ring C0, is equipped with expander on the insulator again; Four primary conductive terminals are arranged under conducting ring C0, and four primary conductive terminals are installed on the insulator that is embedded with conducting ring C0 by nuts and washers is fastening; In four primary conductive terminals, the 3rd primary conductive terminal P1 is the P1 terminal, and the 4th primary conductive terminal P2 is the P2 terminal; P1 terminal and P2 terminal are conventional primary conductive terminal; It is characterized in that: be provided with cross insulating barrier at the insulator inner chamber; Between terminal and the contacted position of face, insulator outer ring, be provided with sealing ring, and between insulator inner ring face and nut, be provided with the insulation cushion that matches with interior circle; The first primary conductive terminal C1 is the C1 terminal, and the second primary conductive terminal C2 is the C2 terminal; C1 terminal and C2 terminal adopt the aluminum primary conductive terminal, are the split combining structure, and C1 terminal and C2 terminal comprise terminal post and connection in series-parallel conductive plate two parts respectively, and terminal post and connection in series-parallel conductive plate are to be the structure that removably connects by what securing member coupled together; Terminal post and connection in series-parallel conductive plate are combined to form the primary conductive terminal that is shaped as " 7 " font structure; Terminal post is connected with conducting ring C0 equipotential by bonding wire.
2. primary conductive terminal for current transformer device as claimed in claim 1, it is characterized in that: two connection in series-parallel conductive plates are that rectangular plate is to curving " L " shape, connection in series-parallel conductive plate two is equipped with the securing member installing hole, connection in series-parallel conductive plate one end links to each other with the C2 terminal with the C1 terminal respectively, the other end is connected with the electroplax that connects of P1 terminal 1 and P2 terminal respectively, forms being connected in parallel of primary conductive terminal.
3. primary conductive terminal for current transformer device as claimed in claim 1, it is characterized in that: connection in series-parallel conductive plate one end links to each other with the second primary conductive terminal C2 with the first primary conductive terminal C1 respectively, the other end connects electroplax with two of conducting ring C0 respectively and is connected, and forms being connected in series of primary conductive terminal.
4. primary conductive terminal for current transformer device as claimed in claim 1, it is characterized in that: C1 terminal and C2 terminal adopt ZL107 aluminium cast bar or the direct machine-shaping of LY12 aluminium bar to form, the conductive plate of C1 terminal and C2 terminal terminal post partly is the flat-square shaped plate, and the conductive plate segment thickness reaches 30-40mm, on the flat-square shaped plate, be drilled with 4 equally distributed screws, inlay FRM12 stainless steel silk braid in each screw.
5. primary conductive terminal for current transformer device as claimed in claim 1 is characterized in that: the connection in series-parallel conductive plate is connected and fixed to bolt links to each other with C1 terminal and C2 terminal, and the threaded portion of bolt do not expose fully, for shielding construction is threaded.
6. primary conductive terminal for current transformer device as claimed in claim 1, it is characterized in that: flat-square shaped plate the right and left of C1 terminal and C2 terminal respectively is drilled with 2 indication plates screw is installed, the indication plate of the first primary conductive terminal C1 and the second primary conductive terminal C2 is installed in indication plate by screw and installs on the screw, about the first primary conductive terminal C1, respectively follow closely a C1 indication plate, about the second primary conductive terminal C2, respectively follow closely a C2 indication plate.
Priority Applications (1)
| Application Number | Priority Date | Filing Date | Title |
|---|---|---|---|
| CN2010290920395U CN201859753U (en) | 2010-02-08 | 2010-02-08 | Primary conductive terminal device for current transformer |
Applications Claiming Priority (1)
| Application Number | Priority Date | Filing Date | Title |
|---|---|---|---|
| CN2010290920395U CN201859753U (en) | 2010-02-08 | 2010-02-08 | Primary conductive terminal device for current transformer |
Publications (1)
| Publication Number | Publication Date |
|---|---|
| CN201859753U true CN201859753U (en) | 2011-06-08 |
Family
ID=44105554
Family Applications (1)
| Application Number | Title | Priority Date | Filing Date |
|---|---|---|---|
| CN2010290920395U Expired - Lifetime CN201859753U (en) | 2010-02-08 | 2010-02-08 | Primary conductive terminal device for current transformer |
Country Status (1)
| Country | Link |
|---|---|
| CN (1) | CN201859753U (en) |
Cited By (1)
| Publication number | Priority date | Publication date | Assignee | Title |
|---|---|---|---|---|
| CN103117162A (en) * | 2011-11-17 | 2013-05-22 | 上海Mwb互感器有限公司 | Primary transition device of current transformer and current transformer |
-
2010
- 2010-02-08 CN CN2010290920395U patent/CN201859753U/en not_active Expired - Lifetime
Cited By (2)
| Publication number | Priority date | Publication date | Assignee | Title |
|---|---|---|---|---|
| CN103117162A (en) * | 2011-11-17 | 2013-05-22 | 上海Mwb互感器有限公司 | Primary transition device of current transformer and current transformer |
| CN103117162B (en) * | 2011-11-17 | 2016-08-10 | 上海Mwb互感器有限公司 | Transition apparatus of current transformer and current transformer |
Similar Documents
| Publication | Publication Date | Title |
|---|---|---|
| CN202333561U (en) | Contact box used in high-voltage switch cabinet | |
| CN201859753U (en) | Primary conductive terminal device for current transformer | |
| CN103066507B (en) | Switch cabinet | |
| CN202715951U (en) | Device for welding bolts for fixing compressor on base board of air conditioning outer machine | |
| CN101752073B (en) | Method and device for connecting primary conductive terminal for current transformer | |
| CN103050327B (en) | Vacuum circuit-breaker and middle pressure gas-filling cabinet | |
| CN203426580U (en) | Stator iron core argon arc welding mould | |
| CN202957352U (en) | Lightning protection structure of discharge tube | |
| CN203026657U (en) | Ground lead connector | |
| CN216289518U (en) | Novel switch cabinet grounding bar connecting line structure | |
| CN203055771U (en) | Vacuum circuit breaker and medium-voltage inflation cabinet | |
| CN101916927B (en) | Metal sealing terminal plate | |
| CN210404270U (en) | Detachable conductor structure | |
| CN201234114Y (en) | Epoxy seat for electric cable accessory | |
| CN208654208U (en) | DIP4 arranges the electrical testing of foot product and increases double probe structures | |
| CN104112585B (en) | A kind of 800kV chopper shnt capacitor | |
| CN203056442U (en) | Switch cabinet | |
| CN203055768U (en) | Integrated conductive apparatus and vacuum circuit breaker | |
| CN210111057U (en) | Lightning protection structure of discharge tube | |
| CN202353441U (en) | Non-inductive bus for inverter | |
| CN201725650U (en) | Low-voltage large-current sleeve | |
| CN204927569U (en) | Multilayer PCB central authorities block terminal | |
| CN105490171B (en) | A kind of high-pressure frequency-conversion one-to-one manual bypass cabinet | |
| CN218383009U (en) | Adjustable linear optocoupler | |
| CN216013560U (en) | Insulating column withstand voltage detector for high-voltage isolating switch |
Legal Events
| Date | Code | Title | Description |
|---|---|---|---|
| C14 | Grant of patent or utility model | ||
| GR01 | Patent grant | ||
| AV01 | Patent right actively abandoned |
Granted publication date: 20110608 Effective date of abandoning: 20120905 |