CN201857852U - 一种保险柜的执行机构 - Google Patents
一种保险柜的执行机构 Download PDFInfo
- Publication number
- CN201857852U CN201857852U CN2010205010134U CN201020501013U CN201857852U CN 201857852 U CN201857852 U CN 201857852U CN 2010205010134 U CN2010205010134 U CN 2010205010134U CN 201020501013 U CN201020501013 U CN 201020501013U CN 201857852 U CN201857852 U CN 201857852U
- Authority
- CN
- China
- Prior art keywords
- lock
- bolt
- drilling
- heavy
- preventing structure
- Prior art date
- Legal status (The legal status is an assumption and is not a legal conclusion. Google has not performed a legal analysis and makes no representation as to the accuracy of the status listed.)
- Expired - Fee Related
Links
- 238000010276 construction Methods 0.000 claims description 15
- 229910000831 Steel Inorganic materials 0.000 claims description 11
- 239000010959 steel Substances 0.000 claims description 11
- 230000001936 parietal effect Effects 0.000 claims description 9
- 238000005553 drilling Methods 0.000 abstract 3
- 230000002950 deficient Effects 0.000 description 2
- 230000000694 effects Effects 0.000 description 2
- 230000004888 barrier function Effects 0.000 description 1
- 238000006073 displacement reaction Methods 0.000 description 1
- 238000005516 engineering process Methods 0.000 description 1
- 230000037431 insertion Effects 0.000 description 1
- 238000003780 insertion Methods 0.000 description 1
- 238000005303 weighing Methods 0.000 description 1
Images
Landscapes
- Earth Drilling (AREA)
Abstract
本实用新型涉及一种采用防钻结构和重锁结构相结合的保险柜的执行机构,包括柜门板、主锁、副锁、门内附板、门闩结构和后盖,其中,所述的门闩结构由门闩、门闩导向板和门闩固定螺钉组成;其特征在于:所述主锁与所述柜门板之间固定有一防钻结构,在所述防钻结构上表面固定一重锁结构,并与所述主锁并在同一水平面上。这种保险柜的执行机构既能保护保险柜锁具,又能起到很好的防盗作用。
Description
技术领域
本实用新型涉及一种采用防钻结构和重锁结构相结合的保险柜的执行机构,属于保险柜制造领域。
背景技术
现有的保险柜上的执行机构包括门闩、驱动门闩移动的驱动结构及阻挡门闩移动的锁结构,驱动门闩移动的驱动结构一般包括有手柄,手柄穿过门后通过拨叉或转盘与门闩相连,这样转动手柄便可驱动门闩移动,而锁结构通过其上的锁舌对门闩进行挡位,以阻止门闩移动,使用者可通过钥匙来驱动锁舌伸出与否而决定门闩能否移动。
传统的执行机构存在了如下两个缺陷:一是不法分子通过凶猛的用力转动手柄,使门闩不停撞击锁结构的锁舌,将会发生锁结构被破坏或撞移位,致使锁结构的锁舌不能起到对门闩的阻挡作用,而打开保险柜;二是装有锁的外壁由于结构等原因,易被钻头钻孔,使锁失去作用,从而也会造成内容物被盗。
发明内容
本实用新型所要解决的技术问题是针对上述现有技术存在两个缺陷而提供一种采用防钻结构和重锁结构相结合的保险柜的执行机构,所采用的技术方案为:一种保险柜的执行机构,包括柜门板、主锁、副锁、门内附板、门闩结构和后盖,其中,所述的门闩结构由门闩、门闩导向板和门闩固定螺钉组成;其特征在于:所述主锁与所述柜门板之间固定有一防钻结构,在所述防钻结构上表面固定一重锁结构,并与所述主锁在同一水平面上;
所述防钻结构为在所述主锁外周、柜门内侧壁层中设置多个密集分布、且相互具有间隙的钢球,所述钢球的上部伸入外侧壁层的小孔中,所述小孔的直径小于所述钢球直径;
所述重锁结构包括:
-重锁压板,其固定在所述主锁的上表面;
-重锁销,其限位在所述防钻结构上且仅能相对柜门板横向滑移,该重锁销与所述主锁位于门闩的同一侧并位于重锁压板下方,所述门闩的侧壁上开有供所述重锁销插入而将所述门闩重新锁定的锁孔;
-定位销,其下部穿入固定在所述重锁销上,上部与重锁压板相抵触;
-重锁弹簧,其套设于所述重锁销上并与所述定位销抵触,使该重锁弹簧始终具有推动所述定位销以带动所述重锁销横向移动而插入所述锁孔趋势的弹力。
所述防钻结构通过焊接连接于所述柜门板内侧,而所述主锁用螺栓与防钻结构连接。
所述重锁销限位在与防钻结构固定的固定板上,该固定板具有横向间隔设置且向上延伸的前壁和后壁,所述重锁销依次穿过所述前壁和后壁,所述重锁弹簧被压缩在所述定位销和所述固定板的后壁之间。
所述重锁压板通过螺钉连接在所述主锁上。
与现有技术相比,本实用新型采用了防钻结构,当外力强行破坏锁具时,很难钻过钢球体,有效地保护锁具和柜门内结构;同时又与重锁结构相结合,当外力强行破坏锁具后,固定在锁具上的重锁压板也随之被破坏,与重锁销固定的定位销在弹簧的作用下横向前移,同时重锁销及被破坏的重锁压板也随定位销横向前移,重锁销插入门闩的侧壁上的锁孔内,将门闩重新锁定,使执行机构无法发生移动,也就无法开启保险柜,保护了保险柜的安全。
附图说明
图1为本实用新型的结构示意图;
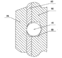
图2为图1中II处防钻结构的结构示意图;
图3为图1中I处放大图。
附图标记:1、柜门板 2、门闩 3、门闩导向板 4、门闩固定螺钉 5、副锁6、后盖 7、门内附板 81、重锁销 82、重锁盖板 83、重锁弹簧84、主锁 85、螺钉 86、定位销 87、固定板 88、螺栓 91、钢球92、内侧壁层 93、内层 94、外层 95、小孔
具体实施方式
以下结合附图和实施例详细说明本实用新型的技术方案。
如图1所示,本实用新型提供了一种采用防钻结构和重锁结构相结合的保险柜的执行机构,包括柜门板(1)、主锁(84)、副锁(5)、门内附板(7)、门闩结构和后盖(6),其中,所述的门闩结构由门闩(2)、门闩导向板(3)和门闩固定螺钉(4)组成。本实用新型的改进点在于所述主锁(84)与所述柜门板(1)之间固定连接有一防钻结构,防钻结构焊接在柜门板(1)的内侧,所述主锁(84)用螺栓(88)与防钻结构连接,在所述防钻结构上表面还固定一重锁结构,并与所述主锁(84)在同一水平面上。
如图2所示的防钻结构,包括外侧壁层、内侧壁层(92),外侧壁层包括外层(94),外层(94)内设置具有小孔(95)的内层(93),在内侧壁层(92)中设置多个密集分布、且相互具有间隙的钢球(91),所述钢球(91)的上部伸入所述小孔(95)中,所述小孔(95)的直径小于钢球(91)直径。
如图3所示,所述重锁结构包括,一重锁压板(82),其固定在所述主锁(84)的上表面,该重锁压板(82)呈平面板状,所述重锁压板(82)通过螺钉(85)连接在所述主锁(84)上。
一重锁销(81),其一般呈圆柱形,该重锁销(81)限位在与所述防钻结构固定的固定板(87)上且仅能相对固定板(87)横向滑移,该重锁销(81)与所述主锁(84)位于门闩的同一侧并位于重锁压板(82)的下方,该固定板(87)具有横向间隔设置且向上延伸的前壁(871)和后壁(872),所述重锁销(81)依次穿过所述的前壁(871)和后壁(872)。
一定位销(86),所述定位销(86)的下部穿入并固定在所述重锁销(81)上,所述定位销(86)的下端露出所述重锁销(81)的下方,定位销(86)的上部与所述重锁压板(82)相抵触,同时,所述定位销(86)的上端露出所述重锁压板(82)的上方。
一重锁弹簧(83),其套于所述重锁销(81)上并与所述定位销(86)抵触,即所述重锁弹簧(83)被压缩在所述定位销(86)和所述固定板(87)的后壁(872)之间,使重锁弹簧(83)始终具有推动定位销(86)以带动所述重锁销(81)横向移动而插入所述门闩的锁孔趋势的弹力。
Claims (4)
1.一种保险柜的执行机构,包括柜门板、主锁、副锁、门内附板、门闩结构和后盖,其中,所述的门闩结构由门闩、门闩导向板和门闩固定螺钉组成;其特征在于:所述主锁与所述柜门板之间固定有一防钻结构,在所述防钻结构上表面固定一重锁结构,并与所述主锁在同一水平面上;
所述防钻结构为在所述主锁外周、柜门内侧壁层中设置多个密集分布、且相互具有间隙的钢球,所述钢球的上部伸入外侧壁层的小孔中,所述小孔的直径小于所述钢球直径;所述重锁结构包括:
-重锁压板,其固定在所述主锁的上表面;
-重锁销,其限位在所述防钻结构上且仅能相对柜门板横向滑移,该重锁销与所述主锁位于门闩的同一侧并位于重锁压板下方,所述门闩的侧壁上开有供所述重锁销插设而将所述门闩重新锁定的锁孔;
-定位销,其下部穿设固定在所述重锁销上,上部与重锁压板相抵触;
-重锁弹簧,其套设于所述重锁销上并与所述定位销抵触,使该重锁弹簧始终具有推动所述定位销以带动所述重锁销横向移动而插入所述锁孔趋势的弹力。
2.根据权利要求1所述的一种保险柜的执行机构,其特征在于:所述防钻结构通过焊接连接于所述柜门板内侧,而所述主锁用螺栓与防钻结构连接。
3.根据权利要求1所述的一种保险柜的执行机构,其特征在于:所述重锁销限位在与防钻结构固定的固定板上,该固定板具有横向间隔设置且向上延伸的前壁和后壁,所述重锁销依次穿过所述前壁和后壁,所述重锁弹簧被压缩在所述定位销和所述固定板的后壁之间。
4.根据权利要求1所述的一种保险柜的执行机构,其特征在于:所述重锁压板通过螺钉连接在所述主锁上。
Priority Applications (1)
| Application Number | Priority Date | Filing Date | Title |
|---|---|---|---|
| CN2010205010134U CN201857852U (zh) | 2010-08-20 | 2010-08-20 | 一种保险柜的执行机构 |
Applications Claiming Priority (1)
| Application Number | Priority Date | Filing Date | Title |
|---|---|---|---|
| CN2010205010134U CN201857852U (zh) | 2010-08-20 | 2010-08-20 | 一种保险柜的执行机构 |
Publications (1)
| Publication Number | Publication Date |
|---|---|
| CN201857852U true CN201857852U (zh) | 2011-06-08 |
Family
ID=44103662
Family Applications (1)
| Application Number | Title | Priority Date | Filing Date |
|---|---|---|---|
| CN2010205010134U Expired - Fee Related CN201857852U (zh) | 2010-08-20 | 2010-08-20 | 一种保险柜的执行机构 |
Country Status (1)
| Country | Link |
|---|---|
| CN (1) | CN201857852U (zh) |
Cited By (1)
| Publication number | Priority date | Publication date | Assignee | Title |
|---|---|---|---|---|
| CN110939333A (zh) * | 2019-12-12 | 2020-03-31 | 创斯达科技集团(中国)有限责任公司 | 一种分体式双重驱动门销结构 |
-
2010
- 2010-08-20 CN CN2010205010134U patent/CN201857852U/zh not_active Expired - Fee Related
Cited By (1)
| Publication number | Priority date | Publication date | Assignee | Title |
|---|---|---|---|---|
| CN110939333A (zh) * | 2019-12-12 | 2020-03-31 | 创斯达科技集团(中国)有限责任公司 | 一种分体式双重驱动门销结构 |
Similar Documents
| Publication | Publication Date | Title |
|---|---|---|
| CN101008297B (zh) | 一种组合门锁 | |
| CN203334801U (zh) | 一种自动上锁的钩舌锁体 | |
| CN201857852U (zh) | 一种保险柜的执行机构 | |
| CN204609531U (zh) | 一种保险箱防盗自锁装置 | |
| CN102936983B (zh) | 一种卫生间用门锁 | |
| CN201730413U (zh) | 电磁阀锁具及具有该电磁阀锁具的组合锁 | |
| CN212583450U (zh) | 一种智能锁防敲开机构 | |
| CN102182364B (zh) | 框锁门、保险柜及其门 | |
| CN206888736U (zh) | 一种具有防锁舌退回功能的u型锁 | |
| CN201705031U (zh) | 双头机械锁 | |
| CN203201295U (zh) | 一种具有自动上锁功能的防盗锁 | |
| CN204311844U (zh) | 锁止机构的锁止孔设于内转件上的防拧防盗锁芯 | |
| CN211736739U (zh) | 一种具有防敲开功能的智能锁机构 | |
| CN204238698U (zh) | 安全撞击锁 | |
| CN102966265A (zh) | 双插防盗锁 | |
| CN2934496Y (zh) | 新型双重保险柜锁具 | |
| CN205100661U (zh) | 穿过锁体反锁孔传动锁体方孔防盗电子锁 | |
| CN201021573Y (zh) | 保管箱锁 | |
| CN203669538U (zh) | 用于通信机柜的机械锁装置 | |
| CN202450866U (zh) | 方锁机构 | |
| CN201666042U (zh) | 双扣防撬报警防盗门锁 | |
| CN101871280A (zh) | 双头机械锁 | |
| CN202140001U (zh) | 防盗卷闸门 | |
| CN201891316U (zh) | 一种保险箱指纹锁锁紧机构 | |
| CN102535957B (zh) | 新型防盗门装置 |
Legal Events
| Date | Code | Title | Description |
|---|---|---|---|
| C14 | Grant of patent or utility model | ||
| GR01 | Patent grant | ||
| CF01 | Termination of patent right due to non-payment of annual fee | ||
| CF01 | Termination of patent right due to non-payment of annual fee |
Granted publication date: 20110608 Termination date: 20180820 |