CN201843450U - Insulating, energy-saving aluminium alloy casement window - Google Patents
Insulating, energy-saving aluminium alloy casement window Download PDFInfo
- Publication number
- CN201843450U CN201843450U CN2010205628550U CN201020562855U CN201843450U CN 201843450 U CN201843450 U CN 201843450U CN 2010205628550 U CN2010205628550 U CN 2010205628550U CN 201020562855 U CN201020562855 U CN 201020562855U CN 201843450 U CN201843450 U CN 201843450U
- Authority
- CN
- China
- Prior art keywords
- frame
- window
- window frame
- glass
- sub
- Prior art date
- Legal status (The legal status is an assumption and is not a legal conclusion. Google has not performed a legal analysis and makes no representation as to the accuracy of the status listed.)
- Expired - Fee Related
Links
Images
Classifications
-
- Y—GENERAL TAGGING OF NEW TECHNOLOGICAL DEVELOPMENTS; GENERAL TAGGING OF CROSS-SECTIONAL TECHNOLOGIES SPANNING OVER SEVERAL SECTIONS OF THE IPC; TECHNICAL SUBJECTS COVERED BY FORMER USPC CROSS-REFERENCE ART COLLECTIONS [XRACs] AND DIGESTS
- Y02—TECHNOLOGIES OR APPLICATIONS FOR MITIGATION OR ADAPTATION AGAINST CLIMATE CHANGE
- Y02A—TECHNOLOGIES FOR ADAPTATION TO CLIMATE CHANGE
- Y02A30/00—Adapting or protecting infrastructure or their operation
- Y02A30/24—Structural elements or technologies for improving thermal insulation
- Y02A30/249—Glazing, e.g. vacuum glazing
-
- Y—GENERAL TAGGING OF NEW TECHNOLOGICAL DEVELOPMENTS; GENERAL TAGGING OF CROSS-SECTIONAL TECHNOLOGIES SPANNING OVER SEVERAL SECTIONS OF THE IPC; TECHNICAL SUBJECTS COVERED BY FORMER USPC CROSS-REFERENCE ART COLLECTIONS [XRACs] AND DIGESTS
- Y02—TECHNOLOGIES OR APPLICATIONS FOR MITIGATION OR ADAPTATION AGAINST CLIMATE CHANGE
- Y02B—CLIMATE CHANGE MITIGATION TECHNOLOGIES RELATED TO BUILDINGS, e.g. HOUSING, HOUSE APPLIANCES OR RELATED END-USER APPLICATIONS
- Y02B80/00—Architectural or constructional elements improving the thermal performance of buildings
- Y02B80/22—Glazing, e.g. vaccum glazing
Landscapes
- Securing Of Glass Panes Or The Like (AREA)
- Wing Frames And Configurations (AREA)
Abstract
一种平开铝合金窗,包括窗框、玻璃和窗扇,所述窗框包含主窗框和副框,所述副框设置于主窗框外周,副框远离主窗框的一端面设置若干固定片,副框靠近主窗框的一端面设置安装孔;所述主窗框上玻璃扣条安装处设置若干长孔,长孔内安装断热窗安装器,断热窗安装器一端与所述副框上的安装孔螺纹连接。本平开铝合金窗能够有效避免墙体面层装饰作业划伤或打碎玻璃,而且,在日后更换窗户时,无需破坏墙体。其进一步还可减少室内外的热传导,达到保温节能效果。
A casement aluminum alloy window, comprising a window frame, glass and a window sash, the window frame includes a main window frame and a sub-frame, the sub-frame is arranged on the outer periphery of the main window frame, and several Mounting holes are provided on the side surface of the auxiliary frame close to the main window frame; a number of long holes are arranged at the installation place of the glass buckle on the main window frame, and a heat-insulating window installer is installed in the long hole, and one end of the heat-insulating window installer is connected to the Threaded connection to the mounting holes on the sub-frame above. The casement aluminum alloy window can effectively prevent glass from being scratched or broken during the decoration of the surface layer of the wall body, and the wall body does not need to be damaged when the window is replaced in the future. It can further reduce the heat conduction between indoor and outdoor, so as to achieve the effect of heat preservation and energy saving.
Description
技术领域technical field
本实用新型涉及铝合金窗,特别是一种平开铝合金窗。 The utility model relates to an aluminum alloy window, in particular to a casement aluminum alloy window. the
背景技术Background technique
目前市场上的平开窗通常为“湿法”安装,即门窗洞口墙体面层装饰湿作业前安装玻璃,采用连接件在洞口墙基体上固定门窗框,然后对门窗框与洞口墙体间隙进行密封处理的安装方式,采用湿法安装时通常需要室外侧脚手架,在日后更换整窗时,也需要破坏墙体,费时费力。而且,安装玻璃后,对墙体面层的装饰作业、以及其它的作业有可能划伤或打碎玻璃,造成经济损失。 At present, the casement windows on the market are usually installed by "wet method", that is, the glass is installed before the wet work of the surface decoration of the door and window opening wall, and the door and window frame is fixed on the base of the opening wall with connectors, and then the gap between the door and window frame and the opening wall is adjusted. For the installation method of sealing treatment, outdoor scaffolding is usually required for wet installation, and when the entire window is replaced in the future, it is also necessary to destroy the wall, which is time-consuming and laborious. Moreover, after the glass is installed, the decorative work on the surface of the wall and other operations may scratch or shatter the glass, resulting in economic losses. the
发明内容Contents of the invention
本实用新型的目的是提供一种适用于干法安装的平开铝合金窗,使得可以在墙体面层的装饰作业完成后,再安装玻璃。 The purpose of this utility model is to provide a casement aluminum alloy window suitable for dry installation, so that the glass can be installed after the decoration of the surface layer of the wall is completed. the
为达上述目的,本实用新型平开铝合金窗,包括窗框、以及安装于窗框内的玻璃和窗扇,所述窗框包含主窗框和副框,所述副框设置于主窗框外周,副框远离主窗框的一端面设置若干固定片,副框靠近主窗框的一端面设置安装孔;所述主窗框上玻璃扣条安装处设置若干长孔,长孔内安装断热窗安装器,断热窗安装器一端与所述副框上的安装孔螺纹连接。 In order to achieve the above purpose, the utility model casement aluminum alloy window includes a window frame, glass and sash installed in the window frame, the window frame includes a main window frame and a sub-frame, and the sub-frame is arranged on the main window frame On the outer periphery, a number of fixing pieces are provided on the side of the sub-frame away from the main window frame, and installation holes are provided on the side of the sub-frame close to the main window frame; a number of long holes are provided at the installation place of the glass buckle on the main window frame, and the broken holes are installed in the long holes. A thermal window installer, one end of the thermal window installer is threadedly connected to the mounting hole on the sub-frame. the
进一步所述断热窗安装器包括塑胶座体和贯穿该塑胶座体的自攻螺钉,塑胶座体的外周壁设置卡槽。 Further, the heat-insulating window installer includes a plastic base body and self-tapping screws passing through the plastic base body, and the outer peripheral wall of the plastic base body is provided with a card slot. the
进一步所述副框每一边框的截面呈口字形。 Further, the cross-section of each frame of the sub-frame is in the shape of a square. the
进一步采用一种特殊形状的玻璃扣条,该玻璃扣条包括槽形主体,槽形主体的一个侧板与底板的连接处设置密封胶条安装位,槽形主体的另一个侧板与底板的连接部呈圆弧形。 A glass buckle with a special shape is further adopted. The glass buckle includes a groove-shaped main body. A sealing strip installation position is provided at the joint between one side plate of the groove-shaped main body and the bottom plate. The connecting part is arc-shaped. the
其主窗框和扇框优选隔热型材,玻璃采用中空玻璃,以达到保温节能的目的。 The main window frame and fan frame are preferably heat-insulating profiles, and insulating glass is used for the glass to achieve the purpose of heat preservation and energy saving. the
本平开铝合金窗的窗框采用由主窗框和副框构成的组合结构,通过断热窗安装器可以方便、快速地实现主窗框和副框的固定和拆卸,因此只需在墙体面层装饰湿作业前将副框安装于窗洞的墙体内,其它部分可以在墙体面层的装饰作业完成后简单快速地完成安装,因此能够有效避免墙体面层装饰作业划伤或打碎玻璃。而且,在日后更换窗户时,无需破坏墙体。 The window frame of the casement aluminum alloy window adopts a combined structure composed of a main window frame and a sub The sub-frame is installed in the wall of the window opening before the wet work of the surface layer decoration, and other parts can be installed simply and quickly after the wall surface layer decoration work is completed, so it can effectively avoid the wall surface layer decoration operation from being scratched or damaged. Break the glass. And, when replacing windows at a later date, there is no need to destroy the walls. the
其副框的生产工艺简单,成本低。其玻璃扣条采用弧形扣条,外观流线感强,饱实美观。 The production process of the sub-frame is simple and the cost is low. The glass buckle adopts a curved buckle, which has a streamlined appearance, full and beautiful. the
此外,其主窗框和扇框采用隔热型材,玻璃采用中空玻璃,可减少室内外的热传导,因此具有保温节能的功能。 In addition, the main window frame and fan frame are made of heat-insulating profiles, and the glass is made of insulating glass, which can reduce the heat conduction between indoor and outdoor, so it has the function of heat preservation and energy saving. the
附图说明Description of drawings
图1为实施例平开铝合金窗的结构示意图; Fig. 1 is the structural representation of casement aluminum alloy window of embodiment;
图2为图1的A-A剖视图; Fig. 2 is the A-A sectional view of Fig. 1;
图3为其安装在窗洞内的结构示意图; Fig. 3 is the schematic diagram of its structure installed in the window hole;
图4为其玻璃扣条的结构示意图。 Fig. 4 is a structural schematic diagram of the glass buckle. the
具体实施方式Detailed ways
下面结合附图和实施例对本实用新型进一步说明。 Below in conjunction with accompanying drawing and embodiment the utility model is further described. the
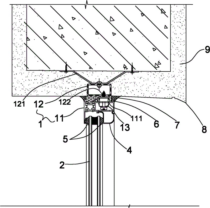
图1-3示出了一种50系列保温节能平开铝合金窗。其中,图1和图2中的窗框1只画出了主窗框,没有画出副框。 Figure 1-3 shows a 50 series thermal insulation and energy saving casement aluminum alloy window. Wherein, the window frame 1 in Fig. 1 and Fig. 2 has only drawn the main window frame, and has not drawn the auxiliary frame. the
参照图1-3,该保温节能平开铝合金窗包括窗框1、玻璃2和窗扇3。玻璃2通过玻璃扣条4嵌于窗框1之间,玻璃2与窗框1的接触部、玻璃2与玻璃扣条4的接触部均设置密封胶条5。窗扇3安装于窗框1内,窗扇3包括扇框31和窗扇玻璃32,窗扇玻璃32通过玻璃扣条4嵌于扇框31之间,窗扇玻璃32与扇框31的接触部、窗扇玻璃32与玻璃扣条4的接触部均设置密封胶条。 Referring to FIGS. 1-3 , the thermal insulation and energy-saving casement aluminum alloy window includes a window frame 1 ,
窗框1包含主窗框11和副框12,所述副框12设置于主窗框11外周,副框12远离主窗框11的一端面设置若干固定片121,副框12靠近主窗框11的一端面设置安装孔122;所述主窗框11上玻璃扣条安装处设置若干长孔111,长孔111内安装断热窗安装器13,断热窗安装器13一端与所述副框12上的安装孔122螺纹连接,从而将主窗框11和副框12固定为一体。 The window frame 1 includes a main window frame 11 and a
断热窗安装器13包括塑胶座体和贯穿该塑胶座体的自攻螺钉,塑胶座体外周壁设置卡槽。安装时,将所述塑胶座体装入主窗框11上的长孔111中,并使长孔111的边沿卡入塑胶座体外周壁的卡槽内,从而使塑胶座体固定在主窗框11内。断热窗安装器13的座体的作用是使断热窗安装器13不会从长孔111脱出,采用塑胶座体可以与铝合金材质的主窗框11较紧密地结合,当然,采用金属材质的座体也可以实现。此外,断热窗安装器13也可以由一个自攻螺钉和一个较厚的垫片构成。 The heat-
副框12每一边框的截面呈口字形,截面呈口字形的型材加工工艺简单,成本低,而且能够较稳固地对整个窗体固定。主窗框11、扇框31均采用隔热型材,玻璃2和窗扇玻璃32均采用中空玻璃。 The cross-section of each frame of the
参照图4,玻璃扣条4包括槽形主体,槽形主体的一个侧板与底板的连接处设置密封胶条安装位41,槽形主体的另一个侧板与底板的连接部42呈圆弧形,两个侧板的自由端分别设置卡接部43和44。 Referring to Fig. 4, the
图3中,6为发泡胶,7为密封胶层,9为窗洞的墙体,8为鹰嘴滴水条。在墙体面层装饰湿作业前只需通过固定片121将副框12安装于窗洞的墙体9内,在全部装饰作业完成后,再将主窗框11安装到窗洞内,用断热窗安装器13将主窗框11与副框12固定在一起,然后通过玻璃扣条4将玻璃2嵌入窗框内,在主窗框11与窗洞的缝隙内填充发泡胶6,在结合处涂抹密封胶层7即可。该铝合金窗既牢固又保温,同时也方便整窗日后的更换与维护。 Among Fig. 3, 6 is styrofoam, 7 is sealant layer, 9 is the wall body of window hole, and 8 is olecranon drip strip. Before the wall surface decoration wet work, it is only necessary to install the
Claims (5)
Priority Applications (1)
| Application Number | Priority Date | Filing Date | Title |
|---|---|---|---|
| CN2010205628550U CN201843450U (en) | 2010-10-14 | 2010-10-14 | Insulating, energy-saving aluminium alloy casement window |
Applications Claiming Priority (1)
| Application Number | Priority Date | Filing Date | Title |
|---|---|---|---|
| CN2010205628550U CN201843450U (en) | 2010-10-14 | 2010-10-14 | Insulating, energy-saving aluminium alloy casement window |
Publications (1)
| Publication Number | Publication Date |
|---|---|
| CN201843450U true CN201843450U (en) | 2011-05-25 |
Family
ID=44038343
Family Applications (1)
| Application Number | Title | Priority Date | Filing Date |
|---|---|---|---|
| CN2010205628550U Expired - Fee Related CN201843450U (en) | 2010-10-14 | 2010-10-14 | Insulating, energy-saving aluminium alloy casement window |
Country Status (1)
| Country | Link |
|---|---|
| CN (1) | CN201843450U (en) |
Cited By (4)
| Publication number | Priority date | Publication date | Assignee | Title |
|---|---|---|---|---|
| CN102352716A (en) * | 2011-07-29 | 2012-02-15 | 天津市格瑞德曼建筑装饰工程有限公司 | Inner and outer heat insulation hollow casement window structure |
| CN104179417A (en) * | 2014-09-16 | 2014-12-03 | 江苏金百合门窗科技有限公司 | Installation method for energy-saving steel-plastic auxiliary frames and doors/windows |
| CN104632047A (en) * | 2014-12-26 | 2015-05-20 | 沈阳远大科技园有限公司 | Connecting assembly used for door and window installation |
| CN109306836A (en) * | 2017-07-27 | 2019-02-05 | 深圳市盈科幕墙设计咨询有限公司 | A kind of Energy Saving Windows |
-
2010
- 2010-10-14 CN CN2010205628550U patent/CN201843450U/en not_active Expired - Fee Related
Cited By (7)
| Publication number | Priority date | Publication date | Assignee | Title |
|---|---|---|---|---|
| CN102352716A (en) * | 2011-07-29 | 2012-02-15 | 天津市格瑞德曼建筑装饰工程有限公司 | Inner and outer heat insulation hollow casement window structure |
| CN102352716B (en) * | 2011-07-29 | 2013-05-22 | 天津市格瑞德曼建筑装饰工程有限公司 | Inner and outer heat insulation hollow casement window structure |
| CN104179417A (en) * | 2014-09-16 | 2014-12-03 | 江苏金百合门窗科技有限公司 | Installation method for energy-saving steel-plastic auxiliary frames and doors/windows |
| CN104632047A (en) * | 2014-12-26 | 2015-05-20 | 沈阳远大科技园有限公司 | Connecting assembly used for door and window installation |
| CN104632047B (en) * | 2014-12-26 | 2016-11-16 | 沈阳远大科技园有限公司 | Erection of doors and windows is with connecting assembly |
| CN109306836A (en) * | 2017-07-27 | 2019-02-05 | 深圳市盈科幕墙设计咨询有限公司 | A kind of Energy Saving Windows |
| CN109306836B (en) * | 2017-07-27 | 2024-04-12 | 深圳市盈科幕墙设计咨询有限公司 | Energy-saving window |
Similar Documents
| Publication | Publication Date | Title |
|---|---|---|
| CN204001626U (en) | A kind of suspended ceiling margin-ending structure | |
| CN201843450U (en) | Insulating, energy-saving aluminium alloy casement window | |
| CN210459663U (en) | Unit upright post structure with heat insulation blanket | |
| CN204435628U (en) | A kind of novel spring pin connects energy-conservation curtain wall system | |
| CN206737668U (en) | Copper wood composite band yarn casement window opening inwards | |
| CN202249438U (en) | Aluminium alloy window frame | |
| CN202299956U (en) | Structure of novel aluminium plate vertical hinged door | |
| CN204716012U (en) | Aluminium-wood energy saving door | |
| CN205025274U (en) | Can dismantle rear window structure of glass window | |
| CN202913878U (en) | Aluminum- cystosepiment-wood composite four-glass inward-opening heat insulating window | |
| CN203034654U (en) | Invisible opening frame curtain wall | |
| CN203308291U (en) | High-performance plastic-wood aluminum composite door and window | |
| CN203531669U (en) | Broken bridge type energy-saving aluminum and bamboo composite window | |
| CN209163681U (en) | Combined profiles | |
| CN201507208U (en) | A novel frameless door and window | |
| CN203394272U (en) | Surface coating plastic-aluminum composite flat-opening door and window | |
| CN217581988U (en) | Aluminum-wood composite outer window for near-zero energy consumption building | |
| CN204804586U (en) | Flat -open window casement transform structure aluminium alloy | |
| CN203515152U (en) | Energy-saving side hung window with adhesive injected | |
| CN203785163U (en) | Manual energy-saving ventilator for glass curtain wall | |
| CN206110978U (en) | An aluminum alloy outward opening antique door and window system | |
| CN217652081U (en) | Broken bridge heat insulation concave-convex glass curtain wall | |
| CN204941159U (en) | The sash of plastic-steel door and window | |
| CN202969655U (en) | Waterproof thermal-insulation energy-saving and environmental-friendly wood-aluminum composite curtain wall | |
| CN203570114U (en) | Three-cavity plastic heat insulating strip with clamping head and open-type cavities |
Legal Events
| Date | Code | Title | Description |
|---|---|---|---|
| C14 | Grant of patent or utility model | ||
| GR01 | Patent grant | ||
| C17 | Cessation of patent right | ||
| CF01 | Termination of patent right due to non-payment of annual fee |
Granted publication date: 20110525 Termination date: 20121014 |
