CN201837226U - 链板式连续加热炉 - Google Patents
链板式连续加热炉 Download PDFInfo
- Publication number
- CN201837226U CN201837226U CN2010205570653U CN201020557065U CN201837226U CN 201837226 U CN201837226 U CN 201837226U CN 2010205570653 U CN2010205570653 U CN 2010205570653U CN 201020557065 U CN201020557065 U CN 201020557065U CN 201837226 U CN201837226 U CN 201837226U
- Authority
- CN
- China
- Prior art keywords
- type continuous
- chain
- plate type
- succession
- link plate
- Prior art date
- Legal status (The legal status is an assumption and is not a legal conclusion. Google has not performed a legal analysis and makes no representation as to the accuracy of the status listed.)
- Expired - Fee Related
Links
- 238000010438 heat treatment Methods 0.000 title abstract description 18
- 238000012545 processing Methods 0.000 claims abstract description 4
- 239000000835 fiber Substances 0.000 claims description 3
- 239000002184 metal Substances 0.000 abstract description 4
- 238000005485 electric heating Methods 0.000 abstract description 3
- 238000004134 energy conservation Methods 0.000 abstract description 3
- 238000005259 measurement Methods 0.000 abstract 1
- 230000000694 effects Effects 0.000 description 4
- 238000004519 manufacturing process Methods 0.000 description 4
- 230000035939 shock Effects 0.000 description 4
- 239000002657 fibrous material Substances 0.000 description 3
- 229910000831 Steel Inorganic materials 0.000 description 2
- 230000005540 biological transmission Effects 0.000 description 2
- 230000000737 periodic effect Effects 0.000 description 2
- 230000033764 rhythmic process Effects 0.000 description 2
- 239000010959 steel Substances 0.000 description 2
- 238000013459 approach Methods 0.000 description 1
- 230000007812 deficiency Effects 0.000 description 1
- 238000013461 design Methods 0.000 description 1
- 238000005516 engineering process Methods 0.000 description 1
- 238000009776 industrial production Methods 0.000 description 1
- 238000012546 transfer Methods 0.000 description 1
Images
Landscapes
- Tunnel Furnaces (AREA)
Abstract
本实用新型涉及一种加热炉,特别涉及一种链板式连续加热炉。链板式连续加热炉,包括加工工件的炉体、传送带、回程传动轮、主传动轮和托辊,传送带为链板,链板是由两根链条和多根矩形板梁形成的表面平整的高强度金属带。链板包括链条和板梁,链条包括辊子、内连扳、外连扳和轴销,辊子、内连扳和外连扳通过轴销连接。按照本实用新型的技术方案,链板式连续加热炉的链板承载能力的超强设计,传动系统的平稳运作和电热系统的合理安排及节能举措。加热工件可以整齐、密集的摆放在链板平面上,一次性可承载3000~10000公斤,有序的完成加热过程。
Description
技术领域
本实用新型涉及一种加热炉,特别涉及一种链板式连续加热炉。
背景技术
目前,工业生产中应用的连续加热炉主要采用网带式传送方法,网带式加热炉由于网带承载能力较差,所以被限制于小型零件的加热和热处理;一些大型零件热处理一般还采用周期式加热炉,周期式加热炉存在着耗能高,效率低,作业环境差等弊端。因此,急需一种承载能力强、生产效率高、生产节奏可调、节能效果好的连续加热炉。
发明内容
本实用新型针对现有技术中承载能力较差、不利于工件的加热和热处理的不足,提供了一种承载能力强、生产效率高、生产节奏可调、节能效果好的链板式连续加热炉。
为了解决承载能力较差、不利于工件的加热和热处理的技术问题,本实用新型通过下述技术方案得以解决:
链板式连续加热炉,包括加工工件的炉体、传送带、回程传动轮、主传动轮和托辊,传送带为链板,链板是由两根链条和多根矩形板梁形成的表面平整的高强度金属带。链板包括链条和板梁,链条包括辊子、内连扳、外连扳和轴销,辊子、内连扳和外连扳通过轴销连接。
作为优选,外连扳、内连扳设置在辊子的两侧,内连扳与辊子形成一个凹槽,凹槽与导轨配合。链条由高强度耐热钢制造而成,内链板的宽度和高度也与炉内轨道尺寸相吻合,在工作中,链条使用效果好的同时也不会脱轨。
作为优选,电热管置于工件的上方、链板的下方。使被加热工件可以快速均匀受热。
作为优选,炉体的前后两端设置的气动炉门,提高热效率。
作为优选,炉体的上方均匀设置有电风扇,保证炉内温度均匀,工件受热效率高。
作为优选,炉体内部砌制有耐火纤维层,有效的提升了炉膛的加工元件最大负载量;其吸热少而升温快,低导热率使节能效果显著;抗热震、抗机械震动使炉体本身和加热工件都能够平稳运行。
按照本实用新型的技术方案,链板式连续加热炉的链板承载能力的超强设计,传动系统的平稳运作和电热系统的合理安排及节能举措。加热工件可以整齐、密集的摆放在链板平面上,一次性可承载3000~10000公斤,有序的完成加热过程。
附图说明
图1 为链板式连续加热炉的纵向剖面图。
图2为链板的纵向剖面图。
图3为链板的横向剖面图。
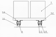
1-回程传动轮;2-主传动轮;3-链板;4-炉体;5-电热管;6-托辊;7-工件;8-电风扇;9-轨道;3.0-链条;3.1-内连扳;3.2-外连板;3.3-辊子;3.4-板梁;3.5-轴销;4.0-气动炉门。
具体实施方式
下面结合附图与具体实施方式对本实用新型作进一步详细描述:
链板式连续加热炉参见图1至图3,包括加工工件7的炉体4、传送带、回程传动轮1、主传动轮2、托辊6,传送带为链板3,链板3是由两根链条3.0和多根矩形板梁3.4形成的表面平整的高强度金属带。链条3.0包括内连扳3.1、外连扳3.2、辊子3.3和轴销3.5,辊子3.3、内连扳3.1和外连扳3.2通过轴销3.5连接。外连扳3.2、内连扳3.1设置在辊子3.3的两侧,内连扳3.1与辊子3.3形成一个凹槽,凹槽与导轨9配合。工件7的上方和链板3的下方均设置有电热管5。炉体4前后两端设置有气动炉门4.0,炉体4的上方均匀设置有电风扇8,炉体4内部砌制有耐火纤维层。链板式连续加热炉的链板3拥有超强的承载能力,平稳的传动系统和安排合理的电热系统及节能举措。
工件7可以整齐、密集的摆放在链板3的平面上,链板3最多承重工件总重量可达3000—10000公斤。链板3是由两根链条3.0和多根矩形板梁3.4形成的表面平整的高强度金属带。而链条3.0由高强度耐热钢制造而成,内连板3.1的宽度和高度也与炉内轨道9尺寸相吻合,在工作中,链条3.0使用效果好的同时也不会脱轨。链板3由两个主传动链轮拖动,返回链板3由两个恒张力传动链轮拖动,以减轻炉内链条3.0承受的张力。
电热管5布置在工件7的上方与链板3的下方,炉体4前后两端均设有气动炉门4.0借助于强对流风的作用,使加热工件快速而均匀地加热,有效的提高了热效率。炉体4内部采用耐火纤维材料砌制而成,炉轨承重部分除外。耐火纤维材料有效的提升了炉体内加工元件的最大负载量,其吸热少而升温快,低导热率使节能效果显著,有效的提高了热效率,耐火纤维材料抗热震、抗机械震动使炉体4本身和工件7都能够平稳运行。
总之,以上所述仅为本实用新型的较佳实施例,凡依本实用新型申请专利范围所作的均等变化与修饰,皆应属本实用新型专利的涵盖范围。
Claims (6)
1.链板式连续加热炉,包括加工工件(7)的炉体(4)、传输带、回程传动轮(1)、主传动轮(2)和托辊(6),其特征在于:传输带为链板(3),链板(3)包括链条(3.0)和板梁(3.4),链条(3.0)包括内连扳(3.1)、外连扳(3.2)、辊子(3.3)和轴销(3.5),内连扳(3.1)、外连扳(3.2)和辊子(3.3)通过轴销(3.5)连接。
2.根据权利要求1所述的链板式连续加热炉,其特征在于:所述外连扳(3.2)、内连扳(3.1)分别设置在辊子(3.3)的两侧,内连扳(3.1)与辊子(3.3)形成一个凹槽,凹槽与导轨(9)配合。
3.根据权利要求1所述的链板式连续加热炉,其特征在于:所述工件(7)的上方和链板(3)的下方均设置有电热管(5)。
4.根据权利要求1所述的链板式连续加热炉,其特征在于:所述炉体(4)前后两端设置有气动炉门(4.0)。
5.根据权利要求1所述的链板式连续加热炉,其特征在于:所述炉体(4)的上方均匀设置有电风扇(8)。
6.根据权利要求1所述的链板式连续加热炉,其特征在于:所述炉体(4)内部砌制有耐火纤维层。
Priority Applications (1)
| Application Number | Priority Date | Filing Date | Title |
|---|---|---|---|
| CN2010205570653U CN201837226U (zh) | 2010-10-12 | 2010-10-12 | 链板式连续加热炉 |
Applications Claiming Priority (1)
| Application Number | Priority Date | Filing Date | Title |
|---|---|---|---|
| CN2010205570653U CN201837226U (zh) | 2010-10-12 | 2010-10-12 | 链板式连续加热炉 |
Publications (1)
| Publication Number | Publication Date |
|---|---|
| CN201837226U true CN201837226U (zh) | 2011-05-18 |
Family
ID=44007337
Family Applications (1)
| Application Number | Title | Priority Date | Filing Date |
|---|---|---|---|
| CN2010205570653U Expired - Fee Related CN201837226U (zh) | 2010-10-12 | 2010-10-12 | 链板式连续加热炉 |
Country Status (1)
| Country | Link |
|---|---|
| CN (1) | CN201837226U (zh) |
Cited By (8)
| Publication number | Priority date | Publication date | Assignee | Title |
|---|---|---|---|---|
| CN105171995A (zh) * | 2015-08-27 | 2015-12-23 | 株洲华达科技有限公司 | 一种橡胶硫化模具连续感应加热炉 |
| CN105352315A (zh) * | 2011-09-05 | 2016-02-24 | 株式会社Ihi | 加热炉以及连续加热炉 |
| CN107032590A (zh) * | 2017-05-22 | 2017-08-11 | 成都扬中新能源科技有限公司 | 一种电热膜玻璃管的软化方法 |
| CN107129135A (zh) * | 2017-05-22 | 2017-09-05 | 成都扬中新能源科技有限公司 | 具有自动上下料功能的电热膜管预处理系统 |
| CN107140815A (zh) * | 2017-05-22 | 2017-09-08 | 成都扬中新能源科技有限公司 | 一种电热膜玻璃管预热装置 |
| CN107270708A (zh) * | 2017-05-11 | 2017-10-20 | 象州县科学技术情报研究所 | 自动送料煅烧炉 |
| CN107532850A (zh) * | 2015-03-31 | 2018-01-02 | 贺利氏诺莱特有限公司 | 热处理装置 |
| CN108518980A (zh) * | 2018-04-26 | 2018-09-11 | 许国华 | 一种链板式铝棒加热炉 |
-
2010
- 2010-10-12 CN CN2010205570653U patent/CN201837226U/zh not_active Expired - Fee Related
Cited By (10)
| Publication number | Priority date | Publication date | Assignee | Title |
|---|---|---|---|---|
| CN105352315A (zh) * | 2011-09-05 | 2016-02-24 | 株式会社Ihi | 加热炉以及连续加热炉 |
| US10502487B2 (en) | 2011-09-05 | 2019-12-10 | Ihi Corporation | Heating furnace and continuous heating furnace |
| CN107532850A (zh) * | 2015-03-31 | 2018-01-02 | 贺利氏诺莱特有限公司 | 热处理装置 |
| CN107532850B (zh) * | 2015-03-31 | 2019-09-06 | 贺利氏诺莱特有限公司 | 热处理装置 |
| CN105171995A (zh) * | 2015-08-27 | 2015-12-23 | 株洲华达科技有限公司 | 一种橡胶硫化模具连续感应加热炉 |
| CN107270708A (zh) * | 2017-05-11 | 2017-10-20 | 象州县科学技术情报研究所 | 自动送料煅烧炉 |
| CN107032590A (zh) * | 2017-05-22 | 2017-08-11 | 成都扬中新能源科技有限公司 | 一种电热膜玻璃管的软化方法 |
| CN107129135A (zh) * | 2017-05-22 | 2017-09-05 | 成都扬中新能源科技有限公司 | 具有自动上下料功能的电热膜管预处理系统 |
| CN107140815A (zh) * | 2017-05-22 | 2017-09-08 | 成都扬中新能源科技有限公司 | 一种电热膜玻璃管预热装置 |
| CN108518980A (zh) * | 2018-04-26 | 2018-09-11 | 许国华 | 一种链板式铝棒加热炉 |
Similar Documents
| Publication | Publication Date | Title |
|---|---|---|
| CN201837226U (zh) | 链板式连续加热炉 | |
| CN206736310U (zh) | 一种辊轴式高效节能回火炉 | |
| CN103966414B (zh) | 钢球复合余热回火工艺 | |
| CN201852437U (zh) | 隧道连续式微波高温加热炉 | |
| CN203848658U (zh) | 一种连续式加热炉 | |
| CN201593061U (zh) | 旋转连续推进式钢管热处理设备 | |
| CN216073928U (zh) | 一种铝材退火炉 | |
| CN206173397U (zh) | 一种用于高强螺栓坯件热处理的台车炉 | |
| CN206882468U (zh) | 一种具有预加热功能的铝型材拉直机 | |
| CN204918672U (zh) | 热处理分级淬火成套设备 | |
| CN201289296Y (zh) | 活塞加热炉 | |
| CN108518980A (zh) | 一种链板式铝棒加热炉 | |
| CN211346344U (zh) | 钎具生产用加热炉的上料装置 | |
| CN103966415B (zh) | 钢球复合余热回火装置 | |
| CN218723163U (zh) | 用于锻造加热炉的送料装置 | |
| CN201495249U (zh) | 履带式连续回火炉 | |
| CN204276312U (zh) | 智能热固光固两用金属板涂料上光印铁干燥系统 | |
| CN208333078U (zh) | 一种链板式铝棒加热炉 | |
| CN203546101U (zh) | 一种用于双金属带锯条的淬火回火装置 | |
| CN201809395U (zh) | 连续式热风回火炉底部保温节能装置 | |
| CN202193809U (zh) | 一种锻件淬火装置 | |
| CN201974035U (zh) | 节能式分段高温炉 | |
| CN202734502U (zh) | 滚珠式网带托辊 | |
| CN201317803Y (zh) | 锻造铝车轮中间加热炉 | |
| CN105177265B (zh) | 一种型材加热设备 |
Legal Events
| Date | Code | Title | Description |
|---|---|---|---|
| C14 | Grant of patent or utility model | ||
| GR01 | Patent grant | ||
| CF01 | Termination of patent right due to non-payment of annual fee |
Granted publication date: 20110518 Termination date: 20161012 |
|
| CF01 | Termination of patent right due to non-payment of annual fee |