CN201823115U - Infusion bucket for newborn - Google Patents
Infusion bucket for newborn Download PDFInfo
- Publication number
- CN201823115U CN201823115U CN 201020529235 CN201020529235U CN201823115U CN 201823115 U CN201823115 U CN 201823115U CN 201020529235 CN201020529235 CN 201020529235 CN 201020529235 U CN201020529235 U CN 201020529235U CN 201823115 U CN201823115 U CN 201823115U
- Authority
- CN
- China
- Prior art keywords
- liquid
- liquid inlet
- liquid outlet
- bucket
- independent
- Prior art date
- Legal status (The legal status is an assumption and is not a legal conclusion. Google has not performed a legal analysis and makes no representation as to the accuracy of the status listed.)
- Expired - Fee Related
Links
- 238000001802 infusion Methods 0.000 title claims abstract description 34
- 239000007788 liquid Substances 0.000 claims abstract description 125
- 239000003814 drug Substances 0.000 claims abstract description 15
- 229940079593 drug Drugs 0.000 claims abstract description 11
- 238000002347 injection Methods 0.000 claims description 9
- 239000007924 injection Substances 0.000 claims description 9
- 238000005259 measurement Methods 0.000 claims description 4
- 239000012530 fluid Substances 0.000 claims 1
- 238000000034 method Methods 0.000 description 4
- 238000012986 modification Methods 0.000 description 3
- 230000004048 modification Effects 0.000 description 3
- 210000004761 scalp Anatomy 0.000 description 3
- 238000010586 diagram Methods 0.000 description 2
- 208000028399 Critical Illness Diseases 0.000 description 1
- 230000009286 beneficial effect Effects 0.000 description 1
- 201000010099 disease Diseases 0.000 description 1
- 208000037265 diseases, disorders, signs and symptoms Diseases 0.000 description 1
- 238000005516 engineering process Methods 0.000 description 1
- 239000012535 impurity Substances 0.000 description 1
- 239000000243 solution Substances 0.000 description 1
- 210000003462 vein Anatomy 0.000 description 1
Images
Landscapes
- Infusion, Injection, And Reservoir Apparatuses (AREA)
Abstract
本实用新型公开了一种新生儿输液吊桶,包括桶体、进液管和出液管;所述输液吊桶内腔被分割为至少2个独立桶腔;所述进液管沿进液方向生出的进液支管分别与各独立桶腔连通,所述进液支管上设置有进液控制阀;所述出液管沿逆出液方向生出的出液支管分别与各独立桶腔连通,所述出液支管上设置有出液控制阀;每个独立桶腔设置有进药孔;进液时,可选择打开进液支管引导液体进入不同桶腔,可同时从进药口配入不同药物,输液时,通过选择打开不同出液支管,调节输出不同药液。本实用新型克服了现有医药输液中只能一次性的加入一组液体的缺点,提高了医护效率。
The utility model discloses a newborn infusion bucket, which comprises a bucket body, a liquid inlet pipe and a liquid outlet pipe; the inner cavity of the infusion bucket is divided into at least two independent bucket cavities; The liquid inlet branch pipes of the liquid inlet pipes are respectively communicated with the independent barrel cavities, and the liquid inlet branch pipes are provided with liquid inlet control valves; the liquid outlet branch pipes formed by the liquid outlet pipes along the reverse liquid outlet direction are respectively connected with the independent barrel chambers, and the liquid outlet pipes are respectively connected with the independent barrel chambers. There is a liquid outlet control valve on the outlet branch pipe; each independent barrel chamber is equipped with a drug inlet hole; when entering the liquid, you can choose to open the liquid inlet branch pipe to guide the liquid into different barrel chambers, and you can dispense different drugs from the drug inlet at the same time. During infusion, by choosing to open different outlet branch pipes, the output of different medicinal solutions can be adjusted. The utility model overcomes the disadvantage that a group of liquids can only be added at one time in the existing medical infusion, and improves the efficiency of medical care.
Description
技术领域technical field
本实用新型涉及医用器械领域,具体涉及一种新生儿输液吊桶。The utility model relates to the field of medical equipment, in particular to a neonatal transfusion bucket.
背景技术Background technique
输液是临床上广泛用于防治疾病和抢救危重病人的一种快速而有效的给药途径。对于新生儿来说,由于给药量较小,输液时为控制好给药量,避免出现事故,普遍采用输液小吊桶进行给药。Infusion is a rapid and effective route of administration widely used clinically to prevent and treat diseases and rescue critically ill patients. For newborns, because the dosage is small, in order to control the dosage during infusion and avoid accidents, small infusion buckets are generally used for administration.
现有技术中,输液吊桶连通的输液管,以及与输液管连接的莫非氏滴管和头皮针。由于新生儿的药用量有限,一般为十毫升级别,使得通过跟换装有不同药液的输液吊桶完成整个输液过程需要护士能迅速及时反映,也需要幼儿的良好配合,频繁更换输液吊桶增加了护士工作量,影响了工作效率。In the prior art, the infusion tube communicated with the infusion bucket, and the Murphy's dropper and scalp needle connected with the infusion tube. Due to the limited amount of medicine used by newborns, generally at the level of ten milliliters, completing the entire infusion process by changing infusion buckets with different medicine liquids requires nurses to respond quickly and in a timely manner, and also requires the good cooperation of young children. Frequent replacement of infusion buckets increases the Increased nurse workload, affected work efficiency.
因此,有必要开发一种可以降低跟换输液吊桶频率的装置,在幼儿输液前提前配制好所需注射的各种药液,在输液过程中无需频繁跟换吊桶,简单操作便实现注射药物的跟换。Therefore, it is necessary to develop a device that can reduce the frequency of changing the infusion buckets, and prepare various medicinal liquids to be injected in advance before the infusion of young children. During the infusion process, there is no need to frequently change the buckets, and the simple operation can realize the injection of drugs. Follow up.
实用新型内容Utility model content
有鉴于此,为了解决上述问题,本实用新型公开了一种新生儿输液吊桶,克服了输液吊桶只能一次性加入一组液体的缺点。In view of this, in order to solve the above problems, the utility model discloses a newborn infusion bucket, which overcomes the disadvantage that the infusion bucket can only add a group of liquid at one time.
本实用新型的目的是这样实现的:新生儿输液吊桶,包括桶体、进液总管和出液总管;所述桶体内腔分割成至少两个分别设置有排气孔和注药孔的独立桶腔;所述进液总管通过进液阀与独立桶腔对应连通,所述出液总管通过出液阀与独立桶腔对应连通。The purpose of this utility model is achieved in this way: the neonatal infusion bucket includes a bucket body, a liquid inlet main pipe and a liquid outlet main pipe; cavity; the liquid inlet main pipe communicates with the independent barrel cavity through the liquid inlet valve, and the liquid outlet main pipe communicates with the independent barrel cavity through the liquid outlet valve.
进一步,所述进液总管与各独立桶腔间分别对应设置进液支管,各进液支管上均设置有进液切断阀;所述出液总管与各独立桶腔之间分别对应设置有出液支管,各进液支管上均设置有出液切断阀;Further, a liquid inlet branch pipe is respectively arranged between the liquid inlet main pipe and each independent barrel cavity, and a liquid inlet cut-off valve is arranged on each liquid inlet branch pipe; Liquid branch pipes, each liquid inlet branch pipe is equipped with a liquid outlet cut-off valve;
进一步,所述进液切断阀和出液切断阀均为滚轮压迫式切断阀;Further, both the inlet liquid shut-off valve and the liquid outlet shut-off valve are roller pressing type shut-off valves;
进一步,所述桶体内腔被分割为4个独立桶腔;Further, the barrel cavity is divided into 4 independent barrel cavities;
进一步,所述桶体内腔分割成两个分别设置有排气和注药孔的独立桶腔;所述各独立桶腔与进液总管间分别对应设置进液支管,各进液支管与进液总管通过进液三通阀连通;各独立桶腔与出液总管间分别对应设置出液支管,各出液支管与出液总管通过出液三通阀连通;Further, the inner cavity of the barrel is divided into two independent barrel cavities respectively provided with exhaust holes and drug injection holes; liquid inlet branch pipes are respectively arranged between the independent barrel chambers and the liquid inlet main pipe, and each liquid inlet branch pipe is connected to the liquid inlet pipe. The main pipe is connected through the liquid inlet three-way valve; each independent barrel chamber and the liquid outlet main pipe are respectively provided with corresponding liquid outlet branch pipes, and each liquid outlet branch pipe is connected with the liquid outlet main pipe through the liquid outlet three-way valve;
进一步,所述进液三通阀和出液三通阀均为医用旋钮切换式三通阀;Further, the liquid inlet three-way valve and the liquid outlet three-way valve are both medical knob switchable three-way valves;
进一步,注药孔塞有使独立桶腔与外界密封的橡胶塞;Further, the injection hole plug has a rubber plug that seals the independent barrel cavity from the outside world;
进一步,各独立桶腔均设置有进液量度量标记。Further, each independent barrel chamber is provided with a measurement mark for the amount of liquid inflow.
本实用新型的有益效果是:本实用新型的新生儿输液吊桶,采用桶体内至少两个独立桶腔的结构,进液管生成进液分支管与各独立桶腔连通,通过调节进液分支管上的进液切断阀将液体控制引入不同腔体,并配合在独立桶腔上端面开设进药口进药,克服了输液吊桶只能一次性加入一组液体的缺点;同时,通过阀门控制,可选择性的使用各个独立腔体或同时使用,使用过程灵活方便。The beneficial effects of the utility model are: the neonatal infusion bucket of the utility model adopts the structure of at least two independent barrel cavities in the barrel, and the liquid inlet pipe forms a liquid inlet branch pipe to communicate with each independent barrel cavity. The liquid inlet cut-off valve on the upper part controls the liquid into different cavities, and cooperates with the drug inlet on the upper end of the independent barrel cavity to feed the drug, which overcomes the disadvantage that the infusion bucket can only add a group of liquid at one time; at the same time, through the valve control, Each independent cavity can be used selectively or at the same time, and the use process is flexible and convenient.
附图说明Description of drawings
为了使本实用新型的目的、技术方案和优点更加清楚,下面将结合附图对本实用新型作进一步的详细描述:In order to make the purpose, technical solutions and advantages of the present utility model clearer, the utility model will be further described in detail below in conjunction with the accompanying drawings:
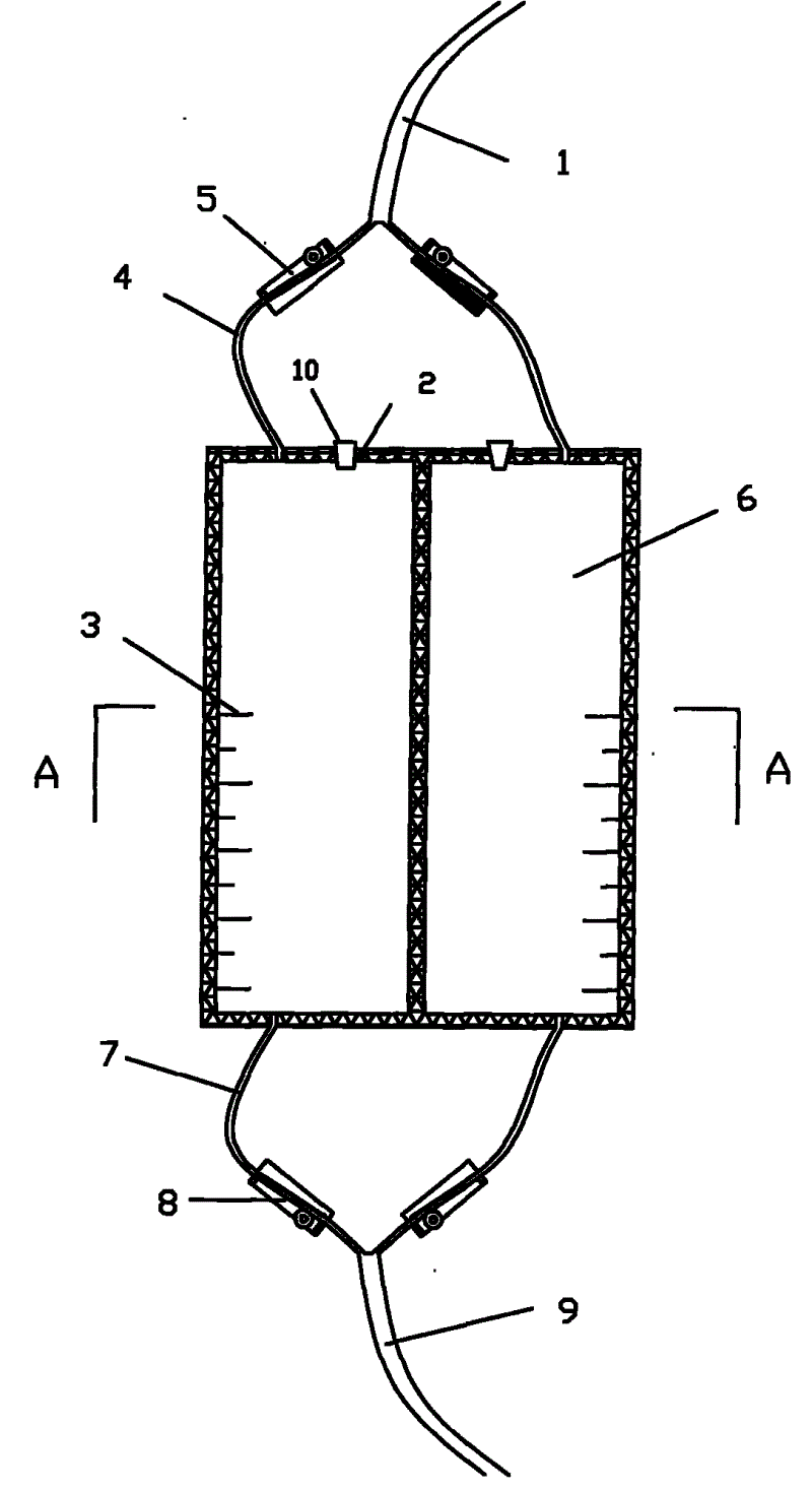
图1为本实用新型结构示意图;Fig. 1 is the structural representation of the utility model;
图2为图1沿A-A向剖视图;Fig. 2 is a sectional view along A-A direction of Fig. 1;
图3为本实用新型的另外一种结构示意图。Fig. 3 is another structural schematic diagram of the utility model.
具体实施方式Detailed ways
以下将对本实用新型的优选实施例进行详细地描述。Preferred embodiments of the present invention will be described in detail below.
图1为本实用新型结构示意图,图2为图1沿A-A向剖视图,如图所示:本实施例的新生儿输液吊桶,包括桶体、进液管1和出液管9;输液吊桶内腔被竖直挡板分割为4个分别设置有排气孔(图中没有表示,可设置于顶部或侧壁靠上)和注药孔2的独立桶腔6;进液管1沿进液方向生出的进液支管4分别与各独立桶腔6连通,进液支管4上设置有进液切断阀5;出液管9沿逆出液方向生出的出液支管7分别与各独立桶腔6连通,出液分支管7上设置有出液切断阀8;出液管9下端连接莫非氏滴管或头皮针。Fig. 1 is a structural schematic diagram of the present utility model, and Fig. 2 is a sectional view along A-A direction of Fig. 1, as shown in the figure: the neonatal infusion bucket of the present embodiment includes a bucket body, a liquid inlet pipe 1 and a
进液切断阀5和出液切断阀8均为滚轮压迫式切断阀,通过调节滚轮调节进液支管4进液速度和出液支管7出液速度。The liquid inlet shut-off valve 5 and the liquid outlet shut-off
注药孔2塞有使独立桶腔与外界密封的橡胶塞,需要注入药液时,利用注射器穿过橡胶塞10注入药液,能够避免其它杂质混入。The
各独立桶腔6侧表面刻有进液量度量标记3,为注入液体提供较为直观的依据。The side surface of each
进液时,可打开独立桶腔6对应的进液切断阀5引导液体进入不同独立桶腔6,根据进液量度量标记3确认各独立桶腔6内液体是否达到需要剂量,然后通过调节进液切断阀5关闭各进液支管4,利用注射器穿过橡胶塞通过进药孔2向各独立桶腔6配入不同药物;输液时,通过选择打开独立桶腔6对应的出液切断阀8,调节输出不同药液流入莫非氏滴管从头皮针注入患者静脉。本实用新型克服了现有医药输液中只能一次性的加入一组液体的缺点,提高了医护效率。When feeding liquid, you can open the liquid inlet cut-off valve 5 corresponding to the
图3示出了本实用新型的另一种新生儿输液吊桶,桶体内腔分割成两个分别设置有排气和注药孔2的独立桶腔6;独立桶腔6与进液总管1对应设置进液支管4,各进液支管4与进液总管1通过进液三通阀11连通;独立桶腔6与出液总管9对应设置出液支管7,各出液支管7与出液总管9通过出液三通阀12连通。通过旋转进液三通阀11的阀芯可以使进液总管1与一个独立桶腔6连通,而另外一个独立桶腔6与进液总管1被阻断,如此可实现进液总管1按各独立桶腔6需求分别注入药液。同理,可旋转出液三通阀12的阀芯控制独立桶腔6的输出。Fig. 3 shows another neonatal infusion bucket of the present utility model, the inner cavity of the bucket is divided into two
以上所述仅为本实用新型的优选并不用于限制本实用新型,显然,本领域的技术人员可以对本实用新型进行各种改动和变型而不脱离本实用新型的精神和范围。这样,倘若本实用新型的这些修改和变型属于本实用新型权利要求及其等同技术的范围之内,则本实用新型也意图包含这些改动和变型在内。The above description is only the preference of the utility model and is not intended to limit the utility model. Obviously, those skilled in the art can make various changes and modifications to the utility model without departing from the spirit and scope of the utility model. In this way, if these modifications and variations of the utility model fall within the scope of the claims of the utility model and equivalent technologies thereof, the utility model is also intended to include these modifications and variations.
Claims (8)
Priority Applications (1)
| Application Number | Priority Date | Filing Date | Title |
|---|---|---|---|
| CN 201020529235 CN201823115U (en) | 2010-09-15 | 2010-09-15 | Infusion bucket for newborn |
Applications Claiming Priority (1)
| Application Number | Priority Date | Filing Date | Title |
|---|---|---|---|
| CN 201020529235 CN201823115U (en) | 2010-09-15 | 2010-09-15 | Infusion bucket for newborn |
Publications (1)
| Publication Number | Publication Date |
|---|---|
| CN201823115U true CN201823115U (en) | 2011-05-11 |
Family
ID=43961678
Family Applications (1)
| Application Number | Title | Priority Date | Filing Date |
|---|---|---|---|
| CN 201020529235 Expired - Fee Related CN201823115U (en) | 2010-09-15 | 2010-09-15 | Infusion bucket for newborn |
Country Status (1)
| Country | Link |
|---|---|
| CN (1) | CN201823115U (en) |
Cited By (3)
| Publication number | Priority date | Publication date | Assignee | Title |
|---|---|---|---|---|
| CN104288860A (en) * | 2014-10-14 | 2015-01-21 | 谢春梅 | Self-heating infusion device |
| CN104288857A (en) * | 2014-09-27 | 2015-01-21 | 谢安军 | Medical infusion device |
| CN104307074A (en) * | 2014-10-14 | 2015-01-28 | 谢春梅 | Self-heating transfusion device |
-
2010
- 2010-09-15 CN CN 201020529235 patent/CN201823115U/en not_active Expired - Fee Related
Cited By (4)
| Publication number | Priority date | Publication date | Assignee | Title |
|---|---|---|---|---|
| CN104288857A (en) * | 2014-09-27 | 2015-01-21 | 谢安军 | Medical infusion device |
| CN104288860A (en) * | 2014-10-14 | 2015-01-21 | 谢春梅 | Self-heating infusion device |
| CN104307074A (en) * | 2014-10-14 | 2015-01-28 | 谢春梅 | Self-heating transfusion device |
| CN104288860B (en) * | 2014-10-14 | 2017-01-11 | 衢州市联橙环保科技有限公司 | Self-heating infusion device |
Similar Documents
| Publication | Publication Date | Title |
|---|---|---|
| CN203915674U (en) | Disposable use sequential injection device | |
| CN202459331U (en) | Disposable special dispensing device with double needles and one-way valves | |
| CN201823115U (en) | Infusion bucket for newborn | |
| CN102580189A (en) | Disposable self-stopping infusion apparatus | |
| CN204910275U (en) | Enemator | |
| CN201500301U (en) | Dispensing device used for nursing | |
| CN203001687U (en) | Perfusion connector of disposable indwelling catheter | |
| CN202223755U (en) | Medical multi-functional three-way valve | |
| CN201880092U (en) | Intestinal canal washing drainage aspirator | |
| CN206762032U (en) | A kind of enteral nutrition triple valve | |
| CN201179271Y (en) | One-way positive pressure valve | |
| CN203898833U (en) | Disposable infusion apparatus with automatic-exhaust precise filter | |
| CN104288874B (en) | Disposable automatic exhaust stops liquid transfusion device and method | |
| CN106860949A (en) | Automatic liquid-stopping transfusion apparatus | |
| CN205054872U (en) | Flushing infusion device | |
| CN209900426U (en) | Bladder perfusion apparatus | |
| CN202397884U (en) | Disposable bag type transfusion system | |
| CN209378147U (en) | A kind of irrigation of bladder device | |
| CN208525543U (en) | A kind of infusion apparatus with Anti-stabbing dosing part | |
| CN200998466Y (en) | Soft package medicine-dispensing transfusion system | |
| CN217187219U (en) | Medicine enema bag and medicine enema device | |
| CN206026781U (en) | Double plug safety transfusion system | |
| WO2007014520A1 (en) | An automatic fluid-changing infusion device | |
| CN204170190U (en) | Disposable fine adjustment type nutrition transfusion bag | |
| CN217908487U (en) | A special quantitative glycerin enema device for infants |
Legal Events
| Date | Code | Title | Description |
|---|---|---|---|
| C14 | Grant of patent or utility model | ||
| GR01 | Patent grant | ||
| C17 | Cessation of patent right | ||
| CF01 | Termination of patent right due to non-payment of annual fee |
Granted publication date: 20110511 Termination date: 20120915 |
